Cruze
   
GMDE Start Page Load static TOC Load dynamic TOC Help?
g402


            |                         |            
2203188RU.png


Display graphic

Display graphic

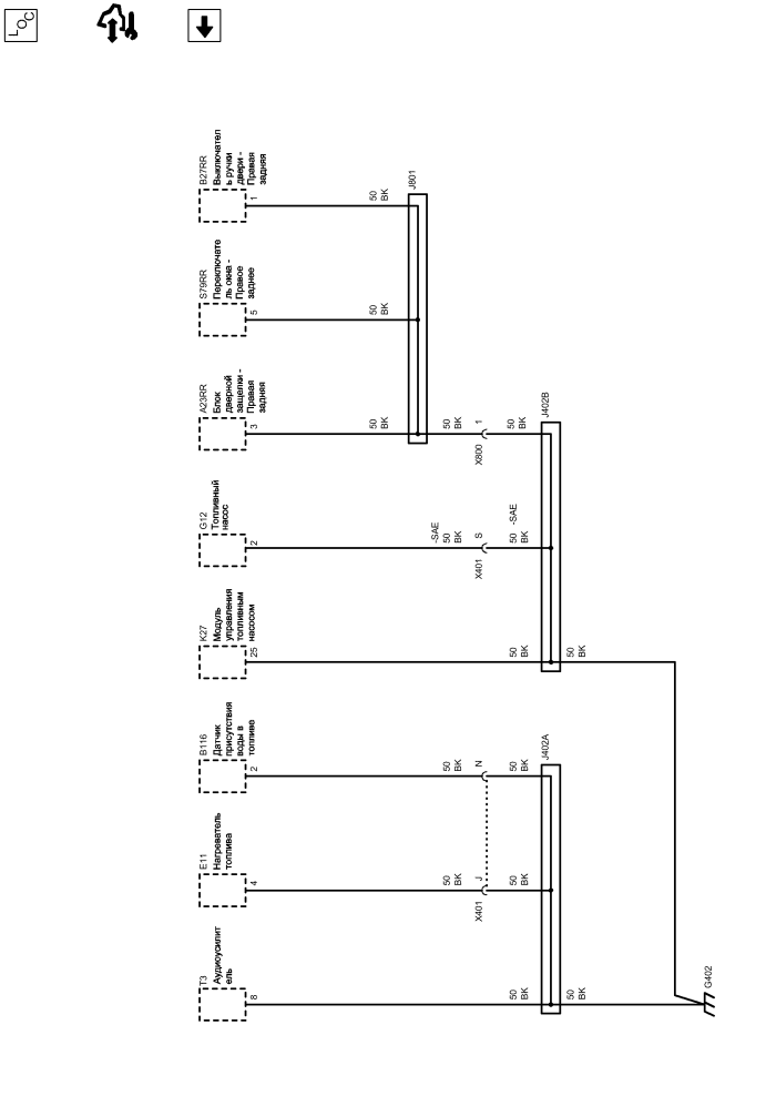
Компоненты
a23rrБлок дверной защелки - Правая задняяg12Топливный насос
b27rrВыключатель ручки двери - Правая задняяk27Модуль управления топливным насосом
b116Датчик присутствия воды в топливеs79rrПереключатель окна - Правое заднее
e11Нагреватель топливаt3Аудиоусилитель
Разъемы
j402aСоединение с виртуальной "землей"x401Жгут проводов кузова и жгут проводов топливного бака
j402bСоединение с виртуальной "землей"x800Жгут проводов кузова и жгут проводов правой задней двери
j801Жгут проводов правой задней двери
Точки соединения с массой
g402Задняя панель, правая
Сокращения
-saeСТРАНЫ - КРОМЕ СЕВЕРНОЙ АМЕРИКИ
Цветовые коды
bkЧерный
25
Масса
BK Черный
BK Черный
G402 Задняя панель, правая

Расположение деталей (узлов) Трехмерная схема жгутов СТРАНЫ - КРОМЕ СЕВЕРНОЙ АМЕРИКИ
Внешний вид разъема и ремонт
X401 Жгут проводов кузова и жгут проводов топливного бака

Расположение деталей (узлов) Трехмерная схема жгутов
Внешний вид разъема и ремонт Вилка
Внешний вид разъема и ремонт Гнездо
S
BK Черный
X401 Жгут проводов кузова и жгут проводов топливного бака

Расположение деталей (узлов) Трехмерная схема жгутов
Внешний вид разъема и ремонт Вилка
Внешний вид разъема и ремонт Гнездо
J
BK Черный
BK Черный
N
BK Черный
BK Черный
8
4
2
2
BK Черный
BK Черный (СТРАНЫ - КРОМЕ СЕВЕРНОЙ АМЕРИКИ)
BK Черный (СТРАНЫ - КРОМЕ СЕВЕРНОЙ АМЕРИКИ)
BK Черный
X800 Жгут проводов кузова и жгут проводов правой задней двери

Расположение деталей (узлов) Трехмерная схема жгутов
Внешний вид разъема и ремонт Вилка
Внешний вид разъема и ремонт Гнездо
1
BK Черный
3
BK Черный
BK Черный
5
BK Черный
1
B27RR Выключатель ручки двери - Правая задняя

Расположение деталей (узлов) Трехмерная схема жгутов
Внешний вид разъема и ремонт
Электрическая схема Выключатели ручек и замков Контакт 1
S79RR Переключатель окна - Правое заднее

Расположение деталей (узлов) Трехмерная схема жгутов
Внешний вид разъема и ремонт
Электрическая схема Стеклоподъемники задних дверей СТЕКЛО С МЕХАНИЧЕСКИМ ПРИВОДОМ - ЗАДНИЕ ДВЕРИ - СРОЧНО ВНИЗ Контакт 5
A23RR Блок дверной защелки - Правая задняя

Внешний вид разъема и ремонт
Электрическая схема Дверные защелки Контакт 3
Электрическая схема Переключатели "дверь открыта" - задние и багажный отсек Контакт 3
G12 Топливный насос

Расположение деталей (узлов) Трехмерная схема жгутов
Внешний вид разъема и ремонт
Электрическая схема Средства управления топливом - топливный насос и форсунки ГАЗОВЫЙ ДВИГАТЕЛЬ, 4 ЦИЛ., 1.6 Л, MFI, DOHC, 80 кВт (GMDAT) СТРАНЫ - СЕВЕРНАЯ АМЕРИКА Контакт 2
Электрическая схема Средства управления топливом - топливный насос и форсунки ГАЗОВЫЙ ДВИГАТЕЛЬ, 4 ЦИЛ., 1.6 Л, MFI, DOHC, 80 кВт (GMDAT) СТРАНЫ - КРОМЕ СЕВЕРНОЙ АМЕРИКИ Контакт 2
Электрическая схема Средства управления топливом - топливный насос и форсунки ДИЗЕЛЬНЫЙ ДВИГАТЕЛЬ, 4 ЦИЛ., L4, 2.0 Л, CRI, SOHC, ТУРБО, 110 кВт СТРАНЫ - СЕВЕРНАЯ АМЕРИКА Контакт 2
Электрическая схема Средства управления топливом - топливный насос и форсунки ДИЗЕЛЬНЫЙ ДВИГАТЕЛЬ, 4 ЦИЛ., L4, 2.0 Л, CRI, SOHC, ТУРБО, 110 кВт СТРАНЫ - КРОМЕ СЕВЕРНОЙ АМЕРИКИ Контакт 2
Электрическая схема Средства управления топливом - топливный насос и форсунки ДВИГАТЕЛЬ БЕНЗИНОВЫЙ, 4 ЦИЛ., 1.6 Л, MFI, DOHC, PT-JV, РЕГУЛИРУЕМЫЕ ФАЗЫ РАСПРЕДВАЛОВ AFT, ДЕАКТИВИЗАЦИЯ ПОРТА, ИЛИ ДВИГАТЕЛЬ БЕНЗИНОВЫЙ, 4 ЦИЛ., 1.6 Л, MFI, DOHC, PT-JV, РЕГУЛИРУЕМЫЕ ФАЗЫ РАСПРЕДВАЛОВ AFT, 82 КВТ, ИЛИ ДВИГАТЕЛЬ БЕНЗИНОВЫЙ, 4 ЦИЛ., 1.8 Л, СТРАНЫ - СЕВЕРНАЯ АМЕРИКА Контакт 2
Электрическая схема Средства управления топливом - топливный насос и форсунки ДВИГАТЕЛЬ БЕНЗИНОВЫЙ, 4 ЦИЛ., 1.6 Л, MFI, DOHC, PT-JV, РЕГУЛИРУЕМЫЕ ФАЗЫ РАСПРЕДВАЛОВ AFT, ДЕАКТИВИЗАЦИЯ ПОРТА, ИЛИ ДВИГАТЕЛЬ БЕНЗИНОВЫЙ, 4 ЦИЛ., 1.6 Л, MFI, DOHC, PT-JV, РЕГУЛИРУЕМЫЕ ФАЗЫ РАСПРЕДВАЛОВ AFT, 82 КВТ, ИЛИ ДВИГАТЕЛЬ БЕНЗИНОВЫЙ, 4 ЦИЛ., 1.8 Л, СТРАНЫ - КРОМЕ СЕВЕРНОЙ АМЕРИКИ СТРАНЫ - КРОМЕ СЕВЕРНОЙ АМЕРИКИ Контакт 2
K27 Модуль управления топливным насосом

Электрическая схема Средства управления топливом - топливный насос и форсунки ГАЗОВЫЙ ДВИГАТЕЛЬ, 4 ЦИЛ., 1.6 Л, MFI, DOHC, 80 кВт (GMDAT) СТРАНЫ - СЕВЕРНАЯ АМЕРИКА Контакт 25
Электрическая схема Средства управления топливом - топливный насос и форсунки ДИЗЕЛЬНЫЙ ДВИГАТЕЛЬ, 4 ЦИЛ., L4, 2.0 Л, CRI, SOHC, ТУРБО, 110 кВт СТРАНЫ - СЕВЕРНАЯ АМЕРИКА Контакт 25
Электрическая схема Средства управления топливом - топливный насос и форсунки ДВИГАТЕЛЬ БЕНЗИНОВЫЙ, 4 ЦИЛ., 1.6 Л, MFI, DOHC, PT-JV, РЕГУЛИРУЕМЫЕ ФАЗЫ РАСПРЕДВАЛОВ AFT, ДЕАКТИВИЗАЦИЯ ПОРТА, ИЛИ ДВИГАТЕЛЬ БЕНЗИНОВЫЙ, 4 ЦИЛ., 1.6 Л, MFI, DOHC, PT-JV, РЕГУЛИРУЕМЫЕ ФАЗЫ РАСПРЕДВАЛОВ AFT, 82 КВТ, ИЛИ ДВИГАТЕЛЬ БЕНЗИНОВЫЙ, 4 ЦИЛ., 1.8 Л, СТРАНЫ - СЕВЕРНАЯ АМЕРИКА Контакт 25
B116 Датчик присутствия воды в топливе

Расположение деталей (узлов) Трехмерная схема жгутов ДИЗЕЛЬНЫЙ ДВИГАТЕЛЬ, 4 ЦИЛ., L4, 2.0 Л, CRI, SOHC, ТУРБО, 110 кВт
Электрическая схема Органы управления топливом - нагреватель топлива и датчик присутствия воды в топливе ДИЗЕЛЬНЫЙ ДВИГАТЕЛЬ, 4 ЦИЛ., L4, 2.0 Л, CRI, SOHC, ТУРБО, 110 кВт Контакт 2
E11 Нагреватель топлива

Доступна только одна электрическая схема
Электрическая схема Органы управления топливом - нагреватель топлива и датчик присутствия воды в топливе ДИЗЕЛЬНЫЙ ДВИГАТЕЛЬ, 4 ЦИЛ., L4, 2.0 Л, CRI, SOHC, ТУРБО, 110 кВт Контакт 4
T3 Аудиоусилитель

Расположение деталей (узлов) Трехмерная схема жгутов
J402A Соединение с виртуальной "землей"
J402B Соединение с виртуальной "землей"
J801 Жгут проводов правой задней двери
G100, G102, G121, G122, G204 и G400

G100, G102, G121, G122, G204 и G400
Справочные данные по контроллерам

Справочные данные по контроллерам
Перечень основных электрических компонентов

Перечень основных электрических компонентов
   


https://vnx.su/ 🛠 Руководства по ремонту и эксплуатации для автомобилей

Поиск по сайту

Остались вопросы или пожелания? Пишите на почту: support@vnx.su

Карта Сайта