Orlando |
||||||||
|
|
|
|||||||

Регуляторы топлива - Регуляторы системы улавливания паров бензина и датчик давления
Органы управления компрессором
Внутренний переключатель режима и переключатель увеличения/уменьшения
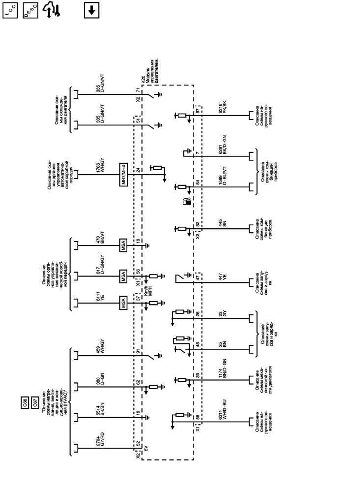
Power, Ground, Serial Data, and Gauges
| © copyright chevrolet. All rights reserved |