Orlando |
||||||||
|
|
|
|||||||

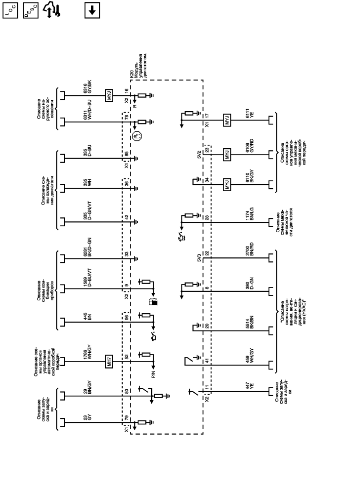
Внутренний переключатель режима и переключатель увеличения/уменьшения
Контролируемые/отслеживаемые обращения к подсистеме
Питание модуля, масса, последовательные данные и лампа индикатора неисправности MIL
| © copyright chevrolet. All rights reserved |