To the top of the document
Orlando
   
GMDE Start Page Load static TOC Load dynamic TOC Help?

Структурная идентификация


          2512671

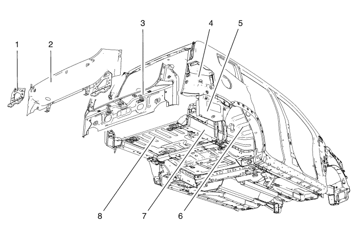
Вид спереди


Номер


Описание


Процедура


1


Передняя панель передней колесной ниши


Замена передней панели передней колесной ниши : Пайка → Сварка


2


Панель передней колесной ниши


Замена покрытия панели переднего колеса : Пайка → Сварка


3


Боковая направляющая переднего отсека


Боковая направляющая переднего отсека - разрез : Сварка → Пайка


4


Панель переднего верхнего бруса (header) крыши


Замена панели переднего верхнего бруса крыши : Сварка → Пайка


5


Облицовка крыши


Замена панели крыши : Сварка → Пайка


6


Задняя внутренняя панель крыши


Замена задней внутренней панели крыши : Пайка → Сварка


7


Поперечина напольной панели номер 6


Замена поперечины напольной панели номер 6 : Пайка → Сварка


8


Поперечина напольной панели номер 5


Замена поперечины напольной панели номер 5 : Пайка → Сварка


9


Верхний элемент усиления замыкающей стойки кузова


Замена верхнего элемента усиления замыкающей стойки кузова : Пайка → Сварка


10


Боковая внутренняя панель кузова


Боковая внутренняя панель кузова (в разрезе) : Пайка → Сварка


11


Усилитель наружной панели средней стойки


Замена наружной усиливающей панели средней стойки : Пайка → Сварка


12


Центральная стойка- Наружная часть


Разделение на секции центральной стойки - Наружная часть : Пайка → Сварка


13


Панель задней боковой части


Секция внешней панели : Пайка → Сварка


14


Панель внешнего молдинга (rocker outer panel)


Разделение на секции наружной панели молдинга : Пайка → Сварка


15


Наружная панель шарнирной стойки кузова


Разделение на секции наружной панели шарнирной стойки кузова : Пайка → Сварка


16


Усиление шарнирной стойки кузова


Замена усиления шарнирной стойки кузова : Пайка → Сварка


17


Усиление наружной панели молдинга


Замена усиления наружной панели молдинга : Пайка → Сварка


18


Панель внутреннего молдинга (rocker inner panel)


Замена панели внутреннего молдинга (rocker inner panel) : Пайка → Сварка


19


Верхняя боковая направляющая переднего отсека


Замена верхней боковой направляющей переднего отсека : Пайка → Сварка


20


Опора верхней растяжки передней части


Разделение на секции опоры верхней растяжки передней части : МИГ-пайка → МАГ-сварка

Замена верхней растяжки передней части : Пайка → Сварка


21


Панель передней колесной ниши - Заднее усиление


Панель передней колесной ниши - Замена заднего усиления : Пайка → Сварка


22


Монтажная панель фары


Замена монтажной панели фары : Пайка → Сварка


23


Замена ударного бруса переднего бампера


Замена ударного бруса переднего бампера

 

          2512672

Вид сзади


Номер


Описание


Процедура


1


Накладка ударного бруса заднего бампера


Замена накладки ударного бруса заднего бампера : Пайка → Сварка


2


Панель задней части


Задняя торцевая панель Замена : Пайка → Сварка


3


Усилитель нижней панели задней части кузова


Замена элемента усиления задней нижней торцевой панели : Пайка → Сварка


4


Монтажная панель заднего фонаря


Замена монтажной панели заднего фонаря : Пайка → Сварка


5


Нижняя боковая внешняя панель кузова


Замена нижней боковой внешней панели кузова : Пайка → Сварка


6


Панель задней колесной ниши


Замена панели задней колесной ниши : Пайка → Сварка


7


Задняя боковая направляющая днища


Разделение на секции заднего бокового лонжерона днища : Пайка → Сварка


8


Задняя панель пола


Задняя панель пола - разрез : Сварка → Пайка

 
   


© copyright chevrolet. All rights reserved