Orlando |
||||||||
|
|
|
|||||||

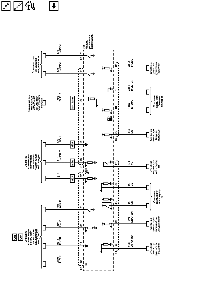
Список электрических компонентов управления
Модуль управления Справочные сведения
Регуляторы топлива - Регуляторы системы улавливания паров бензина и датчик давления
Средства управления компрессором
Внутренний переключатель режимов и переключатель скоростей
Стоп-сигнал и фонари заднего хода
Питание, масса, последовательные данные и указательные приборы
Стоп-сигнал и фонари заднего хода
| https://vnx.su/ 🛠 Руководства по ремонту и эксплуатации для автомобилей |
| https://vnx.su/ 🛠 Руководства по ремонту и эксплуатации для автомобилей |