Orlando |
||||||||
|
|
|
|||||||

Список электрических компонентов управления
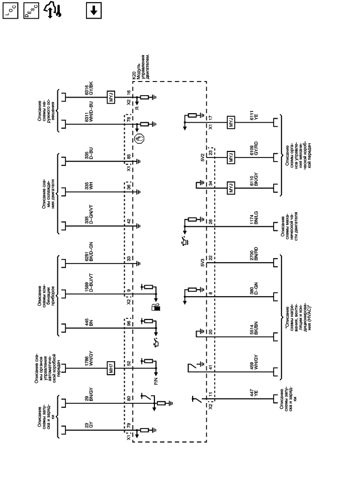
Модуль управления Справочные сведения
Управление свечами накаливания
Внутренний переключатель режимов и переключатель скоростей
Контролируемые/отслеживаемые обращения к подсистеме
Стоп-сигнал и фонари заднего хода
Питание модуля, масса, последовательные данные и лампа индикатора неисправности MIL
| https://vnx.su/ 🛠 Руководства по ремонту и эксплуатации для автомобилей |
| https://vnx.su/ 🛠 Руководства по ремонту и эксплуатации для автомобилей |