К началу документа
Aveo
На предыдущую страницу На следующую страницу
Главная страница GMDE Загрузить нединамическое оглавление Загрузить динамическое оглавление Помощь

РЕМОНТ АГРЕГАТА



T8B11C06
Показать иллюстрациюПеревод текста в иллюстрациях


Головка цилиндров

Необходимое оборудование

DW 110-030 Стенд для капремонта двигателя

Процедура снятия

  1. Демонтировать двигатель в сборе. Следуйте пункту "Двигатель в сборе" в этом разделе.
  2. Установите двигатель в сборе на dw110-030.


  3. T8B11C07
    Показать иллюстрациюПеревод текста в иллюстрациях


  4. Уберите катушку зажигания. Смотри раздел 1F2, Органы управления двигателем - 1.4 DOHC - G14D.


  5. T8B11C08
    Показать иллюстрациюПеревод текста в иллюстрациях


  6. Отделите хомуты из ПВХ от шланга из ПВХ.
  7. Отсоединить шланг принудительной вентиляции картера от крышки головки цилиндров.
  8. Выкрутите болты крышки головки цилиндров.
  9. Снять крышку головки цилиндров.


  10. T8B11C09
    Показать иллюстрациюПеревод текста в иллюстрациях


  11. Снимите насос рулевого управления с гидроусилителем и кронштейн. Следуйте разделу 6В, Насос рулевого управления с усилителем.
  12. Снимите насос рулевого управления с гидроусилителем и кронштейн. См. "Ремень привода вспомогательных агрегатов и натяжитель" в этом разделе.


  13. T8B11C10
    Показать иллюстрациюПеревод текста в иллюстрациях


  14. Снимите приводной ремень газораспределительного механизма. Смотри "Система газораспределения" в данном разделе.
  15. Снять натяжитель приводного ремня ГРМ. Смотри "Система газораспределения" в данном разделе.


  16. T8B11C11
    Показать иллюстрациюПеревод текста в иллюстрациях


  17. Снять звездочку распределительного вала. Смотри "Звездочка распределительного вала" в данном разделе.


  18. T8B11C12
    Показать иллюстрациюПеревод текста в иллюстрациях


  19. Снимите заднюю крышку распредвала.


  20. T8B11C14
    Показать иллюстрациюПеревод текста в иллюстрациях


  21. Снимите выпускной коллектор. Следуйте пункту "Выпускной коллектор" в этом разделе.


  22. T8B11C15
    Показать иллюстрациюПеревод текста в иллюстрациях


  23. Снять корпус дроссельной заслонки. Смотри раздел 1F2, Органы управления двигателем - 1.4 DOHC - G14D.
  24. Снимите впускной коллектор. См. пункт "Впускной коллектор" в этом разделе.


  25. T8B11C16
    Показать иллюстрациюПеревод текста в иллюстрациях


  26. Снимите распределительное устройство охлаждающей жидкости. Смотри раздел 1D2, Система охлаждения двигателя.


  27. T8B11C17
    Показать иллюстрациюПеревод текста в иллюстрациях


  28. Снимите винты головки цилиндров.
  29. Снимите головку цилиндров в сборе с прокладкой головки цилиндров.


J3B11C76
Показать иллюстрациюПеревод текста в иллюстрациях


Процедура проверки

    Внимание! Проявляйте особую аккуратность, не допуская появления царапин, вмятин или повреждений на поверхности головки цилиндров. В противном случае двигатель может быть поврежден.

  1. Почистите уплотнительные поверхности.
  2. Проверить головку цилиндров следующим образом.
  3. Если на головке цилиндров обнаружены трещины или повреждения, ее необходимо заменить. Не рекомендуется проводить на головке цилиндров сварочные работы или заделывать повреждения.
  4. Измерить зазор между линейкой и лицевой стороной головки цилиндров в четырех точках вдоль линейки с помощью калибра для измерения зазоров.
  5. Проверьте уплотнительные поверхности на деформацию и искривление. Уплотняемые поверхности головки цилиндров (включая уплотняемые поверхности на впуске и выпуске) должны быть плоскими в соответствии со спец. Смотри "Технические характеристики двигателя" в данном разделе.


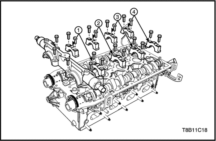
  6. T8B11C18
    Показать иллюстрациюПеревод текста в иллюстрациях


  7. Снимите впускной и выпускной распределительные валы. См. "Распределительный вал" в этом разделе.


  8. T8B11C20
    Показать иллюстрациюПеревод текста в иллюстрациях


  9. Измерьте высоту головки цилиндров от уплотнительной поверхности до уплотнительной поверхности. Высота головки цилиндров должна соответствовать спецификациям, замените головку цилиндров. Если высота головки цилиндров не соответствует спецификациям, замените головку цилиндров. Смотри "Технические характеристики двигателя" в данном разделе.


T8B11C17
Показать иллюстрациюПеревод текста в иллюстрациях


Процедура установки

    Внимание! Не используйте повторно прокладку головки цилиндров.

  1. Установите головку цилиндров в сборе с новой прокладкой головки цилиндров.
  2. Установите винты головки цилиндров.
  3. Затянуть
    Затяните винты головки цилиндров с моментом затяжки 25+90°+90°+90°+45° N•м (18,4+90°+90°+90°+45° фунтов на фут)



    T8B11C16
    Показать иллюстрациюПеревод текста в иллюстрациях


  4. Установите распределительное устройство охлаждающей жидкости двигателя. Смотри раздел 1D2, Система охлаждения двигателя.


  5. T8B11C15
    Показать иллюстрациюПеревод текста в иллюстрациях


  6. Установите впускной коллектор. См. пункт "Впускной коллектор" в этом разделе.
  7. Установите корпус дроссельной заслонки. Смотри раздел 1F2, Органы управления двигателем - 1.4 DOHC - G14D.


  8. T8B11C14
    Показать иллюстрациюПеревод текста в иллюстрациях


  9. Установите масляный поддон. Следуйте пункту "Выпускной коллектор" в этом разделе.


  10. T8B11C12
    Показать иллюстрациюПеревод текста в иллюстрациях


  11. Установите заднюю крышку распредвала.
  12. Установите систему приводного ремня газораспределительного механизма и отрегулируйте фазы газораспределения. Смотри "Система газораспределения" в данном разделе.


  13. T8B11C10
    Показать иллюстрациюПеревод текста в иллюстрациях


  14. Установите систему газораспределения. Смотри "Система газораспределения" в данном разделе.


  15. T8B11C09
    Показать иллюстрациюПеревод текста в иллюстрациях


  16. Установить ремень привода вспомогательных агрегатов. См. "Ремень привода вспомогательных агрегатов и натяжитель" в этом разделе.
  17. Установите насос рулевого управления с гидроусилителем и кронштейн. Следуйте разделу 6В, Насос рулевого управления с усилителем.


  18. T8B11C08
    Показать иллюстрациюПеревод текста в иллюстрациях


  19. Установить крышку головки цилиндров.
  20. Вкрутите болты крышки головки цилиндров.
  21. Установите шланг из ПВХ на крышку головки цилиндров.
  22. Присоедините хомуты из ПВХ на шланг из ПВХ.


  23. T8B11C07
    Показать иллюстрациюПеревод текста в иллюстрациях


  24. Установите катушку зажигания. Смотри раздел 1F2, Органы управления двигателем - 1.4 DOHC - G14D.


T8B11C17
Показать иллюстрациюПеревод текста в иллюстрациях


Распределительный вал

Необходимое оборудование

КМ--422 Приспособление для монтажа

Процедура снятия

    Внимание! Проявляйте особую аккуратность, не допуская появления царапин, вмятин или повреждений на поверхностях распредвалов. В противном случае двигатель может быть поврежден.

  1. Снимите головку цилиндров. См. пункт "РЕМОНТ АГРЕГАТА - головка цилиндров" в этом разделе.


  2. T8B11C18
    Показать иллюстрациюПеревод текста в иллюстрациях


  3. Демонтируйте корпус электромагнитного клапана положения распредвала.
  4. Снимайте винты головки распредвала в следующей последовательности (1)-(4)-(2)-(3).
  5. Снимите головки распределительного вала.


  6. T8B11C19
    Показать иллюстрациюПеревод текста в иллюстрациях


  7. Демонтируйте распредвалы и кольцевые масляные уплотнения.


K5B11BM0
Показать иллюстрациюПеревод текста в иллюстрациях


Осмотр

  1. Замерьте высоту подъема распредвала. Если он не соответствует спецификации, замените его. См. "Технические характеристики двигателя" в этом разделе.


  2. K5B11BM2
    Показать иллюстрациюПеревод текста в иллюстрациях


  3. Замерьте наружный диаметр шейки распределительного вала. Если он не соответствует спецификации, замените его. См. "Технические характеристики двигателя" в этом разделе.


  4. K5B11BM1
    Показать иллюстрациюПеревод текста в иллюстрациях


  5. Замерьте значение кривизны распредвала. Если он не соответствует спецификации, замените его. См. "Технические характеристики двигателя" в этом разделе.


  6. T8B11C22
    Показать иллюстрациюПеревод текста в иллюстрациях


  7. Замерьте осевой люфт распределительного вала. Если он не соответствует спецификации, замените его. См. "Технические характеристики двигателя" в этом разделе.


  8. T8B11C21
    Показать иллюстрациюПеревод текста в иллюстрациях


  9. Установите крышку подшипника распредвала на головку цилиндров.
  10. Затянуть
    Винты головки распределительного вала с моментом затяжки 8 N•м (70,8 фунтов на дюйм).

  11. Замерьте внутренний диаметр шейки распределительного вала. Если он не соответствует спецификации, замените его. См. "Технические характеристики двигателя" в этом разделе.


T8B11C19
Показать иллюстрациюПеревод текста в иллюстрациях


Процедура установки

  1. Нанесите покрытие / смажьте подшипник распредвала и поверхности кулачка чистым моторным маслом.
  2. Установите распределительные валы на головку цилиндров.


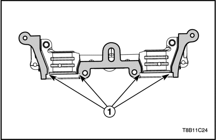
  3. T8B11C24
    Показать иллюстрациюПеревод текста в иллюстрациях


    Важно: Принципиально важно убедиться в том, что герметик не нанесен вне границ маркированного места герметизации.

  4. Тонким ровным слоем нанесите поверхностный герметик(loctite 574) на герметизируемые поверхности (1) на 1-й крышке подшипника рапредвала.
  5. Примечание: Пазы (1), граничащие с герметизируемыми поверхностями, должны оставаться свободными от герметика.



    T8B11C18
    Показать иллюстрациюПеревод текста в иллюстрациях


  6. Устанавливайте крышки подшипников распредвала в следующей последовательности (2)-(3)-(1)-(4).
  7. Установите корпус электромагнитного клапана положения распредвала.
  8. Затянуть
    Затяните винты крышек подшипников распредвала с моментом затяжки 8 Н•м (70ю8 фунтов на фут).

  9. Используя приспособление для установки(km-422), установите новые кольцевые масляные уплотнения распредвала. Смотри "Уплотнительные кольца распредвала" в данном разделе.


  10. T8B11C17
    Показать иллюстрациюПеревод текста в иллюстрациях


  11. Установите головку цилиндров в сборе. См. пункт "РЕМОНТ АГРЕГАТА - головка цилиндров" в этом разделе.


На предыдущую страницу На следующую страницу
https://vnx.su/ 🛠 Руководства по ремонту и эксплуатации для автомобилей

Поиск по сайту

Остались вопросы или пожелания? Пишите на почту: support@vnx.su

Карта Сайта