К началу документа
Aveo
На предыдущую страницу На следующую страницу
Главная страница GMDE Загрузить нединамическое оглавление Загрузить динамическое оглавление Помощь


S7B31C06
Показать иллюстрациюПеревод текста в иллюстрациях


Система газораспределения

Необходимое оборудование

Зажимное приспособление для двигателя EN-48356
Приспособление для блокировки маховика КМ-6625
Стержень для фиксации KM-6333
Блокировочный инструмент KM-6628-A
Блокировочный инструмент KM-6340

Процедура снятия

  1. Отсоединить провод от отрицательного вывода аккумуляторной батареи.
  2. Снять воздушный фильтр в сборе. См. "Воздушный фильтр в сборе" в данном разделе.
  3. Установите зажимное приспособление для двигателя (en-48356).


  4. T8B11C09
    Показать иллюстрациюПеревод текста в иллюстрациях


  5. Снять вспомогательный ремень. См. "Ремень привода вспомогательных агрегатов и натяжитель" в этом разделе.
  6. Снимите натяжное устройство ремня привода вспомогательных агрегатов. См. "Ремень привода вспомогательных агрегатов и натяжитель" в этом разделе.


  7. T8B11C49
    Показать иллюстрациюПеревод текста в иллюстрациях


  8. Поверните по часовой стрелке шкив коленчатого вала.
  9. Совместите пазы шкива и крышки.


  10. T8B11C50
    Показать иллюстрациюПеревод текста в иллюстрациях


  11. Отверните призонный болт коробки передач.
  12. Установите приспособление для блокировки маховика (km-6625)для блокировки коленчатого вала.
  13. Установите призонный болт коробки передач.


  14. T8B11C48
    Показать иллюстрациюПеревод текста в иллюстрациях


  15. Снять крышку головки цилиндров. См. "Крышка головки цилиндров" в данном разделе.
  16. Снимите подвеску двигателя. Следуйте пункту "Подвеска двигателя" в этом разделе.


  17. T8B11C51
    Показать иллюстрациюПеревод текста в иллюстрациях


  18. Снимите шкив коленчатого вала.
  19. Снять верхнюю крышку приводного ремня ГРМ.
  20. Снимите кронштейн подвески двигателя.
  21. Снять нижнюю крышку приводного ремня ГРМ.
  22. Снимите центральную крышку приводного ремня газораспределительного механизма.


  23. T8B11C10
    Показать иллюстрациюПеревод текста в иллюстрациях


  24. Установите стержень для фиксации (km-6333)(a), вращая натяжное устройство ремня газораспределительного механизма.
  25. Снимите приводной ремень газораспределительного механизма.


  26. T8B11C52
    Показать иллюстрациюПеревод текста в иллюстрациях


  27. Снять натяжитель приводного ремня ГРМ.
  28. Снять натяжной ролик приводного ремня ГРМ.


T8B11C53
Показать иллюстрациюПеревод текста в иллюстрациях


Регулировка

  1. Для установки заднего блокировочного инструмента распредвала (km-6628-a) совместите оба распредвала по горизонтали.
  2. Подтвердите совпадение меток на звездочках обоих распредвалов.


  3. T8B11C54
    Показать иллюстрациюПеревод текста в иллюстрациях


  4. Подготовьте правую половину блокировочного инструмента(km-6340).
  5. Примечание: Ее можно распознать по надписи "Right"

  6. Выкрутите винты (1) и отделите переднюю панель (2) от правой части km-6340.


  7. T8B11C55
    Показать иллюстрациюПеревод текста в иллюстрациях


    Важно: Маркировка в виде метки (4) на звездочке распредвала впускных клапанов в ходе данного процесса не соответствует пазу на левой стороне KM-6340, но их расположение должно быть похоже на показанное.

  8. Подтвердите, как показано, совпадение между меткой со стороны впуска (3) и меткой со стороны выпуска (4) на звездочках распредвалов.
  9. Если совпадения не произошло, как показано, снимите звездочку распредвала и установите так, чтобы метки совпали. Смотри "Звездочка распределительного вала" в данном разделе.
  10. Введите левую часть km-6340(1) со стороны впуска в звездочку распредвала.
  11. Введите правую часть km-6340(2) со стороны выпуска в звездочку распредвала.


  12. T8B11C56
    Показать иллюстрациюПеревод текста в иллюстрациях


    Внимание! Если пазы не совпали, поворачивайте коленчатый вал до тех пор, пока не добьетесь несомненного совпадения после снятия устройства для блокировки маховика KM-6625.

  13. Подтвердите совпадение пазов между звездочкой коленчатого вала и крышкой.


  14. T8B11C52
    Показать иллюстрациюПеревод текста в иллюстрациях


  15. Установить натяжной ролик приводного ремня ГРМ.
  16. Затянуть
    Затяните болт натяжителя приводного ремня ГРМ до 50 Н•м (36,8 фунт-фута).

  17. Установите приводной ремень газораспределительного механизма.
  18. Затянуть
    Затяните болт натяжного устройства приводного ремня газораспределительного механизма с моментом затяжки 55 Н•м (40,6 фунтов на фут).



    T8B11C10
    Показать иллюстрациюПеревод текста в иллюстрациях


  19. Установите регулятор приводного ремня газораспределительного механизма. Смотри "Регулировка системы газораспределения" в данном разделе.
  20. Вытащите стержень для фиксации(km-6333)(a).


T8B11C51
Показать иллюстрациюПеревод текста в иллюстрациях


Процедура установки

  1. Установите центральную крышку приводного ремня газораспределительного механизма.
  2. Установить нижнюю крышку приводного ремня ГРМ.
  3. Затянуть
    Затяните болты нижней крышки приводного ремня газораспределительного механизма с моментом затяжки 6 Н•м (53,1 фунтов на дюйм).

  4. Установите кронштейн подвески двигателя.
  5. Затянуть
    Затяните болты кронштейна подвески двигателя с моментом затяжки 65 Н•м (47,9 фунтов на фут).

  6. Установить верхнюю крышку приводного ремня ГРМ.
  7. Затянуть
    Затяните болты верхней крышки приводного ремня газораспределения с моментом затяжки 4 Н•м (35,4 фунтов на фут).

  8. Установите шкив коленчатого вала так, чтобы пазы шкива коленчатого вала совпали.
  9. Затянуть
    Затяните винт шкива коленчатого вала с моментом затяжки 25 Н•м (18,4 фунтов на фут).



    T8B11C48
    Показать иллюстрациюПеревод текста в иллюстрациях


  10. Установите подвеску двигателя. Следуйте пункту "Подвеска двигателя" в этом разделе.
  11. Установить крышку головки цилиндров. Следуйте пункту "Подвеска двигателя" в этом разделе.


  12. T8B11C09
    Показать иллюстрациюПеревод текста в иллюстрациях


  13. Установить ремень привода вспомогательных агрегатов. См. "Ремень привода вспомогательных агрегатов и натяжитель" в этом разделе.
  14. Установите натяжное устройство ремня привода вспомогательных агрегатов. См. "Ремень привода вспомогательных агрегатов и натяжитель" в этом разделе.


  15. T8B11C50
    Показать иллюстрациюПеревод текста в иллюстрациях


  16. Отверните призонный болт коробки передач.
  17. Снимите приспособление для блокировки маховика (km-6625) для блокировки коленчатого вала.
  18. Установите призонный болт коробки передач.
  19. Затянуть
    Затяните призонные болты коробки передач с моментом затяжки 60 Н•м (44,2 фунтов на фут).



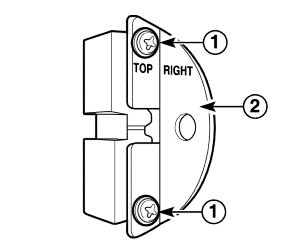
    S7B31C06
    Показать иллюстрациюПеревод текста в иллюстрациях


  20. Снимите зажимное приспособление для двигателя (en-48356).
  21. Установить воздухоочиститель в сборе. См. "Воздушный фильтр в сборе" в данном разделе.
  22. Присоедините провод отрицательного вывода аккумуляторной батареи.


T8B11C11
Показать иллюстрациюПеревод текста в иллюстрациях


Звездочка распределительного вала

Процедура снятия

  1. Снимите приводной ремень газораспределительного механизма. Смотри "Система газораспределения" в данном разделе.
  2. Снимите колпачок болта звездочки распределительного вала.
  3. Снимите болты звездочки распределительного вала.
  4. Снимите звездочки распределительного вала.


T8B11C11
Показать иллюстрациюПеревод текста в иллюстрациях


Процедура установки

    Важно: При установке звездочки распредвала должна быть выполнена процедура регулировки газораспределительного механизма. Смотри "Регулировка системы газораспределения" в данном разделе.

  1. Установите звездочки распределительного вала.
  2. Установите винты звездочки распределительного вала.
  3. Затянуть
    Затяните винты звездочки распредвала с моментом затяжки 65 Н•м (47,9 фунтов на фут).

  4. Установите колпачки болта звездочки распределительного вала.
  5. Затянуть
    Затяните колпачок болта звездочки распредвала с моментом затяжки 50 N•м (36,8 фунтов на фут).

  6. Установите приводной ремень газораспределительного механизма. Смотри "Система газораспределения" в данном разделе.


T8B11C57
Показать иллюстрациюПеревод текста в иллюстрациях


Приспособление для регулировки распредвала

Порядок снятия и установки

  1. Удалите винты регулировочного приспособления распределительного вала.
  2. Затянуть
    Затяните винты регулировочного приспособления распредвала с моментом затяжки 65+120°+15° N•м (47,9+120°+15° фунтов на фут).

  3. Снимите регулировочные приспособления распределительного вала.


  4. T8B11C58
    Показать иллюстрациюПеревод текста в иллюстрациях


    Важно: Не перепутайте место расположения и направление регуляторов впуска / выпуска.



T8B11C11
Показать иллюстрациюПеревод текста в иллюстрациях


Сальник распределительного вала

Необходимое оборудование

Приспособление для установки KM-422

Процедура снятия

  1. Снять звездочку распределительного вала. Смотри "Звездочка распределительного вала" в данном разделе.


  2. T8B11C59
    Показать иллюстрациюПеревод текста в иллюстрациях


    Внимание! Соблюдайте особую осторожность при прикосновении к поверхности распредвала. При наличии повреждений на поверхности распредвала может возникнуть утечка моторного масла.

  3. Снимите уплотнительное кольцо распредвала.


T8B11C59
Показать иллюстрациюПеревод текста в иллюстрациях


Процедура установки

    Примечание: Не используйте повторно уплотнительное кольцо распредвала.

  1. Установите новое уплотнительное кольцо распредвала.


  2. T8B11C60
    Показать иллюстрациюПеревод текста в иллюстрациях


  3. Установите приспособление для установки km-422(3) с шайбами (2) с общей толщиной приблизительно 10 мм и от руки затяните винт распредвала (1).
  4. Снимите приспособление для установки km-422.


T8B11C11
Показать иллюстрациюПеревод текста в иллюстрациях


Распределительный вал

Процедура снятия

    Внимание! Проявляйте особую аккуратность, не допуская появления царапин, вмятин или повреждений на распредвалах и поверхностях крышек подшипников. В противном случае двигатель может быть поврежден.

  1. Снять звездочку распределительного вала. Смотри "Звездочка распределительного вала" в данном разделе.
  2. Снять натяжитель приводного ремня ГРМ. Смотри "Система газораспределения" в данном разделе.


  3. T8B11C12
    Показать иллюстрациюПеревод текста в иллюстрациях


  4. Снимите заднюю крышку приводного ремня газораспределительного механизма.


  5. T8B11C18
    Показать иллюстрациюПеревод текста в иллюстрациях


  6. Демонтируйте корпус электромагнитного клапана положения распредвала.
  7. Снимайте винты головки распредвала в следующей последовательности (1)-(4)-(2)-(3).
  8. Снимите головки распределительного вала.


  9. T8B11C19
    Показать иллюстрациюПеревод текста в иллюстрациях


  10. Демонтируйте распредвалы впускных / выпускных клапанов вместе с уплотнительными кольцами.


T8B11C19
Показать иллюстрациюПеревод текста в иллюстрациях


Процедура установки

  1. Нанесите покрытие / смажьте подшипник распредвала и поверхности кулачка чистым моторным маслом.
  2. Установите распределительные валы на головку цилиндров.


  3. T8B11C24
    Показать иллюстрациюПеревод текста в иллюстрациях


    Важно: Принципиально важно убедиться в том, что герметик не нанесен вне границ маркированного места герметизации.

  4. Тонким ровным слоем нанесите поверхностный герметик(loctite 574) на герметизируемые поверхности (1) на 1-й крышке подшипника рапредвала.
  5. Примечание: Пазы (1), граничащие с герметизируемыми поверхностями, должны оставаться свободными от герметика.



    T8B11C18
    Показать иллюстрациюПеревод текста в иллюстрациях


  6. Устанавливайте крышки подшипников распредвала в следующей последовательности (2)-(3)-(1)-(4).
  7. Установите корпус электромагнитного клапана положения распредвала.
  8. Затянуть
    Затяните винты крышек подшипников распредвала с моментом затяжки 8 Н•м (70ю8 фунтов на фут).

  9. Используя приспособление для установки(km-422), установите новые кольцевые масляные уплотнения распредвала. Смотри "Уплотнительные кольца распредвала" в данном разделе.


  10. T8B11C12
    Показать иллюстрациюПеревод текста в иллюстрациях


  11. Установить заднюю крышку приводного ремня ГРМ.
  12. Затянуть
    Затяните винты задней крышки приводного ремня газораспределительного механизма с моментом затяжки 6 Н•м (53,1 фунтов на дюйм).



    T8B11C11
    Показать иллюстрациюПеревод текста в иллюстрациях


  13. Установите приводной ремень газораспределительного механизма. Смотри "Система газораспределения" в данном разделе.
  14. Установите звездочку распределительного вала. Смотри "Звездочка распределительного вала" в данном разделе.


T8B11C19
Показать иллюстрациюПеревод текста в иллюстрациях


Клапанный механизм - установлена головка цилиндров

Необходимое оборудование

Универсальное приспособление для сжатия пружин клапанов EN-49074
Переходник приспособления для сжатия пружин клапанов EN-49155
Переходник - давление цилиндра EN-49154
Всасывающее устройство KM-845

Процедура снятия

  1. Снимите распределительный вал. См. "Распределительный вал" в этом разделе.


  2. T8B11C25
    Показать иллюстрациюПеревод текста в иллюстрациях


    Внимание! Не поцарапайте толкатель клапана. Также не разрешается использование перчаток или интсрументов, за исключением специальных инструментов для техобслуживания.

  3. Снимите толкатель клапана, используя всасывающее устройство(km-845).


  4. T8B52C61
    Показать иллюстрациюПеревод текста в иллюстрациях


  5. Удалите свечи зажигания и затем установите переходник давления(en-49154).
  6. Внимание! Не прерывайте данную процедуру до ее полного завершения. В случае остановки в использовании сжатого воздуха процедура демонтажа головки цилиндров должна быть доведена до конца.

  7. Подайте сжатый воздух на переходник, чтобы не допустить опускания клапанов в цилиндры.
  8. Установите универсальное устройство для сжатия пружин клапанов(en-49074) и переходник (en-49155).


  9. T8B11C61
    Показать иллюстрациюПеревод текста в иллюстрациях


  10. Снимите шпонку клапана.
  11. Снимите пружины клапана, пружинодержатели клапана и уплотнения.
  12. Снимите универсальное устройство для сжатия пружин клапанов(en-49074) и переходник (en-49155).


T8B11C61
Показать иллюстрациюПеревод текста в иллюстрациях


Процедура установки

  1. Установите уплотнения, пружинодержатели и пружины клапанов.
  2. Установите универсальное устройство для сжатия пружин клапанов(en-49074) и переходник (en-49155).
  3. Установите шпонку клапана.
  4. Установите пружину клапана, пружинодержатель клапана и уплотнение.


  5. T8B11C25
    Показать иллюстрациюПеревод текста в иллюстрациях


    Внимание! Не поцарапайте толкатель клапана. При снятии и установке также нельзя использовать перчатки или инструменты, за исключением специальных инструментов для техобслуживания.

  6. Установите толкатель клапана, используя всасывающее устройство(km-845).


  7. T8B11C19
    Показать иллюстрациюПеревод текста в иллюстрациях


  8. Установите распределительный вал. См. "Распределительный вал" в этом разделе.


T8B11C08
Показать иллюстрациюПеревод текста в иллюстрациях


Зазор клапанов

Измерение

  1. Снять крышку головки цилиндров. См. "Крышка головки цилиндров" в данном разделе.


  2. T8B11C49
    Показать иллюстрациюПеревод текста в иллюстрациях


  3. Поверните по часовой стрелке шкив коленчатого вала.
  4. Совместите пазы шкива и крышки.


  5. T8B11C68
    Показать иллюстрациюПеревод текста в иллюстрациях


  6. Замерьте зазор клапана (b) и (g).Поверните шкив коленчатого вала по часовой стрелке на 180°.
  7. Замерьте зазор клапана (с) и (f).Поверните шкив коленчатого вала по часовой стрелке на 180°.
  8. Замерьте зазор клапана (d) и (e).Поверните шкив коленчатого вала по часовой стрелке на 180°.
  9. Замерьте зазор клапана (a) и (h).Поверните шкив коленчатого вала по часовой стрелке на 180°.
  10. Если замеренные значения не соответствуют спецификации, замените толкатели клапанов на новые.
  11. Определите размер толкателя. Смотри "Зазор клапана - определение размера толкателя" в данном разделе.
  12. Если необходимо, замените толкатели клапанов. Смотри "Клапанный механизм (головка цилиндров установлена)" в данном разделе.


T8B11C69
Показать иллюстрациюПеревод текста в иллюстрациях


Определите размер толкателя

  1. Демонтируйте толкатели, не соответствующие спецификациям.
  2. Прочитайте идентификационный номер с внутренней стороны толкателя.
  3. Найдите значение(я) идентификационного номера в таблице ниже.
  4. Рассчитайте:
  5. Значение (я) + замеренное значение - номинальное значение = Х
  6. По значению Х найдите идентификационный номер в таблице ниже.
  7. 3,20+0,31-0,25 = 3,265 мм -> 27X(идент. номер) ->55353766(номер детали)
    .
    Номер детали
    Идентификационный номер
    Значение(я)
    1
    24465260
    04
    3,060 - 3,050
    2
    24465261
    06
    3,050 - 3,070
    3
    24438041
    08
    3,070 - 3,090
    4
    24438145
    10
    3,090 - 3,110
    5
    24438146
    12
    3,110 - 3,130
    6
    24438147
    14
    3,130 - 3,150
    7
    24438148
    16
    3,150 - 3,170
    8
    24438149
    18
    3,170 - 3,190
    9
    24438150
    20
    3,190 - 3,210
    10
    24438151
    22
    3,210 - 3,230
    11
    55353764
    24x
    3,230 - 3,244
    12
    55353765
    25x
    3,244 - 3,258
    13
    55353766
    27x
    3,258 - 3,272
    14
    55353767
    28x
    3,272 - 3,286
    15
    55353768
    30x
    3,286 - 3,300
    16
    55353769
    31x
    3,300 - 3,314
    17
    55353770
    32x
    3,314 - 3,328
    18
    55353771
    34x
    3,328 - 3,342
    19
    55353772
    35x
    3,342 - 3,356
    20
    55353773
    36x
    3,356 - 3,370
    21
    55353774
    38x
    3,370 - 3,384
    22
    55353775
    39x
    3,384 - 3,398
    23
    55353776
    41x
    3,398 - 3,412
    24
    55353777
    42x
    3,412 - 3,426
    25
    55353778
    43x
    3,426 - 3,440
    26
    55353779
    45
    3,440 - 3,460
    27
    55353780
    47
    3,460 - 3,480
    28
    55353781
    49
    3,480 - 3,500
    29
    55353782
    51
    3,500 - 3,520
    30
    55353783
    53
    3,520 - 3,540

    .
    Номер детали
    Идентификационный номер
    Значение(я)
    31
    55353784
    55
    3,540 - 3,560
    32
    55353785
    57
    3,560 - 3,580
    33
    55353786
    59
    3,580 - 3,600


На предыдущую страницу На следующую страницу
https://vnx.su/ 🛠 Руководства по ремонту и эксплуатации для автомобилей

Поиск по сайту

Остались вопросы или пожелания? Пишите на почту: support@vnx.su

Карта Сайта