ДИАГНОСТИЧЕСКИЙ КОД НЕИСПРАВНОСТИ (dtc) - p0336 58Х ДАТЧИК ПОЛОЖЕНИЯ КОЛЕНЧАТОГО ВАЛА, ВЫХОД СИГНАЛА ИЗ ДОПУСТИМОГО ДИАПАЗОНА
Описание схемы
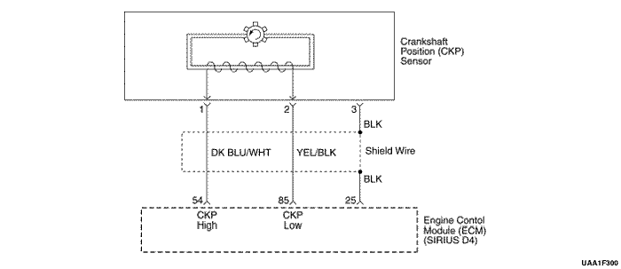
Контрольный сигнал 58Х генерируется датчиком положения коленчатого вала. За время одного оборота коленчатого вала производятся 58 импульсов. Контроллер КПП/контроллер ЭСУД использует контрольный сигнал 58Х для вычисления числа оборотов двигателя и положения коленчатого вала. Контроллер ЭСУД постоянно отслеживает количество импульсов в контрольной цепи 58Х и сравнивает их с получаемыми сигнальными импульсами положения коленчатого вала. Если контроллер ЭСУД получает неправильное количество импульсов по цепи опорного сигнала 58Х, устанавливается DTC P0336.
Условия установки кода неисправности.
Этот диагностический код неисправности может быть установлен при включенном зажигании.
Определенное количество зубьев отличается на 3 и выше.
Действия, выполняемые при установке кода неисправности
Контрольная лампа индикации неисправности загорается после трех последовательных поездок с неисправностью.
Контроллер записывает рабочие условия в момент определения неисправности. Эта информация сохраняется в буфере записей состояния и протоколах неисправностей.
Условия очистки кода неисправности/индикации неисправности
Контрольная лампа индикации неисправности отключается через четыре последовательных цикла зажигания, в которых диагностика не обнаружила неисправность.
Архив диагностических кодов неисправности очищается через 40 последовательных циклов нагрева без неисправностей.
Диагностический код неисправности может быть очищен сканирующим прибором.
Отключение питания контроллера ЭСУД более чем на 10 секунд.
УКАЗАНИЯ ПО ДИАГНОСТИКЕ
Неустойчивая неисправность может быть вызвана слабым контактом, перетертой изоляции или обрывом проводки под изоляцией. Проверить:
Слабое соединение - проверить жгут проводов контроллера ЭСУД и разъемы на слабый контакт, неисправность замков, деформированность или повреждения клемм и слабое соединение клемм с проводами.
Повреждения жгутов - осмотреть жгут проводов и проверить отсутствие повреждений. Если жгут проводов кажется исправным, отсоединить контроллер ЭСУД, включить зажигание и проследить за показаниями вольтметра в контрольной цепи 58Х, двигая разъемы и жгуты проводов, относящиеся к контроллеру ЭСУД. Изменения в уровне сигнала покажут место нахождения неисправности.
Просмотреть километраж записей неисправностей, так как неудавшиеся диагностические проверки помогут оценить условия, в которых устанавливался диагностический код неисправности. Это поможет продиагностировать условия.
dtc p0336 58Х Датчик положения коленчатого вала, выход сигнала из допустимого диапазона
Шаг
Операция
Значения
Да
Нет
1
Провести проверку бортовой системы диагностики Евро (eobd).
Отсоединить контроллер ЭСУД и датчик положения коленчатого вала.
Проверить наличие открытого или низкого напряжения на разъеме датчика положение коленчатого вала, а также на разъеме жгута контроллера ЭСУД.
Проблема найдена?
-
Перейти к операции 5
Перейти к операции 6
5
Устранить открытое или низкое напряжение в цепи опорного сигнала 58Х между разъемом датчика положение коленчатого вала и разъемом жгута контроллера ЭСУД.
Закончен ли ремонт?
-
Перейдите к Шагу 11
-
6
Заново подключить контроллер ЭСУД и датчик положения коленчатого вала.
Присоединить цифровой вольтметр для измерения сигнала в контрольной цепи 58Х к клемме 54 на разъеме контроллера ЭСУД.
Посмотреть уровень сигнала при проворачивании коленчатого вала.
Уровень сигнала близок к установленному значению?
2,5 В
Перейдите к Шагу 9
Перейдите к Шагу 7
7
Проверить разъемы датчика положения коленчатого вала и заменить клеммы, если необходимо.
Какие-нибудь клеммы требуют замены?
-
Перейдите к Шагу 11
Перейдите к Шагу 8
8
Заменить датчик положения коленчатого вала.
Замена закончена?
-
Перейдите к Шагу 11
-
9
Проверить соединения на контроллере ЭСУД и заменить клеммы, если необходимо.
Какая-нибудь клемма требует замены?
-
Перейдите к Шагу 11
Перейдите к Шагу 10
10
Заменить контроллер ЭСУД.
Замена закончена?
-
Перейдите к Шагу 11
-
11
Используя сканирующий прибор, очистить диагностические коды неисправностей.
Запустить двигатель и дать ему поработать на холостом ходу при нормальной рабочей температуре.
Совершить поездку для установки кодов неисправности, как это указано во вспомогательном тексте.
Сканирующий прибор определяет эту диагностику как прошедшую и успешную?
-
Перейдите к Шагу 12
Перейти к операции 2
12
Проверьте, не установлены ли дополнительные диагностические коды неисправности.
Отображены ли диагностические коды неисправности, которые не были продиагностированы?
-
Перейти к соответствующей таблице диагностических кодов неисправности
Система в норме
ДИАГНОСТИЧЕСКИЙ КОД НЕИСПРАВНОСТИ (dtc) - p0337 58Х ОТСУТСТВУЕТ СИГНАЛ ДАТЧИКА ПОЛОЖЕНИЯ КОЛЕНЧАТОГО ВАЛА
Описание схемы
Контрольный сигнал 58Х генерируется датчиком положения коленчатого вала. За время одного оборота коленчатого вала производятся 58 импульсов. Контроллер КПП/контроллер ЭСУД использует контрольный сигнал 58Х для вычисления числа оборотов двигателя и положения коленчатого вала. Контроллер ЭСУД постоянно отслеживает количество импульсов в контрольной цепи 58Х и сравнивает их с получаемыми сигнальными импульсами положения коленчатого вала. Если контроллер ЭСУД принимает неверное количество импульсов по опорной цепи 58Х, устанавливается диагностический код неисправности DTC P0337.
Условия установки кода неисправности.
Этот диагностический код неисправности может быть установлен при включенном зажигании.
Не обнаружено зубьев коленчатого вала
Действия, выполняемые при установке кода неисправности
Контрольная лампа индикации неисправности загорается после трех последовательных поездок с неисправностью.
Контроллер записывает рабочие условия в момент определения неисправности. Эта информация сохраняется в буфере записей состояния и протоколах неисправностей.
Условия очистки кода неисправности/индикации неисправности
Контрольная лампа индикации неисправности отключается через четыре последовательных цикла зажигания, в которых диагностика не обнаружила неисправность.
Архив диагностических кодов неисправности очищается через 40 последовательных циклов нагрева без неисправностей.
Диагностический код неисправности может быть очищен сканирующим прибором.
Отключение питания контроллера ЭСУД более чем на 10 секунд.
УКАЗАНИЯ ПО ДИАГНОСТИКЕ
Неустойчивая неисправность может быть вызвана слабым контактом, перетертой изоляции или обрывом проводки под изоляцией. Проверить:
Слабое соединение - проверить жгут проводов контроллера ЭСУД и разъемы на слабый контакт, неисправность замков, деформированность или повреждения клемм и слабое соединение клемм с проводами.
Повреждения жгутов - осмотреть жгут проводов и проверить отсутствие повреждений. Если жгут проводов кажется исправным, отсоединить контроллер ЭСУД, включить зажигание и проследить за показаниями вольтметра в контрольной цепи 58Х, двигая разъемы и жгуты проводов, относящиеся к контроллеру ЭСУД. Изменения в уровне сигнала покажут место нахождения неисправности.
Просмотреть километраж записей неисправностей, так как неудавшиеся диагностические проверки помогут оценить условия, в которых устанавливался диагностический код неисправности. Это поможет продиагностировать условия.
dtc p0337 58Х Датчик положения коленчатого вала, нет сигнала
Шаг
Операция
Значения
Да
Нет
1
Провести проверку бортовой системы диагностики Евро (eobd).
Отсоединить контроллер ЭСУД и датчик положения коленчатого вала.
Проверить наличие открытого или низкого напряжения на разъеме датчика положение коленчатого вала, а также на разъеме жгута контроллера ЭСУД.
Проблема найдена?
-
Перейти к операции 5
Перейти к операции 6
5
Устранить открытое или низкое напряжение в цепи опорного сигнала 58Х между разъемом датчика положение коленчатого вала и разъемом жгута контроллера ЭСУД.
Закончен ли ремонт?
-
Перейдите к Шагу 11
-
6
Заново подключить контроллер ЭСУД и датчик положения коленчатого вала.
Присоединить цифровой вольтметр для измерения сигнала в контрольной цепи 58Х к клемме 54 на разъеме контроллера ЭСУД.
Посмотреть уровень сигнала при проворачивании коленчатого вала.
Уровень сигнала близок к установленному значению?
2,5 В
Перейдите к Шагу 9
Перейдите к Шагу 7
7
Проверить разъемы датчика положения коленчатого вала и заменить клеммы, если необходимо.
Какие-нибудь клеммы требуют замены?
-
Перейдите к Шагу 11
Перейдите к Шагу 8
8
Заменить датчик положения коленчатого вала.
Замена закончена?
-
Перейдите к Шагу 11
-
9
Проверить соединения на контроллере ЭСУД и заменить клеммы, если необходимо.
Какая-нибудь клемма требует замены?
-
Перейдите к Шагу 11
Перейдите к Шагу 10
10
Заменить контроллер ЭСУД.
Замена закончена?
-
Перейдите к Шагу 11
-
11
Используя сканирующий прибор, очистить диагностические коды неисправностей.
Запустить двигатель и дать ему поработать на холостом ходу при нормальной рабочей температуре.
Совершить поездку для установки кодов неисправности, как это указано во вспомогательном тексте.
Сканирующий прибор определяет эту диагностику как прошедшую и успешную?
-
Перейдите к Шагу 12
Перейти к операции 2
12
Проверьте, не установлены ли дополнительные диагностические коды неисправности.
Отображены ли диагностические коды неисправности, которые не были продиагностированы?
-
Перейти к соответствующей таблице диагностических кодов неисправности
Система в норме
ДИАГНОСТИЧЕСКИЙ КОД НЕИСПРАВНОСТИ (dtc) - p0341 ДАТЧИК ПОЛОЖЕНИЯ РАСПРЕДЕЛИТЕЛЬНОГО ВАЛА, ВЫХОД СИГНАЛА ИЗ ДОПУСТИМОГО ДИАПАЗОНА
Описание схемы
Датчик положения распределительного вала используется для определения положения распределительного вала, а также для взаимосвязи с положением коленчатого вала, для того, чтобы контроллер ЭСУД мог определить, в какой цилиндр форсунке подавать топливо. Полярность сигнала датчика положения распределительного вала необходимо изменять только один раз согласно положению коленчатого вала.
Условия установки кода неисправности.
Сигнал датчика положения коленчатого вала между 25 и 33 зубом отсутствует, но полярность изменена
Действия, выполняемые при установке кода неисправности
Контрольная лампа индикации неисправности загорается после трех последовательных поездок с неисправностью.
Контроллер записывает рабочие условия в момент определения неисправности. Эта информация сохраняется в буфере записей состояния и протоколах неисправностей.
Условия очистки кода неисправности/индикации неисправности
Контрольная лампа индикации неисправности отключается через четыре последовательных цикла зажигания, в которых диагностика не обнаружила неисправность.
Архив диагностических кодов неисправности очищается через 40 последовательных циклов нагрева без неисправностей.
Диагностический код неисправности может быть очищен сканирующим прибором.
Отключение питания контроллера ЭСУД более чем на 10 секунд.
Указания по диагностике
Перед использованием диагностической таблицы проверить и устранить любой необычный шум двигателя.
Любая цепь, подозреваемая на создание шума двигателя, должна быть тщательно проверена на следующие обстоятельства:
Снятые клеммы.
Соединение клемм.
Неисправность замков.
Деформированность.
Повреждения клемм.
Слабое соединение клемм с проводами.
Физическое повреждение жгутов проводов.
dtc p0341 Датчик положения распределительного вала, выход сигнала из допустимого диапазона
Шаг
Операция
Значения
Да
Нет
1
Провести проверку бортовой системы диагностики Евро (eobd).
Проверка системы завершена?
-
Перейти к операции 2
Перейти к "Проверка бортовой системы диагностики"
2
Повернуть ключ зажигания в положение блокировки.
Отсоединить разъем датчика положения распределительного вала
Проверить исправность разъема и клемм
Проблема найдена?
-
Перейти к операции 4
Перейдите к Шагу 3
3
Включить зажигание.
Отсоединить разъём контроллера ЭСУД.
Проверить выводы контроллера ЭСУД и датчик на наличие деформированных или поврежденных клемм
Проверить отсутствие обрыва, короткого замыкания на массу или на напряжение аккумуляторной батареи в проводе между клеммой 3 датчика положения распределительного вала (cmp) и разъемом 22 контроллера ЭСУД, перемещая связанные с ним разъемы и жгуты электропроводки.
Проверить отсутствие обрыва в проводах между клеммой 2 датчика положения распределительного вала (cmp) и разъемом 17 контроллера ЭСУД, перемещая связанные с ним разъемы и жгуты электропроводки.
Проблема найдена?
-
Перейти к операции 4
Перейти к операции 5
4
Повернуть ключ зажигания в положение блокировки.
Отремонтировать или заменить провод или разъем
Очистить все диагностические коды неисправности в контроллере ЭСУД.
Запустить двигатель
Провести проверку системы диагностики.
Закончен ли ремонт?
-
Система в норме
-
5
Повернуть ключ зажигания в положение блокировки.
Заменить датчик положения распределительного вала.
Очистить все диагностические коды неисправности в контроллере ЭСУД.
Запустить двигатель
Провести проверку системы диагностики.
dtc p0341 сброшен?
-
Система в норме
Перейти к операции 6
6
Заменить контроллер ЭСУД.
Запустить двигатель
Провести проверку системы диагностики.
Замена закончена?
-
Перейдите к Шагу 7
-
7
Используя сканирующий прибор, очистить диагностические коды неисправностей.
Запустить двигатель и дать ему поработать на холостом ходу при нормальной рабочей температуре.
Совершить поездку для установки кодов неисправности, как это указано во вспомогательном тексте.
Сканирующий прибор определяет эту диагностику как прошедшую и успешную?
-
Перейдите к Шагу 8
-
8
Проверьте, не установлены ли дополнительные диагностические коды неисправности.
Отображены ли диагностические коды неисправности, которые не были продиагностированы?
-
Перейти к соответствующей таблице диагностических кодов неисправности
Система в норме
ДИАГНОСТИЧЕСКИЙ КОД НЕИСПРАВНОСТИ (dtc) - p0342 ОТСУТСТВУЕТ СИГНАЛ ДАТЧИКА ПОЛОЖЕНИЯ РАСПРЕДЕЛИТЕЛЬНОГО ВАЛА
Описание схемы
Датчик положения распределительного вала используется для определения положения распределительного вала, а также для взаимосвязи с положением коленчатого вала, для того, чтобы контроллер ЭСУД мог определить, в какой цилиндр форсунке подавать топливо. Полярность сигнала датчика положения распределительного вала необходимо изменять только один раз согласно положению коленчатого вала.
Условия установки кода неисправности.
Сигнал датчика положения коленчатого вала между 25 и 33 зубом отсутствует, но полярность изменена
Действия, выполняемые при установке кода неисправности
Контрольная лампа индикации неисправности загорается после трех последовательных поездок с неисправностью.
Контроллер записывает рабочие условия в момент определения неисправности. Эта информация сохраняется в буфере записей состояния и протоколах неисправностей.
Условия очистки кода неисправности/индикации неисправности
Контрольная лампа индикации неисправности отключается через четыре последовательных цикла зажигания, в которых диагностика не обнаружила неисправность.
Архив диагностических кодов неисправности очищается через 40 последовательных циклов нагрева без неисправностей.
Диагностический код неисправности может быть очищен сканирующим прибором.
Отключение питания контроллера ЭСУД более чем на 10 секунд.
УКАЗАНИЯ ПО ДИАГНОСТИКЕ
Перед использованием диагностической таблицы проверить и устранить любой необычный шум двигателя.
Любая цепь, подозреваемая на создание шума двигателя, должна быть тщательно проверена на следующие обстоятельства:
Снятые клеммы.
Соединение клемм.
Неисправность замков.
Деформированность.
Повреждения клемм.
Слабое соединение клемм с проводами.
Физическое повреждение жгутов проводов.
dtc p0342 Датчик положения распределительного вала, отсутствует сигнал
Шаг
Операция
Значения
Да
Нет
1
Провести проверку бортовой системы диагностики Евро (eobd).
Проверка системы завершена?
-
Перейти к операции 2
Перейти к "Проверка бортовой системы диагностики"
2
Повернуть ключ зажигания в положение блокировки.
Отсоединить разъем датчика положения распределительного вала
Проверить исправность разъема и клемм
Проблема найдена?
-
Перейти к операции 4
Перейдите к Шагу 3
3
Включить зажигание.
Отсоединить разъём контроллера ЭСУД.
Проверить выводы контроллера ЭСУД и датчик на наличие деформированных или поврежденных клемм
Проверить отсутствие обрыва, короткого замыкания на массу или на напряжение аккумуляторной батареи в проводе между клеммой 3 датчика положения распределительного вала (cmp) и разъемом 22 контроллера ЭСУД, перемещая связанные с ним разъемы и жгуты электропроводки.
Проверить отсутствие обрыва в проводах между клеммой 2 датчика положения распределительного вала (cmp) и разъемом 17 контроллера ЭСУД, перемещая связанные с ним разъемы и жгуты электропроводки.
Проблема найдена?
-
Перейти к операции 4
Перейти к операции 5
4
Повернуть ключ зажигания в положение блокировки.
Отремонтировать или заменить провод или разъем
Очистить все диагностические коды неисправности в контроллере ЭСУД.
Запустить двигатель
Провести проверку системы диагностики.
Закончен ли ремонт?
-
Система в норме
-
5
Повернуть ключ зажигания в положение блокировки.
Заменить датчик положения распределительного вала.
Очистить все диагностические коды неисправности в контроллере ЭСУД.
Запустить двигатель
Провести проверку системы диагностики.
dtc p0342 сброшен?
-
Система в норме
Перейти к операции 6
6
Заменить контроллер ЭСУД.
Запустить двигатель
Провести проверку системы диагностики.
Замена закончена?
-
Перейдите к Шагу 7
-
7
Используя сканирующий прибор, очистить диагностические коды неисправностей.
Запустить двигатель и дать ему поработать на холостом ходу при нормальной рабочей температуре.
Совершить поездку для установки кодов неисправности, как это указано во вспомогательном тексте.
Сканирующий прибор определяет эту диагностику как прошедшую и успешную?
-
Перейдите к Шагу 8
-
8
Проверьте, не установлены ли дополнительные диагностические коды неисправности.
Отображены ли диагностические коды неисправности, которые не были продиагностированы?
-
Перейти к соответствующей таблице диагностических кодов неисправности
Система в норме
ДИАГНОСТИЧЕСКИЙ КОД НЕИСПРАВНОСТИ (dtc) - p0351 НЕИСПРАВНОСТЬ КАТУШКИ ЗАЖИГАНИЯ А
Описание схемы
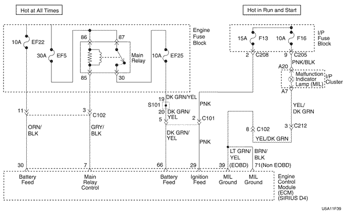
Контроллер электронной системы управления двигателем (ЭСУД) служит массой для электронной цепи 1 угла опережения зажигания. Когда контроллер ЭСУД размыкает "массу" первичной катушки зажигания, магнитное поле катушки исчезает. Исчезновение магнитного поля вызывает появление напряжения во вторичной катушке, которая выдает разряд на свече зажигания. Цепь между контроллером ЭСУД и электронной системой зажигания контролируется на отсутствие разрыва, короткого замыкания и низкого напряжения. Когда контроллер ЭСУД обнаруживает проблему в цепи 1 установки угла опережения зажигания, он задает диагностический код неисправности 0351.
Условия установки кода неисправности.
Цепь катушки зажигания А разомкнута, либо же имеется короткое замыкание с "массой" или аккумулятором.
Действия, выполняемые при установке кода неисправности
Контроллер записывает рабочие условия в момент определения неисправности. Эта информация сохраняется в буфере записей состояния и протоколах неисправностей.
Условия очистки кода неисправности/индикации неисправности
Контрольная лампа индикации неисправности отключается через четыре последовательных цикла зажигания, в которых диагностика не обнаружила неисправность.
Архив диагностических кодов неисправности очищается через 40 последовательных циклов нагрева без неисправностей.
Диагностический код неисправности может быть очищен сканирующим прибором.
Отключение питания контроллера ЭСУД более чем на 10 секунд.
УКАЗАНИЯ ПО ДИАГНОСТИКЕ
Перед использованием диагностической таблицы проверить и устранить любой необычный шум двигателя.
Любая цепь, подозреваемая на создание шума двигателя, должна быть тщательно проверена на следующие обстоятельства:
Снятые клеммы.
Соединение клемм.
Неисправность замков.
Деформированность.
Повреждения клемм.
Слабое соединение клемм с проводами.
Физическое повреждение жгутов проводов.
dtc p0351 - Неисправность катушки зажигания А
Шаг
Операция
Значения
Да
Нет
1
Провести проверку бортовой системы диагностики Евро (eobd).
Проверка системы завершена?
-
Перейти к операции 2
Перейти к "Проверка бортовой системы диагностики"
2
Проверить исправность соединения или целостность клеммы 1 на катушке зажигания.
Проблема найдена?
-
Перейдите к Шагу 8
Перейдите к Шагу 3
3
Проверить исправность соединения или целостность клеммы 31 на разъеме контроллера ЭСУД.
Проблема найдена?
-
Перейдите к Шагу 8
Перейти к операции 4
4
Повернуть ключ зажигания в положение блокировки.
Отсоединить контроллер ЭСУД.
Проверить отсутствие короткого замыкания с "массой" в цепи управления зажиганием
Проблема найдена?
-
Перейдите к Шагу 8
Перейти к операции 5
5
Проверить отсутствие напряжения короткого замыкания с аккумулятором в цепи управления зажиганием
Проблема найдена?
-
Перейдите к Шагу 8
Перейти к операции 6
6
Проверить отсутствие разрыва в цепи управления зажиганием
Проблема найдена?
-
Перейдите к Шагу 8
Перейдите к Шагу 7
7
Заменить контроллер ЭСУД.
Замена закончена?
-
Перейдите к Шагу 8
-
8
Используя сканирующий прибор, очистить диагностические коды неисправностей.
Запустить двигатель и дать ему поработать на холостом ходу при нормальной рабочей температуре.
Совершить поездку для установки кодов неисправности, как это указано во вспомогательном тексте.
Сканирующий прибор определяет эту диагностику как прошедшую и успешную?
-
Перейдите к Шагу 9
-
9
Проверьте, не установлены ли дополнительные диагностические коды неисправности.
Отображены ли диагностические коды неисправности, которые не были продиагностированы?
-
Перейти к соответствующей таблице диагностических кодов неисправности
Система в норме
ДИАГНОСТИЧЕСКИЙ КОД НЕИСПРАВНОСТИ (dtc) - p0352 НЕИСПРАВНОСТЬ КАТУШКИ ЗАЖИГАНИЯ В
Описание схемы
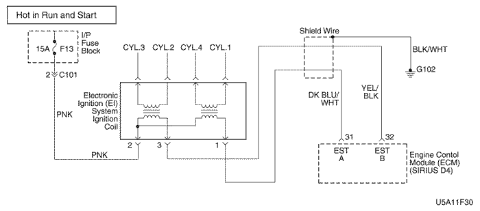
Контроллер электронной системы управления двигателем (ЭСУД) служит массой для электронной цепи 3 угла опережения зажигания. Когда контроллер ЭСУД размыкает "массу" первичной катушки зажигания, магнитное поле катушки исчезает. Исчезновение магнитного поля вызывает появление напряжения во вторичной катушке, которая выдает разряд на свече зажигания. Цепь между контроллером ЭСУД и электронной системой зажигания контролируется на отсутствие разрыва, короткого замыкания и низкого напряжения. Когда контроллер ЭСУД обнаруживает проблему в цепи 3 установки угла опережения зажигания, он задает диагностический код неисправности P0352.
Условия установки кода неисправности.
Цепь катушки зажигания В разомкнута, либо же имеется короткое замыкание с "массой" или аккумулятором.
Действия, выполняемые при установке кода неисправности
Контроллер записывает рабочие условия в момент определения неисправности. Эта информация сохраняется в буфере записей состояния и протоколах неисправностей.
Условия очистки кода неисправности/индикации неисправности
Контрольная лампа индикации неисправности отключается через четыре последовательных цикла зажигания, в которых диагностика не обнаружила неисправность.
Архив диагностических кодов неисправности очищается через 40 последовательных циклов нагрева без неисправностей.
При помощи сканирующего прибора можно обнулить диагностический код(ы) неисправности
Отключение питания контроллера ЭСУД на 10 секунд.
УКАЗАНИЯ ПО ДИАГНОСТИКЕ
Перед использованием диагностической таблицы проверить и устранить любой необычный шум двигателя.
Любая цепь, подозреваемая на создание шума двигателя, должна быть тщательно проверена на следующие обстоятельства:
Снятые клеммы.
Соединение клемм.
Неисправность замков.
Деформированность.
Повреждения клемм.
Слабое соединение клемм с проводами.
Физическое повреждение жгутов проводов.
dtc p0352 - Неисправность катушки зажигания В
Шаг
Операция
Значения
Да
Нет
1
Провести проверку бортовой системы диагностики Евро (eobd).
Проверка системы завершена?
-
Перейти к операции 2
Перейти к "Проверка бортовой системы диагностики"
2
Проверить исправность соединения или целостность клеммы 3 на катушке зажигания.
Проблема найдена?
-
Перейдите к Шагу 8
Перейдите к Шагу 3
3
Проверить исправность соединения или целостность клеммы 32 на разъеме контроллера ЭСУД.
Проблема найдена?
-
Перейдите к Шагу 8
Перейти к операции 4
4
Повернуть ключ зажигания в положение блокировки.
Отсоединить контроллер ЭСУД.
Проверить отсутствие короткого замыкания на массу в цепи управления зажиганием
Проблема найдена?
-
Перейдите к Шагу 8
Перейти к операции 5
5
Проверить отсутствие напряжения короткого замыкания с аккумулятором в цепи управления зажиганием
Проблема найдена?
-
Перейдите к Шагу 8
Перейти к операции 6
6
Проверить отсутствие разрыва в цепи управления зажиганием
Проблема найдена?
-
Перейдите к Шагу 8
Перейдите к Шагу 7
7
Заменить контроллер ЭСУД.
Замена закончена?
-
Перейдите к Шагу 8
-
8
Используя сканирующий прибор, очистить диагностические коды неисправностей.
Запустить двигатель и дать ему поработать на холостом ходу при нормальной рабочей температуре.
Совершить поездку для установки кодов неисправности, как это указано во вспомогательном тексте.
Сканирующий прибор определяет эту диагностику как прошедшую и успешную?
-
Перейдите к Шагу 9
-
9
Проверьте, не установлены ли дополнительные диагностические коды неисправности.
Отображены ли диагностические коды неисправности, которые не были продиагностированы?
-
Перейти к соответствующей таблице диагностических кодов неисправности
Система в норме
ДИАГНОСТИЧЕСКИЙ КОД НЕИСПРАВНОСТИ (dtc) - p1382 ДАТЧИК НЕРОВНОЙ ДОРОГИ (БЕЗ АБС), НЕВЕРНЫЙ СИГНАЛ
Описание схемы
Датчик неровной дороги используется для определения дорожной ситуации.
Определяя разность длительности вращения колес, вызываемой колдобинами или выбоинами, ЭСУД может определить, были ли изменения в скорости вращения коленчатого вала вызваны перебоем зажигания двигателя или же произошли по причине карданной передачи. Если датчик неровной дороги определяет состояние неровной дороги, то диагностика контроллера ЭСУД на перебой зажигания будет отключена.
Условия установки кода неисправности.
Скорость автомобиля выше 5 км/ч (3,1 мили/ч)
Ни одна из ошибок датчика неровной дороги не установлена.
Выходной сигнал датчика неровной дороги выше 0,26.
Выходной сигнал датчика неровной дороги не изменяется в течение 30 секунд.
Действия, выполняемые при установке кода неисправности
Контрольная лампа индикации неисправности не загорается.
Контроллер ЭСУД сохраняет условия, имевшие место в момент установки диагностических кодов неисправности, только как протокол неисправностей.
Эта информация не сохраняется в буфере записей состояния.
Условия очистки кода неисправности/индикации неисправности
Архив диагностических кодов неисправности очищается через 40 последовательных циклов нагрева без неисправностей.
Диагностический код неисправности может быть очищен сканирующим прибором.
Отключение питания контроллера ЭСУД более чем на 10 секунд.
dtc p1382 Датчик неровной дороги (без АБС), неверный сигнал
Шаг
Операция
Значения
Да
Нет
1
Провести проверку бортовой системы диагностики Евро (eobd).
Проверка проведена?
-
Перейти к операции 2
Перейти к "Проверка бортовой системы диагностики"
2
Включить зажигание, двигатель не запускать.
Подключить сканирующий прибор к колодке диагностики.
Просмотреть и записать информацию протокола неисправностей инструмента сканирования.
Совершить поездку в условиях протокола неисправностей, как указано.
Используя сканирующий прибор, отследить конкретную информацию по диагностическому коду неисправности Р1382.
Определяет ли сканирующий прибор, что диагностический код неисправности Р1382 не прошел?
-
Перейти к операции 4
Перейдите к Шагу 3
3
Проверить отсутствие следующих условий и устранить при необходимости:
Уплотнение датчика неровной дороги повреждено или отсутствует.
На фланцах установки датчика неровной дороги имеются трещины, они отсутствуют или неправильно установлены.
Отсоединить электроразъем датчика неровной дороги.
Включить зажигание, двигатель не запускать.
Проконтролировать значение датчика неровной дороги по сканирующему прибору?
Находится значение датчика в пределах установленного значения?
0 В
Перейти к операции 5
Перейдите к Шагу 12
5
Перемкнуть накоротко клемму 1 цепи опорного напряжения 5 В и клемму 2 сигнальной цепи датчика неровной дороги vr на разъеме жгута датчика неровной дороги vr.
Проконтролировать значение датчика неровной дороги по сканирующему прибору?
Находится значение датчика в пределах установленного значения?
4,95 В
Перейти к операции 6
Перейдите к Шагу 7
6
Выключите зажигание.
Отсоединить контроллер ЭСУД и проверить цепь "массы" датчика на наличие высокого сопротивления, разрыва между контроллером ЭСУД и датчиком неровной дороги, а также отсутствие слабого контакта клеммы 53 и контроллера ЭСУД и устранить неисправность при необходимости.
Закончен ли ремонт?
-
Перейдите к Шагу 14
Перейдите к Шагу 10
7
Проверить цепь опорного сигнала 5 В на высокое сопротивление, размыкание между контроллером ЭСУД и датчиком неровной дороги и наличие слабого контакта на клемме 84 контроллера ЭСУД, и устранить неисправность при необходимости.
Закончен ли ремонт?
-
Перейдите к Шагу 14
Перейдите к Шагу 8
8
Выключите зажигание.
Отсоединить контроллер ЭСУД и проверить сигнальную цепь датчика неровной дороги на высокое сопротивление, размыкание, низкое напряжение или короткое замыкание с цепью "массы" датчика, и устранить неисправность при необходимости.
Закончен ли ремонт?
-
Перейдите к Шагу 14
Перейдите к Шагу 9
9
Проверить сигнальную цепь датчика на отсутствие слабого контакта на контроллер ЭСУД и устранить неисправность при необходимости.
Закончен ли ремонт?
-
Перейдите к Шагу 14
Перейдите к Шагу 13
10
Проверить надежность соединения на клемме 2 датчика неровной дороги и устранить неисправность при необходимости.
Закончен ли ремонт?
-
Перейдите к Шагу 14
Перейдите к Шагу 11
11
Заменить датчик неровной дороги.
Закончен ли ремонт?
-
Перейдите к Шагу 14
-
12
Выключите зажигание.
Отсоединить контроллер ЭСУД.
Включите зажигание.
Проверить сигнальную цепь датчика на отсутствие короткого замыкания с аккумулятором или цепью опорного сигнала 5 В, и устранить при необходимости.
Закончен ли ремонт?
-
Перейдите к Шагу 14
Перейдите к Шагу 13
13
Выключите зажигание.
Заменить контроллер ЭСУД.
Закончен ли ремонт?
-
Перейдите к Шагу 14
-
14
Используя сканирующий прибор, очистить диагностические коды неисправностей.
Запустить двигатель и дать ему поработать на холостом ходу при нормальной рабочей температуре.
Совершить поездку для установки кодов неисправности, как это указано во вспомогательном тексте.
Сканирующий прибор определяет эту диагностику как прошедшую и успешную?
-
Перейдите к шагу 15
Перейти к операции 2
15
Проверьте, не установлены ли дополнительные диагностические коды неисправности.
Отображены ли диагностические коды неисправности, которые не были продиагностированы?
-
Перейти к соответствующей таблице диагностических кодов неисправности
Система в норме
ДИАГНОСТИЧЕСКИЙ КОД НЕИСПРАВНОСТИ (dtc) - p1382 ДАТЧИК НЕРОВНОЙ ДОРОГИ (АБС), НЕВЕРНЫЙ СИГНАЛ
Описание схемы
Датчик вращения колеса используется для определения дорожной ситуации.
При вращении колеса, датчик вращения колеса генерирует переменное напряжение, которое возрастает по мере увеличения скорости вращения колеса. Электронный блок управления использует частоту сигнала для вычисления скорости вращения колеса. Датчик вращения колеса подключен к электронному блоку управления витой парой проводов. Скручивание уменьшает чувствительность к помехам, которые могут вызвать установку кода неисправности. Если датчик вращения колеса определяет состояние неровной дороги, то диагностика контроллера ЭСУД на перебой зажигания будет отключена.
Условия установки кода неисправности.
Скорость автомобиля выше 5 км/ч (3,1 мили/ч)
Ни одна из ошибок датчика неровной дороги не установлена.
Выходной сигнал датчика неровной дороги выше 0,26.
Выходной сигнал датчика неровной дороги не изменяется в течение 30 секунд.
Действия, выполняемые при установке кода неисправности
Контрольная лампа индикации неисправности не загорается.
Контроллер ЭСУД сохраняет условия, имевшие место в момент установки диагностических кодов неисправности, только как протокол неисправностей.
Эта информация не сохраняется в буфере записей состояния.
Условия очистки кода неисправности/индикации неисправности
Архив диагностических кодов неисправности очищается через 40 последовательных циклов нагрева без неисправностей.
Диагностический код неисправности может быть очищен сканирующим прибором.
Отключение питания контроллера ЭСУД более чем на 10 секунд.
dtc p1382 Датчик неровной дороги (с АБС), неверный сигнал
Шаг
Операция
Значения
Да
Нет
1
Провести проверку бортовой системы диагностики Евро (eobd).
Проверка проведена?
-
Перейти к операции 2
Перейти к "Проверка бортовой системы диагностики"
2
Включить зажигание, двигатель не запускать.
Подключить сканирующий прибор к колодке диагностики.
Просмотреть и записать информацию протокола неисправностей инструмента сканирования.
Совершить поездку в условиях протокола неисправностей, как указано.
Используя сканирующий прибор, отследить конкретную информацию по диагностическому коду неисправности Р1382.
Определяет ли сканирующий прибор, что диагностический код неисправности Р1382 не прошел?
-
Перейти к операции 4
Перейдите к Шагу 3
3
Проверить отсутствие следующих условий и устранить при необходимости:
Уплотнение датчика скорости вращения колеса повреждено или отсутствует.
На фланцах установки датчика скорости вращения колеса имеются трещины, они отсутствуют или неправильно установлены.
Отсоединить дефектный электроразъем датчика скорости вращения колеса.
Включить зажигание, двигатель не запускать.
Проконтролировать значение датчика скорости вращения колеса по сканирующему прибору.
Находится значение датчика в пределах установленного значения?
0 В
Перейти к операции 5
Перейдите к Шагу 12
5
Закоротить цепь опорного сигнала 5 В и сигнальную цепь датчика скорости вращения колеса между собой в месте отказавшего разъема жгута датчика скорости вращения колеса.
Проконтролировать значение неисправного датчика скорости вращения колеса по сканирующему прибору.
Находится значение датчика в пределах установленного значения?
4,95 В
Перейти к операции 6
Перейдите к Шагу 7
6
Выключите зажигание.
Отсоединить контроллер ЭСУД и проверить цепь "массы" датчика на отсутствие высокого напряжения, размыкания между контроллером ЭСУД и датчиком скорости вращения колеса, или же отсутствие слабого контакта контроллера ЭСУД и устранить неисправность при необходимости.
Закончен ли ремонт?
-
Перейдите к Шагу 14
Перейдите к Шагу 10
7
Проверить цепь опорного сигнала 5 В на отсутствие высокого сопротивления, разрыва между контроллером ЭСУД и датчиком вращения колеса или на отсутствие плохого подключения контроллера ЭСУД и устранить неисправность при необходимости.
Закончен ли ремонт?
-
Перейдите к Шагу 14
Перейдите к Шагу 8
8
Выключите зажигание.
Отсоединить контроллер ЭСУД и проверить сигнальную цепь датчика вращения колеса на высокое сопротивление, разрыв, низкое напряжение или короткое замыкание с цепью "массы" датчика, и устранить неисправность при необходимости.
Закончен ли ремонт?
-
Перейдите к Шагу 14
Перейдите к Шагу 9
9
Проверить сигнальную цепь датчика вращения колеса на отсутствие слабого контакта с контроллером ЭСУД и устранить неисправность при необходимости.
Закончен ли ремонт?
-
Перейдите к Шагу 14
Перейдите к Шагу 13
10
Проверить надежность соединения на клемме датчика вращения колеса и при необходимости устранить неисправность.
Закончен ли ремонт?
-
Перейдите к Шагу 14
Перейдите к Шагу 11
11
Заменить датчик вращения колеса.
Закончен ли ремонт?
-
Перейдите к Шагу 14
-
12
Выключите зажигание.
Отсоединить контроллер ЭСУД.
Включите зажигание.
Проверить сигнальную цепь датчика вращения колеса на отсутствие напряжения короткого замыкания, короткого замыкания с цепью опорного сигнала 5 В.
Закончен ли ремонт?
-
Перейдите к Шагу 14
Перейдите к Шагу 13
13
Выключите зажигание.
Заменить контроллер ЭСУД.
Закончен ли ремонт?
-
Перейдите к Шагу 14
-
14
Используя сканирующий прибор, очистить диагностические коды неисправностей.
Запустить двигатель и дать ему поработать на холостом ходу при нормальной рабочей температуре.
Совершить поездку для установки кодов неисправности, как это указано во вспомогательном тексте.
Сканирующий прибор определяет эту диагностику как прошедшую и успешную?
-
Перейдите к шагу 15
Перейти к операции 2
15
Проверьте, не установлены ли дополнительные диагностические коды неисправности.
Отображены ли диагностические коды неисправности, которые не были продиагностированы?
-
Перейти к соответствующей таблице диагностических кодов неисправности
Система в норме
ДИАГНОСТИЧЕСКИЙ КОД НЕИСПРАВНОСТИ (dtc) - p1385 НЕИСПРАВНОСТЬ ЦЕПИ ДАТЧИКА НЕРОВНОЙ ДОРОГИ (БЕЗ АБС)
Описание схемы
Датчик неровной дороги используется для определения дорожной ситуации.
Определяя разность длительности вращения колес, вызываемой колдобинами или выбоинами, ЭСУД может определить, были ли изменения в скорости вращения коленчатого вала вызваны перебоем зажигания двигателя или же произошли по причине карданной передачи. Если датчик неровной дороги определяет состояние неровной дороги, то диагностика контроллера ЭСУД на перебой зажигания будет отключена.
Условия установки кода неисправности.
Напряжение датчика неровной дороги больше 0,06 В.
или
Минимальное значение датчика неровной дороги менее 1,5В.
или
Максимальное значение датчика неровной дороги более 2,2 В.
Действия, выполняемые при установке кода неисправности
Контрольная лампа индикации неисправности не загорается.
Контроллер ЭСУД сохраняет условия, имевшие место в момент установки диагностических кодов неисправности, только как протокол неисправностей.
Эта информация не сохраняется в буфере записей состояния.
Условия очистки кода неисправности/индикации неисправности
Архив диагностических кодов неисправности очищается через 40 последовательных циклов нагрева без неисправностей.
Диагностический код неисправности может быть очищен сканирующим прибором.
Отключение питания контроллера ЭСУД более чем на 10 секунд.
dtc p1385 Неисправность цепи датчика неровной дороги (без АБС)
Шаг
Операция
Значения
Да
Нет
1
Провести проверку бортовой системы диагностики Евро (eobd).
Проверка проведена?
-
Перейти к операции 2
Перейти к "Проверка бортовой системы диагностики"
2
Включить зажигание, двигатель не запускать.
Подключить сканирующий прибор к колодке диагностики.
Просмотреть и записать информацию протокола неисправностей инструмента сканирования.
Совершить поездку в условиях протокола неисправностей, как указано.
Используя сканирующий прибор, отследить конкретную информацию по диагностическому коду неисправности Р1385.
Определяет ли сканирующий прибор, что диагностический код неисправности Р1385 не прошел?
-
Перейти к операции 4
Перейдите к Шагу 3
3
Проверить отсутствие следующих условий и устранить при необходимости:
Уплотнение датчика неровной дороги повреждено или отсутствует.
На фланцах установки датчика неровной дороги имеются трещины, они отсутствуют или неправильно установлены.
Отсоединить электроразъем датчика неровной дороги.
Включить зажигание, двигатель не запускать.
Проконтролировать значение датчика неровной дороги по сканирующему прибору?
Находится значение датчика в пределах установленного значения?
0 В
Перейти к операции 5
Перейдите к Шагу 12
5
Перемкнуть накоротко клемму 1 цепи опорного напряжения 5 В и клемму 2 сигнальной цепи датчика неровной дороги vr на разъеме жгута датчика неровной дороги vr.
Проконтролировать значение датчика неровной дороги по сканирующему прибору?
Находится значение датчика в пределах установленного значения?
4,95 В
Перейти к операции 6
Перейдите к Шагу 7
6
Выключите зажигание.
Отсоединить контроллер ЭСУД и проверить цепь "массы" датчика на наличие высокого сопротивления, разрыва между контроллером ЭСУД и датчиком неровной дороги, а также отсутствие слабого контакта клеммы 53 и контроллера ЭСУД и устранить неисправность при необходимости.
Закончен ли ремонт?
-
Перейдите к Шагу 14
Перейдите к Шагу 10
7
Проверить цепь опорного сигнала 5 В на высокое сопротивление, размыкание между контроллером ЭСУД и датчиком неровной дороги и наличие слабого контакта на клемме 84 контроллера ЭСУД, и устранить неисправность при необходимости.
Закончен ли ремонт?
-
Перейдите к Шагу 14
Перейдите к Шагу 8
8
Выключите зажигание.
Отсоединить контроллер ЭСУД и проверить сигнальную цепь датчика неровной дороги на высокое сопротивление, размыкание, низкое напряжение или короткое замыкание с цепью "массы" датчика, и устранить неисправность при необходимости.
Закончен ли ремонт?
-
Перейдите к Шагу 14
Перейдите к Шагу 9
9
Проверить сигнальную цепь датчика на отсутствие слабого контакта на контроллер ЭСУД и устранить неисправность при необходимости.
Закончен ли ремонт?
-
Перейдите к Шагу 14
Перейдите к Шагу 13
10
Проверить надежность соединения на клемме 2 датчика неровной дороги и устранить неисправность при необходимости.
Закончен ли ремонт?
-
Перейдите к Шагу 14
Перейдите к Шагу 11
11
Заменить датчик неровной дороги.
Закончен ли ремонт?
-
Перейдите к Шагу 14
-
12
Выключите зажигание.
Отсоединить контроллер ЭСУД.
Включите зажигание.
Проверить сигнальную цепь датчика на отсутствие короткого замыкания с аккумулятором или цепью опорного сигнала 5 В, и устранить при необходимости.
Закончен ли ремонт?
-
Перейдите к Шагу 14
Перейдите к Шагу 13
13
Выключите зажигание.
Заменить контроллер ЭСУД.
Закончен ли ремонт?
-
Перейдите к Шагу 14
-
14
Используя сканирующий прибор, очистить диагностические коды неисправностей.
Запустить двигатель и дать ему поработать на холостом ходу при нормальной рабочей температуре.
Совершить поездку для установки кодов неисправности, как это указано во вспомогательном тексте.
Сканирующий прибор определяет эту диагностику как прошедшую и успешную?
-
Перейдите к шагу 15
Перейти к операции 2
15
Проверьте, не установлены ли дополнительные диагностические коды неисправности.
Отображены ли диагностические коды неисправности, которые не были продиагностированы?
-
Перейти к соответствующей таблице диагностических кодов неисправности
Система в норме
ДИАГНОСТИЧЕСКИЙ КОД НЕИСПРАВНОСТИ (dtc) - p1385 НЕИСПРАВНОСТЬ ЦЕПИ ДАТЧИКА НЕРОВНОЙ ДОРОГИ (АБС)
Описание схемы
Датчик вращения колеса используется для определения дорожной ситуации.
При вращении колеса, датчик вращения колеса генерирует переменное напряжение, которое возрастает по мере увеличения скорости вращения колеса. Электронный блок управления использует частоту сигнала для вычисления скорости вращения колеса. Датчик вращения колеса подключен к электронному блоку управления витой парой проводов. Скручивание уменьшает чувствительность к помехам, которые могут вызвать установку кода неисправности. Если датчик вращения колеса определяет состояние неровной дороги, то диагностика контроллера ЭСУД на пропуск зажигания будет отключена.
Условия установки кода неисправности.
Напряжение датчика скорости автомобиля больше 0,06 В.
или
Минимальное значение датчика скорости автомобиля менее 1,5 В.
или
Максимальное значение датчика неровной дороги более 2,2 В.
Действия, выполняемые при установке кода неисправности
Контрольная лампа индикации неисправности не загорается.
Контроллер ЭСУД сохраняет условия, имевшие место в момент установки диагностических кодов неисправности, только как протокол неисправностей.
Эта информация не сохраняется в буфере записей состояния.
Условия очистки кода неисправности/индикации неисправности
Архив диагностических кодов неисправности очищается через 40 последовательных циклов нагрева без неисправностей.
Диагностический код неисправности может быть очищен сканирующим прибором.
Отключение питания контроллера ЭСУД более чем на 10 секунд.
dtc p1385 - Неисправность цепи датчика неровной дороги (АБС)
Шаг
Операция
Значения
Да
Нет
1
Провести проверку бортовой системы диагностики Евро (eobd).
Проверка проведена?
-
Перейти к операции 2
Перейти к "Проверка бортовой системы диагностики"
2
Включить зажигание, двигатель не запускать.
Подключить сканирующий прибор к колодке диагностики.
Просмотреть и записать информацию протокола неисправностей инструмента сканирования.
Совершить поездку в условиях протокола неисправностей, как указано.
Используя сканирующий прибор, отследить конкретную информацию по диагностическому коду неисправности Р1385.
Определяет ли сканирующий прибор, что диагностический код неисправности Р1385 не прошел?
-
Перейти к операции 5
Перейдите к Шагу 3
3
Проверить отсутствие плохих или неверных соединений между контроллером ЭСУД и электронным модулем управления тормозной системой (ebcm).
Отсоединить разъем контроллера ЭСУД и разъем модуля ebcm.
Проверить отсутствие обрыва или короткого замыкания на массу или на напряжение аккумуляторной батареи в проводе между клеммой 53 разъема контроллера ЭСУД и клеммой 25 разъема ebcm.
Используя сканирующий прибор, очистить диагностические коды неисправностей.
Запустить двигатель и дать ему поработать на холостом ходу при нормальной рабочей температуре.
Совершить поездку для установки кодов неисправности, как это указано во вспомогательном тексте.
Сканирующий прибор определяет эту диагностику как прошедшую и успешную?
-
Перейдите к Шагу 9
Перейти к операции 2
9
Проверьте, не установлены ли дополнительные диагностические коды неисправности.
Отображены ли диагностические коды неисправности, которые не были продиагностированы?
-
Перейти к соответствующей таблице диагностических кодов неисправности
Система в норме
ДИАГНОСТИЧЕСКИЙ КОД НЕИСПРАВНОСТИ (dtc) - p0400 РЕЦИРКУЛЯЦИЯ ОТРАБОТАВШИХ ГАЗОВ, ВЫХОД ЗА ПРЕДЕЛЫ РЕГУЛИРОВАНИЯ
Описание схемы
Система рециркуляции отработавших газов используется для снижения уровня выброса оксидов азота (NOx), причиной которого являются высокая температура сгорания. Она осуществляет это путем подачи небольшого количества отработавших газов обратно в камеру сгорания. При соединении воздушно-топливной смеси с отработавшими газами, температура сгорания понижается.
В данной системе используется линейный клапан системы рециркуляции отработавших газов. Линейный клапан предназначен для точной подачи отработавших газов в двигатель без использования впускного коллектора. Клапан регулирует поток выхлопных газов, идущих на впускной коллектор из выпускного коллектора через дроссель, при помощи иглы, управляемой контроллером ЭСУД. ЭСУД управляет положением иглы, используя входы датчика положения дросселя и датчик абсолютного давления во впускном коллекторе. Затем ЭСУД выдает команду на срабатывание при необходимости клапана системы рециркуляции отработанных газов путем управления сигналом зажигания через контроллер ЭСУД. Это можно контролировать на сканирующем приборе как желаемое положение системы рециркуляции отработавших газов.
ЭСУД контролирует результат выполнения своей команды по ответному сигналу. При опорном сигнале 5 В и замыкании "массы" на клапане рециркуляции отработавших газов, сигнал, представляющий положение иглы клапана рециркуляции отработавших газов, выдается в ЭСУД. Данный сигнал обратной связи также контролируется на сканирующем приборе и отображает действительное положение иглы клапана рециркуляции отработавших газов. Действительное положение клапана рециркуляции отработавших газов всегда должно быть в пределах задаваемого или желаемого положения.
Диагностический код неисправности определит разрыв цепи или короткое замыкание.
Условия установки кода неисправности.
Автомобиль частично нагружен
Система управления двигателем находится в закрытом контуре.
Температура охлаждающей жидкости двигателя (ЕСТ) выше 60°С (140°f).
Температура воздуха на впуске выше 15°С (59°f)
Абсолютное давление в коллекторе выше 75кПа
Рециркуляция отработавших газов выше 10%
Массовый расход воздуха в пределах 71~174мг/вмт.
Число оборотов двигателя в пределах 1 950~2 600 мин-1
Действия, выполняемые при установке кода неисправности
Контрольная лампа индикации неисправности загорается после трех последовательных поездок с неисправностью.
Контроллер записывает рабочие условия в момент определения неисправности. Эта информация сохраняется в буфере записей состояния и протоколах неисправностей.
Условия очистки кода неисправности/индикации неисправности
Контрольная лампа индикации неисправности отключается через четыре последовательных цикла зажигания, в которых диагностика не обнаружила неисправность.
Архив диагностических кодов неисправности очищается через 40 последовательных циклов нагрева без неисправностей.
Диагностический код неисправности может быть очищен сканирующим прибором.
Отключение питания контроллера ЭСУД более чем на 10 секунд.
dtc p0400 Рециркуляция отработавших газов, выход за пределы регулирования
Шаг
Операция
Значения
Да
Нет
1
Провести проверку бортовой системы диагностики Евро (eobd).
Проверка системы завершена?
-
Перейти к операции 2
Перейти к "Проверка бортовой системы диагностики"
2
Включить зажигание, двигатель не запускать.
Подключите диагностический прибор.
Дать команду на перемещение клапана рециркуляции отработавших газов на указанные значения.
Соответствует ли действительное положение клапана рециркуляции желаемому положению клапана?
25%, 50%, 75%, 100%
Перейдите к Шагу 19
Перейдите к Шагу 3
3
Включить зажигание.
Отсоединить электрический разъём клапана системы рециркуляции газов.
Проверить цепь "массы" клапана рециркуляции при помощи контрольной лампы, подключенной к + аккумулятора.
Контрольная лампа горит?
-
Перейти к операции 4
Перейти к операции 5
4
Подключить контрольную лампу к "массе"
Проверить цепь управления системы рециркуляции от клеммы 3 до клапана рециркуляции.
Используя сканирующий прибор, дать команду клапану рециркуляции на перемещение на указанные значения
После того, как команда была задана, горит ли контрольная лампа ярче, мигает или продолжает гореть ровным светом?
25%, 50%, 75%, 100%
Перейти к операции 6
Перейдите к Шагу 7
5
Устранить разрыв или слабый контакт в цепи "массы" системы рециркуляции
Закончен ли ремонт?
-
Перейдите к Шагу 19
-
6
Проверить сигнальную цепь на клемме 3 с помощью контрольной лампы, подключенной к "массе".
Контрольная лампа горит?
-
Перейдите к Шагу 8
Перейдите к Шагу 9
7
При помощи контрольной лампы, подключенной к "массе" снова проверить сигнальную цепь без команды клапану рециркуляции.
Контрольная лампа горит?
-
Перейдите к Шагу 10
Перейдите к Шагу 11
8
Проверить сигнальную цепь на отсутствие напряжения короткого замыкания и устранить неисправность при необходимости.
Ремонт необходим?
-
Перейдите к Шагу 19
Перейдите к Шагу 12
9
С помощью цифрового вольтметра, подключенного к "массе", проверить цепь опорного сигнала 5 В на клемме 1.
Уровень замеренного напряжения близок к установленному значению?
5 В
Перейдите к Шагу 13
Перейдите к Шагу 14
10
Проверить цепь управления на отсутствие короткого замыкания с аккумулятором и устранить при необходимости.
Ремонт необходим?
-
Перейдите к Шагу 19
Перейдите к Шагу 12
11
Подключить контрольную лампу к + аккумулятора и снова проверить цепь управления на клемме 4.
Контрольная лампа горит?
-
Перейдите к шагу 15
Перейдите к шагу 16
12
Заменить контроллер ЭСУД.
Замена закончена?
-
Перейдите к Шагу 19
-
13
Проверить цепь "массы" системы рециркуляции на отсутствие слабого контакта или несоответствующего напряжения клеммы на контроллере ЭСУД. Устранить неисправность при необходимости.
Ремонт необходим?
-
Перейдите к Шагу 19
Перейдите к шагу 17
14
Проверить отсутствие короткого замыкания с напряжением аккумуляторной батареи в цепи опорного напряжения 5 В, при необходимости устранить неисправность.
Ремонт необходим?
-
Перейдите к Шагу 19
Перейдите к Шагу 12
15
Проверить цепь управления на отсутствие короткого замыкания с "массой" и устранить при необходимости.
Ремонт необходим?
-
Перейдите к Шагу 19
Перейдите к Шагу 12
16
Проверить цепь управления системы рециркуляции на отсутствие разрыва и слабого контакта на электрическом разъеме клапана системы рециркуляции и устранить неисправность при необходимости.
Ремонт необходим?
-
Перейдите к Шагу 19
Перейдите к Шагу 18
17
Заменить клапан egr.
Замена закончена?
-
Перейдите к Шагу 19
-
18
Проверить разъём ЭСУД на отсутствие слабого контакта и устранить неисправность при необходимости.
Ремонт необходим?
-
Перейдите к Шагу 19
Перейдите к Шагу 12
19
Используя сканирующий прибор, очистить диагностические коды неисправностей.
Запустить двигатель и дать ему поработать на холостом ходу при нормальной рабочей температуре.
Совершить поездку для установки кодов неисправности, как это указано во вспомогательном тексте.
Сканирующий прибор определяет эту диагностику как прошедшую и успешную?
-
Перейдите к Шагу 20
Перейти к операции 2
20
Проверьте, не установлены ли дополнительные диагностические коды неисправности.
Отображены ли диагностические коды неисправности, которые не были продиагностированы?
-
Перейти к соответствующей таблице диагностических кодов неисправности
Система рециркуляции отработавших газов используется для снижения уровня выброса оксидов азота (NOx), причиной которого являются высокая температура сгорания. Она осуществляет это путем подачи небольшого количества отработавших газов обратно в камеру сгорания. При соединении воздушно-топливной смеси с отработавшими газами, температура сгорания понижается.
В данной системе используется линейный клапан системы рециркуляции отработавших газов. Линейный клапан предназначен для точной подачи отработавших газов в двигатель без использования впускного коллектора. Клапан регулирует поток выхлопных газов, идущих на впускной коллектор из выпускного коллектора через дроссель, при помощи иглы, управляемой контроллером ЭСУД. ЭСУД управляет положением иглы, используя входы датчика положения дросселя и датчик абсолютного давления во впускном коллекторе. Затем ЭСУД выдает команду на срабатывание при необходимости клапана системы рециркуляции отработанных газов путем управления сигналом зажигания через контроллер ЭСУД. Это можно контролировать на сканирующем приборе как желаемое положение системы рециркуляции отработавших газов.
ЭСУД контролирует результат выполнения своей команды по ответному сигналу. При опорном сигнале 5 В и замыкании "массы" на клапане рециркуляции отработавших газов, сигнал, представляющий положение иглы клапана рециркуляции отработавших газов, выдается в ЭСУД. Данный сигнал обратной связи также контролируется на сканирующем приборе и отображает действительное положение иглы клапана рециркуляции отработавших газов. Действительное положение клапана рециркуляции отработавших газов всегда должно быть в пределах задаваемого или желаемого положения.
Диагностический код неисправности определит разрыв цепи или короткое замыкание.
Условия установки кода неисправности.
Автомобиль частично нагружен
Система управления двигателем находится в закрытом контуре.
Температура охлаждающей жидкости двигателя более 60°c(140°f).
Температура воздуха на впуске выше 15°c (59°f).
Абсолютное давление в коллекторе выше 75кПа
Рециркуляция отработавших газов выше 10%.
Массовый расход воздуха в пределах 71~174мг/вмт.
Число оборотов двигателя в пределах 1 950~2 600 мин-1
Действия, выполняемые при установке кода неисправности
Контрольная лампа индикации неисправности загорается после трех последовательных поездок с неисправностью.
Контроллер записывает рабочие условия в момент определения неисправности. Эта информация сохраняется в буфере записей состояния и протоколах неисправностей.
Условия очистки кода неисправности/индикации неисправности
Контрольная лампа индикации неисправности отключается через четыре последовательных цикла зажигания, в которых диагностика не обнаружила неисправность.
Архив диагностических кодов неисправности очищается через 40 последовательных циклов нагрева без неисправностей.
Диагностический код неисправности может быть очищен сканирующим прибором.
Отключение питания контроллера ЭСУД более чем на 10 секунд.
Указания по диагностике
Вследствие влаги, присущей системам выхлопа, клапан рециркуляции может замерзать при холодной погоде. После постановки автомобиля в теплое помещение для ремонта, клапан отогревается и проблема исчезает.
Неисправность может быть легко подтверждена путем наблюдения за действительным и желаемым положением клапана рециркуляции на холодном автомобиле с помощью сканирующего прибора. Проверьте информацию буфера записи состояний (температуру охлаждающей жидкости двигателя) для того, чтобы определить, выставился ли код неисправности, когда автомобиль находился в холодном состоянии.
Система рециркуляции отработавших газов используется для снижения уровня выброса оксидов азота (NOx), причиной которого являются высокая температура сгорания. Она осуществляет это путем подачи небольшого количества отработавших газов обратно в камеру сгорания. При соединении воздушно-топливной смеси с отработавшими газами, температура сгорания понижается.
В данной системе используется линейный клапан системы рециркуляции отработавших газов. Линейный клапан предназначен для точной подачи отработавших газов в двигатель без использования впускного коллектора. Клапан регулирует поток выхлопных газов, идущих на впускной коллектор из выпускного коллектора через дроссель, при помощи иглы, управляемой контроллером ЭСУД. ЭСУД управляет положением иглы, используя входы датчика положения дросселя и датчик абсолютного давления во впускном коллекторе. Затем ЭСУД выдает команду на срабатывание при необходимости клапана системы рециркуляции отработанных газов путем управления сигналом зажигания через контроллер ЭСУД. Это можно контролировать на сканирующем приборе как желаемое положение системы рециркуляции отработавших газов.
ЭСУД контролирует результат выполнения своей команды по ответному сигналу. При опорном сигнале 5 В и замыкании "массы" на клапане рециркуляции отработавших газов, сигнал, представляющий положение иглы клапана рециркуляции отработавших газов, выдается в ЭСУД. Данный сигнал обратной связи также контролируется на сканирующем приборе и отображает действительное положение иглы клапана рециркуляции отработавших газов. Действительное положение клапана рециркуляции отработавших газов всегда должно быть в пределах задаваемого или желаемого положения.
Диагностический код неисправности определит разрыв цепи или короткое замыкание.
Условия установки кода неисправности.
Автомобиль частично нагружен
Система управления двигателем находится в закрытом контуре.
Температура охлаждающей жидкости двигателя более 60°c(140°f).
Температура воздуха на впуске выше 15°c (59°f).
Абсолютное давление в коллекторе выше 75кПа
Значение разомкнутого клапана рециркуляции выше 10%.
Массовый расход воздуха в пределах 71~174мг/вмт.
Число оборотов двигателя в пределах 1 950~2 600 мин-1
Напряжение потенциометра системы рециркуляции менее 0,4 В
Напряжение потенциометра системы рециркуляции выше 1,75 В или интегральное условие контроллера системы рециркуляции отработавших выхлопных газов заблокировано на высоком или низком пределе.
Действия, выполняемые при установке кода неисправности
Контрольная лампа индикации неисправности загорается после трех последовательных поездок с неисправностью.
Контроллер записывает рабочие условия в момент определения неисправности. Эта информация сохраняется в буфере записей состояния и протоколах неисправностей.
Условия очистки кода неисправности/индикации неисправности
Контрольная лампа индикации неисправности отключается через четыре последовательных цикла зажигания, в которых диагностика не обнаружила неисправность.
Архив диагностических кодов неисправности очищается через 40 последовательных циклов нагрева без неисправностей.
Диагностический код неисправности может быть очищен сканирующим прибором.
Отключение питания контроллера ЭСУД более чем на 10 секунд.
Указания по диагностике
Вследствие влаги, присущей системам выхлопа, клапан рециркуляции может замерзать при холодной погоде. После постановки автомобиля в теплое помещение для ремонта, клапан отогревается и проблема исчезает.
Неисправность может быть легко подтверждена путем наблюдения за действительным и желаемым положением клапана рециркуляции на холодном автомобиле с помощью сканирующего прибора. Проверьте информацию буфера записи состояний (температуру охлаждающей жидкости двигателя) для того, чтобы определить, выставился ли код неисправности, когда автомобиль находился в холодном состоянии.
Провести проверку бортовой системы диагностики Евро (eobd).
Проверка системы завершена?
-
Перейти к операции 2
Перейти к "Проверка бортовой системы диагностики"
2
Включить зажигание, двигатель не запускать.
Подключите диагностический прибор.
Дать команду на перемещение клапана рециркуляции отработавших газов на указанные значения.
Соответствует ли действительное положение клапана рециркуляции желаемому положению клапана?
25%, 50%, 75%, 100%
Перейдите к Шагу 19
Перейдите к Шагу 3
3
Включить зажигание.
Отсоединить электрический разъём клапана системы рециркуляции газов.
Проверить цепь "массы" клапана рециркуляции при помощи контрольной лампы, подключенной к + аккумулятора.
Контрольная лампа горит?
-
Перейти к операции 4
Перейти к операции 5
4
Подключить контрольную лампу к "массе"
Проверить цепь управления системы рециркуляции от клеммы 3 до клапана рециркуляции.
Используя сканирующий прибор, дать команду клапану рециркуляции на перемещение на указанные значения
После того, как команда была задана, горит ли контрольная лампа ярче, мигает или продолжает гореть ровным светом?
25%, 50%, 75%, 100%
Перейти к операции 6
Перейдите к Шагу 7
5
Устранить разрыв или слабый контакт в цепи "массы" системы рециркуляции
Закончен ли ремонт?
-
Перейдите к Шагу 19
-
6
Проверить сигнальную цепь на клемме 3 с помощью контрольной лампы, подключенной к "массе".
Контрольная лампа горит?
-
Перейдите к Шагу 8
Перейдите к Шагу 9
7
При помощи контрольной лампы, подключенной к "массе" снова проверить сигнальную цепь без команды клапану рециркуляции.
Контрольная лампа горит?
-
Перейдите к Шагу 10
Перейдите к Шагу 11
8
Проверить сигнальную цепь на отсутствие напряжения короткого замыкания и устранить неисправность при необходимости.
Ремонт необходим?
-
Перейдите к Шагу 19
Перейдите к Шагу 12
9
С помощью цифрового вольтметра, подключенного к "массе", проверить цепь опорного сигнала 5 В на клемме 1.
Уровень замеренного напряжения близок к установленному значению?
5 В
Перейдите к Шагу 13
Перейдите к Шагу 14
10
Проверить цепь управления на отсутствие короткого замыкания с аккумулятором и устранить при необходимости.
Ремонт необходим?
-
Перейдите к Шагу 19
Перейдите к Шагу 12
11
Подключить контрольную лампу к + аккумулятора и снова проверить цепь управления на клемме 4.
Контрольная лампа горит?
-
Перейдите к шагу 15
Перейдите к шагу 16
12
Заменить контроллер ЭСУД.
Замена закончена?
-
Перейдите к Шагу 19
-
13
Проверить цепь "массы" системы рециркуляции на отсутствие слабого контакта или несоответствующего напряжения клеммы на контроллере ЭСУД. Устранить неисправность при необходимости.
Ремонт необходим?
-
Перейдите к Шагу 19
Перейдите к шагу 17
14
Проверить цепь опорного сигнала 5В на отсутствие короткого замыкания с аккумулятором и устранить неисправность при необходимости.
Ремонт необходим?
-
Перейдите к Шагу 19
Перейдите к Шагу 12
15
Проверить цепь управления на отсутствие короткого замыкания с "массой" и устранить при необходимости.
Ремонт необходим?
-
Перейдите к Шагу 19
Перейдите к Шагу 12
16
Проверить цепь управления системы рециркуляции на отсутствие разрыва и слабого контакта на электрическом разъеме клапана системы рециркуляции и устранить неисправность при необходимости.
Ремонт необходим?
-
Перейдите к Шагу 19
Перейдите к Шагу 18
17
Заменить клапан egr.
Замена закончена?
-
Перейдите к Шагу 19
-
18
Проверить разъём ЭСУД на отсутствие слабого контакта и устранить неисправность при необходимости.
Ремонт необходим?
-
Перейдите к Шагу 19
Перейдите к Шагу 12
19
Используя сканирующий прибор, очистить диагностические коды неисправностей.
Запустить двигатель и дать ему поработать на холостом ходу при нормальной рабочей температуре.
Совершить поездку для установки кодов неисправности, как это указано во вспомогательном тексте.
Сканирующий прибор определяет эту диагностику как прошедшую и успешную?
-
Перейдите к Шагу 20
Перейти к операции 2
20
Проверьте, не установлены ли дополнительные диагностические коды неисправности.
Отображены ли диагностические коды неисправности, которые не были продиагностированы?
-
Перейти к соответствующей таблице диагностических кодов неисправности
Система в норме
ДИАГНОСТИЧЕСКИЙ КОД НЕИСПРАВНОСТИ (dtc) - p0404 КЛАПАН РЕЦИРКУЛЯЦИИ ОТРАБОТАВШИХ ГАЗОВ ОТКРЫТ
Описание схемы
Система рециркуляции отработавших газов используется для снижения уровня выброса оксидов азота (NOx), причиной которого являются высокая температура сгорания. Она осуществляет это путем подачи небольшого количества отработавших газов обратно в камеру сгорания. При соединении воздушно-топливной смеси с отработавшими газами, температура сгорания понижается.
В данной системе используется линейный клапан системы рециркуляции отработавших газов. Линейный клапан предназначен для точной подачи отработавших газов в двигатель без использования впускного коллектора. Клапан регулирует поток выхлопных газов, идущих на впускной коллектор из выпускного коллектора через дроссель, при помощи иглы, управляемой контроллером ЭСУД. ЭСУД управляет положением иглы, используя входы датчика положения дросселя и датчик абсолютного давления во впускном коллекторе. Затем ЭСУД выдает команду на срабатывание при необходимости клапана системы рециркуляции отработанных газов путем управления сигналом зажигания через контроллер ЭСУД. Это можно контролировать на сканирующем приборе как желаемое положение системы рециркуляции отработавших газов.
ЭСУД контролирует результат выполнения своей команды по ответному сигналу. При опорном сигнале 5 В и замыкании "массы" на клапане рециркуляции отработавших газов, сигнал, представляющий положение иглы клапана рециркуляции отработавших газов, выдается в ЭСУД. Данный сигнал обратной связи также контролируется на сканирующем приборе и отображает действительное положение иглы клапана рециркуляции отработавших газов. Действительное положение клапана рециркуляции отработавших газов всегда должно быть в пределах задаваемого или желаемого положения.
Диагностический код неисправности определит разрыв цепи или короткое замыкание.
Условия установки кода неисправности.
Цепь системы рециркуляции либо разомкнута, либо короткозамкнута на "массу".
Действия, выполняемые при установке кода неисправности
Контрольная лампа индикации неисправности загорается после трех последовательных поездок с неисправностью.
Контроллер записывает рабочие условия в момент определения неисправности. Эта информация сохраняется в буфере записей состояния и протоколах неисправностей.
Условия очистки кода неисправности/индикации неисправности
Контрольная лампа индикации неисправности отключается через четыре последовательных цикла зажигания, в которых диагностика не обнаружила неисправность.
Архив диагностических кодов неисправности очищается через 40 последовательных циклов нагрева без неисправностей.
Диагностический код неисправности может быть очищен сканирующим прибором.
Отключение питания контроллера ЭСУД более чем на 10 секунд.
Указания по диагностике
Вследствие влаги, присущей системам выхлопа, клапан рециркуляции может замерзать при холодной погоде. После постановки автомобиля в теплое помещение для ремонта, клапан отогревается и проблема исчезает. Неисправность может быть легко подтверждена путем наблюдения за действительным и желаемым положением клапана рециркуляции на холодном автомобиле с помощью сканирующего прибора. Проверьте информацию буфера записи состояний (температуру охлаждающей жидкости двигателя) для того, чтобы определить, выставился ли код неисправности, когда автомобиль находился в холодном состоянии.
dtc p0404 Клапан рециркуляции отработавших газов открыт
Шаг
Операция
Значения
Да
Нет
1
Провести проверку бортовой системы диагностики Евро (eobd).
Проверка системы завершена?
-
Перейти к операции 2
Перейти к "Проверка бортовой системы диагностики"
2
Включить зажигание, двигатель не запускать.
Подключите диагностический прибор.
Дать команду на перемещение клапана рециркуляции отработавших газов на указанные значения.
Соответствует ли действительное положение клапана рециркуляции желаемому положению клапана?
25%, 50%, 75%, 100%
Перейдите к Шагу 19
Перейдите к Шагу 3
3
Включить зажигание.
Отсоединить электрический разъём клапана системы рециркуляции газов.
Проверить цепь "массы" клапана рециркуляции при помощи контрольной лампы, подключенной к + аккумулятора.
Контрольная лампа горит?
-
Перейти к операции 4
Перейти к операции 5
4
Подключить контрольную лампу к "массе"
Проверить цепь управления системы рециркуляции от клеммы 3 до клапана рециркуляции.
Используя сканирующий прибор, дать команду клапану рециркуляции на перемещение на указанные значения
После того, как команда была задана, горит ли контрольная лампа ярче, мигает или продолжает гореть ровным светом?
25%, 50%, 75%, 100%
Перейти к операции 6
Перейдите к Шагу 7
5
Устранить разрыв или слабый контакт в цепи "массы" системы рециркуляции
Закончен ли ремонт?
-
Перейдите к Шагу 19
-
6
Проверить сигнальную цепь на клемме 3 с помощью контрольной лампы, подключенной к "массе".
Контрольная лампа горит?
-
Перейдите к Шагу 8
Перейдите к Шагу 9
7
При помощи контрольной лампы, подключенной к "массе" снова проверить сигнальную цепь без команды клапану рециркуляции.
Контрольная лампа горит?
-
Перейдите к Шагу 10
Перейдите к Шагу 11
8
Проверить сигнальную цепь на отсутствие напряжения короткого замыкания и устранить неисправность при необходимости.
Ремонт необходим?
-
Перейдите к Шагу 19
Перейдите к Шагу 12
9
С помощью цифрового вольтметра, подключенного к "массе", проверить цепь опорного сигнала 5 В на клемме 1.
Уровень замеренного напряжения близок к установленному значению?
5 В
Перейдите к Шагу 13
Перейдите к Шагу 14
10
Проверить цепь управления на отсутствие короткого замыкания с аккумулятором и устранить при необходимости.
Ремонт необходим?
-
Перейдите к Шагу 19
Перейдите к Шагу 12
11
Подключить контрольную лампу к + аккумулятора и снова проверить цепь управления на клемме 4.
Контрольная лампа горит?
-
Перейдите к шагу 15
Перейдите к шагу 16
12
Заменить контроллер ЭСУД.
Замена закончена?
-
Перейдите к Шагу 19
-
13
Проверить цепь "массы" системы рециркуляции на отсутствие слабого контакта или несоответствующего напряжения клеммы на контроллере ЭСУД. Устранить неисправность при необходимости.
Ремонт необходим?
-
Перейдите к Шагу 19
Перейдите к шагу 17
14
Проверить цепь опорного сигнала 5В на отсутствие короткого замыкания с аккумулятором и устранить неисправность при необходимости.
Ремонт необходим?
-
Перейдите к Шагу 19
Перейдите к Шагу 12
15
Проверить цепь управления на отсутствие короткого замыкания с "массой" и устранить при необходимости.
Ремонт необходим?
-
Перейдите к Шагу 19
Перейдите к Шагу 12
16
Проверить цепь управления системы рециркуляции на отсутствие разрыва и слабого контакта на электрическом разъеме клапана системы рециркуляции и устранить неисправность при необходимости.
Ремонт необходим?
-
Перейдите к Шагу 19
Перейдите к Шагу 18
17
Заменить клапан egr.
Замена закончена?
-
Перейдите к Шагу 19
-
18
Проверить разъём ЭСУД на отсутствие слабого контакта и устранить неисправность при необходимости.
Ремонт необходим?
-
Перейдите к Шагу 19
Перейдите к Шагу 12
19
Используя сканирующий прибор, очистить диагностические коды неисправностей.
Запустить двигатель и дать ему поработать на холостом ходу при нормальной рабочей температуре.
Совершить поездку для установки кодов неисправности, как это указано во вспомогательном тексте.
Сканирующий прибор определяет эту диагностику как прошедшую и успешную?
-
Перейдите к Шагу 20
Перейти к операции 2
20
Проверьте, не установлены ли дополнительные диагностические коды неисправности.
Отображены ли диагностические коды неисправности, которые не были продиагностированы?
-
Перейти к соответствующей таблице диагностических кодов неисправности
Система рециркуляции отработавших газов используется для снижения уровня выброса оксидов азота (NOx), причиной которого являются высокая температура сгорания. Она осуществляет это путем подачи небольшого количества отработавших газов обратно в камеру сгорания. При соединении воздушно-топливной смеси с отработавшими газами, температура сгорания понижается.
В данной системе используется линейный клапан системы рециркуляции отработавших газов. Линейный клапан предназначен для точной подачи отработавших газов в двигатель без использования впускного коллектора. Клапан регулирует поток выхлопных газов, идущих на впускной коллектор из выпускного коллектора через дроссель, при помощи иглы, управляемой контроллером ЭСУД. ЭСУД управляет положением иглы, используя входы датчика положения дросселя и датчик абсолютного давления во впускном коллекторе. Затем ЭСУД выдает команду на срабатывание при необходимости клапана системы рециркуляции отработанных газов путем управления сигналом зажигания через контроллер ЭСУД. Это можно контролировать на сканирующем приборе как желаемое положение системы рециркуляции отработавших газов.
ЭСУД контролирует результат выполнения своей команды по ответному сигналу. При опорном сигнале 5 В и замыкании "массы" на клапане рециркуляции отработавших газов, сигнал, представляющий положение иглы клапана рециркуляции отработавших газов, выдается в ЭСУД. Данный сигнал обратной связи также контролируется на сканирующем приборе и отображает действительное положение иглы клапана рециркуляции отработавших газов. Действительное положение клапана рециркуляции отработавших газов всегда должно быть в пределах задаваемого или желаемого положения.
Диагностический код неисправности определит разрыв цепи или короткое замыкание.
Условия установки кода неисправности.
Цепь системы рециркуляции короткозамкнута на аккумулятор.
Действия, выполняемые при установке кода неисправности
Контрольная лампа индикации неисправности загорается после трех последовательных поездок с неисправностью.
Контроллер записывает рабочие условия в момент определения неисправности. Эта информация сохраняется в буфере записей состояния и протоколах неисправностей.
Условия очистки кода неисправности/индикации неисправности
Контрольная лампа индикации неисправности отключается через четыре последовательных цикла зажигания, в которых диагностика не обнаружила неисправность.
Архив диагностических кодов неисправности очищается через 40 последовательных циклов нагрева без неисправностей.
Диагностический код неисправности может быть очищен сканирующим прибором.
Отключение питания контроллера ЭСУД более чем на 10 секунд.
Указания по диагностике
Вследствие влаги, присущей системам выхлопа, клапан рециркуляции может замерзать при холодной погоде. После постановки автомобиля в теплое помещение для ремонта, клапан отогревается и проблема исчезает. Неисправность может быть легко подтверждена путем наблюдения за действительным и желаемым положением клапана рециркуляции на холодном автомобиле с помощью сканирующего прибора. Проверьте информацию буфера записи состояний (температуру охлаждающей жидкости двигателя) для того, чтобы определить, выставился ли код неисправности, когда автомобиль находился в холодном состоянии.
Провести проверку бортовой системы диагностики Евро (eobd).
Проверка системы завершена?
-
Перейти к операции 2
Перейти к "Проверка бортовой системы диагностики"
2
Включить зажигание, двигатель не запускать.
Подключите диагностический прибор.
Дать команду на перемещение клапана рециркуляции отработавших газов на указанные значения.
Соответствует ли действительное положение клапана рециркуляции желаемому положению клапана?
25%, 50%, 75%, 100%
Перейдите к Шагу 13
Перейдите к Шагу 3
3
Отсоединить электрический разъём клапана системы рециркуляции газов.
Находится действительное положение клапана рециркуляции в пределах указанного значения?
100%
Перейти к операции 4
Перейти к операции 5
4
Проверить клемму 3 сигнальной цепи на отсутствие напряжения короткого замыкания и устранить неисправность при необходимости.
Ремонт необходим?
-
Перейдите к Шагу 13
Перейти к операции 6
5
При помощи цифрового вольтметра, подключенного к "массе", проверить цепь опорного сигнала 5В от клеммы 1 до клапана рециркуляции.
Находится ли показание вольтметра в пределах указанных значений?
5 В
Перейдите к Шагу 7
Перейдите к Шагу 8
6
Выключите зажигание.
Заменить контроллер ЭСУД
Закончен ли ремонт?
-
Перейдите к Шагу 13
-
7
Подключить контрольную лампу к "массе".
Проверить контрольную цепь системы рециркуляции клапана рециркуляции.
Контрольная лампа горит?
-
Перейдите к Шагу 9
Перейдите к Шагу 10
8
Проверить цепь опорного сигнала 5 В на отсутствие напряжения короткого замыкания, устранить при необходимости.
Ремонт необходим?
-
Перейдите к Шагу 13
Перейти к операции 6
9
Проверить цепь управления на отсутствие напряжения короткого замыкания и устранить неисправность при необходимости.
Ремонт необходим?
-
Перейдите к Шагу 13
Перейти к операции 6
10
Проверить цепь "массы" клапана системы рециркуляции на отсутствие разрыва или слабого контакта на электроразъеме клапана рециркуляции, устранить неисправность при необходимости.
Ремонт необходим?
-
Перейдите к Шагу 13
Перейдите к Шагу 12
11
Заменить клапан egr.
Работа закончена?
-
Перейдите к Шагу 13
-
12
Проверить электрический разъём линии рециркуляции отработавших газов на отсутствие слабого контакта и устранить неисправность при необходимости.
Ремонт необходим?
-
Перейдите к Шагу 13
Перейдите к Шагу 11
13
Используя сканирующий прибор, очистить диагностические коды неисправностей.
Запустить двигатель и дать ему поработать на холостом ходу при нормальной рабочей температуре.
Совершить поездку для установки кодов неисправности, как это указано во вспомогательном тексте.
Сканирующий прибор определяет эту диагностику как прошедшую и успешную?
-
Перейдите к Шагу 14
Перейти к операции 2
14
Проверьте, не установлены ли дополнительные диагностические коды неисправности.
Отображены ли диагностические коды неисправности, которые не были продиагностированы?
-
Перейти к соответствующей таблице диагностических кодов неисправности
Система в норме
ДИАГНОСТИЧЕСКИЙ КОД НЕИСПРАВНОСТИ (dtc) - p0405 ДАТЧИК ПОЛОЖЕНИЯ ИГЛЫ КЛАПАНА РЕЦИРКУЛЯЦИИ ОТРАБОТАВШИХ ГАЗОВ, НИЗКОЕ НАПРЯЖЕНИЕ ЦЕПИ
Описание схемы
Система рециркуляции отработавших газов используется для снижения уровня выброса оксидов азота (NOx), причиной которого являются высокая температура сгорания. Она осуществляет это путем подачи небольшого количества отработавших газов обратно в камеру сгорания. При соединении воздушно-топливной смеси с отработавшими газами, температура сгорания понижается.
В данной системе используется линейный клапан системы рециркуляции отработавших газов. Линейный клапан предназначен для точной подачи отработавших газов в двигатель без использования впускного коллектора. Клапан регулирует поток выхлопных газов, идущих на впускной коллектор из выпускного коллектора через дроссель, при помощи иглы, управляемой контроллером ЭСУД. ЭСУД управляет положением иглы, используя входы датчика положения дросселя и датчик абсолютного давления во впускном коллекторе. Затем ЭСУД выдает команду на срабатывание при необходимости клапана системы рециркуляции отработанных газов путем управления сигналом зажигания через контроллер ЭСУД. Это можно контролировать на сканирующем приборе как желаемое положение системы рециркуляции отработавших газов.
ЭСУД контролирует результат выполнения своей команды по ответному сигналу. При опорном сигнале 5 В и замыкании "массы" на клапане рециркуляции отработавших газов, сигнал, представляющий положение иглы клапана рециркуляции отработавших газов, выдается в ЭСУД. Данный сигнал обратной связи также контролируется на сканирующем приборе и отображает действительное положение иглы клапана рециркуляции отработавших газов. Действительное положение клапана рециркуляции отработавших газов всегда должно быть в пределах задаваемого или желаемого положения.
Диагностический код неисправности определит разрыв цепи или короткое замыкание.
Условия установки кода неисправности.
Напряжение системы рециркуляции менее 0,01В
Действия, выполняемые при установке кода неисправности
Контрольная лампа индикации неисправности загорается после трех последовательных поездок с неисправностью.
Контроллер записывает рабочие условия в момент определения неисправности. Эта информация сохраняется в буфере записей состояния и протоколах неисправностей.
Условия очистки кода неисправности/индикации неисправности
Контрольная лампа индикации неисправности отключается через четыре последовательных цикла зажигания, в которых диагностика не обнаружила неисправность.
Архив диагностических кодов неисправности очищается через 40 последовательных циклов нагрева без неисправностей.
Диагностический код неисправности может быть очищен сканирующим прибором.
Отключение питания контроллера ЭСУД более чем на 10 секунд.
Указания по диагностике
Вследствие влаги, присущей системам выхлопа, клапан рециркуляции может замерзать при холодной погоде. После постановки автомобиля в теплое помещение для ремонта, клапан отогревается и проблема исчезает. Неисправность может быть легко подтверждена путем наблюдения за действительным и желаемым положением клапана рециркуляции на холодном автомобиле с помощью сканирующего прибора. Проверьте информацию буфера записи состояний (температуру охлаждающей жидкости двигателя) для того, чтобы определить, выставился ли код неисправности, когда автомобиль находился в холодном состоянии.
Провести проверку бортовой системы диагностики Евро (eobd).
Проверка системы завершена?
-
Перейти к операции 2
Перейти к "Проверка бортовой системы диагностики"
2
Включить зажигание, двигатель не запускать.
Подключите диагностический прибор.
Дать команду на перемещение клапана рециркуляции отработавших газов на указанные значения.
Соответствует ли действительное положение клапана рециркуляции желаемому положению клапана?
25%, 50%, 75%, 100%
Перейдите к шагу 15
Перейдите к Шагу 3
3
Включить зажигание, двигатель не запускать.
Отсоединить электрический разъём клапана системы рециркуляции газов.
С помощью цифрового вольтметра, подключенного к "массе", проверить цепь опорного сигнала 5 В от клеммы 1 до клапана рециркуляции.
Показания вольтметра близки к указанным значениям?
5 В
Перейти к операции 4
Перейти к операции 5
4
Установить перемычку с цепи опорного сигнала 5 В на сигнальную цепь на клеммах 1 и 3.
Соответствует ли положение клапана рециркуляции указанному значению?
100%
Перейти к операции 6
Перейдите к Шагу 7
5
Подключить контрольную лампу к + аккумулятора.
Измерить опорное напряжение 5 В в цепи на клапан системы рециркуляции отработавших газов.
Контрольная лампа горит?
-
Перейдите к Шагу 8
Перейдите к Шагу 9
6
Проверить цепь опорного сигнала 5 В и сигнальную цепь на отсутствие слабого контакта или несоответствующего напряжения клеммы, и устранить неисправность при необходимости.
Ремонт необходим?
-
Перейдите к шагу 15
Перейдите к Шагу 10
7
Подключить контрольную лампу к + аккумулятора.
Проверить сигнальную цепь от клеммы 3 до клапана рециркуляции.
Контрольная лампа горит?
-
Перейдите к Шагу 11
Перейдите к Шагу 12
8
Проверить цепь опорного сигнала 5 В до клапана рециркуляции на отсутствие короткого замыкания с "массой" и устранить неисправность при необходимости.
Ремонт необходим?
-
Перейдите к шагу 15
Перейдите к Шагу 13
9
Проверить цепь опорного сигнала 5 В до клапана рециркуляции на отсутствие разрыва, устранить неисправность при необходимости.
Ремонт необходим?
-
Перейдите к шагу 15
Перейдите к Шагу 14
10
Заменить клапан egr
Работа закончена?
-
Перейдите к шагу 15
-
11
Проверить сигнальную цепь до клапана рециркуляции на отсутствие короткого замыкания с "массой", устранить неисправность при необходимости.
Ремонт необходим?
-
Перейдите к шагу 15
Перейдите к Шагу 13
12
Проверить сигнальную цепь до клапана рециркуляции на отсутствие разрыва, устранить неисправность при необходимости.
Ремонт необходим?
-
Перейдите к шагу 15
Перейдите к Шагу 14
13
Выключите зажигание.
Заменить контроллер ЭСУД.
Работа закончена?
-
Перейдите к шагу 15
-
14
Проверить неисправную цепь на отсутствие слабого подключения или несоответствующего напряжения клеммы, устранить неисправность при необходимости.
Ремонт необходим?
-
Перейдите к шагу 15
Перейдите к Шагу 13
15
Используя сканирующий прибор, очистить диагностические коды неисправностей.
Запустить двигатель и дать ему поработать на холостом ходу при нормальной рабочей температуре.
Совершить поездку для установки кодов неисправности, как указано во вспомогательном тексте.
Сканирующий прибор определяет эту диагностику как прошедшую и успешную?
-
Перейдите к шагу 16
Перейти к операции 2
16
Проверьте, не установлены ли дополнительные диагностические коды неисправности.
Отображены ли диагностические коды неисправности, которые не были продиагностированы?
-
Перейти к соответствующей таблице диагностических кодов неисправности
Система в норме
ДИАГНОСТИЧЕСКИЙ КОД НЕИСПРАВНОСТИ (dtc) - p0406 ДАТЧИК ПОЛОЖЕНИЯ ИГЛЫ КЛАПАНА РЕЦИРКУЛЯЦИИ ОТРАБОТАВШИХ ГАЗОВ, ВЫСОКОЕ НАПРЯЖЕНИЕ ЦЕПИ
Описание схемы
Система рециркуляции отработавших газов используется для снижения уровня выброса оксидов азота (NOx), причиной которого являются высокая температура сгорания. Она осуществляет это путем подачи небольшого количества отработавших газов обратно в камеру сгорания. При соединении воздушно-топливной смеси с отработавшими газами, температура сгорания понижается.
В данной системе используется линейный клапан системы рециркуляции отработавших газов. Линейный клапан предназначен для точной подачи отработавших газов в двигатель без использования впускного коллектора. Клапан регулирует поток выхлопных газов, идущих на впускной коллектор из выпускного коллектора через дроссель, при помощи иглы, управляемой контроллером ЭСУД. ЭСУД управляет положением иглы, используя входы датчика положения дросселя и датчик абсолютного давления во впускном коллекторе. Затем ЭСУД выдает команду на срабатывание при необходимости клапана системы рециркуляции отработанных газов путем управления сигналом зажигания через контроллер ЭСУД. Это можно контролировать на сканирующем приборе как желаемое положение системы рециркуляции отработавших газов.
ЭСУД контролирует результат выполнения своей команды по ответному сигналу. При опорном сигнале 5 В и замыкании "массы" на клапане рециркуляции отработавших газов, сигнал, представляющий положение иглы клапана рециркуляции отработавших газов, выдается в ЭСУД. Данный сигнал обратной связи также контролируется на сканирующем приборе и отображает действительное положение иглы клапана рециркуляции отработавших газов. Действительное положение клапана рециркуляции отработавших газов всегда должно быть в пределах задаваемого или желаемого положения.
Диагностический код неисправности определит разрыв цепи или короткое замыкание.
Условия установки кода неисправности.
Напряжение на клапане рециркуляции выше 4.99 В.
Действия, выполняемые при установке кода неисправности
Контрольная лампа индикации неисправности загорается после трех последовательных поездок с неисправностью.
Контроллер записывает рабочие условия в момент определения неисправности. Эта информация сохраняется в буфере записей состояния и протоколах неисправностей.
Условия очистки кода неисправности/индикации неисправности
Контрольная лампа индикации неисправности отключается через четыре последовательных цикла зажигания, в которых диагностика не обнаружила неисправность.
Архив диагностических кодов неисправности очищается через 40 последовательных циклов нагрева без неисправностей.
Диагностический код неисправности может быть очищен сканирующим прибором.
Отключение питания контроллера ЭСУД более чем на 10 секунд.
Указания по диагностике
Вследствие влаги, присущей системам выхлопа, клапан рециркуляции может замерзать при холодной погоде. После постановки автомобиля в теплое помещение для ремонта, клапан отогревается и проблема исчезает. Неисправность может быть легко подтверждена путем наблюдения за действительным и желаемым положением клапана рециркуляции на холодном автомобиле с помощью сканирующего прибора. Проверьте информацию буфера записи состояний (температуру охлаждающей жидкости двигателя) для того, чтобы определить, выставился ли код неисправности, когда автомобиль находился в холодном состоянии.
Провести проверку бортовой системы диагностики Евро (eobd).
Проверка системы завершена?
-
Перейти к операции 2
Перейти к "Проверка бортовой системы диагностики"
2
Включить зажигание, двигатель не запускать.
Подключите диагностический прибор.
Дать команду на перемещение клапана рециркуляции отработавших газов на указанные значения.
Соответствует ли действительное положение клапана рециркуляции желаемому положению клапана?
25%, 50%, 75%, 100%
Перейдите к Шагу 14
Перейдите к Шагу 3
3
Включить зажигание, двигатель не запускать.
Отсоединить электрический разъём клапана системы рециркуляции газов.
С помощью цифрового вольтметра, подключенного к "массе", проверить цепь опорного сигнала 5 В от клеммы 1 до клапана рециркуляции.
Показания вольтметра близки к указанным значениям?
5 В
Перейти к операции 4
Перейти к операции 5
4
Установить перемычку с цепи опорного сигнала 5 В на сигнальную цепь на клеммах 1 и 3.
Соответствует ли положение клапана рециркуляции указанному значению?
100%
Перейти к операции 6
Перейдите к Шагу 7
5
Подключить контрольную лампу к + аккумулятора.
Измерить опорное напряжение 5 В в цепи на клапан системы рециркуляции отработавших газов.
Контрольная лампа горит?
-
Перейдите к Шагу 8
Перейдите к Шагу 9
6
Проверить цепь опорного сигнала 5 В и сигнальную цепь на отсутствие слабого контакта или несоответствующего напряжения клеммы, и устранить неисправность при необходимости.
Ремонт необходим?
-
Перейдите к Шагу 14
Перейдите к Шагу 10
7
Подключить контрольную лампу к "массе"
Проверить сигнальную цепь от клеммы 3 до клапана рециркуляции.
Контрольная лампа горит?
-
Перейдите к Шагу 11
Перейдите к Шагу 13
8
Проверить цепь опорного сигнала 5 В до клапана рециркуляции на отсутствие короткого замыкания с "массой" и устранить неисправность при необходимости.
Ремонт необходим?
-
Перейдите к Шагу 14
Перейдите к Шагу 12
9
Проверить цепь опорного сигнала 5 В до клапана рециркуляции на отсутствие разрыва, устранить неисправность при необходимости.
Ремонт необходим?
-
Перейдите к Шагу 14
Перейдите к Шагу 13
10
Заменить клапан egr
Работа закончена?
-
Перейдите к Шагу 14
-
11
Проверить сигнальную цепь до клапана рециркуляции на отсутствие короткого замыкания, устранить неисправность при необходимости.
Ремонт необходим?
-
Перейдите к Шагу 14
Перейдите к Шагу 12
12
Выключите зажигание.
Заменить контроллер ЭСУД.
Работа закончена?
-
Перейдите к Шагу 14
-
13
Проверить неисправную цепь на отсутствие слабого подключения или несоответствующего напряжения клеммы, устранить неисправность при необходимости.
Ремонт необходим?
-
Перейдите к Шагу 14
Перейдите к Шагу 12
14
Используя сканирующий прибор, очистить диагностические коды неисправностей.
Запустить двигатель и дать ему поработать на холостом ходу при нормальной рабочей температуре.
Совершить поездку для установки кодов неисправности, как указано во вспомогательном тексте.
Сканирующий прибор определяет эту диагностику как прошедшую и успешную?
-
Перейдите к шагу 15
Перейти к операции 2
15
Проверьте, не установлены ли дополнительные диагностические коды неисправности.
Отображены ли диагностические коды неисправности, которые не были продиагностированы?
-
Перейти к соответствующей таблице диагностических кодов неисправности
Система в норме
ДИАГНОСТИЧЕСКИЙ КОД НЕИСПРАВНОСТИ (dtc) - p0420 НИЗКИЙ КПД КАТАЛИТИЧЕСКОГО НЕЙТРАЛИЗАТОРА
Описание схемы
Для управления выбросом отработавших выхлопных газов углеводородов (НС), оксида углерода (СО), а также оксида азота (NOx) используется трехомпонентный каталитический нейтрализатор. Катализатор в нейтрализаторе ускоряет химическую реакцию окисления НС и СО в выхлопном газе, превращая их в безвредные пары воды и углекислого газа. Он также сокращает количество NOx, превращая его в азот. Каталитический нейтрализатор также может сохранять кислород. Контроллер ЭСУД может контролировать данный процесс, используя датчик кислорода с электронагревателем (HO2S), расположенный в выхлопном потоке за каталитическим нейтрализатором. Данный датчик выдает сигнал, который показывает количество кислородного катализатора, что в свою очередь указывает на возможность эффективно нейтрализовать выброс отработавших выхлопных газов. ЭСУД контролирует эффективность нейтрализатора, выдерживая время до его нагрева, ожидая в течение периода стабилизации пока двигатель работает на холостом ходу и затем, добавляя и удаляя топливо, отслеживает срабатывание HO2S. В случае если нейтрализатор работает нормально, выходной сигнал HO2S на излишнее количество топлива постепенно сравнивается с данными датчика кислорода (O2S). Если значение выходного сигнала HO2S близко к значению O2S, то количество кислорода или эффективность нейтрализатора считается недостаточным, и загорается контрольная лампа индикации неисправности.
Условия установки кода неисправности.
Стехиометрия закрытого контура.
Температура охлаждающей жидкости двигателя (ЕСТ) выше 70°С (158°f).
Число оборотов двигателя в пределах от 1760 до 2530 об./мин.
Скорость автомобиля в пределах от 60 км/час (37,3 мили/час) до 76 км/час (47,2 мили/час).
Абсолютное давление в коллекторе выше 76 кПа.
Деятельность датчик кислорода с электронагревателем возбуждаемого сигналами лямбда-контроллера выше пороговой величины.
Действия, выполняемые при установке кода неисправности
Контрольная лампа индикации неисправности загорается после трех последовательных поездок с неисправностью.
Контроллер записывает рабочие условия в момент определения неисправности. Эта информация сохраняется в буфере записей состояния и протоколах неисправностей.
Условия очистки кода неисправности/индикации неисправности
Контрольная лампа индикации неисправности отключается через четыре последовательных цикла зажигания, в которых диагностика не обнаружила неисправность.
Архив диагностических кодов неисправности очищается через 40 последовательных циклов нагрева без неисправностей.
Диагностический код неисправности может быть очищен сканирующим прибором.
Отключение питания контроллера ЭСУД более чем на 10 секунд.
Указания по диагностике
Проверка нейтрализатора может прекратиться вследствие изменения нагрузки на двигатель. В процессе проверки нейтрализатора нагрузку двигателя не изменять (т.е. аккумулятор, охлаждающий вентилятор, двигатель нагревателя).
Периодическая неисправность может быть вызвана слабым контактом, перетертой изоляцией или обрывом проводки в изоляции.
Любая цепь, которая может быть причиной периодической неисправности, должна быть тщательно проверена на отсутствие следующего:
Система улавливания паров бензина (СУПБ) состоит из следующих компонентов:
Топливный бак
Дренажный клапан СУПБ
Датчик давления топливного бака
Топливные трубы и шланги
Трубопроводы паров топлива
Топливная крышка
Адсорбер
Продувочные трубопроводы
Клапан продувки адсорбера.
Служебный порт СУПБ
СУПБ проверяется путем создания в ней вакуума и контролирования спада уровня разреженности. ЭСУД контролирует уровень разреженности по сигналу датчика давления в топливном баке. В соответствующее время клапан продувки фильтра СУПБ и дренажный клапан СУПБ включаются, позволяя двигателю создать вакуум во всей системе СУПБ. По достижению желаемого уровня разреженности, клапан очистки СУПБ выключается, герметизируя систему. При невозможности создать достаточный уровень вакуума, отображается большая утечка. Это может быть вызвано следующими условиями:
Отсутствует или повреждена топливная крышка.
Отсоединен или поврежден датчик давления топливного бака. Отсоединен, поврежден, сжат или заблокирован трубопровод продувки адсорбера.
Отсоединен или поврежден клапан продувки адсорбера.
Отсоединен или поврежден дренажный клапан СУПБ.
Разомкнута цепь подачи зажигания на клапаны дренажа или продувки СУПБ
Поврежденный адсорбер
Утечка на уплотнительном кольце топливного датчика
Утечка из топливного бака или заливной горловины бака
Любое из вышеперечисленных условий может задать код неисправности Р0444.
Тест не проходит, если вакуум в баке составляет менее 10 на Н20 в течение 15 секунд, и вакуумное целое число коллектора выше 49512 (пропорционально продуваемой массе из топливного бака).
Условия установки кода неисправности.
Цепь клапана продувки адсорбера разомкнута.
Действия, выполняемые при установке кода неисправности
Контрольная лампа индикации неисправности загорается после трех последовательных поездок с неисправностью.
Контроллер записывает рабочие условия в момент определения неисправности. Эта информация сохраняется в буфере записей состояния и протоколах неисправностей.
Условия очистки кода неисправности/индикации неисправности
Контрольная лампа индикации неисправности отключается через четыре последовательных цикла зажигания, в которых диагностика не обнаружила неисправность.
Архив диагностических кодов неисправности очищается через 40 последовательных циклов нагрева без неисправностей.
Диагностический код неисправности может быть очищен сканирующим прибором.
Отключение питания контроллера ЭСУД более чем на 10 секунд.
Указания по диагностике
Хотя данный код неисправности считается стандартной диагностикой типа А, при определенных условиях, он действует как диагностика типа В. В независимости от того, когда система пройдет данный диагностический отчет или если аккумулятор отсоединен, диагностика не должна пройти дважды перед установкой кода неисправности. О первоначальном отказе не сообщается управляющей программе по диагностике и он не отображается на сканирующем приборе. О прохождении теста системой сообщается управляющей программе незамедлительно.
Проверить следующее:
Отсутствует или повреждена топливная крышка
Отсутствуют или повреждены уплотнительные кольца на фитингах трубопроводов паров топлива и продувки адсорбера.
Слабый контакт на контроллере ЭСУД. Проверить жгуты проводов на отсутствие следующего:
Снятые клеммы.
Соединение клемм.
Неисправность замков.
Деформированность.
Повреждения клемм.
Слабое соединение клемм с проводами.
Повреждение жгута проводов. Осмотреть жгуты проводов до дренажного клапана, клапана продувки адсорбера, а также до датчика давления топливного бака на отсутствие периодического размыкания цепи или короткого замыкания.
Деформированный, сжат или забит источник вакуума, трубопровод продувки адсорбера или трубопровод паров топливного бака. Проверить трубопроводы на отсутствие сужения
Система улавливания паров бензина (СУПБ) состоит из следующих компонентов:
Топливный бак
Дренажный клапан СУПБ
Датчик давления топливного бака
Топливные трубы и шланги
Трубопроводы паров топлива
Топливная крышка
Адсорбер
Продувочные трубопроводы
Клапан продувки адсорбера.
Служебный порт СУПБ
СУПБ проверяется путем создания в ней вакуума и контролирования спада уровня разреженности. ЭСУД контролирует уровень разреженности по сигналу датчика давления в топливном баке. В соответствующее время клапан продувки фильтра СУПБ и дренажный клапан СУПБ включаются, позволяя двигателю создать вакуум во всей системе СУПБ. По достижению желаемого уровня разреженности, клапан очистки СУПБ выключается, герметизируя систему. При невозможности создать достаточный уровень вакуума, отображается большая утечка. Это может быть вызвано следующими условиями:
Отсутствует или повреждена топливная крышка.
Отсоединен или поврежден датчик давления топливного бака.
Отсоединен, поврежден, сжат или заблокирован трубопровод продувки адсорбера.
Отсоединен или поврежден клапан продувки адсорбера.
Отсоединен или поврежден дренажный клапан СУПБ.
Разомкнута цепь подачи зажигания на клапаны дренажа или продувки СУПБ
Поврежденный адсорбер
Утечка на уплотнительном кольце топливного датчика
Утечка из топливного бака или заливной горловины бака
Любое из указанных выше состояний может установить код DTC P0445. Проверка не проходит, если разрежение в баке ниже 10 дюймов вод.ст. в течение 15 секунд, и интеграл разрежения в коллекторе более 49512 (пропорционально массе продувки из бака).
Условия установки кода неисправности.
Цепь электромагнитного клапана короткозамкнута на аккумулятор или "массу".
Действия, выполняемые при установке кода неисправности
Контрольная лампа индикации неисправности загорается после трех последовательных поездок с неисправностью.
Контроллер записывает рабочие условия в момент определения неисправности. Эта информация сохраняется в буфере записей состояния и протоколах неисправностей.
Условия очистки кода неисправности/индикации неисправности
Контрольная лампа индикации неисправности отключается через четыре последовательных цикла зажигания, в которых диагностика не обнаружила неисправность.
Архив диагностических кодов неисправности очищается через 40 последовательных циклов нагрева без неисправностей.
Диагностический код неисправности может быть очищен сканирующим прибором.
Отключение питания контроллера ЭСУД более чем на 10 секунд.
Указания по диагностике
Хотя данный код неисправности считается стандартной диагностикой типа А, при определенных условиях, он действует как диагностика типа В. В независимости от того, когда система пройдет данный диагностический отчет или если аккумулятор отсоединен, диагностика не должна пройти дважды перед установкой кода неисправности. О первоначальном отказе не сообщается управляющей программе по диагностике и он не отображается на сканирующем приборе. О прохождении теста системой сообщается управляющей программе незамедлительно.
Проверить следующее:
Отсутствует или повреждена топливная крышка
Отсутствуют или повреждены уплотнительные кольца на фитингах трубопроводов паров топлива и продувки адсорбера.
Слабый контакт на контроллере ЭСУД. Проверить жгуты проводов на отсутствие следующего:
Снятые клеммы.
Соединение клемм.
Неисправность замков.
Деформированность.
Повреждения клемм.
Слабое соединение клемм с проводами.
Повреждение жгута проводов. Осмотреть жгуты проводов до дренажного клапана, клапана продувки адсорбера, а также до датчика давления топливного бака на отсутствие периодического размыкания цепи или короткого замыкания.
Деформированный, сжат или забит источник вакуума, трубопровод продувки адсорбера или трубопровод паров топливного бака. Проверить трубопроводы на отсутствие сужения
Провести проверку бортовой системы диагностики Евро (eobd).
Проверка системы завершена?
-
Перейти к операции 2
Перейти к "Проверка бортовой системы диагностики"
2
Отсоединить разъем клапана продувки адсорбера
Замерить сопротивление разъема клапана продувки адсорбера
Находится ли замеренное сопротивление в пределах указанного значения?
30Ом
Перейдите к Шагу 3
Перейдите к Шагу 9
3
Подключить контрольную лампу между клеммой 2 разъема клапана продувки адсорбера и "массой".
Горит ли контрольная лампа?
-
Перейти к операции 4
Перейти к операции 6
4
Отсоединить разъём контроллера ЭСУД.
Присоединить контрольную лампу между клеммой 65 разъема контроллера ЭСУД и массой.
Горит ли контрольная лампа?
-
Перейти к операции 5
Перейдите к Шагу 7
5
Устранить высокое напряжение или "массу" в проводе между клеммой 2 разъема клапана продувки адсорбера и клеммой 65 разъема контроллера ЭСУД.
Обнулить коды неисправностей на контроллере ЭСУД.
Провести проверку системы диагностики.
Закончен ли ремонт?
-
Система в норме
-
6
Отсоединить разъем клапана продувки адсорбера.
Подключить контрольную лампу между клеммой 1 разъема клапана продувки адсорбера и аккумулятором.
Горит ли контрольная лампа?
-
Перейдите к Шагу 7
Перейдите к Шагу 9
7
Отсоединить разъём контроллера ЭСУД.
Присоединить контрольную лампу между клеммой 65 разъема контроллера ЭСУД и массой.
Горит ли контрольная лампа?
-
Перейдите к Шагу 8
Перейдите к Шагу 10
8
Устранить низкое напряжение в проводе между клеммой 2 разъема клапана продувки адсорбера и клеммой 65 разъема контроллера ЭСУД.
Обнулить коды неисправностей на контроллере ЭСУД.
Провести проверку системы диагностики.
Закончен ли ремонт?
-
Система в норме
-
9
Заменить клапан продувки адсорбера.
Обнулить коды неисправностей на контроллере ЭСУД.
Провести проверку системы диагностики.
Закончен ли ремонт?
-
Перейдите к Шагу 10
-
10
Используя сканирующий прибор, очистить диагностические коды неисправностей.
Запустить двигатель и дать ему поработать на холостом ходу при нормальной рабочей температуре.
Совершить поездку для установки кодов неисправности, как это указано во вспомогательном тексте.
Сканирующий прибор определяет эту диагностику как прошедшую и успешную?
-
Перейдите к Шагу 11
Перейти к операции 2
11
Проверьте, не установлены ли дополнительные диагностические коды неисправности.
Отображены ли диагностические коды неисправности, которые не были продиагностированы?
-
Перейти к соответствующей таблице диагностических кодов неисправности
Система в норме
ДИАГНОСТИЧЕСКИЙ КОД НЕИСПРАВНОСТИ (dtc) - p0462 ДАТЧИК УРОВНЯ ТОПЛИВА, НИЗКОЕ НАПРЯЖЕНИЕ
Описание схемы
ЭСУД использует вход уровня топлива от датчика уровня топлива для вычисления ожидаемого давления паров в топливной системе. Давление паров изменяется при изменении уровня топлива. Давление паров имеет большое значение для определения правильной работы СУПБ. Датчик уровня топлива также используется для определения слишком высокого или слишком низкого уровня топлива для точного обнаружения неисправностей топливной системы. Диагностический код неисправности определяет застрявший передатчик уровня топлива.
Условия установки кода неисправности.
Напряжение датчика уровня топлива менее 0,2В
Низкое напряжение в цепи датчика уровня топлива.
Действия, выполняемые при установке кода неисправности
Контрольная лампа индикации неисправности не загорается.
Контроллер ЭСУД сохраняет условия, имевшие место в момент установки диагностических кодов неисправности, только как протокол неисправностей.
Эта информация не сохраняется в буфере записей состояния.
Условия очистки кода неисправности/индикации неисправности
Архив диагностических кодов неисправности очищается через 40 последовательных циклов нагрева без неисправностей.
Диагностический код неисправности может быть очищен сканирующим прибором.
Отключение питания контроллера ЭСУД более чем на 10 секунд.
Указания по диагностике
Осмотреть разъемы жгутов на отсутствие снятых клемм, плохого соединения, неисправных замков, деформированных или поврежденных клемм, а также слабого соединения клемм с проводами.
Осмотреть жгут проводов на наличие повреждений.
Забитый датчик уровня топлива может привести к установке кода неисправности. Если код неисправности Р0463 не может быть продублирован, то информация, включенная в стоп-кадр, может быть полезна при определении условий эксплуатации автомобиля при установке кода неисправности в первый раз.
Контроль сопротивления датчика уровня топлива
Пуст = 100 Ом или свыше.
Половина емкости = 32,5 Ом
Полный = 10 Ом и менее.
dtc p0462 - Датчик уровня топлива, низкое напряжение
Шаг
Операция
Значения
Да
Нет
1
Провести проверку бортовой системы диагностики Евро (eobd).
Проверка системы завершена?
-
Перейти к операции 2
Перейти к "Проверка бортовой системы диагностики"
2
Включить зажигание.
Установить диагностический прибор.
Совершить поездку согласно условиям буфера записей состояния, как указано.
Установлен ли диагностический код неисправности Р0462?
Отсоединить электрический разъем датчика топлива от топливного насоса.
Используя цифровой вольтметр, замерить напряжение в сигнальной цепи на клемме 1.
Измеренное напряжение находится в указанном диапазоне?
0,2-4,8В
Перейти к операции 4
Перейти к операции 6
4
Проверить надежное соединение с "массой" топливного бака и устранить неисправность при необходимости.
Ремонт необходим?
-
Перейдите к Шагу 11
Перейти к операции 5
5
Снять датчик топлива с топливного бака
Заново подключить разъем датчика топлива
Контролировать параметр датчика уровня топлива на инструмента сканирования при перемещении поплавка датчика уровня топлива из пустого в полное положение.
Повторить процедуру несколько раз.
Увеличивается ли и затем уменьшается постепенно значение датчика уровня топлива на инструменте сканирования при перемещении поплавка?
Используя сканирующий прибор, очистить диагностические коды неисправностей.
Запустить двигатель и дать ему поработать на холостом ходу при нормальной рабочей температуре.
Совершить поездку для установки кодов неисправности, как это указано во вспомогательном тексте.
Сканирующий прибор определяет эту диагностику как прошедшую и успешную?
-
Перейдите к Шагу 12
Перейти к операции 2
12
Проверьте, не установлены ли дополнительные диагностические коды неисправности.
Отображены ли диагностические коды неисправности, которые не были продиагностированы?
-
Перейти к соответствующей таблице диагностических кодов неисправности
Система в норме
ДИАГНОСТИЧЕСКИЙ КОД НЕИСПРАВНОСТИ (dtc) - p0463 ДАТЧИК УРОВНЯ ТОПЛИВА, ВЫСОКОЕ НАПРЯЖЕНИЕ
Описание схемы
ЭСУД использует вход уровня топлива от датчика уровня топлива для вычисления ожидаемого давления паров в топливной системе. Давление паров изменяется при изменении уровня топлива. Давление паров имеет большое значение для определения правильной работы СУПБ. Датчик уровня топлива также используется для определения слишком высокого или слишком низкого уровня топлива для точного обнаружения неисправностей топливной системы. Диагностический код неисправности определяет застрявший передатчик уровня топлива.
Условия установки кода неисправности.
Напряжение датчика уровня топлива выше 4,8 В
Высокое напряжение в цепи датчика уровня топлива.
Действия, выполняемые при установке кода неисправности
Контрольная лампа индикации неисправности не загорается.
Контроллер ЭСУД сохраняет условия, имевшие место в момент установки диагностических кодов неисправности, только как протокол неисправностей.
Эта информация не сохраняется в буфере записей состояния.
Условия очистки кода неисправности/индикации неисправности
Архив диагностических кодов неисправности очищается через 40 последовательных циклов нагрева без неисправностей.
Диагностический код неисправности может быть очищен сканирующим прибором.
Отключение питания контроллера ЭСУД более чем на 10 секунд.
Указания по диагностике
Осмотреть разъемы жгутов на отсутствие снятых клемм, плохого соединения, неисправных замков, деформированных или поврежденных клемм, а также слабого соединения клемм с проводами.
Осмотреть жгут проводов на наличие повреждений.
Забитый датчик уровня топлива может привести к установке кода неисправности. Если код неисправности Р0463 не может быть продублирован, то информация, включенная в стоп-кадр, может быть полезна при определении условий эксплуатации автомобиля при установке кода неисправности в первый раз.
Контроль сопротивления датчика уровня топлива
Пуст = 100 Ом или свыше.
Половина емкости = 32,5 Ом
Полный = 10 Ом и менее.
dtc p0463 - Датчик уровня топлива, высокое напряжение
Шаг
Операция
Значения
Да
Нет
1
Провести проверку бортовой системы диагностики Евро (eobd).
Проверка системы завершена?
-
Перейти к операции 2
Перейти к "Проверка бортовой системы диагностики"
2
Включить зажигание.
Установить диагностический прибор.
Совершить поездку согласно условиям буфера записей состояния, как указано.
Установлен ли диагностический код неисправности Р0463?
Контролировать параметр датчика уровня топлива на инструмента сканирования при перемещении поплавка датчика уровня топлива из пустого в полное положение.
Повторить процедуру несколько раз.
Увеличивается ли и затем уменьшается постепенно значение датчика уровня топлива на инструменте сканирования при перемещении поплавка?
Используя сканирующий прибор, очистить диагностические коды неисправностей.
Запустить двигатель и дать ему поработать на холостом ходу при нормальной рабочей температуре.
Совершить поездку для установки кодов неисправности, как это указано во вспомогательном тексте.
Сканирующий прибор определяет эту диагностику как прошедшую и успешную?
-
Перейдите к Шагу 12
Перейти к операции 2
12
Проверьте, не установлены ли дополнительные диагностические коды неисправности.
Отображены ли диагностические коды неисправности, которые не были продиагностированы?
-
Перейти к соответствующей таблице диагностических кодов неисправности
Система в норме
ДИАГНОСТИЧЕСКИЙ КОД НЕИСПРАВНОСТИ (dtc) - p0480 НЕИСПРАВНОСТЬ ЦЕПИ РЕЛЕ НИЗКИХ ОБОРОТОВ ВЕНТИЛЯТОРА СИСТЕМЫ ОХЛАЖДЕНИЯ (БЕЗ КОНДИЦИОНЕРА)
Описание схемы
Напряжение зажигания подается напрямую к катушке реле вентилятора системы охлаждения. ЭСУД управляет катушкой, заземляя цепь управления посредством внутреннего переключателя, т.н. драйвера. Основной функцией драйвера является подача "массы" на управляемый компонент. У каждого драйвера имеется линия сброса, контролируемая ЭСУД. Когда ЭСУД дает команду на включение компонента, то напряжение цепи управления должно быть низким (около 0В). Когда ЭСУД дает команду на выключение компонента, то потенциал напряжения цепи должен быть высоким (приблизительно равен напряжению аккумулятора). Если цепь обнаружения неисправности определяет напряжение отличное от ожидаемого, состояние линии неисправности изменится и приведет к установке диагностического кода неисправности.
Реле используется для управления потоком тока высокого напряжения к приводам вентилятора системы охлаждения. Это позволяет драйверу ЭСУД работать только с током относительно низкого напряжения, используемым реле.
Условия установки кода неисправности.
Цепь управления низкими оборотами вентилятора системы охлаждения разомкнута, либо короткозамкнута на "массу".
Действия, выполняемые при установке кода неисправности
Контрольная лампа индикации неисправности не загорается.
Контроллер ЭСУД сохраняет условия, имевшие место в момент установки диагностических кодов неисправности, только как протокол неисправностей.
Эта информация не сохраняется в буфере записей состояния.
Условия очистки кода неисправности/индикации неисправности
Архив диагностических кодов неисправности очищается через 40 последовательных циклов нагрева без неисправностей.
Диагностический код неисправности может быть очищен сканирующим прибором.
Отключение питания контроллера ЭСУД более чем на 10 секунд.
Указания по диагностике
Использование буфера записи состояний и/или протоколов неисправностей может помочь при определении повторяющейся неисправности. Если код неисправности не может быть продублирован, то информация, включенная в буфер записей состояния и/или протоколы неисправностей может быть полезна при определении расстояния после установки кода неисправности. Счетчик числа отказов и счетчик числа прогонов могут также использоваться для определения числа циклов запуска, в течение которых диагностика показывала значимые состояния буфера записи состояний (мин-1, скорость автомобиля. температура и т.д.). Это поможет установить время отказа кода неисправности.
Используя цифровой вольтметр, замерить сопротивление между клеммами 85 и 10 в цепи управления реле между разъемом жгута контроллера ЭСУД и "массой".
Показывает ли вольтметр неточное сопротивление?
-
Перейдите к Шагу 12
Перейдите к Шагу 10
5
Повернуть ключ зажигания в положение блокировки.
Отсоединить реле
Подключить контрольную лампу между клеммами 86 и 85 катушки реле в разъеме жгута реле.
Включить зажигание.
Используя сканирующий прибор, дать команду на включение и выключение реле.
Включается или выключается ли контрольная лампа по каждой команде?
-
Перейдите к Шагу 8
Перейти к операции 6
6
При помощи контрольной лампы, подключенной к "массе", проверить цепь питания зажигания в разъеме жгута реле.
Контрольная лампа горит?
-
Перейдите к Шагу 7
Перейдите к Шагу 11
7
Повернуть ключ зажигания в положение блокировки.
Заново подсоединить реле
Отсоединить разъём контроллера ЭСУД, содержащий цепь управления реле..
Включить зажигание.
При помощи проволочной перемычки, подключенной к "массе", проверить цепь питания реле на клемме 10 в разъеме жгута реле.
Работает ли реле?
-
Перейдите к Шагу 9
Перейдите к Шагу 10
8
Проверить соединения на реле.
Найдена ли и устранена ли неисправность?
-
Перейдите к Шагу 14
Перейдите к Шагу 12
9
Проверить соединения на контроллере ЭСУД.
Найдена ли и устранена ли неисправность?
-
Перейдите к Шагу 11
Перейдите к Шагу 13
10
Отремонтировать неисправную цепь управления реле.
Закончен ли ремонт?
-
Перейдите к Шагу 14
-
11
Отремонтировать неисправную цепь питания зажигания.
Закончен ли ремонт?
-
Перейдите к Шагу 14
-
12
Заменить реле.
Замена закончена?
-
Перейдите к Шагу 14
-
13
Заменить контроллер ЭСУД.
Замена закончена?
-
Перейдите к Шагу 14
-
14
Используя сканирующий прибор, очистить диагностические коды неисправностей.
Запустить двигатель и дать ему поработать на холостом ходу при нормальной рабочей температуре.
Совершить поездку для установки кодов неисправности, как это указано во вспомогательном тексте.
Сканирующий прибор определяет эту диагностику как прошедшую и успешную?
-
Перейдите к шагу 15
Перейти к операции 2
15
Проверьте, не установлены ли дополнительные диагностические коды неисправности.
Отображены ли диагностические коды неисправности, которые не были продиагностированы?
-
Перейти к соответствующей таблице диагностических кодов неисправности
Система в норме
ДИАГНОСТИЧЕСКИЙ КОД НЕИСПРАВНОСТИ (dtc) - p0480 НЕИСПРАВНОСТЬ ЦЕПИ РЕЛЕ НИЗКИХ ОБОРОТОВ ВЕНТИЛЯТОРА СИСТЕМЫ ОХЛАЖДЕНИЯ (С КОНДИЦИОНЕРОМ)
Описание схемы
Напряжение зажигания подается напрямую к катушке реле вентилятора системы охлаждения. ЭСУД управляет катушкой, заземляя цепь управления посредством внутреннего переключателя, т.н. драйвера. Основной функцией драйвера является подача "массы" на управляемый компонент. У каждого драйвера имеется линия сброса, контролируемая ЭСУД. Когда ЭСУД дает команду на включение компонента, то напряжение цепи управления должно быть низким (около 0В). Когда ЭСУД дает команду на выключение компонента, то потенциал напряжения цепи должен быть высоким (приблизительно равен напряжению аккумулятора). Если цепь обнаружения неисправности определяет напряжение отличное от ожидаемого, состояние линии неисправности изменится и приведет к установке диагностического кода неисправности.
Реле используется для управления потоком тока высокого напряжения к приводам вентилятора системы охлаждения. Это позволяет драйверу ЭСУД работать только с током относительно низкого напряжения, используемым реле.
Условия установки кода неисправности.
Цепь низких оборотов вентилятора системы охлаждения разомкнута либо же короткозамкнута на аккумулятор или "массу".
Действия, выполняемые при установке кода неисправности
Контрольная лампа индикации неисправности не загорается.
Контроллер ЭСУД сохраняет условия, имевшие место в момент установки диагностических кодов неисправности, только как протокол неисправностей.
Эта информация не сохраняется в буфере записей состояния.
Условия очистки кода неисправности/индикации неисправности
Архив диагностических кодов неисправности очищается через 40 последовательных циклов нагрева без неисправностей.
Диагностический код неисправности может быть очищен сканирующим прибором.
Отключение питания контроллера ЭСУД более чем на 10 секунд.
Указания по диагностике
Использование буфера записи состояний и/или протоколов неисправностей может помочь при определении повторяющейся неисправности. Если код неисправности не может быть продублирован, то информация, включенная в буфер записей состояния и/или протоколы неисправностей может быть полезна при определении расстояния после установки кода неисправности. Счетчик числа отказов и счетчик числа прогонов могут также использоваться для определения числа циклов запуска, в течение которых диагностика показывала значимые состояния буфера записи состояний (мин-1, скорость автомобиля. температура и т.д.). Это поможет установить время отказа кода неисправности.
dtc Р0480 - Неисправность цепи реле низких оборотов вентилятора системы охлаждения (с кондиционером)
Шаг
Операция
Значения
Да
Нет
1
Провести проверку бортовой системы диагностики Евро (eobd).
Проверка системы завершена?
-
Перейти к операции 2
Перейти к "Проверка бортовой системы диагностики"
2
Включить зажигание, двигатель не запускать.
Установить диагностический прибор.
Дать команду на включение или выключение реле.
Включается или выключается ли реле по команде?
-
Перейдите к Шагу 3
Перейти к операции 5
3
Повернуть ключ зажигания в положение блокировки.
Отсоединить разъём контроллера электронной системы управления двигателем (ЭСУД).
Включить зажигание.
Используя цифровой вольтметр, замерить ток в цепи управления реле низких оборотов между клеммой 10 и "массой" в течение 2 минут.
Используя цифровой вольтметр, замерить сопротивление между клеммами 85 и 10 в цепи управления реле между разъемом жгута контроллера ЭСУД и "массой".
Показывает ли вольтметр неточное сопротивление?
-
Перейдите к Шагу 12
Перейдите к Шагу 10
5
Повернуть ключ зажигания в положение блокировки.
Отсоединить реле
Подключить контрольную лампу между клеммами 86 и 85 катушки реле в разъеме жгута реле.
Включить зажигание.
Используя сканирующий прибор, дать команду на включение и выключение реле.
Включается или выключается ли контрольная лампа по каждой команде?
-
Перейдите к Шагу 8
Перейти к операции 6
6
При помощи контрольной лампы, подключенной к "массе", проверить цепь питания зажигания в разъеме жгута реле.
Контрольная лампа горит?
-
Перейдите к Шагу 7
Перейдите к Шагу 11
7
Повернуть ключ зажигания в положение блокировки.
Заново подсоединить реле
Отсоединить разъём контроллера ЭСУД, содержащий цепь управления реле..
Включить зажигание.
При помощи проволочной перемычки, подключенной к "массе", проверить цепь питания реле на клемме 10 в разъеме жгута реле.
Работает ли реле?
-
Перейдите к Шагу 9
Перейдите к Шагу 10
8
Проверить соединения на реле.
Найдена ли и устранена ли неисправность?
-
Перейдите к Шагу 14
Перейдите к Шагу 12
9
Проверить соединения на контроллере ЭСУД.
Найдена ли и устранена ли неисправность?
-
Перейдите к Шагу 11
Перейдите к Шагу 13
10
Отремонтировать неисправную цепь управления реле.
Закончен ли ремонт?
-
Перейдите к Шагу 14
-
11
Отремонтировать неисправную цепь питания зажигания.
Закончен ли ремонт?
-
Перейдите к Шагу 14
-
12
Заменить реле.
Замена закончена?
-
Перейдите к Шагу 14
-
13
Заменить контроллер ЭСУД.
Замена закончена?
-
Перейдите к Шагу 14
-
14
Используя сканирующий прибор, очистить диагностические коды неисправностей.
Запустить двигатель и дать ему поработать на холостом ходу при нормальной рабочей температуре.
Совершить поездку для установки кодов неисправности, как это указано во вспомогательном тексте.
Сканирующий прибор определяет эту диагностику как прошедшую и успешную?
-
Перейдите к шагу 15
Перейти к операции 2
15
Проверьте, не установлены ли дополнительные диагностические коды неисправности.
Отображены ли диагностические коды неисправности, которые не были продиагностированы?
-
Перейти к соответствующей таблице диагностических кодов неисправности
Система в норме
ДИАГНОСТИЧЕСКИЙ КОД НЕИСПРАВНОСТИ (dtc) - p0481 НЕИСПРАВНОСТЬ ЦЕПИ РЕЛЕ ВЫСОКИХ ОБОРОТОВ ВЕНТИЛЯТОРА СИСТЕМЫ ОХЛАЖДЕНИЯ (БЕЗ КОНДИЦИОНЕРА)
Описание схемы
Напряжение зажигания подается напрямую к катушке реле вентилятора системы охлаждения. ЭСУД управляет катушкой, заземляя цепь управления посредством внутреннего переключателя, т.н. драйвера. Основной функцией драйвера является подача "массы" на управляемый компонент. У каждого драйвера имеется линия сброса, контролируемая ЭСУД. Когда ЭСУД дает команду на включение компонента, то напряжение цепи управления должно быть низким (около 0В). Когда ЭСУД дает команду на выключение компонента, то потенциал напряжения цепи должен быть высоким (приблизительно равен напряжению аккумулятора). Если цепь обнаружения неисправности определяет напряжение отличное от ожидаемого, состояние линии неисправности изменится и приведет к установке диагностического кода неисправности.
Реле используется для управления потоком тока высокого напряжения к приводам вентилятора системы охлаждения. Это позволяет драйверу ЭСУД работать только с током относительно низкого напряжения, используемым реле.
Условия установки кода неисправности.
Цепь высоких оборотов вентилятора системы охлаждения разомкнута либо же короткозамкнута на аккумулятор или "массу".
Действия, выполняемые при установке кода неисправности
Контрольная лампа индикации неисправности не загорается.
Контроллер ЭСУД сохраняет условия, имевшие место в момент установки диагностических кодов неисправности, только как протокол неисправностей.
Эта информация не сохраняется в буфере записей состояния.
Условия очистки кода неисправности/индикации неисправности
Архив диагностических кодов неисправности очищается через 40 последовательных циклов нагрева без неисправностей.
Диагностический код неисправности может быть очищен сканирующим прибором.
Отключение питания контроллера ЭСУД более чем на 10 секунд.
Указания по диагностике
Использование буфера записи состояний и/или протоколов неисправностей может помочь при определении повторяющейся неисправности. Если код неисправности не может быть продублирован, то информация, включенная в буфер записей состояния и/или протоколы неисправностей может быть полезна при определении расстояния после установки кода неисправности. Счетчик числа отказов и счетчик числа прогонов могут также использоваться для определения числа циклов запуска, в течение которых диагностика показывала значимые состояния буфера записи состояний (мин-1, скорость автомобиля. температура и т.д.). Это поможет установить время отказа кода неисправности.
dtc Р0481 - Неисправность цепи реле высоких оборотов вентилятора системы охлаждения (без кондиционера)
Шаг
Операция
Значения
Да
Нет
1
Провести проверку бортовой системы диагностики Евро (eobd).
Проверка системы завершена?
-
Перейти к операции 2
Перейти к "Проверка бортовой системы диагностики"
2
Включить зажигание, двигатель не запускать.
Установить диагностический прибор.
Дать команду на включение или выключение реле.
Включается или выключается ли реле по команде?
-
Перейдите к Шагу 3
Перейти к операции 5
3
Повернуть ключ зажигания в положение блокировки.
Отсоединить разъём контроллера электронной системы управления двигателем (ЭСУД).
Включить зажигание.
Используя цифровой вольтметр, замерить ток в цепи управления реле высоких оборотов между клеммой 9 и "массой" в течение 2 минут.
Используя цифровой вольтметр, замерить сопротивление между клеммами 85 и 9 в цепи управления реле между разъемом жгута контроллера ЭСУД и "массой".
Показывает ли вольтметр неточное сопротивление?
-
Перейдите к Шагу 12
Перейдите к Шагу 10
5
Повернуть ключ зажигания в положение блокировки.
Отсоединить реле
Подключить контрольную лампу между клеммами 86 и 85 катушки реле в разъеме жгута реле.
Включить зажигание.
Используя сканирующий прибор, дать команду на включение и выключение реле.
Включается или выключается ли контрольная лампа по каждой команде?
-
Перейдите к Шагу 8
Перейти к операции 6
6
При помощи контрольной лампы, подключенной к "массе", проверить цепь питания зажигания в разъеме жгута реле.
Контрольная лампа горит?
-
Перейдите к Шагу 7
Перейдите к Шагу 11
7
Повернуть ключ зажигания в положение блокировки.
Заново подсоединить реле
Отсоединить разъём контроллера ЭСУД, содержащий цепь управления реле..
Включить зажигание.
При помощи проволочной перемычки, подключенной к "массе", проверить цепь питания реле на клемме 10 в разъеме жгута реле.
Работает ли реле?
-
Перейдите к Шагу 9
Перейдите к Шагу 10
8
Проверить соединения на реле.
Найдена ли и устранена ли неисправность?
-
Перейдите к Шагу 14
Перейдите к Шагу 12
9
Проверить соединения на контроллере ЭСУД.
Найдена ли и устранена ли неисправность?
-
Перейдите к Шагу 11
Перейдите к Шагу 13
10
Отремонтировать неисправную цепь управления реле.
Закончен ли ремонт?
-
Перейдите к Шагу 14
-
11
Отремонтировать неисправную цепь питания зажигания.
Закончен ли ремонт?
-
Перейдите к Шагу 14
-
12
Заменить реле.
Замена закончена?
-
Перейдите к Шагу 14
-
13
Заменить контроллер ЭСУД.
Замена закончена?
-
Перейдите к Шагу 14
-
14
Используя сканирующий прибор, очистить диагностические коды неисправностей.
Запустить двигатель и дать ему поработать на холостом ходу при нормальной рабочей температуре.
Совершить поездку для установки кодов неисправности, как это указано во вспомогательном тексте.
Сканирующий прибор определяет эту диагностику как прошедшую и успешную?
-
Перейдите к шагу 15
Перейти к операции 2
15
Проверьте, не установлены ли дополнительные диагностические коды неисправности.
Отображены ли диагностические коды неисправности, которые не были продиагностированы?
-
Перейти к соответствующей таблице диагностических кодов неисправности
Система в норме
ДИАГНОСТИЧЕСКИЙ КОД НЕИСПРАВНОСТИ (dtc) - p0481 НЕИСПРАВНОСТЬ ЦЕПИ РЕЛЕ ВЫСОКИХ ОБОРОТОВ ВЕНТИЛЯТОРА СИСТЕМЫ ОХЛАЖДЕНИЯ (С КОНДИЦИОНЕРОМ)
Описание схемы
Напряжение зажигания подается напрямую к катушке реле вентилятора системы охлаждения. ЭСУД управляет катушкой, заземляя цепь управления посредством внутреннего переключателя, т.н. драйвера. Основной функцией драйвера является подача "массы" на управляемый компонент. У каждого драйвера имеется линия сброса, контролируемая ЭСУД. Когда ЭСУД дает команду на включение компонента, то напряжение цепи управления должно быть низким (около 0В). Когда ЭСУД дает команду на выключение компонента, то потенциал напряжения цепи должен быть высоким (приблизительно равен напряжению аккумулятора). Если цепь обнаружения неисправности определяет напряжение отличное от ожидаемого, состояние линии неисправности изменится и приведет к установке диагностического кода неисправности.
Реле используется для управления потоком тока высокого напряжения к приводам вентилятора системы охлаждения. Это позволяет драйверу ЭСУД работать только с током относительно низкого напряжения, используемым реле.
Условия установки кода неисправности.
Цепь высоких оборотов вентилятора системы охлаждения разомкнута либо же короткозамкнута на аккумулятор или "массу".
Действия, выполняемые при установке кода неисправности
Контрольная лампа индикации неисправности не загорается.
Контроллер ЭСУД сохраняет условия, имевшие место в момент установки диагностических кодов неисправности, только как протокол неисправностей.
Эта информация не сохраняется в буфере записей состояния.
Условия очистки кода неисправности/индикации неисправности
Архив диагностических кодов неисправности очищается через 40 последовательных циклов нагрева без неисправностей.
Диагностический код неисправности может быть очищен сканирующим прибором.
Отключение питания контроллера ЭСУД более чем на 10 секунд.
Указания по диагностике
Использование буфера записи состояний и/или протоколов неисправностей может помочь при определении повторяющейся неисправности. Если код неисправности не может быть продублирован, то информация, включенная в буфер записей состояния и/или протоколы неисправностей может быть полезна при определении расстояния после установки кода неисправности. Счетчик числа отказов и счетчик числа прогонов могут также использоваться для определения числа циклов запуска, в течение которых диагностика показывала значимые состояния буфера записи состояний (мин-1, скорость автомобиля. температура и т.д.). Это поможет установить время отказа кода неисправности.
dtc Р0481 - Неисправность цепи реле высоких оборотов вентилятора системы охлаждения (с кондиционером)
Шаг
Операция
Значения
Да
Нет
1
Провести проверку бортовой системы диагностики Евро (eobd).
Проверка системы завершена?
-
Перейти к операции 2
Перейти к "Проверка бортовой системы диагностики"
2
Включить зажигание, двигатель не запускать.
Установить диагностический прибор.
Дать команду на включение или выключение реле.
Включается или выключается ли реле по команде?
-
Перейдите к Шагу 3
Перейти к операции 5
3
Повернуть ключ зажигания в положение блокировки.
Отсоединить разъём контроллера электронной системы управления двигателем (ЭСУД).
Включить зажигание.
Используя цифровой вольтметр, замерить ток в цепи управления реле высоких оборотов между клеммой 9 и "массой" в течение 2 минут.
Используя цифровой вольтметр, замерить сопротивление между клеммами 85 и 9 в цепи реле высоких оборотов вентилятора системы охлаждения между разъемом жгута контроллера ЭСУД и "массой".
Показывает ли вольтметр неточное сопротивление?
-
Перейдите к Шагу 12
Перейдите к Шагу 10
5
Повернуть ключ зажигания в положение блокировки.
Отсоединить реле
Подключить контрольную лампу между клеммами 86 и 85 катушки реле в разъеме жгута реле.
Включить зажигание.
Используя сканирующий прибор, дать команду на включение и выключение реле.
Включается или выключается ли контрольная лампа по каждой команде?
-
Перейдите к Шагу 8
Перейти к операции 6
6
При помощи контрольной лампы, подключенной к "массе", проверить цепь питания зажигания в разъеме жгута реле.
Контрольная лампа горит?
-
Перейдите к Шагу 7
Перейдите к Шагу 11
7
Повернуть ключ зажигания в положение блокировки.
Заново подсоединить реле
Отсоединить разъём контроллера ЭСУД, содержащий цепь управления реле..
Включить зажигание.
При помощи проволочной перемычки, подключенной к "массе", проверить цепь питания реле на клемме 10 в разъеме жгута реле.
Работает ли реле?
-
Перейдите к Шагу 9
Перейдите к Шагу 10
8
Проверить соединения на реле.
Найдена ли и устранена ли неисправность?
-
Перейдите к Шагу 14
Перейдите к Шагу 12
9
Проверить соединения на контроллере ЭСУД.
Найдена ли и устранена ли неисправность?
-
Перейдите к Шагу 11
Перейдите к Шагу 13
10
Отремонтировать неисправную цепь управления реле.
Закончен ли ремонт?
-
Перейдите к Шагу 14
-
11
Отремонтировать неисправную цепь питания зажигания.
Закончен ли ремонт?
-
Перейдите к Шагу 14
-
12
Заменить реле.
Замена закончена?
-
Перейдите к Шагу 14
-
13
Заменить контроллер ЭСУД.
Замена закончена?
-
Перейдите к Шагу 14
-
14
Используя сканирующий прибор, очистить диагностические коды неисправностей.
Запустить двигатель и дать ему поработать на холостом ходу при нормальной рабочей температуре.
Совершить поездку для установки кодов неисправности, как это указано во вспомогательном тексте.
Сканирующий прибор определяет эту диагностику как прошедшую и успешную?
-
Перейдите к шагу 15
Перейти к операции 2
15
Проверьте, не установлены ли дополнительные диагностические коды неисправности.
Отображены ли диагностические коды неисправности, которые не были продиагностированы?
-
Перейти к соответствующей таблице диагностических кодов неисправности
Система в норме
ДИАГНОСТИЧЕСКИЙ КОД НЕИСПРАВНОСТИ (dtc) - p0501 ОТСУТСТВУЕТ СИГНАЛ СКОРОСТИ АВТОМОБИЛЯ (ТОЛЬКО С МКПП)
Описание схемы
Информация о скорости автомобиля поставляется в ЭСУД датчиком скорости. Это электромагнитный генератор постоянного типа, который устанавливается в КПП и выдает импульсное напряжение, если скорость автомобиля превышает 3 мили/ч (5 км/ч). Уровень напряжения переменного тока и количество импульсов увеличивается с ростом скорости автомобиля. ЭСУД преобразует импульсное напряжение в мили/ч (км/ч) и выдает нужный сигнал на приборную панель для спидометра/счетчика пройденного пути, а также для работы блока системы оптимального регулирования скорости и многофункциональной системы сигнализации. Диагностический код неисправности определит, приемлема ли скорость автомобиля согласно нагрузке и числу оборотов двигателя.
Условия установки кода неисправности.
Скорость автомобиля не изменяется минимум 25 секунд
Число оборотов двигателя больше 2 500 мин-1.
Массовый расход воздуха более 180 мг/вмт.
Действия, выполняемые при установке кода неисправности
Контроллер записывает рабочие условия в момент определения неисправности. Эта информация сохраняется в буфере записей состояния и протоколах неисправностей.
Условия очистки кода неисправности/индикации неисправности
Контрольная лампа индикации неисправности отключается через четыре последовательных цикла зажигания, в которых диагностика не обнаружила неисправность.
Архив диагностических кодов неисправности очищается через 40 последовательных циклов нагрева без неисправностей.
При помощи сканирующего прибора можно обнулить диагностический код(ы) неисправности
Отключение питания контроллера ЭСУД на 10 секунд.
Указания по диагностике
Неустойчивая неисправность может быть вызвана слабым контактом, перетертой изоляции или обрывом проводки под изоляцией.
Сигнальная цепь датчика скорости должна быть тщательно проверена на отсутствие следующего:
Снятые клеммы
Соединение клемм
Неисправность замков
Деформированность
Повреждения клемм
Слабое соединение клемм с проводами
Физическое повреждение жгутов проводов
Обеспечить, чтобы датчик скорости был установлен с правильным моментом в картере КПП.
dtc p0501 - Отсутствует сигнал скорости автомобиля (только с МКПП)
Шаг
Операция
Значения
Да
Нет
1
Провести проверку бортовой системы диагностики Евро (eobd).
Проверка системы завершена?
-
Перейти к операции 2
Перейти к "Проверка бортовой системы диагностики"
2
Примечание: Гонка автомобиля при включенной передаче с полностью провисающими колесами ведет в повреждению полуосей.
Включить зажигание, двигатель не запускать.
Установить диагностический прибор.
Поднять ведущие колеса.
Подпереть нижние рычаги управления таким образом, чтобы полуоси находились в горизонтальном (прямом) положении.
Дать двигателю поработать на холостом ходу при включенном сцеплении.
Скорость автомобиля на инструменте сканирования выше указанного значения?
0 миль/ч
Перейдите к Шагу 3
Перейти к операции 4
3
Включить зажигание, двигатель не запускать.
Просмотреть данные записи состояний и записать параметры.
Совершить поездку в условиях записанных состояний и условиях установки кода неисправности.
Скорость автомобиля на сканирующем приборе выше указанного значения?
0 миль/ч
Перейдите к Шагу 12
Перейти к операции 4
4
Выключите зажигание.
Отсоединить разъем 29 контроллера электронной системы управления двигателем (ЭСУД).
используя цифровой вольтметр, соединенный с массой, измерить напряжение в сигнальной цепи датчика скорости автомобиля (VSS) на клемме 3 при вращении колес.
Напряжение выше или равно указанному значению?
0,5 В
Перейдите к Шагу 12
Перейти к операции 5
5
Замерить сопротивление в сигнальной цепи датчика скорости, вращая колеса.
Сопротивление выше указанного значения?
1950 Ом
Перейти к операции 6
Перейдите к Шагу 7
6
Проверить сигнальную цепь датчика скорости на отсутствие разрыва и устранить неисправность при необходимости.
Закончен ли ремонт?
-
Перейдите к Шагу 12
Перейдите к Шагу 9
7
Находится ли напряжение в пределах или выше указанного значения?
1300-1950 Ом
Перейдите к Шагу 8
Перейдите к Шагу 9
8
Проверить сигнальную цепь датчика скорости на отсутствие короткого замыкания с "массой" или между собой и устранить неисправность при необходимости.
Ремонт необходим?
-
Перейдите к Шагу 12
Перейдите к Шагу 12
9
Снять датчик скорости
Измерить сопротивление между клеммами 1 и 3.
Находится ли сопротивление в пределах установленного значения?
1300-1950 Ом
Перейдите к Шагу 11
Перейдите к Шагу 10
10
Заменить датчик скорости.
Работа закончена?
-
Перейдите к Шагу 12
-
11
Заменить контроллер ЭСУД.
Работа закончена?
-
Перейдите к Шагу 12
-
12
Используя сканирующий прибор, очистить диагностические коды неисправностей.
Запустить двигатель и дать ему поработать на холостом ходу при нормальной рабочей температуре.
Совершить поездку для установки кодов неисправности, как это указано во вспомогательном тексте.
Сканирующий прибор определяет эту диагностику как прошедшую и успешную?
-
Перейдите к шагу 15
Перейти к операции 2
13
Проверьте, не установлены ли дополнительные диагностические коды неисправности.
Отображены ли диагностические коды неисправности, которые не были продиагностированы?
-
Перейти к соответствующей таблице диагностических кодов неисправности
Система в норме
ДИАГНОСТИЧЕСКИЙ КОД НЕИСПРАВНОСТИ (dtc) - p0510 НЕИСПРАВНОСТЬ ЦЕПИ ПЕРЕКЛЮЧАТЕЛЯ ПОЛОЖЕНИЯ ДРОССЕЛЬНОЙ ЗАСЛОНКИ
Описание схемы
Привод регулятора холостого хода главной дроссельной заслонки предназначен для управления частотой вращения на холостом ходу при помощи корпуса дроссельной заслонки. Дроссельная заслонка имеет электропривод для малого угла открытия (0??, 19??). Характеристики потока воздуха для малого и большого угла открытия различаются. Градиент функции массового расхода воздуха датчика положения дроссельной заслонки меньше на малых углах, это обеспечивает более высокую точность при управлении холостым ходом. За пределами холостого хода дроссельная заслонка приводится в действие обычным тросом Боудена.
Переключатель показывает дроссельную заслонку в положении холостого хода при замкнутом контакте. Переключатель закреплен на электроприводе переменного тока и дроссельная заслонка замыкает контакт в зависимости от действительного положения привода.
Условия установки кода неисправности.
Двигатель останавливается и включается зажигание.
Диагностические коды неисправности Р0122, Р0123, Р0222 и Р0223 не устанавливаются.
Сигнал на выходе основного стабилизатора оборотов холостого хода выше положения заслонки на +2,5° и заслонка находится в открытом состоянии минимум 0,2 секунды.
или
Диагностические коды неисправности Р0122, Р0123, Р0222 и Р0223 не устанавливаются.
Выходной сигнал положения дроссельной заслонки больше 30??, и заслонка находится в закрытом состоянии минимум 2 секунды.
Действия, выполняемые при установке кода неисправности
Контроллер записывает рабочие условия в момент определения неисправности. Эта информация сохраняется в буфере записей состояния и протоколах неисправностей.
Условия очистки кода неисправности/индикации неисправности
Контрольная лампа индикации неисправности отключается через четыре последовательных цикла зажигания, в которых диагностика не обнаружила неисправность.
Архив диагностических кодов неисправности очищается через 40 последовательных циклов нагрева без неисправностей.
При помощи сканирующего прибора можно обнулить диагностический код(ы) неисправности
Отключение питания контроллера ЭСУД на 10 секунд.
Указания по диагностике
Неустойчивая неисправность может быть вызвана слабым контактом, перетертой изоляции или обрывом проводки под изоляцией.
Сигнальная цепь датчика скорости должна быть тщательно проверена на отсутствие следующего:
Снятые клеммы
Соединение клемм
Неисправность замков
Деформированность
Повреждения клемм
Слабое соединение клемм с проводами
Физическое повреждение жгутов проводов
Проверить, что датчик скорости автомобиля с надлежащим моментом затяжки установлен на картере коробки передач с главной передачей в сборе.
dtc p0510 Неисправность цепи переключателя положения дроссельной заслонки
Шаг
Операция
Значения
Да
Нет
1
Провести проверку бортовой системы диагностики Евро (eobd).
Проверка системы завершена?
-
Перейти к операции 2
Перейти к "Проверка бортовой системы диагностики"
2
Повернуть ключ зажигания в положение блокировки.
Отсоединить разъём привода регулятора холостого хода главной дроссельной заслонки.
Отсоединить разъём контроллера ЭСУД.
Проверить провод между клеммой 6 разъема стабилизатора оборотов холостого хода и клеммой 55 контроллера ЭСУД на отсутствие короткого замыкания и разрыв.
Проблема найдена?
-
Перейти к операции 4
Перейдите к Шагу 3
3
Проверить провод между клеммой 6 и клеммой 55 контроллера ЭСУД на отсутствие высокого напряжения и разрыв.
Проблема найдена?
-
Перейти к операции 4
Перейти к операции 5
4
Повернуть ключ зажигания в положение блокировки.
Отремонтировать провод или клемму разъема, если необходимо.
Очистить все диагностические коды неисправности из контроллера ЭСУД.
Провести диагностическую проверку системы (запустить двигатель и включить блокировку).
Закончен ли ремонт?
-
Система в норме
-
5
Устранить короткое замыкание с аккумулятором или "массой" провода между клеммой 2 разъема клапана продувки адсорбера и клеммой 79 разъема контроллера ЭСУД.
Обнулить коды неисправностей на контроллере ЭСУД.
Провести проверку системы диагностики.
Закончен ли ремонт?
-
Перейти к операции 6
-
6
Используя сканирующий прибор, очистить диагностические коды неисправностей.
Запустить двигатель и дать ему поработать на холостом ходу при нормальной рабочей температуре.
Совершить поездку для установки кодов неисправности, как указано во вспомогательном тексте.
Сканирующий прибор определяет эту диагностику как прошедшую и успешную?
-
Перейдите к Шагу 7
Перейти к операции 2
7
Проверьте, не установлены ли дополнительные диагностические коды неисправности.
Отображены ли диагностические коды неисправности, которые не были продиагностированы?
-
Перейти к соответствующей таблице диагностических кодов неисправности
Система в норме
ДИАГНОСТИЧЕСКИЙ КОД НЕИСПРАВНОСТИ (dtc) - p1511 НЕИСПРАВНОСТЬ ЦЕПИ ПРИВОДА ЗАРЯДА НА ХОЛОСТОМ ХОДУ
Описание схемы
Привод регулятора холостого хода главной дроссельной заслонки предназначен для управления частотой вращения на холостом ходу при помощи корпуса дроссельной заслонки. Дроссельная заслонка имеет электропривод для малого угла открытия (0°, 19°). Характеристики потока воздуха для малого и большого угла открытия различаются. Так как функция массового расхода воздуха TPS сокращается на малых углах, это обеспечивает более высокую точность при управлении холостым ходом. За пределами холостого хода дроссельная заслонка приводится в действие классическим тросом акселератора.
Мотор постоянного тока дает команду приводу на работу на холостом ходу.
Условия установки кода неисправности.
Двигатель работает.
Положение дроссельной заслонки устанавливается между 0,2° и 5,6°.
Диагностические коды неисправности Р0222 и Р0223 не устанавливаются.
Контрольный диапазон mtia выше 35% или менее −35%, как минимум в течение 5 секунд.
Действия, выполняемые при установке кода неисправности
Контрольная лампа индикации неисправности загорается после трех последовательных поездок с неисправностью.
Контроллер записывает рабочие условия в момент определения неисправности. Эта информация сохраняется в буфере записей состояния и протоколах неисправностей.
Условия очистки кода неисправности/индикации неисправности
Контрольная лампа индикации неисправности отключается через четыре последовательных цикла зажигания, в которых диагностика не обнаружила неисправность.
Архив диагностических кодов неисправности очищается через 40 последовательных циклов нагрева без неисправностей.
Диагностический код неисправности может быть очищен сканирующим прибором.
Отключение питания контроллера ЭСУД более чем на 10 секунд.
Указания по диагностике
Неустойчивая неисправность может быть вызвана слабым контактом, перетертой изоляции или обрывом проводки под изоляцией.
Любая цепь, подозреваемая на создание неустойчивой неисправности, должна быть тщательно проверена на следующие обстоятельства.
Снятые клеммы
Соединение клемм
Неисправность замков
Деформированность
Повреждения клемм
Слабое соединение клемм с проводами
Физическое повреждение жгутов проводов
dtc p1511 Неисправность цепи привода заряда на холостом ходу
Шаг
Операция
Значения
Да
Нет
1
Провести проверку бортовой системы диагностики (eobd).
Подключить сканирующий прибор к колодке диагностики.
Включить зажигание.
Отображает ли сканирующий прибор последовательную информацию?
-
Перейти к операции 4
Попробовать другой сканирующий инструмент.
4
Запустить двигатель.
Двигатель запускается?
-
Перейти к операции 5
Перейти к пункту "Коленчатый вал проворачивается, но двигатель не запускается"
5
Повернуть ключ зажигания в положение блокировки.
Подключить сканирующий прибор к колодке диагностики.
Включить зажигание.
Какие-либо диагностические коды неисправности отображаются?
-
Перейти к операции 6
Попробовать другой сканирующий инструмент.
6
См. соответствующую таблицу диагностических кодов неисправности.
Только один диагностический код неисправности определен как действительный код неисправности p1511?
-
Перейдите к Шагу 7
Перейти к соответствующей таблице диагностических кодов неисправности и перейти к "Несколько кодов неисправности"
7
Повернуть ключ зажигания в положение блокировки.
Отсоединить разъём привода регулятора холостого хода главной дроссельной заслонки.
Отсоединить разъём контроллера ЭСУД.
Замерить сопротивление между клеммой 4 разъема регулятора холостого хода и клеммой 43 разъема ЭСУД.
Соответствует ли значение сопротивления указанному значению?
0 Ом
Перейдите к Шагу 8
Перейдите к Шагу 9
8
Замерить сопротивление между клеммой 8 разъема регулятора холостого хода и клеммой 19 разъема ЭСУД.
Находится ли значение сопротивления в пределах указанного значения?
0 Ом
Перейдите к Шагу 10
Перейдите к Шагу 11
9
Отремонтировать провод или клемму разъема, если необходимо.
Очистить все диагностические коды неисправности из контроллера ЭСУД.
Провести проверку системы диагностики.
Закончен ли ремонт?
-
Система в норме
Перейдите к Шагу 8
10
Отремонтировать провод или клемму разъема, если необходимо.
Очистить все диагностические коды неисправности из контроллера ЭСУД.
Провести проверку системы диагностики.
Закончен ли ремонт?
-
Система в норме
Перейдите к Шагу 11
11
Повернуть ключ зажигания в положение блокировки.
Заменить узел корпуса дроссельной заслонки.
Очистить все диагностические коды неисправности из контроллера ЭСУД.
Провести проверку системы диагностики.
Закончен ли ремонт?
-
Система в норме
Перейдите к Шагу 12
12
Повернуть ключ зажигания в положение блокировки.
Заменить контроллер ЭСУД.
Провести проверку системы диагностики.
Закончен ли ремонт?
-
Перейдите к Шагу 13
-
13
Используя сканирующий прибор, очистить диагностические коды неисправностей.
Запустить двигатель и дать ему поработать на холостом ходу при нормальной рабочей температуре.
Совершить поездку для установки кодов неисправности, как это указано во вспомогательном тексте.
Сканирующий прибор определяет эту диагностику как прошедшую и успешную?
-
Перейдите к Шагу 14
Перейти к операции 2
14
Проверьте, не установлены ли дополнительные диагностические коды неисправности.
Отображены ли диагностические коды неисправности, которые не были продиагностированы?
-
Перейти к соответствующей таблице диагностических кодов неисправности
Система в норме
ДИАГНОСТИЧЕСКИЙ КОД НЕИСПРАВНОСТИ (dtc) - p1512 МЕХАНИЧЕСКАЯ ОШИБКА ПРИВОДА ЗАРЯДА НА ХОЛОСТОМ ХОДУ
Описание схемы
Привод регулятора холостого хода главной дроссельной заслонки предназначен для управления частотой вращения на холостом ходу при помощи корпуса дроссельной заслонки. Дроссельная заслонка имеет электропривод для малого угла открытия (0°, 19°). Характеристики потока воздуха для малого и большого угла открытия различаются. Так как функция массового расхода воздуха TPS сокращается на малых углах, это обеспечивает более высокую точность при управлении холостым ходом. За пределами холостого хода дроссельная заслонка приводится в действие классическим тросом акселератора.
Мотор постоянного тока дает команду приводу на работу на холостом ходу.
Условия установки кода неисправности.
Двигатель работает.
Точка установки привода регулятора холостого хода главной дроссельной заслонки (mtia) находится в пределах от 0,2° до 5,6°.
Диагностические коды неисправности Р0222 и Р0223 не устанавливаются.
Контрольный диапазон mtia выше 35% или менее −35%, как минимум в течение 10 секунд.
Механические проблемы.
- проблема с кабелем акселератора
- проблема внутри регулятора оборотов холостого хода: заедание вследствие трения, засорение.
Действия, выполняемые при установке кода неисправности
Контрольная лампа индикации неисправности загорается после трех последовательных поездок с неисправностью.
Контроллер записывает рабочие условия в момент определения неисправности. Эта информация сохраняется в буфере записей состояния и протоколах неисправностей.
Условия очистки кода неисправности/индикации неисправности
Контрольная лампа индикации неисправности отключается через четыре последовательных цикла зажигания, в которых диагностика не обнаружила неисправность.
Архив диагностических кодов неисправности очищается через 40 последовательных циклов нагрева без неисправностей.
Диагностический код неисправности может быть очищен сканирующим прибором.
Отключение питания контроллера ЭСУД более чем на 10 секунд.
Указания по диагностике
Неустойчивая неисправность может быть вызвана слабым контактом, перетертой изоляции или обрывом проводки под изоляцией.
Любая цепь, подозреваемая на создание неустойчивой неисправности, должна быть тщательно проверена на следующие обстоятельства.
Снятые клеммы
Соединение клемм
Неисправность замков
Деформированность
Повреждения клемм
Слабое соединение клемм с проводами
Физическое повреждение жгутов проводов
dtc p1512 - Механическая ошибка привода заряда на холостом ходу
Шаг
Операция
Значения
Да
Нет
1
Провести проверку бортовой системы диагностики (eobd).
Подключить сканирующий прибор к колодке диагностики.
Включить зажигание.
Отображает ли сканирующий прибор последовательную информацию?
-
Перейти к операции 4
Попробовать другой сканирующий инструмент.
4
Запустить двигатель.
Двигатель запускается?
-
Перейти к операции 5
Перейти к пункту "Коленчатый вал проворачивается, но двигатель не запускается"
5
Повернуть ключ зажигания в положение блокировки.
Подключить сканирующий прибор к колодке диагностики.
Включить зажигание.
Какие-либо диагностические коды неисправности отображаются?
-
Перейти к операции 6
Попробовать другой сканирующий инструмент.
6
См. соответствующую таблицу диагностических кодов неисправности.
Только один диагностический код неисправности определен как действительный код неисправности p1512?
-
Перейдите к Шагу 7
Перейти к соответствующей таблице диагностических кодов неисправности и перейти к "Несколько кодов неисправности"
7
Проверить, что трос акселератора привода регулятора холостого хода главной дроссельной заслонки (mtia) не находится на упоре, при необходимости отремонтировать трос акселератора
Ремонт необходим?
-
Перейдите к Шагу 9
Перейдите к Шагу 8
8
Повернуть ключ зажигания в положение блокировки.
Заменить узел корпуса дроссельной заслонки.
Очистить все диагностические коды неисправности из контроллера ЭСУД.
Провести проверку системы диагностики.
Закончен ли ремонт?
-
Перейдите к Шагу 10
-
9
Используя сканирующий прибор, очистить диагностические коды неисправностей.
Запустить двигатель и дать ему поработать на холостом ходу при нормальной рабочей температуре.
Совершить поездку для установки кодов неисправности, как это указано во вспомогательном тексте.
Сканирующий прибор определяет эту диагностику как прошедшую и успешную?
-
Перейдите к Шагу 10
Перейти к операции 2
10
Проверьте, не установлены ли дополнительные диагностические коды неисправности.
Отображены ли диагностические коды неисправности, которые не были продиагностированы?
-
Перейти к соответствующей таблице диагностических кодов неисправности
Система в норме
ДИАГНОСТИЧЕСКИЙ КОД НЕИСПРАВНОСТИ (dtc) - p1513 ФУНКЦИОНАЛЬНАЯ ОШИБКА ПРИВОДА ЗАРЯДА НА ХОЛОСТОМ ХОДУ
Описание схемы
Привод регулятора холостого хода главной дроссельной заслонки предназначен для управления частотой вращения на холостом ходу при помощи корпуса дроссельной заслонки. Дроссельная заслонка имеет электропривод для малого угла открытия (0°, 19°). Характеристики потока воздуха для малого и большого угла открытия различаются. Так как функция массового расхода воздуха TPS сокращается на малых углах, это обеспечивает более высокую точность при управлении холостым ходом. За пределами холостого хода дроссельная заслонка приводится в действие классическим тросом акселератора.
Мотор постоянного тока дает команду приводу на работу на холостом ходу.
Условия установки кода неисправности.
Механические проблемы.
- проблема с кабелем акселератора
- проблема внутри регулятора оборотов холостого хода: заедание вследствие трения, засорение.
Абсолютная или относительная коррекция не верна после 16 попыток.
Действия, выполняемые при установке кода неисправности
Контрольная лампа индикации неисправности не загорается.
Контроллер ЭСУД сохраняет условия, имевшие место в момент установки диагностических кодов неисправности, только как протокол неисправностей.
Эта информация не сохраняется в буфере записей состояния.
Условия очистки кода неисправности/индикации неисправности
Архив диагностических кодов неисправности очищается через 40 последовательных циклов нагрева без неисправностей.
Диагностический код неисправности может быть очищен сканирующим прибором.
Отключение питания контроллера ЭСУД более чем на 10 секунд.
Указания по диагностике
Неустойчивая неисправность может быть вызвана слабым контактом, перетертой изоляции или обрывом проводки под изоляцией.
Любая цепь, подозреваемая на создание неустойчивой неисправности, должна быть тщательно проверена на следующие обстоятельства.
Снятые клеммы
Соединение клемм
Неисправность замков
Деформированность
Повреждения клемм
Слабое соединение клемм с проводами
Физическое повреждение жгутов проводов
dtc p1513 Функциональная ошибка привода заряда на холостом ходу
Шаг
Операция
Значения
Да
Нет
1
Провести проверку бортовой системы диагностики (eobd).
Подключить сканирующий прибор к колодке диагностики.
Включить зажигание.
Отображает ли сканирующий прибор последовательную информацию?
-
Перейти к операции 4
Попробовать другой сканирующий инструмент.
4
Запустить двигатель.
Двигатель запускается?
-
Перейти к операции 5
Перейти к пункту "Коленчатый вал проворачивается, но двигатель не запускается"
5
Повернуть ключ зажигания в положение блокировки.
Подключить сканирующий прибор к колодке диагностики.
Включить зажигание.
Какие-либо диагностические коды неисправности отображаются?
-
Перейти к операции 6
Попробовать другой сканирующий инструмент.
6
См. соответствующую таблицу диагностических кодов неисправности.
Только один диагностический код неисправности определен как действительный код неисправности p1513?
-
Перейдите к Шагу 7
Перейти к соответствующей таблице диагностических кодов неисправности и перейти к "Несколько кодов неисправности"
7
Повернуть ключ зажигания в положение блокировки.
Отсоединить разъём привода регулятора холостого хода главной дроссельной заслонки.
Отсоединить разъём контроллера ЭСУД.
Измерить сопротивление между клеммой 2 разъема привода регулятора холостого хода главной дроссельной заслонки и клеммой 43 разъема контроллера ЭСУД.
Соответствует ли значение сопротивления указанному значению?
0 Ом
Перейдите к Шагу 8
Перейдите к Шагу 9
8
Измерить сопротивление между клеммой 1 разъема привода регулятора холостого хода главной дроссельной заслонки и клеммой 19 разъема контроллера ЭСУД.
Находится ли значение сопротивления в пределах указанного значения?
0 Ом
Перейдите к Шагу 10
Перейдите к Шагу 11
9
Отремонтировать провод или клемму разъема, если необходимо.
Очистить все диагностические коды неисправности из контроллера ЭСУД.
Провести проверку системы диагностики.
Закончен ли ремонт?
-
Система в норме
Перейдите к Шагу 8
10
Отремонтировать провод или клемму разъема, если необходимо.
Очистить все диагностические коды неисправности из контроллера ЭСУД.
Провести проверку системы диагностики.
Закончен ли ремонт?
-
Система в норме
Перейдите к Шагу 11
11
Повернуть ключ зажигания в положение блокировки.
Заменить узел корпуса дроссельной заслонки.
Очистить все диагностические коды неисправности из контроллера ЭСУД.
Провести проверку системы диагностики.
Закончен ли ремонт?
-
Система в норме
Перейдите к Шагу 12
12
Повернуть ключ зажигания в положение блокировки.
Заменить контроллер ЭСУД.
Провести проверку системы диагностики.
Закончен ли ремонт?
-
Перейдите к Шагу 13
-
13
Используя сканирующий прибор, очистить диагностические коды неисправностей (dtc).
Запустить двигатель и дать ему поработать на холостом ходу при нормальной рабочей температуре.
Совершить поездку для установки кодов неисправности, как это указано во вспомогательном тексте.
Сканирующий прибор определяет эту диагностику как прошедшую и успешную?
-
Перейдите к Шагу 14
Перейти к операции 2
14
Проверьте, не установлены ли дополнительные диагностические коды неисправности.
Отображены ли диагностические коды неисправности, которые не были продиагностированы?
-
Перейти к соответствующей таблице диагностических кодов неисправности
Система в норме
ДИАГНОСТИЧЕСКИЙ КОД НЕИСПРАВНОСТИ (dtc) - p0532 СИГНАЛ ДАТЧИКА ДАВЛЕНИЯ В СИСТЕМЕ КОНДИЦИОНИРОВАНИЯ, НИЗКОЕ НАПРЯЖЕНИЕ
Описание схемы
В системе воздушного кондиционирования используется датчик давления воздуха системы кондиционирования (ACP), установленный в контуре высокого давления системы охлаждения кондиционера для контроля давления хладагента в системе охлаждения. Контроллер ЭСУД использует эту информацию для включения высоких оборотов вентиляторов охлаждения при высоком давлении хладагента кондиционера и для поддержания выключенного состояния компрессора кондиционера, когда давление хладагента кондиционера чрезмерно высокое или низкое.
Условия установки кода неисправности.
Давление в системе кондиционирования менее 1,2 кПа
Действия, выполняемые при установке кода неисправности
Контрольная лампа индикации неисправности не загорается.
Контроллер ЭСУД сохраняет условия, имевшие место в момент установки диагностических кодов неисправности, только как протокол неисправностей.
Эта информация не сохраняется в буфере записей состояния.
Условия очистки кода неисправности/индикации неисправности
Архив диагностических кодов неисправности очищается через 40 последовательных циклов нагрева без неисправностей.
Диагностический код неисправности может быть очищен сканирующим прибором.
Отключение питания контроллера ЭСУД более чем на 10 секунд.
Указания по диагностике
На разъемах жгутов проводов контроллера ЭСУД проверить отсутствие выпадения клемм, неверной состыковки, поломанных фиксаторов, деформированности или повреждения клемм и плохого соединения клемм с проводами.
Осмотреть жгут проводов на наличие повреждений. Если жгут проводов в порядке, проконтролировать индикацию давления системы кондиционирования на сканирующем приборе, перемещая разъемы и жгуты проводов, связанные с датчиком давления системы кондиционирования. Изменение индикации давления в системе кондиционирования укажет на неисправность.
Если диагностический код неисправности Р0532 не сможет быть продублирован, то просмотр записей неисправностей после последнего неудавшейся диагностической проверки, поможет определить, как часто происходило состояние, приводившее к установке диагностического кода неисправности. Это поможет продиагностировать условия.
dtc p0532 Сигнал датчика давления в системе кондиционирования, низкое напряжение
Шаг
Операция
Значения
Да
Нет
1
Провести проверку бортовой системы диагностики (eobd).
Проверка системы завершена?
-
Перейти к операции 2
Перейти к "Проверка бортовой системы диагностики"
2
При работающем с оборотами холостого хода двигателе установить сканирующий прибор.
Отображаемое на сканирующем приборе напряжение давления системы воздушного кондиционирования ниже заданного значения?
0,06 В
Перейдите к Шагу 3
Перейти к операции 4
3
Выключить зажигание.
Отсоединить разъем датчика абсолютного давления в коллекторе (МАР).
Перемкнуть накоротко клемму 3 сигнальной цепи датчика системы кондиционирования с клеммой 1 цепи опорного напряжения 5 В.
Включить зажигание.
Находится ли значение напряжения датчика системы кондиционирования выше указанного значения?
4,9 В
Перейти к операции 5
Перейти к операции 6
4
Включить зажигание, не запуская двигатель. Просмотреть записи состояний и записать параметры.
Совершить поездку в условиях записанных состояний и условий установки кода неисправности.
Находится ли значение напряжения датчика системы кондиционирования на инструменте сканирования ниже указанного значения?
Осмотреть клеммы электроразъема жгута датчика acp, указанные ниже условия должны отсутствовать:
Слабый контакт
Соответствующего контактного напряжения
Слабое соединение клемм с проводами
Проблема найдена?
-
Перейдите к Шагу 8
Перейдите к Шагу 9
6
Выключить зажигание.
Снять перемычку.
Проверить сигнальную цепь датчика acp от клеммы 3 до В+ с помощью контрольной лампы.
Включить зажигание.
Находится ли показание инструмента сканирования выше указанного значения?
4,0 В
Перейдите к Шагу 7
Перейдите к Шагу 12
7
Проверить отсутствие обрыва или короткого замыкания на землю в цепи опорного напряжения 5 В датчика acp.
Проблема найдена?
-
Перейдите к Шагу 10
Перейдите к Шагу 11
8
Восстановить клеммы соединения как необходимо.
Работа закончена?
-
Перейдите к Шагу 14
-
9
Заменить датчик давления системы кондиционирования.
Работа закончена?
-
Перейдите к Шагу 14
-
10
Восстановить цепь опорного напряжения 5 В датчика acp.
Работа закончена?
-
Перейдите к Шагу 14
-
11
Заменить контроллер ЭСУД.
Работа закончена?
-
Перейдите к Шагу 14
-
12
Проверить сигнальную цепь датчика давления системы кондиционирования на отсутствие следующего:
Разрыва
Короткого замыкания с "массой"
Короткое замыкание с "массой" датчика
Проблема найдена?
-
Перейдите к Шагу 13
Перейдите к Шагу 11
13
Восстановить сигнальную цепь датчика acp
Работа закончена?
-
Перейдите к Шагу 14
-
14
Используя сканирующий прибор, очистить диагностические коды неисправностей.
Запустить двигатель и дать ему поработать на холостом ходу при нормальной рабочей температуре.
Совершить поездку для установки кодов неисправности, как это указано во вспомогательном тексте.
Сканирующий прибор определяет эту диагностику как прошедшую и успешную?
-
Перейдите к шагу 15
Перейти к операции 2
15
Проверьте, не установлены ли дополнительные диагностические коды неисправности.
Отображены ли диагностические коды неисправности, которые не были продиагностированы?
-
Перейти к соответствующей таблице диагностических кодов неисправности
Система в норме
ДИАГНОСТИЧЕСКИЙ КОД НЕИСПРАВНОСТИ (dtc) - p0533 СИГНАЛ ДАТЧИКА ДАВЛЕНИЯ В СИСТЕМЕ КОНДИЦИОНИРОВАНИЯ, ВЫСОКОЕ НАПРЯЖЕНИЕ
Описание схемы
В системе воздушного кондиционирования используется датчик давления воздуха системы кондиционирования (ACP), установленный в контуре высокого давления системы охлаждения кондиционера для контроля давления хладагента в системе охлаждения. Контроллер ЭСУД использует эту информацию для включения высоких оборотов вентиляторов охлаждения при высоком давлении хладагента кондиционера и для поддержания выключенного состояния компрессора кондиционера, когда давление хладагента кондиционера чрезмерно высокое или низкое.
Условия установки кода неисправности.
Давление воздушного кондиционера более 293 кПа.
Действия, выполняемые при установке кода неисправности
Контрольная лампа индикации неисправности не загорается.
Контроллер ЭСУД сохраняет условия, имевшие место в момент установки диагностических кодов неисправности, только как протокол неисправностей.
Эта информация не сохраняется в буфере записей состояния.
Условия очистки кода неисправности/индикации неисправности
Архив диагностических кодов неисправности очищается через 40 последовательных циклов нагрева без неисправностей.
Диагностический код неисправности может быть очищен сканирующим прибором.
Отключение питания контроллера ЭСУД более чем на 10 секунд.
Указания по диагностике
На разъемах жгутов проводов контроллера ЭСУД проверить отсутствие выпадения клемм, неверной состыковки, поломанных фиксаторов, деформированности или повреждения клемм и плохого соединения клемм с проводами.
Осмотреть жгут проводов на наличие повреждений. Если жгут проводов в порядке, проконтролировать индикацию давления системы кондиционирования на сканирующем приборе, перемещая разъемы и жгуты проводов, связанные с датчиком давления системы кондиционирования. Изменение индикации давления в системе кондиционирования укажет на неисправность.
Если диагностический код неисправности Р0533 не сможет быть продублирован, то просмотр записей неисправностей после последнего неудавшейся диагностической проверки, поможет определить, как часто происходило состояние, приводившее к установке диагностического кода неисправности. Это поможет продиагностировать условия.
dtc p0533 Сигнал датчика давления в системе кондиционирования, высокое напряжение
Шаг
Операция
Значения
Да
Нет
1
Провести проверку бортовой системы диагностики (eobd).
Проверка системы завершена?
-
Перейти к операции 2
Перейти к "Проверка бортовой системы диагностики"
2
При работающем с оборотами холостого хода двигателе установить сканирующий прибор.
Отображаемое на сканирующем приборе напряжение давления системы воздушного кондиционирования ниже заданного значения?
0,06 В
Перейдите к Шагу 3
Перейти к операции 4
3
Выключить зажигание.
Отсоединить электроразъем датчика МАР.
Перемкнуть накоротко клемму 3 сигнальной цепи датчика системы кондиционирования с клеммой 1 цепи опорного напряжения 5 В.
Включить зажигание.
Находится ли значение напряжения датчика системы кондиционирования выше указанного значения?
4,9 В
Перейти к операции 5
Перейти к операции 6
4
Включить зажигание, не запуская двигатель. Просмотреть записи состояний и записать параметры.
Совершить поездку в условиях записанных состояний и условий установки кода неисправности.
Отображаемое на сканирующем приборе напряжение абсолютного давления в коллекторе (acp) ниже заданного значения?
Осмотреть клеммы электроразъема жгута датчика acp, указанные ниже условия должны отсутствовать:
Слабый контакт
Соответствующего контактного напряжения
Слабое соединение клемм с проводами
Проблема найдена?
-
Перейдите к Шагу 8
Перейдите к Шагу 9
6
Выключить зажигание.
Снять перемычку.
Проверить сигнальную цепь датчика acp от клеммы 3 до В+ с помощью контрольной лампы.
Включить зажигание.
Находится ли показание инструмента сканирования выше указанного значения?
4,0 В
Перейдите к Шагу 7
Перейдите к Шагу 12
7
Проверить отсутствие обрыва или короткого замыкания на землю в цепи опорного напряжения 5 В датчика acp.
Проблема найдена?
-
Перейдите к Шагу 10
Перейдите к Шагу 11
8
Восстановить клеммы соединения как необходимо.
Работа закончена?
-
Перейдите к Шагу 14
-
9
Заменить датчик давления системы кондиционирования.
Работа закончена?
-
Перейдите к Шагу 14
-
10
Восстановить цепь опорного напряжения 5 В датчика acp.
Работа закончена?
-
Перейдите к Шагу 14
-
11
Заменить контроллер ЭСУД.
Работа закончена?
-
Перейдите к Шагу 14
-
12
Проверить сигнальную цепь датчика давления системы кондиционирования на отсутствие следующего:
Разрыва
Короткого замыкания с "массой"
Короткое замыкание с "массой" датчика
Проблема найдена?
-
Перейдите к Шагу 13
Перейдите к Шагу 11
13
Восстановить сигнальную цепь датчика acp
Работа закончена?
-
Перейдите к Шагу 14
-
14
Используя сканирующий прибор, очистить диагностические коды неисправностей.
Запустить двигатель и дать ему поработать на холостом ходу при нормальной рабочей температуре.
Совершить поездку для установки кодов неисправности, как это указано во вспомогательном тексте.
Сканирующий прибор определяет эту диагностику как прошедшую и успешную?
-
Перейдите к шагу 15
Перейти к операции 2
15
Проверьте, не установлены ли дополнительные диагностические коды неисправности.
Отображены ли диагностические коды неисправности, которые не были продиагностированы?
-
Перейти к соответствующей таблице диагностических кодов неисправности
Система в норме
ДИАГНОСТИЧЕСКИЙ КОД НЕИСПРАВНОСТИ (dtc) - p1537 РЕЛЕ КОМПРЕССОРА КОНДИЦИОНЕРА, ВЫСОКОЕ НАПРЯЖЕНИЕ В ЦЕПИ
Описание схемы
Система кондиционирования воздуха использует датчик давления хладагента, установленный в зоне высокого давления системы для контроля давления хладагента. ЭСУД использует данную информацию для включения вентиляторов системы охлаждения двигателя при высоком давлении хладагента, а также для того, чтобы не включать компрессор при слишком высоком или слишком низком давлении хладагента системы кондиционирования.
Датчик давления системы кондиционирования работает аналогично другим трехпроводным датчикам. Контроллер ЭСУД выдает опорный сигнал 5,0В и служит "массой" для датчика. Изменения давления хладагента приводят к изменениям на входе датчика давления системы кондиционирования в контроллер ЭСУД. ЭСУД контролирует сигнальную цепь датчика давления системы кондиционирования и может определить, когда сигнал выходит за допустимые пределы диапазона датчика. Когда сигнал находится вне диапазона в течение длительного периода времени, ЭСУД не даст муфте компрессора системы кондиционирования войти в зацепление. Это выполнено для защиты компрессора.
Условия установки кода неисправности.
Цепь реле компрессора системы кондиционирования воздуха короткозамкнута на аккумулятор.
Действия, выполняемые при установке кода неисправности
Контрольная лампа индикации неисправности не загорается.
Контроллер ЭСУД сохраняет условия, имевшие место в момент установки диагностических кодов неисправности, только как протокол неисправностей.
Эта информация не сохраняется в буфере записей состояния.
Условия очистки кода неисправности/индикации неисправности
Архив диагностических кодов неисправности очищается через 40 последовательных циклов нагрева без неисправностей.
Диагностический код неисправности может быть очищен сканирующим прибором.
Отключение питания контроллера ЭСУД более чем на 10 секунд.
Указания по диагностике
Осмотреть разъемы жгутов на отсутствие снятых клемм, плохого соединения, неисправных замков, деформированных или поврежденных клемм, а также слабого соединения клемм с проводами на контроллере ЭСУД.
Осмотреть жгут проводов на наличие повреждений. Если жгут проводов в порядке, проконтролировать индикацию давления системы кондиционирования на сканирующем приборе, перемещая разъемы и жгуты проводов, связанные с датчиком давления системы кондиционирования. Изменение индикации давления в системе кондиционирования укажет на неисправность.
Если диагностический код неисправности Р1537 не сможет быть продублирован, то просмотр записей неисправностей после последнего неудавшейся диагностической проверки, поможет определить, как часто происходило состояние, приводившее к установке диагностического кода неисправности. Это поможет продиагностировать условия.
dtc p1537 - Реле компрессора кондиционера, высокое напряжение в цепи
Шаг
Операция
Значения
Да
Нет
1
Провести проверку бортовой системы диагностики (eobd).
Проверка системы завершена?
-
Перейти к операции 2
Перейти к "Проверка бортовой системы диагностики"
2
Повернуть ключ зажигания в положение блокировки.
Отсоединить реле компрессора системы кондиционирования.
Замерить сопротивление между клеммами 85 и 86 реле компрессора системы кондиционирования.
Сопротивление в пределах установленного значения?
0 Ом
Перейдите к Шагу 3
Перейдите к Шагу 7
3
Повернуть ключ зажигания в положение блокировки.
При помощи контрольной лампы, подключенной к "массе", проверить цепь зажигания на клемме 86 в разъеме жгута реле.
Контрольная лампа горит?
-
Перейти к операции 5
Перейти к операции 4
4
Устранить короткое замыкание на аккумулятор между клеммой выключателя зажигания и клеммой 86 реле компрессора кондиционера.
Закончен ли ремонт?
-
Перейдите к Шагу 9
-
5
Повернуть ключ зажигания в положение блокировки.
Отсоединить контроллер ЭСУД.
При помощи контрольной лампы, подключенной к "массе", проверить цепь зажигания на клемме 85 в разъеме жгута реле.
Контрольная лампа горит?
-
Перейдите к Шагу 8
Перейти к операции 6
6
Устранить короткое замыкание на аккумулятор между клеммой 41 разъема электропроводки контроллера ЭСУД и клеммой 86 реле компрессора кондиционера.
Закончен ли ремонт?
-
Перейдите к Шагу 9
-
7
Заменить реле компрессора кондиционера.
Замена закончена?
-
Перейдите к Шагу 9
-
8
Повернуть ключ зажигания в положение блокировки.
Заменить контроллер ЭСУД.
Закончен ли ремонт?
-
Перейдите к Шагу 9
-
9
Используя сканирующий прибор, очистить диагностические коды неисправностей.
Запустить двигатель и дать ему поработать на холостом ходу при нормальной рабочей температуре.
Совершить поездку для установки кодов неисправности, как это указано во вспомогательном тексте.
Сканирующий прибор определяет эту диагностику как прошедшую и успешную?
-
Перейдите к Шагу 10
Перейти к операции 2
10
Проверьте, не установлены ли дополнительные диагностические коды неисправности.
Отображены ли диагностические коды неисправности, которые не были продиагностированы?
-
Перейти к соответствующей таблице диагностических кодов неисправности
Система в норме
ДИАГНОСТИЧЕСКИЙ КОД НЕИСПРАВНОСТИ (dtc) - p1538 РЕЛЕ КОМПРЕССОРА КОНДИЦИОНЕРА, НИЗКОЕ НАПРЯЖЕНИЕ В ЦЕПИ
Описание схемы
Система кондиционирования воздуха использует датчик давления хладагента, установленный в зоне высокого давления системы для контроля давления хладагента. ЭСУД использует данную информацию для включения вентиляторов системы охлаждения двигателя при высоком давлении хладагента, а также для того, чтобы не включать компрессор при слишком высоком или слишком низком давлении хладагента системы кондиционирования.
Датчик давления системы кондиционирования работает аналогично другим трехпроводным датчикам. Контроллер ЭСУД выдает опорный сигнал 5,0В и служит "массой" для датчика. Изменения давления хладагента приводят к изменениям на входе датчика давления системы кондиционирования в контроллер ЭСУД. ЭСУД контролирует сигнальную цепь датчика давления системы кондиционирования и может определить, когда сигнал выходит за допустимые пределы диапазона датчика. Когда сигнал находится вне диапазона в течение длительного периода времени, ЭСУД не даст муфте компрессора системы кондиционирования войти в зацепление. Это выполнено для защиты компрессора.
Условия установки кода неисправности.
Цепь реле компрессора системы кондиционирования воздуха короткозамкнута на "массу" или разомкнута.
Действия, выполняемые при установке кода неисправности
Контрольная лампа индикации неисправности не загорается.
Контроллер ЭСУД сохраняет условия, имевшие место в момент установки диагностических кодов неисправности, только как протокол неисправностей.
Эта информация не сохраняется в буфере записей состояния.
Условия очистки кода неисправности/индикации неисправности
Архив диагностических кодов неисправности очищается через 40 последовательных циклов нагрева без неисправностей.
Диагностический код неисправности может быть очищен сканирующим прибором.
Отключение питания контроллера ЭСУД более чем на 10 секунд.
Указания по диагностике
Осмотреть разъемы жгутов на отсутствие снятых клемм, плохого соединения, неисправных замков, деформированных или поврежденных клемм, а также слабого соединения клемм с проводами на контроллере ЭСУД.
Осмотреть жгут проводов на наличие повреждений. Если жгут проводов в порядке, проконтролировать индикацию давления системы кондиционирования на сканирующем приборе, перемещая разъемы и жгуты проводов, связанные с датчиком давления системы кондиционирования. Изменение индикации давления в системе кондиционирования укажет на неисправность.
Если диагностический код неисправности Р1538 не сможет быть продублирован, то просмотр записей неисправностей после последнего неудавшейся диагностической проверки, поможет определить, как часто происходило состояние, приводившее к установке диагностического кода неисправности. Это поможет продиагностировать условия.
dtc p1538 - Реле компрессора кондиционера, низкое напряжение в цепи
Шаг
Операция
Значения
Да
Нет
1
Провести проверку бортовой системы диагностики (eobd).
Проверка системы завершена?
-
Перейти к операции 2
Перейти к "Проверка бортовой системы диагностики"
2
Повернуть ключ зажигания в положение блокировки.
Отсоединить реле компрессора системы кондиционирования.
Замерить сопротивление между клеммами 85 и 86 реле компрессора системы кондиционирования.
Сопротивление в пределах установленного значения?
0 Ом
Перейдите к Шагу 3
Перейдите к Шагу 7
3
Повернуть ключ зажигания в положение блокировки.
При помощи контрольной лампы, подключенной к "массе", проверить цепь зажигания на клемме 86 в разъеме жгута реле.
Контрольная лампа горит?
-
Перейти к операции 5
Перейти к операции 4
4
Устранить короткое замыкание на массу между клеммой 4 выключателя зажигания и клеммой 86 реле компрессора воздушного кондиционера.
Закончен ли ремонт?
-
Перейдите к Шагу 9
-
5
5. Повернуть ключ зажигания в положение блокировки.
Отсоединить контроллер ЭСУД.
При помощи контрольной лампы, подключенной к "массе", проверить цепь зажигания на клемме 86 в разъеме жгута реле.
Контрольная лампа горит?
-
Перейдите к Шагу 8
Перейти к операции 6
6
Устранить короткое замыкание на "массу" между клеммой 41 разъема электропроводки контроллера ЭСУД и клеммой 86 реле компрессора кондиционера.
Закончен ли ремонт?
-
Перейдите к Шагу 9
-
7
Заменить реле компрессора кондиционера.
Замена закончена?
-
Перейдите к Шагу 9
-
8
Повернуть ключ зажигания в положение блокировки.
Заменить контроллер ЭСУД.
Закончен ли ремонт?
-
Перейдите к Шагу 9
-
9
Используя сканирующий прибор, очистить диагностические коды неисправностей.
Запустить двигатель и дать ему поработать на холостом ходу при нормальной рабочей температуре.
Совершить поездку для установки кодов неисправности, как это указано во вспомогательном тексте.
Сканирующий прибор определяет эту диагностику как прошедшую и успешную?
-
Перейдите к Шагу 10
Перейти к операции 2
10
Проверьте, не установлены ли дополнительные диагностические коды неисправности.
Отображены ли диагностические коды неисправности, которые не были продиагностированы?
-
Перейти к соответствующей таблице диагностических кодов неисправности
Система в норме
ДИАГНОСТИЧЕСКИЙ КОД НЕИСПРАВНОСТИ (dtc) - p0562 НАПРЯЖЕНИЕ БОРТОВОЙ СЕТИ (СО СТОРОНЫ ДВИГАТЕЛЯ), НИЗКИЙ УРОВЕНЬ
Описание схемы
ЭСУД отслеживает напряжение зажигания в цепи зажигания до клеммы 29 на контроллере ЭСУД. Диагностический код неисправности устанавливается, когда напряжение опускается ниже калиброванного значения.
Условия установки кода неисправности.
Напряжение в главном реле меньше 5,0 В или больше 26 В в течение 7,6 секунд.
Действия, выполняемые при установке кода неисправности
Контрольная лампа индикации неисправности не загорается.
Контроллер ЭСУД сохраняет условия, имевшие место в момент установки диагностических кодов неисправности, только как протокол неисправностей.
Эта информация не сохраняется в буфере записей состояния.
Условия очистки кода неисправности/индикации неисправности
Архив диагностических кодов неисправности очищается через 40 последовательных циклов нагрева без неисправностей.
Диагностический код неисправности может быть очищен сканирующим прибором.
Отключение питания контроллера ЭСУД более чем на 10 секунд.
Указания по диагностике
Неустойчивая неисправность может быть вызвана слабым контактом, перетертой изоляции или обрывом проводки под изоляцией.
Любая цепь, подозреваемая на создание неустойчивой неисправности, должна быть тщательно проверена на следующие обстоятельства.
Снятые клеммы
Соединение клемм
Неисправность замков
Деформированность
Повреждения клемм
Слабое соединение клемм с проводами
Физическое повреждение жгутов проводов
dtc p0562 Напряжение бортовой сети (со стороны двигателя), низкий уровень
Шаг
Операция
Значения
Да
Нет
1
Провести проверку бортовой системы диагностики (eobd).
Проверка системы завершена?
-
Перейти к операции 2
Перейти к "Проверка бортовой системы диагностики"
2
Подключить сканирующий прибор и очистить диагностические коды неисправностей.
Запустите двигатель и доведите обороты двигателя до указанного значения.
Используя цифровой вольтметр, замерить напряжение зажигания на клемме 29 в цепи зажигания.
Значение напряжения зажигания больше указанного значения?
10 В
Перейти к операции 5
Перейти к операции 6
5
Проверить клеммы жгута контроллера ЭСУД на отсутствие неисправного подключения и устранить неисправность при необходимости.
Ремонт необходим?
-
Перейдите к Шагу 8
Перейдите к Шагу 7
6
Устранить слабый контакт (высокое напряжение) в цепи зажигания.
Закончен ли ремонт?
-
Перейдите к Шагу 8
-
7
Заменить контроллер ЭСУД.
Замена закончена?
-
Перейдите к Шагу 8
-
8
Используя сканирующий прибор, очистить диагностические коды неисправностей.
Запустить двигатель и дать ему поработать на холостом ходу при нормальной рабочей температуре.
Совершить поездку для установки кодов неисправности, как это указано во вспомогательном тексте.
Сканирующий прибор определяет эту диагностику как прошедшую и успешную?
-
Перейдите к Шагу 9
Перейти к операции 2
9
Проверьте, не установлены ли дополнительные диагностические коды неисправности.
Отображены ли диагностические коды неисправности, которые не были продиагностированы?
-
Перейти к соответствующей таблице диагностических кодов неисправности
Система в норме
ДИАГНОСТИЧЕСКИЙ КОД НЕИСПРАВНОСТИ (dtc) - p0563 НАПРЯЖЕНИЕ БОРТОВОЙ СЕТИ (СО СТОРОНЫ ДВИГАТЕЛЯ), СЛИШКОМ ВЫСОКИЙ УРОВЕНЬ
Описание схемы
ЭСУД отслеживает напряжение зажигания в цепи зажигания до клеммы 7 на контроллере ЭСУД. Диагностический код неисправности (DTC) устанавливается, когда напряжение опускается ниже калиброванного значения.
Условия установки кода неисправности.
Напряжение главного реле выше 7,9 В.
Действия, выполняемые при установке кода неисправности
Контрольная лампа индикации неисправности не загорается.
Контроллер ЭСУД сохраняет условия, имевшие место в момент установки диагностических кодов неисправности, только как протокол неисправностей.
Эта информация не сохраняется в буфере записей состояния.
Условия очистки кода неисправности/индикации неисправности
Архив диагностических кодов неисправности очищается через 40 последовательных циклов нагрева без неисправностей.
Диагностический код неисправности может быть очищен сканирующим прибором.
Отключение питания контроллера ЭСУД более чем на 10 секунд.
Указания по диагностике
Неустойчивая неисправность может быть вызвана слабым контактом, перетертой изоляции или обрывом проводки под изоляцией.
Любая цепь, подозреваемая на создание неустойчивой неисправности, должна быть тщательно проверена на следующие обстоятельства.
Снятые клеммы
Соединение клемм
Неисправность замков
Деформированность
Повреждения клемм
Слабое соединение клемм с проводами
Физическое повреждение жгутов проводов
dtc p0563 Напряжение бортовой сети (со стороны двигателя), высокий уровень
Шаг
Операция
Значения
Да
Нет
1
Провести проверку бортовой системы диагностики (eobd).
Проверка системы завершена?
-
Перейти к операции 2
Перейти к "Проверка бортовой системы диагностики"
2
Подключить сканирующий прибор и очистить диагностические коды неисправностей.
Запустите двигатель и доведите обороты двигателя до указанного значения.
ЭСУД является центром управления системы впрыска топлива. Она постоянно отслеживает информацию от различных датчиков и управляет системами, которые отвечают за работу автомобиля. ЭСУД также осуществляет функции диагностики системы. Она может распознавать проблемы в работе, оповещать водителя посредством контрольной лампы индикации, а также хранить диагностический код(ы) неисправности(ей), которые определяют проблемные зоны и помогают при проведении ремонта. Электронно-перепрограммируемая постоянная память (EEPROM) используется для хранения информации и калибровок, необходимых для двигателя, КПП и диагностики КПП. ЭСУД использует единицу под наименованием "контрольная сумма" для определения ошибок программного обеспечения. Контрольная сумма это значение равное сумме всех номеров программного обеспечения. ЭСУД складывает все значения в программном обеспечении и, если это значение не равно контрольной сумме, то отображается ошибка контрольной суммы.
Условия установки кода неисправности.
ЭСУД определяет неправильную контрольную сумму.
Действия, выполняемые при установке кода неисправности
Контрольная лампа индикации неисправности загорается после трех последовательных поездок с неисправностью.
Контроллер записывает рабочие условия в момент определения неисправности. Эта информация сохраняется в буфере записей состояния и протоколах неисправностей.
Условия очистки кода неисправности/индикации неисправности
Контрольная лампа индикации неисправности отключается через четыре последовательных цикла зажигания, в которых диагностика не обнаружила неисправность.
Архив диагностических кодов неисправности очищается через 40 последовательных циклов нагрева без неисправностей.
Диагностический код неисправности может быть очищен сканирующим прибором.
Отключение питания контроллера ЭСУД более чем на 10 секунд.
Провести проверку бортовой системы диагностики (eobd).
Проверка системы завершена?
-
Перейти к операции 2
Перейти к "Проверка бортовой системы диагностики"
2
Заменить контроллер ЭСУД.
Замена закончена?
-
Перейдите к Шагу 3
-
3
Используя сканирующий прибор, очистить диагностические коды неисправностей.
Запустить двигатель и дать ему поработать на холостом ходу при нормальной рабочей температуре.
Совершить поездку для установки кодов неисправности, как это указано во вспомогательном тексте.
Сканирующий прибор определяет эту диагностику как прошедшую и успешную?
-
Перейти к операции 4
Перейти к операции 2
4
Проверьте, не установлены ли дополнительные диагностические коды неисправности.
Отображены ли диагностические коды неисправности, которые не были продиагностированы?
-
Перейти к соответствующей таблице диагностических кодов неисправности
Система в норме
ДИАГНОСТИЧЕСКИЙ КОД НЕИСПРАВНОСТИ (dtc) - p0604 КОНТРОЛЛЕР ЭСУД, ОШИБКА ВНУТРЕННЕГО/ВНЕШНЕГО ОЗУ
Описание схемы
ЭСУД является центром управления системы впрыска топлива. Она постоянно отслеживает информацию от различных датчиков и управляет системами, которые отвечают за работу автомобиля. ЭСУД также осуществляет функции диагностики системы. Она может распознавать проблемы в работе, оповещать водителя посредством контрольной лампы индикации, а также хранить диагностический код(ы) неисправности(ей), которые определяют проблемные зоны и помогают при проведении ремонта. Электронно-перепрограммируемая постоянная память (EEPROM) используется для хранения информации и калибровок, необходимых для двигателя, КПП и диагностики КПП. ЭСУД использует единицу под наименованием "контрольная сумма" для определения ошибок программного обеспечения. Контрольная сумма это значение равное сумме всех номеров программного обеспечения. ЭСУД складывает все значения в программном обеспечении и, если это значение не равно контрольной сумме, то отображается ошибка контрольной суммы.
Условия установки кода неисправности.
ЭСУД определяет внутреннюю или внешнюю ошибку ОЗУ.
Действия, выполняемые при установке кода неисправности
Контрольная лампа индикации неисправности загорается после трех последовательных поездок с неисправностью.
Контроллер записывает рабочие условия в момент определения неисправности. Эта информация сохраняется в буфере записей состояния и протоколах неисправностей.
Условия очистки кода неисправности/индикации неисправности
Контрольная лампа индикации неисправности отключается через четыре последовательных цикла зажигания, в которых диагностика не обнаружила неисправность.
Архив диагностических кодов неисправности очищается через 40 последовательных циклов нагрева без неисправностей.
Диагностический код неисправности может быть очищен сканирующим прибором.
Отключение питания контроллера ЭСУД более чем на 10 секунд.
dtc p0604 - Ошибка ОЗУ контроллера ЭСУД
Шаг
Операция
Значения
Да
Нет
1
Провести проверку бортовой системы диагностики (eobd).
Проверка системы завершена?
-
Перейти к операции 2
Перейти к "Проверка бортовой системы диагностики"
2
Заменить контроллер ЭСУД.
Замена закончена?
-
Перейдите к Шагу 3
-
3
Используя сканирующий прибор, очистить диагностические коды неисправностей.
Запустить двигатель и дать ему поработать на холостом ходу при нормальной рабочей температуре.
Совершить поездку для установки кодов неисправности, как это указано во вспомогательном тексте.
Сканирующий прибор определяет эту диагностику как прошедшую и успешную?
-
Перейти к операции 4
Перейти к операции 2
4
Проверьте, не установлены ли дополнительные диагностические коды неисправности.
Отображены ли диагностические коды неисправности, которые не были продиагностированы?
-
Перейти к соответствующей таблице диагностических кодов неисправности
Система в норме
ДИАГНОСТИЧЕСКИЙ КОД НЕИСПРАВНОСТИ (dtc) - p0605 ОШИБКА ЗАПИСИ inmvy КОНТРОЛЛЕРА ЭСУД
Описание схемы
ЭСУД является центром управления системы впрыска топлива. Она постоянно отслеживает информацию от различных датчиков и управляет системами, которые отвечают за работу автомобиля. ЭСУД также осуществляет функции диагностики системы. Она может распознавать проблемы в работе, оповещать водителя посредством контрольной лампы индикации, а также хранить диагностический код(ы) неисправности(ей), которые определяют проблемные зоны и помогают при проведении ремонта. Электронно-перепрограммируемая постоянная память (EEPROM) используется для хранения информации и калибровок, необходимых для двигателя, КПП и диагностики КПП. ЭСУД использует единицу под наименованием "контрольная сумма" для определения ошибок программного обеспечения. Контрольная сумма это значение равное сумме всех номеров программного обеспечения. ЭСУД складывает все значения в программном обеспечении и, если это значение не равно контрольной сумме, то отображается ошибка контрольной суммы.
Условия установки кода неисправности.
ЭСУД определяет ошибку записи inmvy.
Действия, выполняемые при установке кода неисправности
Контрольная лампа индикации неисправности загорается после трех последовательных поездок с неисправностью.
Контроллер записывает рабочие условия в момент определения неисправности. Эта информация сохраняется в буфере записей состояния и протоколах неисправностей.
Условия очистки кода неисправности/индикации неисправности
Контрольная лампа индикации неисправности отключается через четыре последовательных цикла зажигания, в которых диагностика не обнаружила неисправность.
Архив диагностических кодов неисправности очищается через 40 последовательных циклов нагрева без неисправностей.
Диагностический код неисправности может быть очищен сканирующим прибором.
Отключение питания контроллера ЭСУД более чем на 10 секунд.
dtc p0605 Ошибка записи inmvy контроллера ЭСУД
Шаг
Операция
Значения
Да
Нет
1
Провести проверку бортовой системы диагностики (eobd).
Проверка системы завершена?
-
Перейти к операции 2
Перейти к "Проверка бортовой системы диагностики"
2
Заменить контроллер ЭСУД.
Замена закончена?
-
Перейдите к Шагу 3
-
3
Используя сканирующий прибор, очистить диагностические коды неисправностей.
Запустить двигатель и дать ему поработать на холостом ходу при нормальной рабочей температуре.
Совершить поездку для установки кодов неисправности, как это указано во вспомогательном тексте.
Сканирующий прибор определяет эту диагностику как прошедшую и успешную?
-
Перейти к операции 4
Перейти к операции 2
4
Проверьте, не установлены ли дополнительные диагностические коды неисправности.
Отображены ли диагностические коды неисправности, которые не были продиагностированы?
-
Перейти к соответствующей таблице диагностических кодов неисправности
Система в норме
ДИАГНОСТИЧЕСКИЙ КОД НЕИСПРАВНОСТИ (dtc) - p1610 ВЫСОКОЕ НАПРЯЖЕНИЕ В ЦЕПИ ГЛАВНОГО РЕЛЕ
Описание схемы
Когда переключатель зажигания находится в положении ВКЛ, ЭСУД переключит заземление главного реле на свое внешнее заземление.
Диагностический код неисправности устанавливается, когда напряжение опускается ниже калиброванного значения.
Условия установки кода неисправности.
Цепь главного реле короткозамкнута на "массу".
Действия, выполняемые при установке кода неисправности
Контроллер записывает рабочие условия в момент определения неисправности. Эта информация сохраняется в буфере записей состояния и протоколах неисправностей.
Условия очистки кода неисправности/индикации неисправности
Контрольная лампа индикации неисправности отключается через четыре последовательных цикла зажигания, в которых диагностика не обнаружила неисправность.
Архив диагностических кодов неисправности очищается через 40 последовательных циклов нагрева без неисправностей.
При помощи сканирующего прибора можно обнулить диагностический код(ы) неисправности
Отключение питания контроллера ЭСУД на 10 секунд.
Указания по диагностике
Осмотреть разъемы жгутов на отсутствие снятых клемм, плохого соединения, неисправных замков, деформированных или поврежденных клемм, а также слабого соединения клемм с проводами на контроллере ЭСУД.
Осмотреть жгут проводов на наличие повреждений. Если жгут проводов в порядке, проконтролировать индикацию давления системы кондиционирования на сканирующем приборе, перемещая разъемы и жгуты проводов, связанные с датчиком давления системы кондиционирования. Изменение индикации давления в системе кондиционирования укажет на неисправность.
Если диагностический код неисправности Р1610 не сможет быть продублирован, то просмотр записей неисправностей после последнего неудавшейся диагностической проверки, поможет определить, как часто происходило состояние, приводившее к установке диагностического кода неисправности. Это поможет продиагностировать условия.
dtc p1610 - Главное реле, высокое напряжение в цепи
Шаг
Операция
Значения
Да
Нет
1
Провести проверку бортовой системы диагностики (eobd).
Проверка системы завершена?
-
Перейти к операции 2
Перейти к "Проверка бортовой системы диагностики"
2
Отсоединить главное реле.
Замерить сопротивление между клеммами 85 и 86 главного реле.
Сопротивление в пределах установленного значения?
75~85Ом
Перейдите к Шагу 3
Перейти к операции 6
3
Повернуть ключ зажигания в положение блокировки.
При помощи контрольной лампы, подключенной к "массе", проверить цепь зажигания на клемме 85 в разъеме жгута реле.
Контроллер записывает рабочие условия в момент определения неисправности. Эта информация сохраняется в буфере записей состояния и протоколах неисправностей.
Условия очистки кода неисправности/индикации неисправности
Контрольная лампа индикации неисправности отключается через четыре последовательных цикла зажигания, в которых диагностика не обнаружила неисправность.
Архив диагностических кодов неисправности очищается через 40 последовательных циклов нагрева без неисправностей.
При помощи сканирующего прибора можно обнулить диагностический код(ы) неисправности
Отключение питания контроллера ЭСУД на 10 секунд.
Указания по диагностике
Осмотреть разъемы жгутов на отсутствие снятых клемм, плохого соединения, неисправных замков, деформированных или поврежденных клемм, а также слабого соединения клемм с проводами на контроллере ЭСУД.
Осмотреть жгут проводов на наличие повреждений. Если жгут проводов в порядке, проконтролировать индикацию давления системы кондиционирования на сканирующем приборе, перемещая разъемы и жгуты проводов, связанные с датчиком давления системы кондиционирования. Изменение индикации давления в системе кондиционирования укажет на неисправность.
Если диагностический код неисправности Р1611 не сможет быть продублирован, то просмотр записей неисправностей после последнего неудавшейся диагностической проверки, поможет определить, как часто происходило состояние, приводившее к установке диагностического кода неисправности. Это поможет продиагностировать условия.
dtc p1611 - Главное реле, низкое напряжение в цепи
Шаг
Операция
Значения
Да
Нет
1
Провести проверку бортовой системы диагностики (eobd).
Проверка системы завершена?
-
Перейти к операции 2
Перейти к "Проверка бортовой системы диагностики"
2
Отсоединить главное реле.
Замерить сопротивление между клеммами 85 и 86 главного реле.
Сопротивление в пределах установленного значения?
75~85Ом
Перейдите к Шагу 3
Перейти к операции 6
3
Повернуть ключ зажигания в положение блокировки.
При помощи контрольной лампы, подключенной к "массе", проверить цепь зажигания на клемме 85 в разъеме жгута реле.
При помощи контрольной лампы, подключенной к "массе", проверить цепь зажигания на клемме 85 в разъеме жгута реле.
Контрольная лампа горит?
-
Перейти к операции 5
Перейдите к Шагу 7
5
Устранить высокое напряжение между клеммой 7 разъема проводки ЭСУД и клеммой 85 главного реле.
Закончен ли ремонт?
-
Перейдите к Шагу 7
-
6
Заменить главное реле.
Замена закончена?
-
Перейдите к Шагу 7
-
7
Используя сканирующий прибор, очистить диагностические коды неисправностей.
Запустить двигатель и дать ему поработать на холостом ходу при нормальной рабочей температуре.
Совершить поездку для установки кодов неисправности, как это указано во вспомогательном тексте.
Сканирующий прибор определяет эту диагностику как прошедшую и успешную?
-
Перейдите к Шагу 8
Перейти к операции 2
8
Проверьте, не установлены ли дополнительные диагностические коды неисправности.
Отображены ли диагностические коды неисправности, которые не были продиагностированы?
-
Перейти к соответствующей таблице диагностических кодов неисправности
Система в норме
ДИАГНОСТИЧЕСКИЙ КОД НЕИСПРАВНОСТИ (dtc) - p1628 НЕ УСТАНАВЛИВАЕТСЯ СВЯЗЬ С ИММОБИЛИЗАТОРОМ
Описание схемы
При включении переключателя зажигания, ключ проверяется противоугонной системой иммобилизатора. При считывании кода ключа блоком управления иммобилизатора или комплексным встроенным блоком управления противоугонного устройства, двигатель может запуститься любым ключом, который поворачивает блокировочный цилиндр. Код ключа считывается и сравнивается с кодами ключей, сохраненными в памяти блока управления иммобилизатором. При определении действительного ключа, блок управления иммобилизатором посылает сообщение с последовательно передаваемыми данными в блок ЭСУД. В исходящее сообщение включается код идентификации для подтверждения, что ни блок управления иммобилизатором, ни блок ЭСУД не были заменены для обхода системы. При получении недействительного сообщения контроллер ЭСУД выполняет следующие действия:
Отключает цепь топливной форсунки.
Отключает цепь топливного насоса.
Отключает катушку зажигания.
Диагностический код неисправности будет сохранен при отказе связи между блоком ЭСУД и блоком управления иммобилизатора.
Условия установки кода неисправности.
Не допускается безопасного проведения стратегии по обеспечению безопасности.
Лимит времени истек без успешного установления связи или же перед установлением связи произошло включение/выключение ключа передачи.
Действия, выполняемые при установке кода неисправности
Контрольная лампа индикации неисправности не загорается.
Контроллер ЭСУД сохраняет условия, имевшие место в момент установки диагностических кодов неисправности, только как протокол неисправностей.
Эта информация не сохраняется в буфере записей состояния.
Условия очистки кода неисправности/индикации неисправности
Архив диагностических кодов неисправности очищается через 40 последовательных циклов нагрева без неисправностей.
Диагностический код неисправности может быть очищен сканирующим прибором.
Отключение питания контроллера ЭСУД более чем на 10 секунд.
dtc p1628 Не устанавливается связь с иммобилизатором
Шаг
Операция
Значения
Да
Нет
1
Провести проверку бортовой системы диагностики (eobd).
Проверка системы завершена?
-
Перейти к операции 2
Перейти к "Проверка бортовой системы диагностики"
2
Выключите зажигание.
Подключить сканирующий прибор к колодке диагностики.
Включите зажигание.
В меню сканирующего прибора выбрать immobilizer diagnosis status (СОСТОЯНИЕ ДИАГНОСТИКИ ИММОБИЛИЗАТОРА)
Установлена ли связь между сканирующим инструментом и блоком управления иммобилизатора.
Отсоединить разъемы блока управления иммобилизатора и контроллера ЭСУД.
Замерить сопротивление между клеммами 7 блока управления иммобилизатора и клеммой 56 блока ЭСУД.
Сопротивление в пределах установленного значения?
0 Ом
Перейти к операции 5
Перейти к операции 4
4
Устранить разрыв цепи между клеммами 7 блока управления иммобилизатора и клеммой 56 блока ЭСУД.
Закончен ли ремонт?
-
Перейдите к Шагу 8
-
5
Проверить клеммы на блоке управления иммобилизатора и ЭСУД на отсутствие повреждений и устранить неисправность при необходимости.
Закончен ли ремонт?
-
Перейдите к Шагу 8
Перейти к операции 6
6
Заменить блок управления иммобилизатора.
Закончен ли ремонт?
-
Перейдите к Шагу 8
Перейдите к Шагу 7
7
Выключите зажигание.
Заменить контроллер ЭСУД.
Закончен ли ремонт?
-
Перейдите к Шагу 8
-
8
Используя сканирующий прибор, очистить диагностические коды неисправностей.
Запустить двигатель и дать ему поработать на холостом ходу при нормальной рабочей температуре.
Совершить поездку для установки кодов неисправности, как это указано во вспомогательном тексте.
Сканирующий прибор определяет эту диагностику как прошедшую и успешную?
-
Перейдите к Шагу 9
Перейти к операции 2
9
Проверьте, не установлены ли дополнительные диагностические коды неисправности.
Отображены ли диагностические коды неисправности, которые не были продиагностированы?
-
Перейти к соответствующей таблице диагностических кодов неисправности
Система в норме
ДИАГНОСТИЧЕСКИЙ КОД НЕИСПРАВНОСТИ (dtc) - p1629 НЕПРАВИЛЬНОЕ ВЫЧИСЛЕНИЕ ИММОБИЛИЗАТОРА
Описание схемы
При включении переключателя зажигания, ключ проверяется противоугонной системой иммобилизатора. При считывании кода ключа блоком управления иммобилизатора или комплексным встроенным блоком управления противоугонного устройства, двигатель может запуститься любым ключом, который поворачивает блокировочный цилиндр. Код ключа считывается и сравнивается с кодами ключей, сохраненными в памяти блока управления иммобилизатором. При определении действительного ключа, блок управления иммобилизатором посылает сообщение с последовательно передаваемыми данными в блок ЭСУД. В исходящее сообщение включается код идентификации для подтверждения, что ни блок управления иммобилизатором, ни блок ЭСУД не были заменены для обхода системы. При получении недействительного сообщения контроллер ЭСУД выполняет следующие действия:
Отключает цепь топливной форсунки.
Отключает цепь топливного насоса.
Отключает катушку зажигания.
Диагностический код неисправности будет сохранен при отказе связи между блоком ЭСУД и блоком управления иммобилизатора.
Условия установки кода неисправности.
Неверное кодовое значение от блока управления иммобилизатора.
Действия, выполняемые при установке кода неисправности
Контрольная лампа индикации неисправности не загорается.
Контроллер ЭСУД сохраняет условия, имевшие место в момент установки диагностических кодов неисправности, только как протокол неисправностей.
Эта информация не сохраняется в буфере записей состояния.
Условия очистки кода неисправности/индикации неисправности
Архив диагностических кодов неисправности очищается через 40 последовательных циклов нагрева без неисправностей.
Диагностический код неисправности может быть очищен сканирующим прибором.
Отключение питания контроллера ЭСУД более чем на 10 секунд.
dtc p1629 Неправильное вычисление иммобилизатора
Шаг
Операция
Значения
Да
Нет
1
Провести проверку бортовой системы диагностики (eobd).
Проверка системы завершена?
-
Перейти к операции 2
Перейти к "Проверка бортовой системы диагностики"
2
Выключите зажигание.
Подключить сканирующий прибор к колодке диагностики.
Включите зажигание.
В меню сканирующего прибора выбрать immobilizer diagnosis status (СОСТОЯНИЕ ДИАГНОСТИКИ ИММОБИЛИЗАТОРА)
Установлена ли связь между сканирующим инструментом и блоком управления иммобилизатора.
Отсоединить разъемы блока управления иммобилизатора и контроллера ЭСУД.
Замерить сопротивление между клеммами 7 блока управления иммобилизатора и клеммой 56 блока ЭСУД.
Сопротивление в пределах установленного значения?
0 Ом
Перейти к операции 5
Перейти к операции 4
4
Устранить разрыв цепи между клеммами 7 блока управления иммобилизатора и клеммой 56 блока ЭСУД.
Закончен ли ремонт?
-
Перейдите к Шагу 8
-
5
Проверить клеммы на блоке управления иммобилизатора и ЭСУД на отсутствие повреждений и устранить неисправность при необходимости.
Закончен ли ремонт?
-
Перейдите к Шагу 8
Перейти к операции 6
6
Заменить блок управления иммобилизатора.
Закончен ли ремонт?
-
Перейдите к Шагу 8
Перейдите к Шагу 7
7
Выключите зажигание.
Заменить контроллер ЭСУД.
Закончен ли ремонт?
-
Перейдите к Шагу 8
-
8
Используя сканирующий прибор, очистить диагностические коды неисправностей.
Запустить двигатель и дать ему поработать на холостом ходу при нормальной рабочей температуре.
Совершить поездку для установки кодов неисправности, как это указано во вспомогательном тексте.
Сканирующий прибор определяет эту диагностику как прошедшую и успешную?
-
Перейдите к Шагу 9
Перейти к операции 2
9
Проверьте, не установлены ли дополнительные диагностические коды неисправности.
Отображены ли диагностические коды неисправности, которые не были продиагностированы?
-
Перейти к соответствующей таблице диагностических кодов неисправности
Система в норме
ДИАГНОСТИЧЕСКИЙ КОД НЕИСПРАВНОСТИ (dtc) - p0654 НЕИСПРАВНОСТЬ ЦЕПИ СПИДОМЕТРА ДВИГАТЕЛЯ
Описание схемы
Контроллер ЭСУД осуществляет непосредственное управление тахометром, используя сигнал широтноимпульсной модуляции (PWM) на основе информации, полученной от датчика положения коленчатого вала (CKP). При включенном зажигании напряжение аккумуляторной батареи поступает на контроллер ЭСУД с панели приборов (IPC), контроллер определяет отсутствие неисправности в цепи с помощью диагностического сигнала обратной связи. Контроллер ЭСУД обеспечивает прямое соединение сигнала тахометра с массой.
Условия установки кода неисправности.
Цепь выходного сигнала частоты вращения двигателя замкнута накоротко на напряжение аккумуляторной батареи или на массу, или же имеет обрыв.
Действия, выполняемые при установке кода неисправности
Контрольная лампа индикации неисправности не загорается.
Контроллер ЭСУД сохраняет условия, имевшие место в момент установки диагностических кодов неисправности, только как протокол неисправностей.
Эта информация не сохраняется в буфере записей состояния.
Условия очистки кода неисправности/индикации неисправности
Архив диагностических кодов неисправности очищается через 40 последовательных циклов нагрева без неисправностей.
Диагностический код неисправности может быть очищен сканирующим прибором.
Отключение питания контроллера ЭСУД более чем на 10 секунд.
Указания по диагностике
Неустойчивая неисправность может быть вызвана слабым контактом, перетертой изоляции или обрывом проводки под изоляцией.
Любая цепь, подозреваемая на создание неустойчивой неисправности, должна быть тщательно проверена на следующие обстоятельства.
Снятые клеммы
Соединение клемм
Неисправность замков
Деформированность
Повреждения клемм
Слабое соединение клемм с проводами
Физическое повреждение жгутов проводов
dtc p0654 - Неисправность цепи датчика частоты вращения двигателя
Шаг
Операция
Значения
Да
Нет
1
Провести проверку бортовой системы диагностики (eobd).
Проверка системы завершена?
-
Перейти к операции 2
Перейти к "Проверка бортовой системы диагностики"
2
Повернуть ключ зажигания в положение блокировки.
Подключить сканирующий прибор к колодке диагностики.
Включить зажигание.
Какие-либо диагностические коды неисправности отображаются?
-
Перейдите к Шагу 3
Попробовать другой сканирующий инструмент.
3
См. соответствующую таблицу диагностических кодов неисправности. Начать с диагностического кода неисправности с наименьшим числовым значением и переходить на код неисправности с большим числовым значением.
Идентифицируется ли код неисправности как действительный код Р0654?
-
Перейти к операции 4
Перейти к соответствующей таблице диагностических кодов неисправности
4
Отсоединить разъем от панели приборов.
Повернуть ключ зажигания в положение блокировки.
Проверить отсутствие обрыва или короткого замыкания на массу в проводе между разъемом 68 контроллера ЭСУД и клеммой С2 разъема панели приборов.
Проблема найдена?
-
Перейти к операции 6
Перейти к операции 5
5
Повернуть ключ зажигания в положение блокировки.
Проверить отсутствие короткого замыкания на напряжение аккумуляторной батареи в проводе между разъемом 68 контроллера ЭСУД и клеммой С2 разъема панели приборов.
Проблема найдена?
-
Перейти к операции 6
Перейдите к Шагу 7
6
При необходимости изменить соединение между блоком и контроллером ЭСУД или восстановить клеммное соединение разъема.
Очистить все диагностические коды неисправности из контроллера ЭСУД.
Провести проверку системы диагностики.
Закончен ли ремонт?
-
Система в норме
-
7
Заменить блок.
Очистить все диагностические коды неисправности из контроллера ЭСУД.
Провести проверку системы диагностики.
Какие-либо диагностические коды неисправности отображаются?
-
Перейдите к Шагу 8
Система в норме
8
Заменить контроллер ЭСУД.
Замена закончена?
-
Перейдите к Шагу 9
-
9
Используя сканирующий прибор, очистить диагностические коды неисправностей.
Запустить двигатель и дать ему поработать на холостом ходу при нормальной рабочей температуре.
Совершить поездку для установки кодов неисправности, как это указано во вспомогательном тексте.
Сканирующий прибор определяет эту диагностику как прошедшую и успешную?
-
Перейдите к Шагу 10
Перейти к операции 2
10
Проверьте, не установлены ли дополнительные диагностические коды неисправности.
Отображены ли диагностические коды неисправности, которые не были продиагностированы?
-
Перейти к соответствующей таблице диагностических кодов неисправности
Система в норме
ДИАГНОСТИЧЕСКИЙ КОД НЕИСПРАВНОСТИ (dtc) - p0656 НЕИСПРАВНОСТЬ ЦЕПИ УКАЗАТЕЛЯ УРОВНЯ ТОПЛИВА
Описание схемы
ЭСУД использует вход уровня топлива от датчика уровня топлива для вычисления ожидаемого давления паров в топливной системе. Давление паров изменяется при изменении уровня топлива. Давление паров имеет большое значение для определения правильной работы СУПБ. Датчик уровня топлива также используется для определения слишком высокого или слишком низкого уровня топлива для точного обнаружения неисправностей топливной системы. Диагностический код неисправности определяет застрявший передатчик уровня топлива.
Условия установки кода неисправности.
Выходная цепь уровня топлива в баке короткозамкнута на "массу" или аккумулятор, либо разомкнута.
Действия, выполняемые при установке кода неисправности
Контрольная лампа индикации неисправности не загорается.
Контроллер ЭСУД сохраняет условия, имевшие место в момент установки диагностических кодов неисправности, только как протокол неисправностей.
Эта информация не сохраняется в буфере записей состояния.
Условия очистки кода неисправности/индикации неисправности
Архив диагностических кодов неисправности очищается через 40 последовательных циклов нагрева без неисправностей.
Диагностический код неисправности может быть очищен сканирующим прибором.
Отключение питания контроллера ЭСУД более чем на 10 секунд.
Указания по диагностике
Осмотреть разъемы жгутов на отсутствие снятых клемм, плохого соединения, неисправных замков, деформированных или поврежденных клемм, а также слабого соединения клемм с проводами.
Осмотреть жгут проводов на наличие повреждений.
Забитый датчик уровня топлива может привести к установке кода неисправности. Если код неисправности Р0656 не может быть продублирован, то информация, включенная в стоп-кадр, может быть полезна при определении условий эксплуатации автомобиля при установке кода неисправности в первый раз.
Контроль сопротивления датчика уровня топлива
Пуст = 100 Ом или свыше.
Половина емкости = 32,5 Ом
Полный = 10 Ом и менее.
dtc p0656 Неисправность цепи указателя уровня топлива
Шаг
Операция
Значения
Да
Нет
1
Провести проверку бортовой системы диагностики (eobd).
Проверка системы завершена?
-
Перейти к операции 2
Перейти к "Проверка бортовой системы диагностики"
2
Повернуть ключ зажигания в положение блокировки.
Подключить сканирующий прибор к колодке диагностики.
Включить зажигание.
Какие-либо диагностические коды неисправности отображаются?
-
Перейдите к Шагу 3
Попробовать другой сканирующий инструмент.
3
См. соответствующую таблицу диагностических кодов неисправности. Начать с диагностического кода неисправности с наименьшим числовым значением и переходить на код неисправности с большим числовым значением.
Идентифицируется ли код неисправности как действительный код Р0656?
-
Перейти к операции 4
Перейти к соответствующей таблице диагностических кодов неисправности
4
Отсоединить разъем от панели приборов.
Повернуть ключ зажигания в положение блокировки.
Проверить отсутствие обрыва или короткого замыкания на массу в проводе между разъемом 40 контроллера ЭСУД и клеммой С14 разъема панели приборов.
Проблема найдена?
-
Перейти к операции 6
Перейти к операции 5
5
Повернуть ключ зажигания в положение блокировки.
Проверить отсутствие короткого замыкания на напряжение аккумуляторной батареи в проводе между разъемом 40 контроллера ЭСУД и клеммой С14 разъема панели приборов.
Проблема найдена?
-
Перейти к операции 6
Перейдите к Шагу 7
6
При необходимости изменить соединение между блоком и контроллером ЭСУД или восстановить клеммное соединение разъема.
Очистить все диагностические коды неисправности из контроллера ЭСУД.
Провести проверку системы диагностики.
Закончен ли ремонт?
-
Система в норме
-
7
Заменить блок.
Очистить все диагностические коды неисправности из контроллера ЭСУД.
Провести проверку системы диагностики.
Какие-либо диагностические коды неисправности отображаются?
-
Перейдите к Шагу 8
Система в норме
8
Заменить контроллер ЭСУД.
Замена закончена?
-
Перейдите к Шагу 9
-
9
Используя сканирующий прибор, очистить диагностические коды неисправностей.
Запустить двигатель и дать ему поработать на холостом ходу при нормальной рабочей температуре.
Совершить поездку для установки кодов неисправности, как это указано во вспомогательном тексте.
Сканирующий прибор определяет эту диагностику как прошедшую и успешную?
-
Перейдите к Шагу 10
Перейти к операции 2
10
Проверьте, не установлены ли дополнительные диагностические коды неисправности.
Отображены ли диагностические коды неисправности, которые не были продиагностированы?
-
Перейти к соответствующей таблице диагностических кодов неисправности
Система в норме
ДИАГНОСТИЧЕСКИЙ КОД НЕИСПРАВНОСТИ (dtc) - p1660 ПОВЫШЕННОЕ НАПРЯЖЕНИЕ В ЦЕПИ КОНТРОЛЬНОЙ ЛАМПЫ ИНДИКАЦИИ НЕИСПРАВНОСТИ
Описание схемы
При включении зажигания, контрольная лампа индикации неисправности горит постоянно.
При холодном пуске двигателя, контрольная лампа выключается, мигнув один раз.
При наличии каких-либо неисправностей в системе, контрольная лампа загорается.
Действия, выполняемые при установке кода неисправности
Контрольная лампа индикации неисправности загорается после трех последовательных поездок с неисправностью.
Контроллер записывает рабочие условия в момент определения неисправности. Эта информация сохраняется в буфере записей состояния и протоколах неисправностей.
Условия очистки кода неисправности/индикации неисправности
Контрольная лампа индикации неисправности отключается через четыре последовательных цикла зажигания, в которых диагностика не обнаружила неисправность.
Архив диагностических кодов неисправности очищается через 40 последовательных циклов нагрева без неисправностей.
Диагностический код неисправности может быть очищен сканирующим прибором.
Отключение питания контроллера ЭСУД более чем на 10 секунд.
Указания по диагностике
Неустойчивая неисправность может быть вызвана слабым контактом, перетертой изоляции или обрывом проводки под изоляцией.
Любая цепь, подозреваемая на создание неустойчивой неисправности, должна быть тщательно проверена на следующие обстоятельства.
Снятые клеммы
Соединение клемм
Неисправность замков
Деформированность
Повреждения клемм
Слабое соединение клемм с проводами
Физическое повреждение жгутов проводов
dtc p1660 Лампа индикации неисправности, высокий уровень сигнала
Шаг
Операция
Значения
Да
Нет
1
Провести проверку бортовой системы диагностики (eobd).
Проверка системы завершена?
-
Перейти к операции 2
Перейти к "Проверка бортовой системы диагностики"
2
Повернуть ключ зажигания в положение блокировки.
Отсоединить разъем проводки блока лампы.
При помощи контрольной лампы, подключенной к массе, проверить цепь зажигания на клемме А7 в разъеме жгута электропроводки.
Сопротивление в пределах установленного значения?
0 Ом
Перейдите к Шагу 3
Перейти к операции 6
3
Повернуть ключ зажигания в положение блокировки.
При контрольной лампе подключенной к "массе", проверить цепь зажигания на клемме 39 разъема проводки блока ЭСУД.
Контрольная лампа горит?
-
Перейти к операции 4
Перейти к операции 5
4
Повернуть ключ зажигания в положение блокировки.
Заменить блок.
Замена закончена?
-
Перейти к операции 6
-
5
Устранить короткое замыкание на напряжение аккумуляторной батареи между клеммой 39 разъема электропроводки контроллера ЭСУД и клеммой А7 разъема электропроводки панели приборов.
Закончен ли ремонт?
-
Перейти к операции 6
-
6
Используя сканирующий прибор, очистить диагностические коды неисправностей.
Запустить двигатель и дать ему поработать на холостом ходу при нормальной рабочей температуре.
Совершить поездку для установки кодов неисправности, как это указано во вспомогательном тексте.
Сканирующий прибор определяет эту диагностику как прошедшую и успешную?
-
Перейдите к Шагу 7
Перейти к операции 2
7
Проверьте, не установлены ли дополнительные диагностические коды неисправности.
Отображены ли диагностические коды неисправности, которые не были продиагностированы?
-
Перейти к соответствующей таблице диагностических кодов неисправности
Система в норме
ДИАГНОСТИЧЕСКИЙ КОД НЕИСПРАВНОСТИ (dtc) - p1661 ПОНИЖЕННОЕ НАПРЯЖЕНИЕ В ЦЕПИ КОНТРОЛЬНОЙ ЛАМПЫ ИНДИКАЦИИ НЕИСПРАВНОСТИ
Описание схемы
При включении зажигания, контрольная лампа индикации неисправности горит постоянно.
При холодном пуске двигателя, контрольная лампа выключается, мигнув один раз.
При наличии каких-либо неисправностей в системе, контрольная лампа загорается.
Условия установки кода неисправности.
Низкое напряжение в жгуте проводки контрольной лампы.
Действия, выполняемые при установке кода неисправности
Контрольная лампа индикации неисправности загорается после трех последовательных поездок с неисправностью.
Контроллер записывает рабочие условия в момент определения неисправности. Эта информация сохраняется в буфере записей состояния и протоколах неисправностей.
Условия очистки кода неисправности/индикации неисправности
Контрольная лампа индикации неисправности отключается через четыре последовательных цикла зажигания, в которых диагностика не обнаружила неисправность.
Архив диагностических кодов неисправности очищается через 40 последовательных циклов нагрева без неисправностей.
Диагностический код неисправности может быть очищен сканирующим прибором.
Отключение питания контроллера ЭСУД более чем на 10 секунд.
Указания по диагностике
Неустойчивая неисправность может быть вызвана слабым контактом, перетертой изоляции или обрывом проводки под изоляцией.
Любая цепь, подозреваемая на создание неустойчивой неисправности, должна быть тщательно проверена на следующие обстоятельства.
Снятые клеммы
Соединение клемм
Неисправность замков
Деформированность
Повреждения клемм
Слабое соединение клемм с проводами
Физическое повреждение жгутов проводов
dtc p1661 Лампа индикации неисправности, низкий уровень сигнала
Шаг
Операция
Значения
Да
Нет
1
Провести проверку бортовой системы диагностики (eobd).
Проверка системы завершена?
-
Перейти к операции 2
Перейти к "Проверка бортовой системы диагностики"
2
Повернуть ключ зажигания в положение блокировки.
Отсоединить разъем проводки блока лампы.
При помощи контрольной лампы, подключенной к массе, проверить цепь зажигания на клемме А7 в разъеме жгута электропроводки.
Сопротивление в пределах установленного значения?
-
Перейдите к Шагу 3
Перейти к операции 6
3
Повернуть ключ зажигания в положение блокировки.
При контрольной лампе подключенной к "массе", проверить цепь зажигания на клемме 39 разъема проводки блока ЭСУД.
Контрольная лампа горит?
-
Перейти к операции 4
Перейти к операции 5
4
Повернуть ключ зажигания в положение блокировки.
Заменить блок.
Замена закончена?
-
Перейти к операции 6
-
5
Устранить короткое замыкание на массу или обрыв провода между клеммой 39 разъема электропроводки контроллера ЭСУД и клеммой А7 разъема электропроводки панели приборов.
Закончен ли ремонт?
-
Перейти к операции 6
-
6
Используя сканирующий прибор, очистить диагностические коды неисправностей.
Запустить двигатель и дать ему поработать на холостом ходу при нормальной рабочей температуре.
Совершить поездку для установки кодов неисправности, как это указано во вспомогательном тексте.
Сканирующий прибор определяет эту диагностику как прошедшую и успешную?
-
Перейдите к Шагу 7
Перейти к операции 2
7
Проверьте, не установлены ли дополнительные диагностические коды неисправности.
Отображены ли диагностические коды неисправности, которые не были продиагностированы?
-
Перейти к соответствующей таблице диагностических кодов неисправности
Система в норме
https://vnx.su/ 🛠 Руководства по ремонту и эксплуатации для автомобилей