To the top of the document
Orlando
   
GMDE Start Page Load static TOC Load dynamic TOC Help?

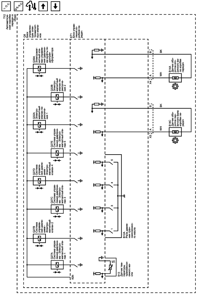
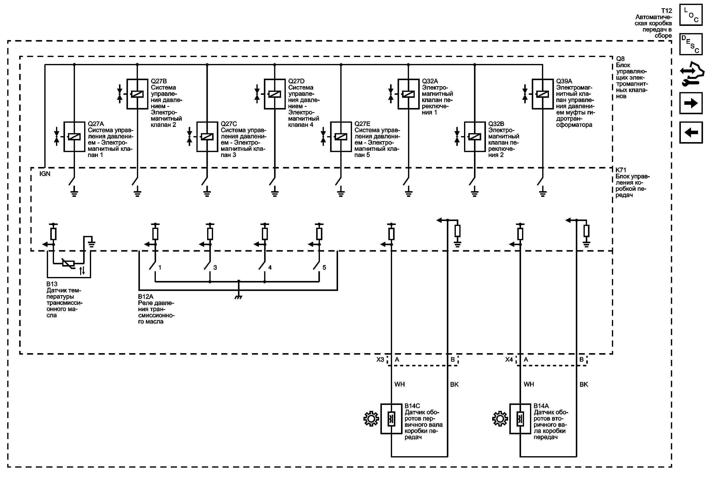
Датчики температуры рабочей жидкости и оборотов, средства управления положением клапана, давлением и переключением


          
            |                         |            
2565253RU.png

Display graphic

Внутренний переключатель режима и переключатель увеличения/уменьшения

Module Power, Ground, and Data Communication

   


© copyright chevrolet. All rights reserved