To the top of the document
Orlando
   
GMDE Start Page Load static TOC Load dynamic TOC Help?

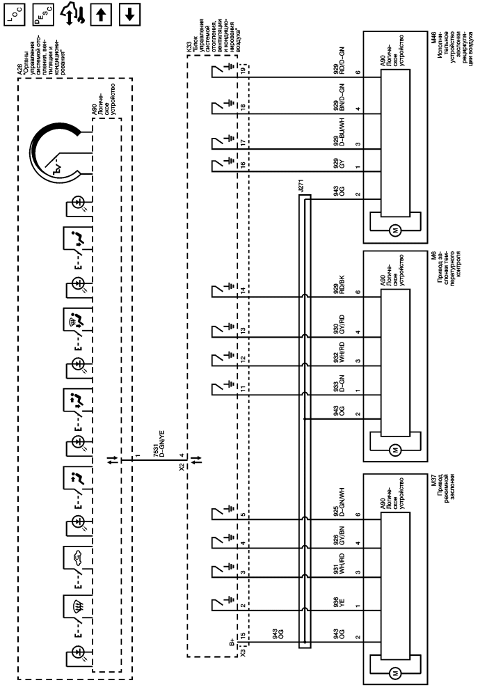
Органы управления подачей воздуха и температурой


          
            |                         |            
2564563RU.png

Display graphic

Органы управления компрессором

Module Power, Ground, Serial Data, and Blower Controls

   


© copyright chevrolet. All rights reserved