Cruze
   
GMDE Start Page Load static TOC Load dynamic TOC Help?
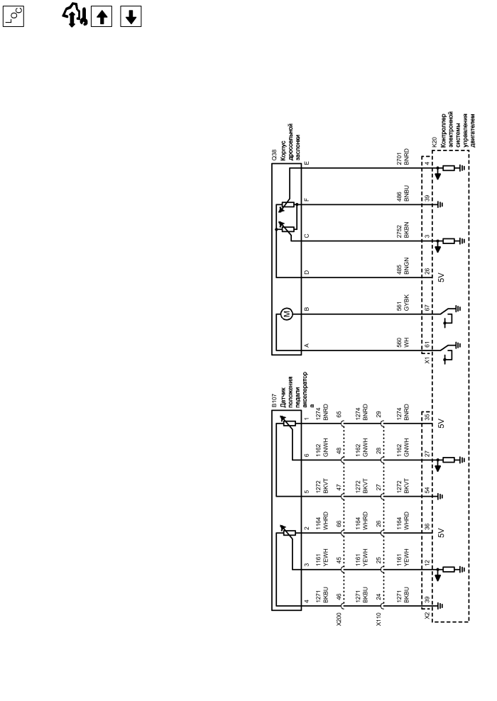
Датчики данных двигателя - средства управления дроссельной заслонкой


            |                         |            
2203080RU.png


Display graphic

Display graphic

Компоненты
b107Датчик положения педали акселератораq38Корпус дроссельной заслонки
k20Контроллер электронной системы управления двигателем
Разъемы
k20 (x1)Контроллер электронной системы управления двигателем x1x110Жгут проводов кузова и жгут проводов двигателя
k20 (x2)Контроллер электронной системы управления двигателем x2x200Жгут проводов кузова и жгут проводов панели приборов
Цветовые коды
bkbnЧерный-КоричневыйgnwhЗеленый-Белый
bkbuЧерный-СинийgybkСерый-Черный
bkvtЧерный-ФиолетовыйwhБелый
bnbuКоричневый-СинийwhrdБелый-Красный
bngnКоричневый-ЗеленыйyewhЖелтый-Белый
bnrdКоричневый-Красный
35
36
27
6
1
2
X2 Контроллер электронной системы управления двигателем X2

Расположение деталей (узлов) Трехмерная схема жгутов ГАЗОВЫЙ ДВИГАТЕЛЬ, 4 ЦИЛ., 1.6 Л, MFI, DOHC, 80 кВт (GMDAT)
Внешний вид разъема и ремонт ГАЗОВЫЙ ДВИГАТЕЛЬ, 4 ЦИЛ., 1.6 Л, MFI, DOHC, 80 кВт (GMDAT)
54
5
26
X1 Контроллер электронной системы управления двигателем X1

Расположение деталей (узлов) Трехмерная схема жгутов ГАЗОВЫЙ ДВИГАТЕЛЬ, 4 ЦИЛ., 1.6 Л, MFI, DOHC, 80 кВт (GMDAT)
Внешний вид разъема и ремонт ГАЗОВЫЙ ДВИГАТЕЛЬ, 4 ЦИЛ., 1.6 Л, MFI, DOHC, 80 кВт (GMDAT)
61
67
39
3
4
D
A
B
F
C
E
Слабый опорный сигнал электродвигателя релаксатора дроссельной заслонки
GYBK Серый-Черный
Сигнал положения педали акселератора (2)
GNWH Зеленый-Белый
Опорный сигнал 5 вольт положения педали акселератора (2)
BNRD Коричневый-Красный
Слабый опорный сигнал положения педали акселератора (2)
BKVT Черный-Фиолетовый
Опорный сигнал 5 вольт от датчика положения дроссельной заслонки
BNRD Коричневый-Красный
Сигнал датчика положения дроссельной заслонки (2)
BNBU Коричневый-Синий
Опорный сигнал 5 вольт положения педали акселератора (1)
WHRD Белый-Красный
Слабый опорный сигнал датчика положения дроссельной заслонки
BKBN Черный-Коричневый
Сигнал датчика положения дроссельной заслонки (1)
BNGN Коричневый-Зеленый
Управление электродвигателем релаксатора дроссельной заслонки
WH Белый
X200 Жгут проводов кузова и жгут проводов панели приборов

Расположение деталей (узлов) Трехмерная схема жгутов
Внешний вид разъема и ремонт Вилка
Внешний вид разъема и ремонт Гнездо
46
45
47
66
48
65
29
28
27
26
25
X110 Жгут проводов кузова и жгут проводов двигателя

Внешний вид разъема и ремонт Гнездо
Внешний вид разъема и ремонт Гнездо ГАЗОВЫЙ ДВИГАТЕЛЬ, 4 ЦИЛ., 1.6 Л, MFI, DOHC, 80 кВт (GMDAT)
24
Q38 Корпус дроссельной заслонки

Внешний вид разъема и ремонт
Доступен вид только с одним разъемом
B107 Датчик положения педали акселератора

Расположение деталей (узлов) Трехмерная схема жгутов Левостороннее управление
Внешний вид разъема и ремонт
K20 Контроллер электронной системы управления двигателем

Расположение деталей (узлов) Трехмерная схема жгутов ГАЗОВЫЙ ДВИГАТЕЛЬ, 4 ЦИЛ., 1.6 Л, MFI, DOHC, 80 кВт (GMDAT)
Имеется только одно место для компонента
Управление
Управление
Опорный сигнал 5 вольт
Сигнал
Слабый опорный сигнал
Сигнал
39
Слабый опорный сигнал положения педали акселератора (1)
BKBU Черный-Синий
4
12
Сигнал положения педали акселератора (1)
YEWH Желтый-Белый
3
Слабый опорный сигнал
Сигнал
Опорный сигнал 5 вольт
Слабый опорный сигнал
Сигнал
Опорный сигнал 5 вольт
YEWH Желтый-Белый
BKBU Черный-Синий
BNRD Коричневый-Красный
GNWH Зеленый-Белый
BKVT Черный-Фиолетовый
WHRD Белый-Красный
YEWH Желтый-Белый
BKBU Черный-Синий
BKVT Черный-Фиолетовый
WHRD Белый-Красный
GNWH Зеленый-Белый
BNRD Коричневый-Красный
Датчики данных двигателя - массовый расход воздуха (MAF), давление и температура...

Датчики данных двигателя - массовый расход воздуха (MAF), давление и температура
Справочные данные по контроллерам

Справочные данные по контроллерам
Датчики данных двигателя - кислородные датчики

Датчики данных двигателя - кислородные датчики
Перечень основных электрических компонентов

Перечень основных электрических компонентов
   


https://vnx.su/ 🛠 Руководства по ремонту и эксплуатации для автомобилей

Поиск по сайту

Остались вопросы или пожелания? Пишите на почту: support@vnx.su

Карта Сайта