Cruze
   
GMDE Start Page Load static TOC Load dynamic TOC Help?
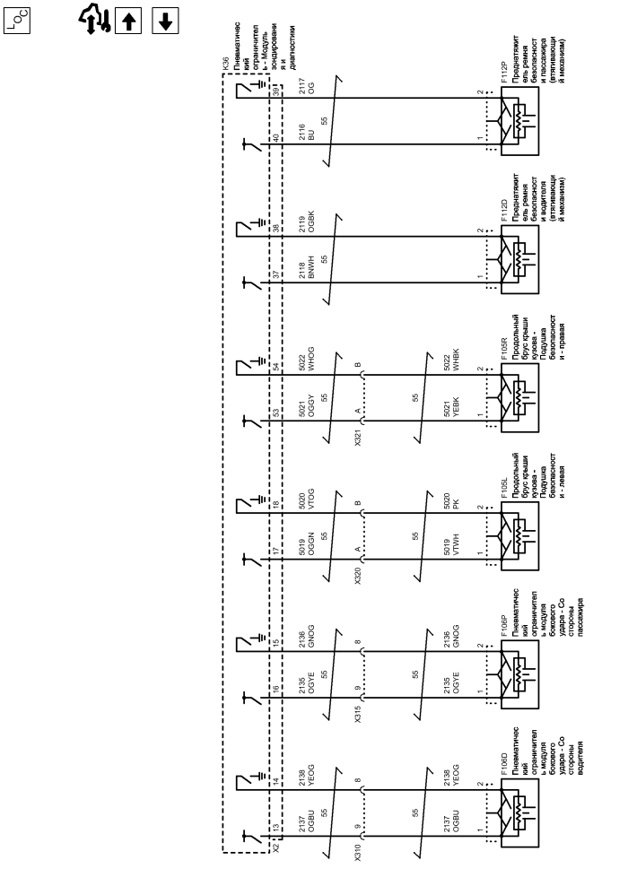
Модули бокового удара и продольного бруса крыши и натяжитель ремня безопасности


            |                         |            
2203214RU.png


Display graphic

Display graphic

Компоненты
f105lПродольный брус крыши кузова - Подушка безопасности - леваяf112dПреднатяжитель ремня безопасности водителя (втягивающий механизм)
f105rПродольный брус крыши кузова - Подушка безопасности - праваяf112pПреднатяжитель ремня безопасности пассажира (втягивающий механизм)
f106dПневматический ограничитель модуля бокового удара - Со стороны водителяk36Пневматический ограничитель - Модуль зондирования и диагностики
f106pПневматический ограничитель модуля бокового удара - Со стороны пассажира
Разъемы
k36 (x2)Пневматический ограничитель - Модуль зондирования и диагностики x2x320Жгут проводов кузова и жгут проводов боковых шторок безопасности
x310Жгут проводов кузова и жгут проводов сиденья водителяx321Жгут проводов кузова и жгут проводов боковых шторок безопасности
x315Жгут проводов кузова и жгут проводов сиденья переднего пассажира
Цветовые коды
bnwhКоричневый\БелыйogyeОранжевый-Желтый
buСинийpkРозовый
gnogЗеленый-ОранжевыйvtogФиолетовый-Оранжевый
ogОранжевыйvtwhФиолетовый-Белый
ogbkОранжевый-ЧерныйwhbkБелый-Черный
ogbuОранжевый-СинийwhogБелый-Оранжевый
oggnОранжевый-ЗеленыйyebkЖелтый-Черный
oggyОранжевый-СерыйyeogЖелтый-Оранжевый
37
38
40
39
53
54
1
2
17
18
15
X2 Пневматический ограничитель - Модуль зондирования и диагностики X2

Расположение деталей (узлов) Трехмерная схема жгутов
Внешний вид разъема и ремонт С ПАССИВНОЙ СИСТЕМОЙ БЕЗОПАСНОСТИ ПЕРЕДНЕГО СИДЕНЬЯ, НАДУВН., ВОДИТЕЛЯ И ПАССАЖИРА, ПЕРЕДН. И БОКОВ., ИЛИ С ПАССИВНОЙ СИСТЕМОЙ БЕЗОПАСНОСТИ СИДЕНЬЯ, НАДУВН., ВОДИТЕЛЯ И ПАССАЖИРА, ПЕРЕДН. И БОКОВ. ОДНОСТУПЕНЧАТ., ИЛИ С ПАССИВНОЙ СИСТЕМОЙ БЕЗОПАСНОСТИ ПЕРЕ
Внешний вид разъема и ремонт БЕЗ ПАССИВНОЙ СИСТЕМЫ БЕЗОПАСНОСТИ ПЕРЕДНЕГО СИДЕНЬЯ, НАДУВН., ВОДИТЕЛЯ И ПАССАЖИРА, ПЕРЕДН. И БОКОВ., ИЛИ БЕЗ ПАССИВНОЙ СИСТЕМЫ БЕЗОПАСНОСТИ СИДЕНЬЯ, НАДУВН., ВОДИТЕЛЯ И ПАССАЖИРА, ПЕРЕДН. И БОКОВ. ОДНОСТУПЕНЧАТ., ИЛИ БЕЗ ПАССИВНОЙ СИСТЕМЫ БЕЗОПАСНОСТИ П
13
14
16
Левый передний модуль головной шторки безопасности, верхний регулятор
OGGN Оранжевый-Зеленый
Левый передний модуль головной шторки безопасности, нижний регулятор
VTOG Фиолетовый-Оранжевый
2
Правый передний модуль головной шторки безопасности, нижний регулятор
WHOG Белый-Оранжевый
1
Правый передний модуль головной шторки безопасности, верхний регулятор
OGGY Оранжевый-Серый
1
2
Левый передний модуль бокового удара, верхний регулятор
OGBU Оранжевый-Синий
1
2
Левый передний модуль бокового удара, нижний регулятор
YEOG Желтый-Оранжевый
Правый передний модуль бокового удара, нижний регулятор
GNOG Зеленый-Оранжевый
Правый передний модуль бокового удара, верхний регулятор
OGYE Оранжевый-Желтый
Натяжитель ремня безопасности водителя, нижний регулятор
OGBK Оранжевый-Черный
Натяжитель ремня безопасности водителя, верхний регулятор
BNWH Коричневый\Белый
2
1
1
2
Натяжитель ремня безопасности пассажира, верхний регулятор
BU Синий
Натяжитель ремня безопасности пассажира, нижний регулятор
OG Оранжевый
X320 Жгут проводов кузова и жгут проводов боковых шторок безопасности

Внешний вид разъема и ремонт Вилка
Внешний вид разъема и ремонт Гнездо
A
B
B
X321 Жгут проводов кузова и жгут проводов боковых шторок безопасности

Внешний вид разъема и ремонт Вилка
Внешний вид разъема и ремонт Гнездо
A
Управление
Управление
Управление
Управление
Управление
Управление
Управление
Управление
Управление
Управление
Управление
Управление
F112P Преднатяжитель ремня безопасности пассажира (втягивающий механизм)

Расположение деталей (узлов) Трехмерная схема жгутов Левостороннее управление
Расположение деталей (узлов) Трехмерная схема жгутов Правостороннее управление
Внешний вид разъема и ремонт
F112D Преднатяжитель ремня безопасности водителя (втягивающий механизм)

Расположение деталей (узлов) Трехмерная схема жгутов Левостороннее управление
Расположение деталей (узлов) Трехмерная схема жгутов Правостороннее управление
Внешний вид разъема и ремонт
F106D Пневматический ограничитель модуля бокового удара - Со стороны водителя
F106P Пневматический ограничитель модуля бокового удара - Со стороны пассажира
F105R Продольный брус крыши кузова - Подушка безопасности - правая

Внешний вид разъема и ремонт
F105L Продольный брус крыши кузова - Подушка безопасности - левая

Расположение деталей (узлов) Трехмерная схема жгутов
Внешний вид разъема и ремонт
K36 Пневматический ограничитель - Модуль зондирования и диагностики

Расположение деталей (узлов) Трехмерная схема жгутов
YEOG Желтый-Оранжевый
OGBU Оранжевый-Синий
GNOG Зеленый-Оранжевый
OGYE Оранжевый-Желтый
PK Розовый
VTWH Фиолетовый-Белый
WHBK Белый-Черный
YEBK Желтый-Черный
X310 Жгут проводов кузова и жгут проводов сиденья водителя

Расположение деталей (узлов) Трехмерная схема жгутов Левостороннее управление
Расположение деталей (узлов) Трехмерная схема жгутов Правостороннее управление
Внешний вид разъема и ремонт Гнездо Левостороннее управление
Внешний вид разъема и ремонт Гнездо Правостороннее управление
9
8
8
X315 Жгут проводов кузова и жгут проводов сиденья переднего пассажира

Расположение деталей (узлов) Трехмерная схема жгутов Левостороннее управление
Расположение деталей (узлов) Трехмерная схема жгутов Правостороннее управление
Внешний вид разъема и ремонт Гнездо Левостороннее управление
Внешний вид разъема и ремонт Гнездо Правостороннее управление
9
Модули лобового столкновения

Модули лобового столкновения
Справочные данные по контроллерам

Справочные данные по контроллерам
Датчики лобового, бокового и заднего удара

Датчики лобового, бокового и заднего удара
Перечень основных электрических компонентов

Перечень основных электрических компонентов
   


https://vnx.su/ 🛠 Руководства по ремонту и эксплуатации для автомобилей

Поиск по сайту

Остались вопросы или пожелания? Пишите на почту: support@vnx.su

Карта Сайта