Слишком низкое сопротивление натяжителя ремня безопасности пассажира
Описание схемы
При установке ключа зажигания в положение ON модуль датчиков и диагностики (SDM) выполняет начальную проверку для выявления существенных неполадок внутри самого SDM.
После этих проверок модуль измеряет напряжения в цепях зажигания и срабатывания подушек безопасности, проверяя, что они находятся в номинальных диапазонах. SDM контролирует напряжения на проводах нижнего уровня подушек водителя и пассажира, выявляя замыкание цепей срабатывания на массу или напряжение питания.
Модуль датчиков и диагностики (SDM) проверяет проводку к преднатяжителю ремня безопасности пассажира, пропуская ничтожно малый ток через внутреннюю цепь и проверяя сопротивление.
Диагностический код неисправности dtc b1367 записывается, когда
Сопротивление цепи срабатывания натяжителя ремня безопасности пассажира превышает 3,54 Ом.
dtc b1367 - Слишком низкое сопротивление натяжителя ремня безопасности пассажира
Внимание! Модуль датчиков и диагностики (SDM) может сохранять достаточное напряжение для приведения в действие подушек безопасности и натяжителей в течение 1 минуты после выключения зажигания и удаления предохранителя. Если подушки безопасности и натяжители не отсоединены, не начинайте обслуживание, пока не пройдет одна минута после отключения питания от SDM. Несоблюдение этого требования может привести к травмам.
Внимание! В процессе обслуживания обращайтесь с модулем датчиков и диагностики (SDM) очень осторожно. Не ударяйте и не встряхивайте SDM. Никогда не подключайте питание к системе надувных подушек безопасности (SIR), если SDM не соединен жестко с автомобилем. Чтобы система надувных подушек безопасности (SIR) работала правильно, все болты крепления модуля датчиков и диагностики SDM должны быть тщательно затянуты, а стрелка на SDM должна быть направлена к передней части автомобиля. При недостаточно жестком креплении модуля SDM к автомобилю включенный модуль может сработать, что приведет к неожиданному выпуску подушек безопасности и может повлечь травму.
Шаг
Операция
Значения
Да
Нет
1
Удостоверьтесь, что ключ зажигания находится в положении off.
Подождите минуту, чтобы разрядить заряд блока питания модуля датчиков и диагностики.
-
Перейдите на Шаг 2
-
2
Осмотрите разъем и проводку натяжителя ремня безопасности пассажира.
Разъем отключен?
-
Подключите разъем и Перейдите на Шаг 1
Перейдите на Шаг 3
3
Удостоверьтесь, что ключ зажигания находится в положении off.
Отключите разъем натяжителя ремня безопасности пассажира.
Отключите разъем проводки модуля датчиков и диагностики (sdm).
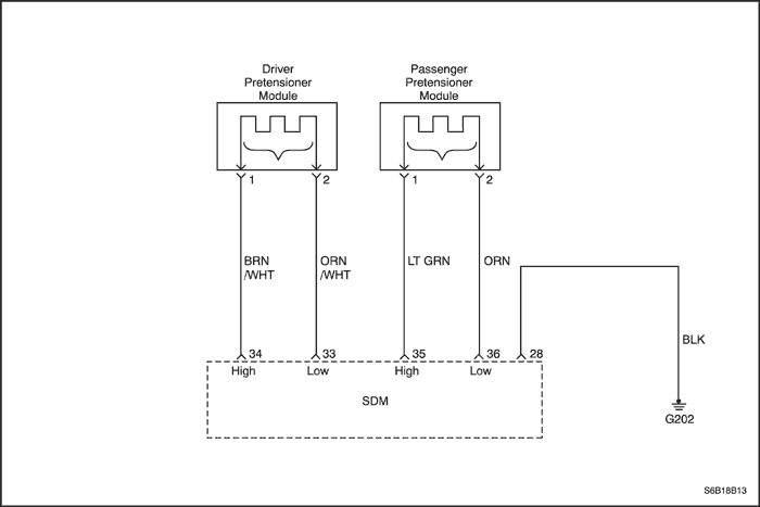
Проверьте сопротивление между выводами 35, 36 модуля sdm и выводами 1, 2 натяжителя ремня безопасности пассажира.
Сопротивление близко к 0 (нулю)?
≈ 0 Ом
Перейдите на Шаг 4
Замените проводку надувной подушки безопасности.
4
Замените модуль датчиков и диагностики.
Удостоверьтесь, что ключ зажигания находится в положении on.
Сотрите диагностический код неисправности с помощью диагностического прибора.
Выполните проверку диагностической системы системы надувных подушек безопасности (sir).
Диагностический код неисправности удален?
-
Система в норме.
Замените натяжитель ремня безопасности пассажира.
Диагностический код неисправности (dtc) b1368
Слишком низкое сопротивление натяжителя ремня безопасности пассажира
Описание схемы
При установке ключа зажигания в положение ON модуль датчиков и диагностики (SDM) выполняет начальную проверку для выявления существенных неполадок внутри самого SDM.
После этих проверок модуль измеряет напряжения в цепях зажигания и срабатывания подушек безопасности, проверяя, что они находятся в номинальных диапазонах. SDM контролирует напряжения на проводах нижнего уровня подушек водителя и пассажира, выявляя замыкание цепей срабатывания на массу или напряжение питания.
Модуль датчиков и диагностики (SDM) проверяет проводку к преднатяжителю ремня безопасности пассажира, пропуская ничтожно малый ток через внутреннюю цепь и проверяя сопротивление.
Диагностический код неисправности dtc b1368 записывается, когда
Сопротивление цепи срабатывания натяжителя ремня безопасности пассажира менее 1,77 Ом.
Повреждена закорачивающая перемычка, модуль датчиков и диагностики (sdm) необходимо заменить.
dtc b1368 - Слишком низкое сопротивление натяжителя ремня безопасности пассажира
Внимание! Модуль датчиков и диагностики (SDM) может сохранять достаточное напряжение для приведения в действие подушек безопасности и натяжителей в течение 1 минуты после выключения зажигания и удаления предохранителя. Если подушки безопасности и натяжители не отсоединены, не начинайте обслуживание, пока не пройдет одна минута после отключения питания от SDM. Несоблюдение этого требования может привести к травмам.
Внимание! В процессе обслуживания обращайтесь с модулем датчиков и диагностики (SDM) очень осторожно. Не ударяйте и не встряхивайте SDM. Никогда не подключайте питание к системе надувных подушек безопасности (SIR), если SDM не соединен жестко с автомобилем. Чтобы система надувных подушек безопасности (SIR) работала правильно, все болты крепления модуля датчиков и диагностики SDM должны быть тщательно затянуты, а стрелка на SDM должна быть направлена к передней части автомобиля. При недостаточно жестком креплении модуля SDM к автомобилю включенный модуль может сработать, что приведет к неожиданному выпуску подушек безопасности и может повлечь травму.
Шаг
Операция
Значения
Да
Нет
1
Удостоверьтесь, что ключ зажигания находится в положении off.
Подождите минуту, чтобы разрядить заряд блока питания модуля датчиков и диагностики.
-
Перейдите на Шаг 1
-
2
Осмотрите разъем и проводку натяжителя ремня безопасности пассажира.
Проводка повреждена?
-
Замените проводку надувной подушки безопасности.
Перейдите на Шаг 3
3
Удостоверьтесь, что ключ зажигания находится в положении off.
Отключите разъем натяжителя ремня безопасности пассажира.
Отключите разъем проводки модуля датчиков и диагностики (sdm).
Проверьте сопротивление между выводами 1 и 2 натяжителя ремня безопасности пассажира.
Сопротивление равно ∞?
∞
Перейдите на Шаг 4
Замените проводку надувной подушки безопасности.
4
Замените модуль датчиков и диагностики.
Удостоверьтесь, что ключ зажигания находится в положении on.
Сотрите диагностический код неисправности с помощью диагностического прибора.
Выполните проверку диагностической системы системы надувных подушек безопасности (sir).
Диагностический код неисправности удален?
-
Система в норме.
Замените натяжитель ремня безопасности пассажира.
Диагностический код неисправности (dtc) b1369
Замыкание натяжителя ремня безопасности пассажира на массу
Описание схемы
При установке ключа зажигания в положение ON модуль датчиков и диагностики (SDM) выполняет начальную проверку для выявления существенных неполадок внутри самого SDM.
После этих проверок модуль измеряет напряжения в цепях зажигания и срабатывания подушек безопасности, проверяя, что они находятся в номинальных диапазонах. SDM контролирует напряжения на проводах нижнего уровня подушек водителя и пассажира, выявляя замыкание цепей срабатывания на массу или напряжение питания.
Модуль датчиков и диагностики (SDM) проверяет проводку к преднатяжителю ремня безопасности пассажира, пропуская ничтожно малый ток через внутреннюю цепь и проверяя сопротивление.
Диагностический код неисправности dtc b1369 записывается, когда
Провод верхнего уровня проводки натяжителя ремня безопасности пассажира закорочен на массу.
Провод нижнего уровня проводки натяжителя ремня безопасности пассажира закорочен на массу.
dtc b1369 - Замыкание натяжителя ремня безопасности пассажира на массу
Внимание! Модуль датчиков и диагностики (SDM) может сохранять достаточное напряжение для приведения в действие подушек безопасности и натяжителей в течение 1 минуты после выключения зажигания и удаления предохранителя. Если подушки безопасности и натяжители не отсоединены, не начинайте обслуживание, пока не пройдет одна минута после отключения питания от SDM. Несоблюдение этого требования может привести к травмам.
Внимание! В процессе обслуживания обращайтесь с модулем датчиков и диагностики (SDM) очень осторожно. Не ударяйте и не встряхивайте SDM. Никогда не подключайте питание к системе надувных подушек безопасности (SIR), если SDM не соединен жестко с автомобилем. Чтобы система надувных подушек безопасности (SIR) работала правильно, все болты крепления модуля датчиков и диагностики SDM должны быть тщательно затянуты, а стрелка на SDM должна быть направлена к передней части автомобиля. При недостаточно жестком креплении модуля SDM к автомобилю включенный модуль может сработать, что приведет к неожиданному выпуску подушек безопасности и может повлечь травму.
Шаг
Операция
Значения
Да
Нет
1
Удостоверьтесь, что ключ зажигания находится в положении off.
Подождите минуту, чтобы разрядить заряд блока питания модуля датчиков и диагностики.
-
Перейдите на Шаг 2
-
2
Осмотрите разъем и проводку натяжителя ремня безопасности пассажира.
Проводка повреждена?
-
Замените проводку надувной подушки безопасности.
Перейдите на Шаг 3
3
Удостоверьтесь, что ключ зажигания находится в положении off.
Отключите разъем натяжителя ремня безопасности пассажира.
Отключите разъем проводки модуля датчиков и диагностики (sdm).
Проверить сопротивление между проводами верхнего и нижнего уровня преднатяжителя ремня безопасности пассажира и массой.
Сопротивление выше 10 кОм?
10k Ом
Перейдите на Шаг 4
Замените проводку надувной подушки безопасности.
4
Замените модуль датчиков и диагностики.
Удостоверьтесь, что ключ зажигания находится в положении on.
Сотрите диагностический код неисправности с помощью диагностического прибора.
Выполните проверку диагностической системы системы надувных подушек безопасности (sir).
Диагностический код неисправности удален?
-
Система в норме.
Замените натяжитель ремня безопасности пассажира.
Диагностический код неисправности (dtc) b1370
Замыкание натяжителя ремня безопасности пассажира на напряжение аккумулятора
Описание схемы
При установке ключа зажигания в положение ON модуль датчиков и диагностики (SDM) выполняет начальную проверку для выявления существенных неполадок внутри самого SDM.
После этих проверок модуль измеряет напряжения в цепях зажигания и срабатывания подушек безопасности, проверяя, что они находятся в номинальных диапазонах. SDM контролирует напряжения на проводах нижнего уровня подушек водителя и пассажира, выявляя замыкание цепей срабатывания на массу или напряжение питания.
Модуль датчиков и диагностики (SDM) проверяет проводку к преднатяжителю ремня безопасности пассажира, пропуская ничтожно малый ток через внутреннюю цепь и проверяя сопротивление.
Диагностический код неисправности dtc b1370 записывается, когда
Провод верхнего уровня проводки натяжителя ремня безопасности пассажира закорочен на провод аккумулятора.
Провод нижнего уровня проводки натяжителя ремня безопасности пассажира закорочен на провод аккумулятора.
dtc b1370 - Замыкание натяжителя ремня безопасности пассажира на напряжение аккумулятора
Внимание! Модуль датчиков и диагностики (SDM) может сохранять достаточное напряжение для приведения в действие подушек безопасности и натяжителей в течение 1 минуты после выключения зажигания и удаления предохранителя. Если подушки безопасности и натяжители не отсоединены, не начинайте обслуживание, пока не пройдет одна минута после отключения питания от SDM. Несоблюдение этого требования может привести к травмам.
Внимание! В процессе обслуживания обращайтесь с модулем датчиков и диагностики (SDM) очень осторожно. Не ударяйте и не встряхивайте SDM. Никогда не подключайте питание к системе надувных подушек безопасности (SIR), если SDM не соединен жестко с автомобилем. Чтобы система надувных подушек безопасности (SIR) работала правильно, все болты крепления модуля датчиков и диагностики SDM должны быть тщательно затянуты, а стрелка на SDM должна быть направлена к передней части автомобиля. При недостаточно жестком креплении модуля SDM к автомобилю включенный модуль может сработать, что приведет к неожиданному выпуску подушек безопасности и может повлечь травму.
Шаг
Операция
Значения
Да
Нет
1
Удостоверьтесь, что ключ зажигания находится в положении off.
Подождите минуту, чтобы разрядить заряд блока питания модуля датчиков и диагностики.
-
Перейдите на Шаг 2
-
2
Осмотрите разъем и проводку натяжителя ремня безопасности пассажира.
Проводка повреждена?
-
Замените проводку надувной подушки безопасности.
Перейдите на Шаг 3
3
Удостоверьтесь, что ключ зажигания находится в положении off.
Отключите разъем натяжителя ремня безопасности пассажира.
Отключите разъем проводки модуля датчиков и диагностики (sdm).
Проверить сопротивление между проводами верхнего и нижнего уровня преднатяжителя ремня безопасности пассажира и аккумулятором.
Сопротивление выше 10 кОм?
10k Ом
Перейдите на Шаг 4
Замените проводку надувной подушки безопасности.
4
Замените модуль датчиков и диагностики.
Удостоверьтесь, что ключ зажигания находится в положении on.
Сотрите диагностический код неисправности с помощью диагностического прибора.
Выполните проверку диагностической системы системы надувных подушек безопасности (sir).
Диагностический код неисправности удален?
-
Система в норме.
Замените натяжитель ремня безопасности пассажира.
Диагностический код неисправности (dtc) b1378
Слишком высокое сопротивление боковой подушки безопасности водителя
Описание схемы
При установке ключа зажигания в положение ON модуль датчиков и диагностики (SDM) выполняет начальную проверку для выявления существенных неполадок внутри самого SDM.
После этих проверок модуль измеряет напряжения в цепях зажигания и срабатывания подушек безопасности, проверяя, что они находятся в номинальных диапазонах. SDM контролирует напряжения на проводах нижнего уровня подушек водителя и пассажира, выявляя замыкание цепей срабатывания на массу или напряжение питания.
Модуль датчиков и диагностики (SDM) проверяет проводку к модулю боковой подушки безопасности водителя, пропуская ничтожно малый ток через внутреннюю цепь и проверяя ее сопротивление.
Диагностический код неисправности dtc b1378 записывается, когда
Сопротивление цепи срабатывания боковой подушки безопасности водителя превышает 3,54 Ом.
dtc b1378 Слишком высокое сопротивление боковой подушки безопасности водителя
Внимание! Модуль датчиков и диагностики (SDM) может сохранять достаточное напряжение для приведения в действие подушек безопасности и натяжителей в течение 1 минуты после выключения зажигания и удаления предохранителя. Если подушки безопасности и натяжители не отсоединены, не начинайте обслуживание, пока не пройдет одна минута после отключения питания от SDM. Несоблюдение этого требования может привести к травмам.
Внимание! В процессе обслуживания обращайтесь с модулем датчиков и диагностики (SDM) очень осторожно. Не ударяйте и не встряхивайте SDM. Никогда не подключайте питание к системе надувных подушек безопасности (SIR), если SDM не соединен жестко с автомобилем. Чтобы система надувных подушек безопасности (SIR) работала правильно, все болты крепления модуля датчиков и диагностики SDM должны быть тщательно затянуты, а стрелка на SDM должна быть направлена к передней части автомобиля. При недостаточно жестком креплении модуля SDM к автомобилю включенный модуль может сработать, что приведет к неожиданному выпуску подушек безопасности и может повлечь травму.
Шаг
Операция
Значения
Да
Нет
1
Удостоверьтесь, что ключ зажигания находится в положении off.
Подождите минуту, чтобы разрядить заряд блока питания модуля датчиков и диагностики.
-
Перейдите на Шаг 2
-
2
Осмотрите разъем и проводку боковой подушки безопасности водителя.
Разъем отключен?
-
Подключите разъем и Перейдите на Шаг 1
Перейдите на Шаг 3
3
Удостоверьтесь, что ключ зажигания находится в положении off.
Отключите разъем модуля боковой подушки безопасности водителя.
Отключите разъем проводки модуля датчиков и диагностики (sdm).
Проверьте сопротивление между выводами 38, 37 модуля датчиков и диагностики (sdm) и выводами 1, 2 модуля боковой подушки безопасности водителя.
Сопротивление близко к 0 (нулю)?
≈ 0 Ом
Перейдите на Шаг 4
Замените проводку надувной подушки безопасности.
4
Замените модуль датчиков и диагностики.
Удостоверьтесь, что ключ зажигания находится в положении on.
Сотрите диагностический код неисправности с помощью диагностического прибора.
Выполните проверку диагностической системы системы надувных подушек безопасности (sir).
Диагностический код неисправности удален?
-
Система в норме.
Замените модуль боковой подушки безопасности водителя.
Диагностический код неисправности (dtc) b1379
Слишком низкое сопротивление боковой подушки безопасности водителя
Описание схемы
При установке ключа зажигания в положение ON модуль датчиков и диагностики (SDM) выполняет начальную проверку для выявления существенных неполадок внутри самого SDM.
После этих проверок модуль измеряет напряжения в цепях зажигания и срабатывания подушек безопасности, проверяя, что они находятся в номинальных диапазонах. SDM контролирует напряжения на проводах нижнего уровня подушек водителя и пассажира, выявляя замыкание цепей срабатывания на массу или напряжение питания.
Модуль датчиков и диагностики (SDM) проверяет проводку к модулю боковой подушки безопасности водителя, пропуская ничтожно малый ток через внутреннюю цепь и проверяя ее сопротивление.
Диагностический код неисправности dtc b1379 записывается, когда
Сопротивление цепи срабатывания подушки безопасности водителя ниже 1,77 Ом.
Повреждена закорачивающая перемычка, модуль датчиков и диагностики (sdm) необходимо заменить.
dtc b1379 - Слишком низкое сопротивление боковой подушки безопасности водителя
Внимание! Модуль датчиков и диагностики (SDM) может сохранять достаточное напряжение для приведения в действие подушек безопасности и натяжителей в течение 1 минуты после выключения зажигания и удаления предохранителя. Если подушки безопасности и натяжители не отсоединены, не начинайте обслуживание, пока не пройдет одна минута после отключения питания от SDM. Несоблюдение этого требования может привести к травмам.
Внимание! В процессе обслуживания обращайтесь с модулем датчиков и диагностики (SDM) очень осторожно. Не ударяйте и не встряхивайте SDM. Никогда не подключайте питание к системе надувных подушек безопасности (SIR), если SDM не соединен жестко с автомобилем. Чтобы система надувных подушек безопасности (SIR) работала правильно, все болты крепления модуля датчиков и диагностики SDM должны быть тщательно затянуты, а стрелка на SDM должна быть направлена к передней части автомобиля. При недостаточно жестком креплении модуля SDM к автомобилю включенный модуль может сработать, что приведет к неожиданному выпуску подушек безопасности и может повлечь травму.
Шаг
Операция
Значения
Да
Нет
1
Удостоверьтесь, что ключ зажигания находится в положении off.
Подождите минуту, чтобы разрядить заряд блока питания модуля датчиков и диагностики.
-
Перейдите на Шаг 2
-
2
Осмотрите разъем и проводку боковой подушки безопасности водителя.
Проводка надувной подушки безопасности повреждена?
-
Замените проводку надувной подушки безопасности.
Перейдите на Шаг 3
3
Удостоверьтесь, что ключ зажигания находится в положении off.
Отключите разъем модуля боковой подушки безопасности водителя.
Отключите разъем проводки модуля датчиков и диагностики (sdm).
Проверьте сопротивление между выводами 2 и 1 модуля боковой подушки безопасности водителя.
Сопротивление равно ∞?
∞
Перейдите на Шаг 4
Замените проводку надувной подушки безопасности.
4
Замените модуль датчиков и диагностики.
Удостоверьтесь, что ключ зажигания находится в положении on.
Сотрите диагностический код неисправности с помощью диагностического прибора.
Выполните проверку диагностической системы системы надувных подушек безопасности (sir).
Диагностический код неисправности удален?
-
Система в норме.
Замените модуль боковой подушки безопасности водителя.
Диагностический код неисправности (dtc) b1380
Замыкание боковой подушки безопасности водителя на массу
Описание схемы
При установке ключа зажигания в положение ON модуль датчиков и диагностики (SDM) выполняет начальную проверку для выявления существенных неполадок внутри самого SDM.
После этих проверок модуль измеряет напряжения в цепях зажигания и срабатывания подушек безопасности, проверяя, что они находятся в номинальных диапазонах. SDM контролирует напряжения на проводах нижнего уровня подушек водителя и пассажира, выявляя замыкание цепей срабатывания на массу или напряжение питания.
Модуль датчиков и диагностики (SDM) проверяет проводку к модулю боковой подушки безопасности водителя, пропуская ничтожно малый ток через внутреннюю цепь и проверяя ее сопротивление.
Диагностический код неисправности dtc b1380 записывается, когда
Провод верхнего уровня проводки боковой подушки безопасности водителя закорочен на массу.
Провод нижнего уровня проводки боковой подушки безопасности водителя закорочен на массу.
dtc b1380 Замыкание боковой подушки безопасности водителя на массу
Внимание! Модуль датчиков и диагностики (SDM) может сохранять достаточное напряжение для приведения в действие подушек безопасности и натяжителей в течение 1 минуты после выключения зажигания и удаления предохранителя. Если подушки безопасности и натяжители не отсоединены, не начинайте обслуживание, пока не пройдет одна минута после отключения питания от SDM. Несоблюдение этого требования может привести к травмам.
Внимание! В процессе обслуживания обращайтесь с модулем датчиков и диагностики (SDM) очень осторожно. Не ударяйте и не встряхивайте SDM. Никогда не подключайте питание к системе надувных подушек безопасности (SIR), если SDM не соединен жестко с автомобилем. Чтобы система надувных подушек безопасности (SIR) работала правильно, все болты крепления модуля датчиков и диагностики SDM должны быть тщательно затянуты, а стрелка на SDM должна быть направлена к передней части автомобиля. При недостаточно жестком креплении модуля SDM к автомобилю включенный модуль может сработать, что приведет к неожиданному выпуску подушек безопасности и может повлечь травму.
Шаг
Операция
Значения
Да
Нет
1
Удостоверьтесь, что ключ зажигания находится в положении off.
Подождите минуту, чтобы разрядить заряд блока питания модуля датчиков и диагностики (sdm).
-
Перейдите на Шаг 2
-
2
Осмотрите разъем и проводку боковой подушки безопасности водителя.
Проводка повреждена?
-
Замените проводку надувной подушки безопасности.
Перейдите на Шаг 3
3
Удостоверьтесь, что ключ зажигания находится в положении off.
Отключите разъем модуля боковой подушки безопасности водителя.
Отключите разъем проводки модуля датчиков и диагностики (sdm).
Проверить сопротивление между выводами верхнего и нижнего уровня модуля боковой подушки безопасности водителя и массой.
Сопротивление выше 10 кОм?
10k Ом
Перейдите на Шаг 4
Замените проводку надувной подушки безопасности.
4
Замените модуль датчиков и диагностики.
Удостоверьтесь, что ключ зажигания находится в положении on.
Сотрите диагностический код неисправности с помощью диагностического прибора.
Выполните проверку диагностической системы системы надувных подушек безопасности (sir).
Диагностический код неисправности удален?
-
Система в норме.
Замените модуль боковой подушки безопасности водителя.
Диагностический код неисправности (dtc) b1381
Замыкание боковой подушки безопасности водителя на напряжение аккумулятора
Описание схемы
При установке ключа зажигания в положение ON модуль датчиков и диагностики (SDM) выполняет начальную проверку для выявления существенных неполадок внутри самого SDM.
После этих проверок модуль измеряет напряжения в цепях зажигания и срабатывания подушек безопасности, проверяя, что они находятся в номинальных диапазонах. SDM контролирует напряжения на проводах нижнего уровня подушек водителя и пассажира, выявляя замыкание цепей срабатывания на массу или напряжение питания.
Модуль датчиков и диагностики (SDM) проверяет проводку к модулю боковой подушки безопасности водителя, пропуская ничтожно малый ток через внутреннюю цепь и проверяя ее сопротивление.
Диагностический код неисправности dtc b1381 записывается, когда
Провод верхнего уровня проводки боковой подушки безопасности водителя закорочен на провод аккумулятора.
Провод нижнего уровня проводки боковой подушки безопасности водителя закорочен на провод аккумулятора.
dtc b1381 - Замыкание боковой подушки безопасности водителя на напряжение аккумулятора
Внимание! Модуль датчиков и диагностики (SDM) может сохранять достаточное напряжение для приведения в действие подушек безопасности и натяжителей в течение 1 минуты после выключения зажигания и удаления предохранителя. Если подушки безопасности и натяжители не отсоединены, не начинайте обслуживание, пока не пройдет одна минута после отключения питания от SDM. Несоблюдение этого требования может привести к травмам.
Внимание! В процессе обслуживания обращайтесь с модулем датчиков и диагностики (SDM) очень осторожно. Не ударяйте и не встряхивайте SDM. Никогда не подключайте питание к системе надувных подушек безопасности (SIR), если SDM не соединен жестко с автомобилем. Чтобы система надувных подушек безопасности (SIR) работала правильно, все болты крепления модуля датчиков и диагностики SDM должны быть тщательно затянуты, а стрелка на SDM должна быть направлена к передней части автомобиля. При недостаточно жестком креплении модуля SDM к автомобилю включенный модуль может сработать, что приведет к неожиданному выпуску подушек безопасности и может повлечь травму.
Шаг
Операция
Значения
Да
Нет
1
Удостоверьтесь, что ключ зажигания находится в положении off.
Подождите минуту, чтобы разрядить заряд блока питания модуля датчиков и диагностики (sdm).
-
Перейдите на Шаг 2
-
2
Осмотрите разъем и проводку боковой подушки безопасности водителя.
Проводка повреждена?
-
Замените проводку надувной подушки безопасности.
Перейдите на Шаг 3
3
Удостоверьтесь, что ключ зажигания находится в положении off.
Отключите разъем модуля боковой подушки безопасности водителя.
Отключите разъем проводки модуля датчиков и диагностики (sdm).
Проверьте сопротивление между модулем sdm и выводами верхнего и нижнего уровня модуля боковой подушки безопасности водителя и аккумулятором.
Сопротивление выше 10 кОм?
10k Ом
Перейдите на Шаг 4
Замените проводку надувной подушки безопасности.
4
Замените модуль датчиков и диагностики.
Удостоверьтесь, что ключ зажигания находится в положении on.
Сотрите диагностический код неисправности с помощью диагностического прибора.
Выполните проверку диагностической системы системы надувных подушек безопасности (sir).
Диагностический код неисправности удален?
-
Система в норме.
Замените модуль боковой подушки безопасности водителя.
Диагностический код неисправности (dtc) b1382
Слишком высокое сопротивление боковой подушки безопасности пассажира
Описание схемы
При установке ключа зажигания в положение ON модуль датчиков и диагностики (SDM) выполняет начальную проверку для выявления существенных неполадок внутри самого SDM.
После этих проверок модуль измеряет напряжения в цепях зажигания и срабатывания подушек безопасности, проверяя, что они находятся в номинальных диапазонах. SDM контролирует напряжения на проводах нижнего уровня подушек водителя и пассажира, выявляя замыкание цепей срабатывания на массу или напряжение питания. Модуль датчиков и диагностики (SDM) проверяет проводку к модулю боковой подушки безопасности пассажира, пропуская ничтожно малый ток через внутреннюю цепь и проверяя ее сопротивление.
Диагностический код неисправности dtc b1382 записывается, когда
Сопротивление цепи срабатывания боковой подушки безопасности пассажира превышает 3,54 Ом.
dtc b1382 - Слишком высокое сопротивление боковой подушки безопасности пассажира
Внимание! Модуль датчиков и диагностики (SDM) может сохранять достаточное напряжение для приведения в действие подушек безопасности и натяжителей в течение 1 минуты после выключения зажигания и удаления предохранителя. Если подушки безопасности и натяжители не отсоединены, не начинайте обслуживание, пока не пройдет одна минута после отключения питания от SDM. Несоблюдение этого требования может привести к травмам.
Внимание! В процессе обслуживания обращайтесь с модулем датчиков и диагностики (SDM) очень осторожно. Не ударяйте и не встряхивайте SDM. Никогда не подключайте питание к системе надувных подушек безопасности (SIR), если SDM не соединен жестко с автомобилем. Чтобы система надувных подушек безопасности (SIR) работала правильно, все болты крепления модуля датчиков и диагностики SDM должны быть тщательно затянуты, а стрелка на SDM должна быть направлена к передней части автомобиля. При недостаточно жестком креплении модуля SDM к автомобилю включенный модуль может сработать, что приведет к неожиданному выпуску подушек безопасности и может повлечь травму.
Шаг
Операция
Значения
Да
Нет
1
Удостоверьтесь, что ключ зажигания находится в положении off.
Подождите минуту, чтобы разрядить заряд блока питания модуля датчиков и диагностики.
-
Перейдите на Шаг 2
-
2
Осмотреть разъем и проводку боковой подушки безопасности пассажира.
Разъем отключен?
-
Подключите разъем и Перейдите на Шаг 1
Перейдите на Шаг 3
3
Удостоверьтесь, что ключ зажигания находится в положении off.
Отключите разъем модуля боковой подушки безопасности пассажира.
Отключите разъем проводки модуля датчиков и диагностики (sdm).
Проверьте сопротивление между выводами 2, 1 модуля боковой подушки безопасности пассажира и выводами 39, 40 модуля датчиков и диагностики (sdm).
Сопротивление близко к 0 (нулю)?
≈ 0 Ом
Перейдите на Шаг 4
Замените проводку надувной подушки безопасности.
4
Замените модуль датчиков и диагностики.
Удостоверьтесь, что ключ зажигания находится в положении on.
Стереть диагностический код неисправности с помощью диагностического прибора
Выполните проверку диагностической системы системы надувных подушек безопасности (sir).
Диагностический код неисправности удален?
-
Система в норме.
Замените модуль боковой подушки безопасности пассажира.
Диагностический код неисправности (dtc) b1383
Слишком низкое сопротивление боковой подушки безопасности пассажира
Описание схемы
При установке ключа зажигания в положение ON модуль датчиков и диагностики (SDM) выполняет начальную проверку для выявления существенных неполадок внутри самого SDM.
После этих проверок модуль измеряет напряжения в цепях зажигания и срабатывания подушек безопасности, проверяя, что они находятся в номинальных диапазонах. SDM контролирует напряжения на проводах нижнего уровня подушек водителя и пассажира, выявляя замыкание цепей срабатывания на массу или напряжение питания.
Модуль датчиков и диагностики (SDM) проверяет проводку к модулю боковой подушки безопасности пассажира, пропуская ничтожно малый ток через внутреннюю цепь и проверяя ее сопротивление.
Диагностический код неисправности dtc b1383 записывается, когда
Сопротивление цепи срабатывания боковой подушки безопасности пассажира ниже 1,77 Ом.
Повреждена закорачивающая перемычка, модуль датчиков и диагностики (sdm) необходимо заменить.
dtc b1383 - Слишком низкое сопротивление боковой подушки безопасности пассажира
Внимание! Модуль датчиков и диагностики (SDM) может сохранять достаточное напряжение для приведения в действие подушек безопасности и натяжителей в течение 1 минуты после выключения зажигания и удаления предохранителя. Если подушки безопасности и натяжители не отсоединены, не начинайте обслуживание, пока не пройдет одна минута после отключения питания от SDM. Несоблюдение этого требования может привести к травмам.
Внимание! В процессе обслуживания обращайтесь с модулем датчиков и диагностики (SDM) очень осторожно. Не ударяйте и не встряхивайте SDM. Никогда не подключайте питание к системе надувных подушек безопасности (SIR), если SDM не соединен жестко с автомобилем. Чтобы система надувных подушек безопасности (SIR) работала правильно, все болты крепления модуля датчиков и диагностики SDM должны быть тщательно затянуты, а стрелка на SDM должна быть направлена к передней части автомобиля. При недостаточно жестком креплении модуля SDM к автомобилю включенный модуль может сработать, что приведет к неожиданному выпуску подушек безопасности и может повлечь травму.
Шаг
Операция
Значения
Да
Нет
1
Удостоверьтесь, что ключ зажигания находится в положении off.
Подождите минуту, чтобы разрядить заряд блока питания модуля датчиков и диагностики.
-
Перейдите на Шаг 2
-
2
Осмотреть разъем и проводку боковой подушки безопасности пассажира.
Проводка повреждена?
-
Замените проводку надувной подушки безопасности.
Перейдите на Шаг 3
3
Удостоверьтесь, что ключ зажигания находится в положении off.
Отключите разъем модуля боковой подушки безопасности пассажира.
Отключить разъем модуля датчиков и диагностики (sdm).
Проверьте сопротивление между выводами 1 и 2 модуля боковой подушки безопасности пассажира.
Сопротивление равно ∞?
∞
Перейдите на Шаг 4
Замените проводку надувной подушки безопасности.
4
Замените модуль датчиков и диагностики.
Удостоверьтесь, что ключ зажигания находится в положении on.
Сотрите диагностический код неисправности с помощью диагностического прибора.
Выполните проверку диагностической системы системы надувных подушек безопасности (sir).
Диагностический код неисправности удален?
-
Перейдите на Шаг 4
Замените модуль боковой подушки безопасности пассажира.
Диагностический код неисправности (dtc) b1384
Замыкание боковой подушки безопасности пассажира на массу
Описание схемы
При установке ключа зажигания в положение ON модуль датчиков и диагностики (SDM) выполняет начальную проверку для выявления существенных неполадок внутри самого SDM.
После этих проверок модуль измеряет напряжения в цепях зажигания и срабатывания подушек безопасности, проверяя, что они находятся в номинальных диапазонах. SDM контролирует напряжения на проводах нижнего уровня подушек водителя и пассажира, выявляя замыкание цепей срабатывания на массу или напряжение питания.
Модуль датчиков и диагностики (SDM) проверяет проводку к модулю боковой подушки безопасности пассажира, пропуская ничтожно малый ток через внутреннюю цепь и проверяя ее сопротивление.
Диагностический код неисправности dtc b1384 записывается, когда
Провод верхнего уровня проводки боковой подушки безопасности пассажира закорочен на массу.
Провод нижнего уровня проводки боковой подушки безопасности пассажира закорочен на массу.
dtc b1384 - Замыкание боковой подушки безопасности пассажира на массу
Внимание! Модуль датчиков и диагностики (SDM) может сохранять достаточное напряжение для приведения в действие подушек безопасности и натяжителей в течение 1 минуты после выключения зажигания и удаления предохранителя. Если подушки безопасности и натяжители не отсоединены, не начинайте обслуживание, пока не пройдет одна минута после отключения питания от SDM. Несоблюдение этого требования может привести к травмам.
Внимание! В процессе обслуживания обращайтесь с модулем датчиков и диагностики (SDM) очень осторожно. Не ударяйте и не встряхивайте SDM. Никогда не подключайте питание к системе надувных подушек безопасности (SIR), если SDM не соединен жестко с автомобилем. Чтобы система надувных подушек безопасности (SIR) работала правильно, все болты крепления модуля датчиков и диагностики SDM должны быть тщательно затянуты, а стрелка на SDM должна быть направлена к передней части автомобиля. При недостаточно жестком креплении модуля SDM к автомобилю включенный модуль может сработать, что приведет к неожиданному выпуску подушек безопасности и может повлечь травму.
Шаг
Операция
Значения
Да
Нет
1
Удостоверьтесь, что ключ зажигания находится в положении off.
Подождите минуту, чтобы разрядить заряд блока питания модуля датчиков и диагностики (sdm).
-
Перейдите на Шаг 2
-
2
Осмотреть разъем и проводку боковой подушки безопасности пассажира.
Проводка повреждена?
-
Замените проводку надувной подушки безопасности.
Перейдите на Шаг 3
3
Удостоверьтесь, что ключ зажигания находится в положении off.
Отключите разъем модуля боковой подушки безопасности пассажира.
Отключить разъем модуля датчиков и диагностики (sdm).
Проверить сопротивление между выводами верхнего и нижнего уровня модуля боковой подушки безопасности пассажира и массой.
Сопротивление выше 10 кОм?
10k Ом
Перейдите на Шаг 4
Замените проводку надувной подушки безопасности.
4
Замените модуль датчиков и диагностики.
Удостоверьтесь, что ключ зажигания находится в положении on.
Сотрите диагностический код неисправности с помощью диагностического прибора.
Выполните проверку диагностической системы системы надувных подушек безопасности (sir).
Диагностический код неисправности удален?
-
Система в норме.
Замените модуль боковой подушки безопасности пассажира.
Диагностический код неисправности (dtc) b1385
Замыкание боковой подушки безопасности пассажира на напряжение аккумулятора
Описание схемы
При установке ключа зажигания в положение ON модуль датчиков и диагностики (SDM) выполняет начальную проверку для выявления существенных неполадок внутри самого SDM.
После этих проверок модуль измеряет напряжения в цепях зажигания и срабатывания подушек безопасности, проверяя, что они находятся в номинальных диапазонах. SDM контролирует напряжения на проводах нижнего уровня подушек водителя и пассажира, выявляя замыкание цепей срабатывания на массу или напряжение питания.
Модуль датчиков и диагностики (SDM) проверяет проводку к модулю боковой подушки безопасности пассажира, пропуская ничтожно малый ток через внутреннюю цепь и проверяя ее сопротивление.
Диагностический код неисправности dtc b1385 записывается, когда
Провод верхнего уровня проводки боковой подушки безопасности пассажира закорочен на провод аккумулятора.
Провод нижнего уровня проводки боковой подушки безопасности пассажира закорочен на провод аккумулятора.
dtc b1385 - Замыкание боковой подушки безопасности пассажира на напряжение аккумулятора
Внимание! Модуль датчиков и диагностики (SDM) может сохранять достаточное напряжение для приведения в действие подушек безопасности и натяжителей в течение 1 минуты после выключения зажигания и удаления предохранителя. Если подушки безопасности и натяжители не отсоединены, не начинайте обслуживание, пока не пройдет одна минута после отключения питания от SDM. Несоблюдение этого требования может привести к травмам.
Внимание! В процессе обслуживания обращайтесь с модулем датчиков и диагностики (SDM) очень осторожно. Не ударяйте и не встряхивайте SDM. Никогда не подключайте питание к системе надувных подушек безопасности (SIR), если SDM не соединен жестко с автомобилем. Чтобы система надувных подушек безопасности (SIR) работала правильно, все болты крепления модуля датчиков и диагностики SDM должны быть тщательно затянуты, а стрелка на SDM должна быть направлена к передней части автомобиля. При недостаточно жестком креплении модуля SDM к автомобилю включенный модуль может сработать, что приведет к неожиданному выпуску подушек безопасности и может повлечь травму.
Шаг
Операция
Значения
Да
Нет
1
Удостоверьтесь, что ключ зажигания находится в положении off.
Подождите минуту, чтобы разрядить заряд блока питания модуля датчиков и диагностики (sdm).
-
Перейти к этапу 2
-
2
Осмотреть разъем и проводку боковой подушки безопасности пассажира.
Проводка повреждена?
-
Замените проводку надувной подушки безопасности.
Перейдите на Шаг 3
3
Удостоверьтесь, что ключ зажигания находится в положении off.
Отключите разъем модуля боковой подушки безопасности пассажира.
Отключить разъем модуля датчиков и диагностики (sdm).
Проверить сопротивление между выводами верхнего и нижнего уровня модуля боковой подушки безопасности пассажира и аккумулятором.
Сопротивление выше 10 кОм?
10k Ом
Перейдите на Шаг 4
Замените проводку надувной подушки безопасности.
4
Замените модуль датчиков и диагностики.
Удостоверьтесь, что ключ зажигания находится в положении on.
Сотрите диагностический код неисправности с помощью диагностического прибора.
Выполните проверку диагностической системы системы надувных подушек безопасности (sir).
Диагностический код неисправности удален?
-
Система в норме.
Замените модуль боковой подушки безопасности пассажира.
Диагностический код неисправности (dtc) b1395
Нарушение соединений в цепи пусковых контуров
Описание схемы
При установке ключа зажигания в положение ON модуль датчиков и диагностики (SDM) выполняет начальную проверку для выявления существенных неполадок внутри самого SDM.
После этих проверок модуль измеряет напряжения в цепях зажигания и срабатывания подушек безопасности, проверяя, что они находятся в номинальных диапазонах. SDM контролирует напряжения на проводах низкого уровня подушек водителя и пассажира, выявляя замыкание цепей срабатывания на массу или напряжение питания.
Модуль SDM проверяет проводку подушки безопасности, пропуская очень малый ток по внутренней цепи и проверяя ее сопротивление.
В случае выдачи кода неисправности DTS B1395 правильно подключите ошибочно соединенный провод высокого или низкого уровня или замените проводку подушки безопасности.
Диагностический код неисправности dtc b1395 записывается, когда
Какой-либо из проводов высокого или низкого уровня подушки безопасности подключен неправильно.
dtc b1395 Нарушение соединений в цепи пусковых контуров
Внимание! Модуль датчиков и диагностики (SDM) может сохранять достаточное напряжение для приведения в действие подушек безопасности и натяжителей в течение 1 минуты после выключения зажигания и удаления предохранителя. Если подушки безопасности и натяжители не отсоединены, не начинайте обслуживание, пока не пройдет одна минута после отключения питания от SDM. Несоблюдение этого требования может привести к травмам.
Внимание! В процессе обслуживания обращайтесь с модулем датчиков и диагностики (SDM) очень осторожно. Не ударяйте и не встряхивайте SDM. Никогда не подключайте питание к системе надувных подушек безопасности (SIR), если SDM не соединен жестко с автомобилем. Чтобы система надувных подушек безопасности (SIR) работала правильно, все болты крепления модуля датчиков и диагностики SDM должны быть тщательно затянуты, а стрелка на SDM должна быть направлена к передней части автомобиля. При недостаточно жестком креплении модуля SDM к автомобилю включенный модуль может сработать, что приведет к неожиданному выпуску подушек безопасности и может повлечь травму.
Диагностический код неисправности (dtc) b1400
Неисправность датчика боковой подушки безопасности водителя
Описание схемы
При установке ключа зажигания в положение ON модуль датчиков и диагностики (SDM) выполняет начальную проверку для выявления существенных неполадок внутри самого SDM.
После этих проверок модуль измеряет напряжения в цепях зажигания и срабатывания подушек безопасности, проверяя, что они находятся в номинальных диапазонах. SDM контролирует напряжения на проводах нижнего уровня подушек водителя и пассажира, выявляя замыкание цепей срабатывания на массу или напряжение питания.
Диагностический код неисправности dtc b1400 записывается, когда
Датчик боковой подушки безопасности водителя неисправен.
dtc b1400 - Неисправность датчика боковой подушки безопасности водителя
Внимание! Модуль датчиков и диагностики (SDM) может сохранять достаточное напряжение для приведения в действие подушек безопасности и натяжителей в течение 1 минуты после выключения зажигания и удаления предохранителя. Если подушки безопасности и натяжители не отсоединены, не начинайте обслуживание, пока не пройдет одна минута после отключения питания от SDM. Несоблюдение этого требования может привести к травмам.
Внимание! В процессе обслуживания обращайтесь с модулем датчиков и диагностики (SDM) очень осторожно. Не ударяйте и не встряхивайте SDM. Никогда не подключайте питание к системе надувных подушек безопасности (SIR), если SDM не соединен жестко с автомобилем. Чтобы система надувных подушек безопасности (SIR) работала правильно, все болты крепления модуля датчиков и диагностики SDM должны быть тщательно затянуты, а стрелка на SDM должна быть направлена к передней части автомобиля. При недостаточно жестком креплении модуля SDM к автомобилю включенный модуль может сработать, что приведет к неожиданному выпуску подушек безопасности и может повлечь травму.
Шаг
Операция
Значения
Да
Нет
1
Удостоверьтесь, что ключ зажигания находится в положении off.
Подождите минуту, чтобы разрядить заряд блока питания модуля датчиков и диагностики (sdm).
Осмотрите проводку и разъем датчика боковой подушки безопасности пассажира на предмет повреждений.
Проводка или разъем подушки безопасности поврежден?
-
Перейдите на Шаг 2
Перейдите на Шаг 3
2
Замените проводку надувной подушки безопасности.
-
-
-
3
Замените датчик боковой подушки безопасности водителя.
-
-
-
Диагностический код неисправности (dtc) b1401
Замыкание датчика боковой подушки безопасности водителя на массу или утечка
Описание схемы
При установке ключа зажигания в положение ON модуль датчиков и диагностики (SDM) выполняет начальную проверку для выявления существенных неполадок внутри самого SDM.
После этих проверок модуль измеряет напряжения в цепях зажигания и срабатывания подушек безопасности, проверяя, что они находятся в номинальных диапазонах. SDM контролирует напряжения на проводах нижнего уровня подушек водителя и пассажира, выявляя замыкание цепей срабатывания на массу или напряжение питания.
Диагностический код неисправности dtc b1401 записывается, когда
Провод верхнего уровня проводки датчика боковой подушки безопасности водителя закорочен на массу.
Провод нижнего уровня проводки датчика боковой подушки безопасности водителя закорочен на массу.
dtc b1401 - Замыкание датчика боковой подушки безопасности водителя на массу или утечка
Внимание! Модуль датчиков и диагностики (SDM) может сохранять достаточное напряжение для приведения в действие подушек безопасности и натяжителей в течение 1 минуты после выключения зажигания и удаления предохранителя. Если подушки безопасности и натяжители не отсоединены, не начинайте обслуживание, пока не пройдет одна минута после отключения питания от SDM. Несоблюдение этого требования может привести к травмам.
Внимание! В процессе обслуживания обращайтесь с модулем датчиков и диагностики (SDM) очень осторожно. Не ударяйте и не встряхивайте SDM. Никогда не подключайте питание к системе надувных подушек безопасности (SIR), если SDM не соединен жестко с автомобилем. Чтобы система надувных подушек безопасности (SIR) работала правильно, все болты крепления модуля датчиков и диагностики SDM должны быть тщательно затянуты, а стрелка на SDM должна быть направлена к передней части автомобиля. При недостаточно жестком креплении модуля SDM к автомобилю включенный модуль может сработать, что приведет к неожиданному выпуску подушек безопасности и может повлечь травму.
Шаг
Операция
Значения
Да
Нет
1
Удостоверьтесь, что ключ зажигания находится в положении off.
Подождите минуту, чтобы разрядить заряд блока питания модуля датчиков и диагностики (sdm).
-
Перейдите на Шаг 2
-
2
Осмотреть разъем и проводку датчика боковой подушки безопасности водителя.
Проводка или разъем повреждены?
-
Замените проводку надувной подушки безопасности.
Перейдите на Шаг 3
3
Удостоверьтесь, что ключ зажигания находится в положении off.
Отсоединить разъем датчика боковой подушки безопасности водителя.
Отключите разъем проводки модуля датчиков и диагностики (sdm).
Проверьте сопротивление между выводами 2, 1 датчика боковой подушки безопасности водителя.
Сопротивление равно ∞?
∞
Перейдите на Шаг 4
Замените проводку надувной подушки безопасности.
4
Проверить сопротивление между выводами верхнего и нижнего уровня датчика боковой подушки безопасности водителя и массой.
Сопротивление выше 4,5 кОм?
4,5 кОм
Перейдите на Шаг 5
Замените проводку надувной подушки безопасности.
5
Замените датчик боковой подушки безопасности водителя.
Удостоверьтесь, что ключ зажигания находится в положении on.
Сотрите диагностический код неисправности с помощью диагностического прибора.
Выполните проверку диагностической системы системы надувных подушек безопасности (sir).
Диагностический код неисправности удален?
-
Система в норме.
Замените модуль датчиков и диагностики.
https://vnx.su/ 🛠 Руководства по ремонту и эксплуатации для автомобилей