Tacuma-Rezzo
To Previous Page To Next Page



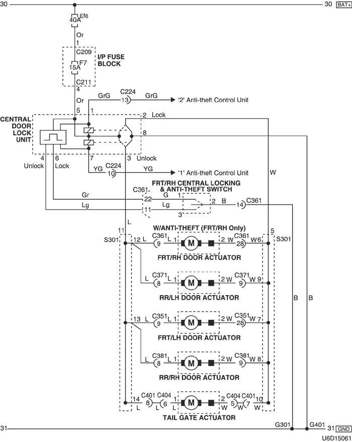
17. CENTRAL DOOR LOCKING SYSTEM CIRCUIT

U6D15061.png


a. CONNECTOR INFORMATION

connector no
(pin no, color)
connecting wiring harness connector position
C209 (1 Pin, Colorless) I/P Fuse Block – Front Behind the I/P Fuse Block
C211 (12 Pin, White) I/P Fuse Block – Floor Behind the I/P Fuse Block
C215 (16 Pin, White) Floor – Front Under the I/P Fuse Block
C224 (14 Pin, White) IP – Floor Under the Door Lock Unit
C351 (29 Pin, White) Floor – Co-Driver Door Inside Light 'A' Pillar
C361 (29 Pin, White) Floor – Driver Door Inside Right 'A' Pillar
C371 (11 Pin, White) Floor – Rear Light Door Inside Light 'B' Pillar
C381 (11 Pin, White) Floor – Rear Right Door Inside Right 'B' Pillar
C401 (10 Pin, White) Tailgate – Floor Behind the Rear Quarter Glass
C404 (8 Pin, White) Tailgate – Tailgate, AUX Left Under Tailgate Behind the Tail Lamp
S301 (Black) Floor Under the Driver Crossmember Panel
G301 Floor Under the Driver Room Floor
G401 Floor Left the Trunk Room Under the Tail Lamp

b. CONNECTOR IDENTIFICATION SYMBOL & PIN NUMBER POSITION

U4D1P115.png


c. POSITION OF CONNECTORS AND GROUNDS

U4D12027.png


U4D12017.png


U4D12028.png


d. SPLICE PACK

s301

U5D1S019.png


To Previous Page To Next Page


https://vnx.su/ 🛠 Руководства по ремонту и эксплуатации для автомобилей

Поиск по сайту

Остались вопросы или пожелания? Пишите на почту: support@vnx.su

Карта Сайта