К началу документа
Tacuma-Rezzo
На предыдущую страницуНа следующую страницу
Главная страница GMDEЗагрузить нединамическое оглавлениеЗагрузить динамическое оглавлениеПомощь



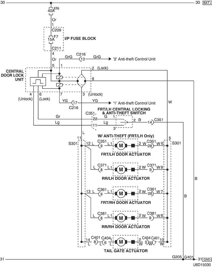
18. ЦЕПЬ СИСТЕМЫ ЦЕНТРАЛЬНОЙ БЛОКИРОВКИ ДВЕРЕЙ

U6D15030.png
Показать иллюстрациюПеревод текста в иллюстрациях


а. ИНФОРМАЦИЯ О РАЗЪЁМЕ

№ РАЗЪЁМА
(№ И ЦВЕТ КОНТАКТА)
СОЕДИНИТЕЛЬНЫЙ ЖГУТ ПРОВОДОВПОЛОЖЕНИЕ РАЗЪЁМА
C209 (контакт 1, бесцветный) Блок предохранителей на приборной панели - передняя часть За блоком предохранителей на приборной панели
С211 (контакт 12, белый) Блок предохранителей на приборной панели - пол За блоком предохранителей на приборной панели
С216 (контакт 22, белый) Пол - приборная панель Под блоком предохранителей на приборной панели
С351 (контакт 29, белый) Пол - дверь водителя Внутренняя сторона левой передней стойки
С361 (контакт 29, белый) Пол - дверь пассажира Внутренняя сторона правой передней стойки
С371 (контакт 11, белый) Пол - задняя левая дверь Внутренняя сторона левой средней стойки
С381 (контакт 11, белый) Пол - задняя правая дверь Внутренняя сторона правой средней стойки
С401 (контакт 10, белый) Задняя дверь - пол За боковым стеклом в задней части кузова
С404 (контакт 8, белый) Задняя дверь - задняя дверь, допол. С левой стороны под задней дверью за задним фонарем
S301 (черн.) Пол Под панелью поперечины со стороны водителя
G205 Пол За блоком предохранителей на приборной панели
G401 Пол С левой стороны багажного отсека под задним фонарем

б. УСЛОВНОЕ ОБОЗНАЧЕНИЕ & И НАХОЖДЕНИЕ НОМЕРА КОНТАКТА

U5D1P012.png
Показать иллюстрациюПеревод текста в иллюстрациях


в. РАСПОЛОЖЕНИЕ РАЗЪЁМОВ И СОЕДИНЕНИЙ МАССЫ

U4D12015.png
Показать иллюстрациюПеревод текста в иллюстрациях


U4D12016.png
Показать иллюстрациюПеревод текста в иллюстрациях


U4D12017.png
Показать иллюстрациюПеревод текста в иллюстрациях


г. КОНТАКТНАЯ КОЛОДКА

s301

U5D1S011.png
Показать иллюстрациюПеревод текста в иллюстрациях


На предыдущую страницуНа следующую страницу


https://vnx.su/ 🛠 Руководства по ремонту и эксплуатации для автомобилей

Поиск по сайту

Остались вопросы или пожелания? Пишите на почту: support@vnx.su

Карта Сайта