ДИАГНОСТИЧЕСКИЙ КОД НЕИСПРАВНОСТИ (dtc) Р0401 НЕДОСТАТОЧНЫЙ РАСХОД ПРИ РЕЦИРКУЛЯЦИИ ОТРАБОТАВШИХ ГАЗОВ (2,0 Л ДВА РАСПРЕДЕЛИТЕЛЬНЫХ ВАЛА С ВЕРХНИМ РАСПОЛОЖЕНИЕМ)
Описание схемы
Система рециркуляции отработавших газов используется для снижения уровня выброса оксида азота (NOx), вызываемого высокой температурой сгорания. Она осуществляет это путем подачи небольшого количества отработавших газов обратно в камеру сгорания. При соединении воздушно-топливной смеси с отработавшими газами, температура сгорания понижается.
В данной системе используется линейный клапан системы рециркуляции отработавших газов. Линейный клапан предназначен для точной подачи отработавших газов в двигатель без использования впускного коллектора. Клапан управляет потоком отработавших газов во впускной коллектор из выпускного коллектора соплом при помощи иглы, управляемой контроллером ЭСУД. Контроллер ЭСУД управляет положением иглы, используя входы датчика положения дросселя и датчик абсолютного давления во впускном коллекторе. Затем ЭСУД выдает команду на срабатывание при необходимости клапана системы рециркуляции отработанных газов путем управления сигналом зажигания через контроллер ЭСУД. Это можно контролировать на сканирующем приборе как желаемое положение системы рециркуляции отработавших газов.
ЭСУД контролирует результат выполнения своей команды по ответному сигналу. При опорном сигнале 5 В и замыкании "массы" на клапане рециркуляции отработавших газов, сигнал, представляющий положение иглы клапана рециркуляции отработавших газов, выдается в ЭСУД. Данный сигнал обратной связи также контролируется на сканирующем приборе и отображает действительное положение иглы клапана рециркуляции отработавших газов. Действительное положение клапана рециркуляции отработавших газов всегда должно быть в пределах задаваемого или желаемого положения.
Данная диагностика определит сокращение расхода в системе рециркуляции отработавших газов.
Условия установки кода неисправности.
Диагностические коды неисправности Р0106, Р0107, Р0108, Р0117,Р0118, Р0122, Р0123, Р0125, Р0201, Р0202, Р0203, Р0204, Р0351, Р0352, Р0402, Р1404, Р0405, Р0406 и Р0502 не устанавливаются.
Проверка в режиме отключения подачи топлива при торможении двигателем
Барометрическое давление больше 72 кПа (10,4 фунта/кв. дюйм).
Скорость автомобиля больше 18 км/ч (11,2 мили/ч).
Сцепление кондиционера и состояние коробки передач с главной передачей в сборе неизменны.
Скорость вращения в пределах 1300 и 2900 для автоматической коробки передач.
Скорость вращения в пределах 1400 и 3000 для механической коробки передач.
Компенсируемое абсолютное давление в коллекторе в пределах от 10,3 до 32 кПа (от 1,5 до 4,6 фунта/кв. дюйм).
Испытание при запуске.
Показание датчика положения дроссельной заслонки меньше 1%.
Рециркуляция отработавших газов составляет меньше 1%.
Изменение абсолютного давления в коллекторе меньше 1,0 кПа (0,15 фунта/кв. дюйм)
Примечание: Тест прекратится при:
Изменении скорости автомобиля более чем на 4 км/ч (2,5 мили/ч)
Увеличение оборотов двигателя больше чем на 50.
Рециркуляция отработавших газов составляет меньше 90%, чем заданное положение.
Действия, выполняемые при установке кода неисправности
Контрольная лампа индикации неисправности не загорается.
Контроллер ЭСУД сохраняет условия, имевшие место в момент установки диагностических кодов неисправности, только как протокол неисправностей. Эта информация не сохраняется в буфере записей состояния.
Условия очистки кода неисправности/индикации неисправности
Архив диагностических кодов неисправности очищается через 40 последовательных циклов нагрева без неисправностей.
Диагностический код неисправности может быть очищен сканирующим прибором.
Отключение питания контроллера ЭСУД более чем на 10 секунд.
Указания по диагностике
Для определения проблемы и для подтверждения необходимости ремонта может оказать большую помощь значение фильтра системы рециркуляции отработавших газов. Значение фильтра торможения системы рециркуляции отработавших газов - это среднее значение разности между ожидаемым изменением абсолютного давления во впускном коллекторе и действительным изменением абсолютного давления, в результате открытия клапана системы рециркуляции отработавших газов при торможении. Данное значение также используется для определения проблемы, когда загорается контрольная лампа индикации неисправности. Разогнав автомобиль приблизительно до 97 км/ч (60 м/ч) и снизив скорость до 32 км/ч (20 м/ч), можно определить, в каком состоянии находится система рециркуляции отработавших газов: в порядке, частично либо полностью сужено сечение.
Отрицательное значение (меньше -3) указывает на то, что система работает нормально, в то время как положительное число указывает на то, что в системе сужено сечение и, что ожидаемый расход рециркуляции отработавших газов не наблюдается. Число между минус 3 и плюс 2 указывает на то, что сечение в системе частично ограничено, но недостаточно, для того, чтобы вызвать удар выхлопных газов.
Значение фильтра торможения системы рециркуляции отработавших газов должно всегда составлять -3 и ниже. Если значение фильтра торможения системы рециркуляции отработавших газов стремится к увеличению (к 0 и выше), то это означает, что сечение в системе сужается. Проверить наличие возможного повреждения трубы рециркуляции отработавших газов, либо же сужение сечения, вызываемое отложениями углерода в трубопроводах системы рециркуляции, либо же на клапане системы рециркуляции.
ДИАГНОСТИЧЕСКИЙ КОД НЕИСПРАВНОСТИ Р0401 НЕДОСТАТОЧНЫЙ РАСХОД ПРИ РЕЦИРКУЛЯЦИИ ОТРАБОТАВШИХ ГАЗОВ (2,0 Л ДВА РАСПРЕДЕЛИТЕЛЬНЫХ ВАЛА С ВЕРХНИМ РАСПОЛОЖЕНИЕМ)
Шаг
Операция
Значения
Да
Нет
1
Провести проверку бортовой системы диагностики (eobd).
Проверка проведена?
-
Перейти к операции 2
Перейти к "Проверка бортовой системы диагностики"
2
Подключить сканирующий прибор к колодке диагностики.
Запустить двигатель, и дать ему поработать на холостом ходу.
Дать команду клапану системы рециркуляции на перемещение на указанные значения.
Глохнет ли двигатель или проявляет признаки заглохания?
50 %
Перейти к операции 5
Перейдите к Шагу 3
3
Выключите зажигание.
Отсоединить разъем клапана системы рециркуляции и снять клапан.
Осмотреть трубопроводы клапана системы рециркуляции на отсутствие сужения сечения или повреждения и устранить неисправность, как требуется.
Закончен ли ремонт?
-
Перейти к операции 5
Перейти к операции 4
4
Заменить клапан egr.
Закончен ли ремонт?
-
Перейти к операции 5
-
5
Отсоединить аккумулятор на 10 секунд, минимум.
Разогнать автомобиль до 97 км/ч (60миль/ч).
Отпустить педаль газа и дать автомобилю снизить скорость до 32 км/ч (20миль/ч)
Значение фильтра торможения системы рециркуляции больше, чем указанное значение?
0
Перейдите к Шагу 3
Перейти к операции 6
6
Используя сканирующий прибор, очистить диагностические коды неисправностей.
Запустить двигатель и дать ему поработать на холостом ходу при нормальной рабочей температуре.
Совершить поездку для установки кодов неисправности, как это указано во вспомогательном тексте.
Сканирующий прибор определяет эту диагностику как прошедшую и успешную?
-
Перейдите к Шагу 7
Перейти к операции 2
7
Проверьте, не установлены ли дополнительные диагностические коды неисправности.
Отображены ли диагностические коды неисправности, которые не были продиагностированы?
-
Перейти к соответствующей таблице диагностических кодов неисправности
Система в норме
ДИАГНОСТИЧЕСКИЙ КОД НЕИСПРАВНОСТИ (dtc) Р0402 ЧРЕЗМЕРНЫЙ РАСХОД ПРИ РЕЦИРКУЛЯЦИИ ОТРАБОТАВШИХ ГАЗОВ (2,0 Л ДВА РАСПРЕДЕЛИТЕЛЬНЫХ ВАЛА С ВЕРХНИМ РАСПОЛОЖЕНИЕМ)
Описание схемы
Система рециркуляции отработавших газов используется для снижения уровня выброса оксида азота (NOx), вызываемого высокой температурой сгорания. Она осуществляет это путем подачи небольшого количества отработавших газов обратно в камеру сгорания. При соединении воздушно-топливной смеси с отработавшими газами, температура сгорания понижается.
В данной системе используется линейный клапан системы рециркуляции отработавших газов. Линейный клапан предназначен для точной подачи отработавших газов в двигатель без использования впускного коллектора. Клапан управляет потоком отработавших газов во впускной коллектор из выпускного коллектора соплом при помощи иглы, управляемой контроллером ЭСУД. Контроллер ЭСУД управляет положением иглы, используя входы датчика положения дросселя и датчик абсолютного давления во впускном коллекторе. Затем ЭСУД выдает команду на срабатывание при необходимости клапана системы рециркуляции отработанных газов путем управления сигналом зажигания через контроллер ЭСУД. Это можно контролировать на сканирующем приборе как желаемое положение системы рециркуляции отработавших газов.
ЭСУД контролирует результат выполнения своей команды по ответному сигналу. При опорном сигнале 5 В и замыкании "массы" на клапане рециркуляции отработавших газов, сигнал, представляющий положение иглы клапана рециркуляции отработавших газов, выдается в ЭСУД. Данный сигнал обратной связи также контролируется на сканирующем приборе и отображает действительное положение иглы клапана рециркуляции отработавших газов. Действительное положение клапана рециркуляции отработавших газов всегда должно быть в пределах задаваемого или желаемого положения.
Данный диагностический код неисправности определит, открыт ли клапан рециркуляции при повороте коленчатого вала. Время поворота коленвала может быть избыточным при открытом клапане рециркуляции.
Условия установки кода неисправности.
Двигатель заводится (не работает)
Напряжение зажигания в пределах 11- 16 вольт.
Степень открытия клапана рециркуляции больше 70% в течение более 3 секунд при запуске.
Действия, выполняемые при установке кода неисправности
Контроллер записывает рабочие условия в момент определения неисправности. Эта информация сохраняется в буфере записей состояния и протоколах неисправностей.
Условия очистки кода неисправности/индикации неисправности
Контрольная лампа индикации неисправности отключается через четыре последовательных цикла зажигания, в которых диагностика не обнаружила неисправность.
Архив диагностических кодов неисправности очищается через 40 последовательных циклов нагрева без неисправностей.
Диагностический код неисправности может быть очищен сканирующим прибором.
Отключение питания контроллера ЭСУД более чем на 10 секунд.
Указания по диагностике
Вследствие влаги, присущей системам выхлопа, клапан рециркуляции может замерзать при холодной погоде. После постановки автомобиля в теплое помещение для ремонта, клапан отогревается и проблема исчезает.
Неисправность может быть легко подтверждена путем наблюдения за действительным и желаемым положением клапана рециркуляции на холодном автомобиле с помощью сканирующего прибора. Проверьте информацию буфера записи состояний (температуру охлаждающей жидкости двигателя) для того, чтобы определить, выставился ли код неисправности, когда автомобиль находился в холодном состоянии.
Значение фильтра торможения системы рециркуляции отработавших газов должно всегда составлять -3 и ниже. Если значение фильтра торможения системы рециркуляции отработавших газов стремится к увеличению (к 0 и выше), то это означает, что сечение в системе сужается. Проверить наличие возможного повреждения трубы рециркуляции отработавших газов, либо же сужение сечения, вызываемое отложениями углерода в трубопроводах системы рециркуляции, либо же на клапане системы рециркуляции.
dtc p0402 Рециркуляция отработавших газов, слишком большой расход (2,0 л (два распределительных вала с верхним расположением)
Шаг
Операция
Значения
Да
Нет
1
Провести проверку бортовой системы диагностики (eobd).
Проверка проведена?
-
Перейти к операции 2
Перейти к "Проверка бортовой системы диагностики"
2
Подключить сканирующий прибор к колодке диагностики.
Включите зажигание.
Дать команду на перемещение клапана рециркуляции отработавших газов на указанные значения.
Соответствует ли действительное положение клапана рециркуляции желаемому положению клапана?
При помощи контрольной лампы, подключенной к + аккумулятора, проверить клемму В разъема жгута проводки клапана рециркуляции.
Контрольная лампа горит?
-
Перейти к операции 4
Перейти к операции 5
4
При помощи вольтметра замерить напряжение на клемме а разъема жгута проводки клапана рециркуляции.
При помощи сканирующего прибора дать команду клапану рециркуляции на открытие.
После выдачи команды, варьируется ли напряжение на вольтметре в пределах установленного значения?
0 до≈ 5 В
Перейти к операции 6
Перейдите к Шагу 7
5
Устранить разрыв или слабый контакт в цепи "массы" системы рециркуляции, как требуется.
Закончен ли ремонт?
-
Перейдите к Шагу 19
-
6
При помощи контрольной лампы, подключенной к массе, проверить клемму С разъема жгута проводки клапана рециркуляции.
Загорается ли контрольная лампа?
-
Перейдите к Шагу 8
Перейдите к Шагу 9
7
При помощи контрольной лампы, подключенной к массе, проверить клемму а разъема жгута проводки клапана рециркуляции, без команды клапану рециркуляции со сканирующего прибора.
Загорается ли контрольная лампа?
-
Перейдите к Шагу 10
Перейдите к Шагу 11
8
Проверить сигнальную цепь на отсутствие короткого замыкания с питанием и устранить неисправность при необходимости.
Закончен ли ремонт?
-
Перейдите к Шагу 19
Перейдите к Шагу 12
9
При помощи контрольной лампы, подключенной к массе, проверить цепь опорного сигнала 5 В на клемме d разъема жгута проводки клапана рециркуляции.
Уровень сигнала близок к установленному значению?
5 В
Перейдите к Шагу 13
Перейдите к Шагу 14
10
Проверить цепь управления на отсутствие напряжения короткого замыкания и устранить неисправность при необходимости.
Закончен ли ремонт?
-
Перейдите к Шагу 19
Перейдите к Шагу 12
11
При помощи контрольной лампы, подключенной к + аккумулятора, снова проверить цепь управления на клемме а.
Загорается ли контрольная лампа?
-
Перейдите к шагу 15
Перейдите к шагу 16
12
Выключите зажигание.
Заменить контроллер ЭСУД.
Закончен ли ремонт?
-
Перейдите к Шагу 19
-
13
Проверить цепь "массы" системы рециркуляции на отсутствие слабого контакта или несоответствующего напряжения на клемме контроллера ЭСУД, и устранить неисправность как требуется.
Закончен ли ремонт?
-
Перейдите к Шагу 19
Перейдите к шагу 17
14
Проверить цепь опорного сигнала 5 В на отсутствие короткого замыкания на источник питания и устранить неисправность при необходимости.
Закончен ли ремонт?
-
Перейдите к Шагу 19
Перейдите к Шагу 12
15
Проверить цепь управления А на отсутствие короткого замыкания на массу и устранить неисправность, если необходимо.
Закончен ли ремонт?
-
Перейдите к Шагу 19
Перейдите к Шагу 12
16
Проверить клемму А цепи управления на отсутствие разрыва или слабого контакта на разъеме клапана системы рециркуляции и при необходимости устранить неисправность.
Закончен ли ремонт?
-
Перейдите к Шагу 19
Перейдите к Шагу 18
17
Выключите зажигание.
Заменить клапан egr.
Закончен ли ремонт?
-
Перейдите к Шагу 19
-
18
Проверить разъем контроллера ЭСУД на отсутствие слабого контакта и устранить неисправность при необходимости.
Закончен ли ремонт?
-
Перейдите к Шагу 19
-
19
Используя сканирующий прибор, очистить диагностические коды неисправностей.
Запустить двигатель и дать ему поработать на холостом ходу при нормальной рабочей температуре.
Совершить поездку для установки кодов неисправности, как это указано во вспомогательном тексте.
Сканирующий прибор определяет эту диагностику как прошедшую и успешную?
-
Перейдите к Шагу 20
Перейти к операции 2
20
Проверьте, не установлены ли дополнительные диагностические коды неисправности.
Отображены ли диагностические коды неисправности, которые не были продиагностированы?
-
Перейти к соответствующей таблице диагностических кодов неисправности
Система в норме
ДИАГНОСТИЧЕСКИЙ КОД НЕИСПРАВНОСТИ (dtc) Р0404 КЛАПАН РЕЦИРКУЛЯЦИИ ОТРАБОТАВШИХ ГАЗОВ ОТКРЫТ (2,0 Л ДВА РАСПРЕДЕЛИТЕЛЬНЫХ ВАЛА С ВЕРХНИМ РАСПОЛОЖЕНИЕМ)
Описание схемы
Система рециркуляции отработавших газов используется для снижения уровня выброса оксида азота (NOx), вызываемого высокой температурой сгорания. Она осуществляет это путем подачи небольшого количества отработавших газов обратно в камеру сгорания. При соединении воздушно-топливной смеси с отработавшими газами, температура сгорания понижается.
В данной системе используется линейный клапан системы рециркуляции отработавших газов. Линейный клапан предназначен для точной подачи отработавших газов в двигатель без использования впускного коллектора. Клапан управляет потоком отработавших газов во впускной коллектор из выпускного коллектора соплом при помощи иглы, управляемой контроллером ЭСУД. Контроллер ЭСУД управляет положением иглы, используя входы датчика положения дросселя и датчик абсолютного давления во впускном коллекторе. Затем ЭСУД выдает команду на срабатывание при необходимости клапана системы рециркуляции отработанных газов путем управления сигналом зажигания через контроллер ЭСУД. Это можно контролировать на сканирующем приборе как желаемое положение системы рециркуляции отработавших газов.
ЭСУД контролирует результат выполнения своей команды по ответному сигналу. При опорном сигнале 5 В и замыкании "массы" на клапане рециркуляции отработавших газов, сигнал, представляющий положение иглы клапана рециркуляции отработавших газов, выдается в ЭСУД. Данный сигнал обратной связи также контролируется на сканирующем приборе и отображает действительное положение иглы клапана рециркуляции отработавших газов. Действительное положение клапана рециркуляции отработавших газов всегда должно быть в пределах задаваемого или желаемого положения.
Диагностический код неисправности определит открытое положение клапана.
Условия установки кода неисправности.
Желаемое положение клапана рециркуляции больше 0.
Изменение желаемого положения клапана рециркуляции меньше 3%.
Двигатель работает
Температура воздуха на впуске больше 3°С (37,4 °f).
Напряжение зажигания в пределах 11,7 - 16 В.
Диагностические коды неисправности Р0112, Р0113, Р0405, Р0406 и Р0502 не устанавливаются.
Действия, выполняемые при установке кода неисправности
Контроллер записывает рабочие условия в момент определения неисправности. Эта информация сохраняется в буфере записей состояния и протоколах неисправностей.
Условия очистки кода неисправности/индикации неисправности
Контрольная лампа индикации неисправности отключается через четыре последовательных цикла зажигания, в которых диагностика не обнаружила неисправность.
Архив диагностических кодов неисправности очищается через 40 последовательных циклов нагрева без неисправностей.
Диагностический код неисправности может быть очищен сканирующим прибором.
Отключение питания контроллера ЭСУД более чем на 10 секунд.
Указания по диагностике
Вследствие влаги, присущей системам выхлопа, клапан рециркуляции может замерзать при холодной погоде. После постановки автомобиля в теплое помещение для ремонта, клапан отогревается и проблема исчезает. Неисправность может быть легко подтверждена путем наблюдения за действительным и желаемым положением клапана рециркуляции на холодном автомобиле с помощью сканирующего прибора. Проверьте информацию буфера записи состояний (температуру охлаждающей жидкости двигателя) для того, чтобы определить, выставился ли код неисправности, когда автомобиль находился в холодном состоянии.
dtc p0404 Клапан рециркуляции отработавших газов открыт (2,0 л два распределительных вала с верхним расположением)
Шаг
Операция
Значения
Да
Нет
1
Провести проверку бортовой системы диагностики (eobd).
Проверка проведена?
-
Перейти к операции 2
Перейти к "Проверка бортовой системы диагностики"
2
Подключить сканирующий прибор к колодке диагностики.
Включите зажигание.
Дать команду на перемещение клапана рециркуляции отработавших газов на указанные значения.
Соответствует ли действительное положение клапана рециркуляции желаемому положению клапана?
При помощи контрольной лампы, подключенной к + аккумулятора, проверить клемму В разъема жгута проводки клапана рециркуляции.
Контрольная лампа горит?
-
Перейти к операции 4
Перейти к операции 5
4
При помощи вольтметра замерить напряжение на клемме а разъема жгута проводки клапана рециркуляции.
При помощи сканирующего прибора дать команду клапану рециркуляции на открытие.
После выдачи команды, варьируется ли напряжение на вольтметре в пределах установленного значения?
от 0 до 5 ≈ В
Перейти к операции 6
Перейдите к Шагу 7
5
Устранить разрыв или слабый контакт в цепи "массы" системы рециркуляции, как требуется.
Закончен ли ремонт?
-
Перейдите к Шагу 19
-
6
При помощи контрольной лампы, подключенной к массе, проверить клемму С разъема жгута проводки клапана рециркуляции.
Загорается ли контрольная лампа?
-
Перейдите к Шагу 8
Перейдите к Шагу 9
7
При помощи контрольной лампы, подключенной к массе, проверить клемму а разъема жгута проводки клапана рециркуляции, без команды клапану рециркуляции со сканирующего прибора.
Загорается ли контрольная лампа?
-
Перейдите к Шагу 10
Перейдите к Шагу 11
8
Проверить сигнальную цепь на отсутствие короткого замыкания с питанием и устранить неисправность при необходимости.
Закончен ли ремонт?
-
Перейдите к Шагу 19
Перейдите к Шагу 12
9
При помощи контрольной лампы, подключенной к массе, проверить цепь опорного сигнала 5 В на клемме d разъема жгута проводки клапана рециркуляции.
Уровень сигнала близок к установленному значению?
5 В
Перейдите к Шагу 13
Перейдите к Шагу 14
10
Проверить цепь управления на отсутствие напряжения короткого замыкания и устранить неисправность при необходимости.
Закончен ли ремонт?
-
Перейдите к Шагу 19
Перейдите к Шагу 12
11
При помощи контрольной лампы, подключенной к + аккумулятора, снова проверить цепь управления на клемме а.
Загорается ли контрольная лампа?
-
Перейдите к шагу 15
Перейдите к шагу 16
12
Выключите зажигание.
Заменить контроллер ЭСУД.
Закончен ли ремонт?
-
Перейдите к Шагу 19
-
13
Проверить цепь "массы" системы рециркуляции на отсутствие слабого контакта или несоответствующего напряжения на клемме контроллера ЭСУД, и устранить неисправность как требуется.
Закончен ли ремонт?
-
Перейдите к Шагу 19
Перейдите к шагу 17
14
Проверить цепь опорного сигнала 5 В на отсутствие короткого замыкания на источник питания и устранить неисправность при необходимости.
Закончен ли ремонт?
-
Перейдите к Шагу 19
Перейдите к Шагу 12
15
Проверить клемму А цепи управления на отсутствие замыкания на массу и устранить неисправность, если необходимо.
Закончен ли ремонт?
-
Перейдите к Шагу 19
Перейдите к Шагу 12
16
Проверить клемму А цепи управления на отсутствие разрыва или слабого контакта на разъеме клапана системы рециркуляции и при необходимости устранить неисправность.
Закончен ли ремонт?
-
Перейдите к Шагу 19
Перейдите к Шагу 18
17
Выключите зажигание.
Заменить клапан egr.
Закончен ли ремонт?
-
Перейдите к Шагу 19
-
18
Проверить разъем контроллера ЭСУД на отсутствие слабого контакта и устранить неисправность при необходимости.
Закончен ли ремонт?
-
Перейдите к Шагу 19
-
19
Используя сканирующий прибор, очистить диагностические коды неисправностей.
Запустить двигатель и дать ему поработать на холостом ходу при нормальной рабочей температуре.
Совершить поездку для установки кодов неисправности, как это указано во вспомогательном тексте.
Сканирующий прибор определяет эту диагностику как прошедшую и успешную?
-
Перейдите к Шагу 20
Перейти к операции 2
20
Проверьте, не установлены ли дополнительные диагностические коды неисправности.
Отображены ли диагностические коды неисправности, которые не были продиагностированы?
-
Перейти к соответствующей таблице диагностических кодов неисправности
Система в норме
ДИАГНОСТИЧЕСКИЙ КОД НЕИСПРАВНОСТИ (dtc) Р1404 КЛАПАН РЕЦИРКУЛЯЦИИ ОТРАБОТАВШИХ ГАЗОВ ЗАКРЫТ (2,0 Л ДВА РАСПРЕДЕЛИТЕЛЬНЫХ ВАЛА С ВЕРХНИМ РАСПОЛОЖЕНИЕМ)
Описание схемы
Система рециркуляции отработавших газов используется для снижения уровня выброса оксида азота (NOx), вызываемого высокой температурой сгорания. Она осуществляет это путем подачи небольшого количества отработавших газов обратно в камеру сгорания. При соединении воздушно-топливной смеси с отработавшими газами, температура сгорания понижается.
В данной системе используется линейный клапан системы рециркуляции отработавших газов. Линейный клапан предназначен для точной подачи отработавших газов в двигатель без использования впускного коллектора. Клапан управляет потоком отработавших газов во впускной коллектор из выпускного коллектора соплом при помощи иглы, управляемой контроллером ЭСУД. Контроллер ЭСУД управляет положением иглы, используя входы датчика положения дросселя и датчик абсолютного давления во впускном коллекторе. Затем ЭСУД выдает команду на срабатывание при необходимости клапана системы рециркуляции отработанных газов путем управления сигналом зажигания через контроллер ЭСУД. Это можно контролировать на сканирующем приборе как желаемое положение системы рециркуляции отработавших газов.
ЭСУД контролирует результат выполнения своей команды по ответному сигналу. При опорном сигнале 5 В и замыкании "массы" на клапане рециркуляции отработавших газов, сигнал, представляющий положение иглы клапана рециркуляции отработавших газов, выдается в ЭСУД. Данный сигнал обратной связи также контролируется на сканирующем приборе и отображает действительное положение иглы клапана рециркуляции отработавших газов. Действительное положение клапана рециркуляции отработавших газов всегда должно быть в пределах задаваемого или желаемого положения.
Условия установки кода неисправности.
Разница между текущим и определенным низким положением больше 6,25%.
Желаемое положение клапана рециркуляции отработавших газов равно 0.
Двигатель работает
Напряжение зажигания составляет от 11,7 до 16 вольт.
Температура воздуха на впуске больше 3°С(37,4°f).
Диагностические коды неисправности p0112, p0113, p0405, p0406 и p0502 не устанавливаются.
Действия, выполняемые при установке кода неисправности
Контроллер записывает рабочие условия в момент определения неисправности. Эта информация сохраняется в буфере записей состояния и протоколах неисправностей.
Условия очистки кода неисправности/индикации неисправности
Контрольная лампа индикации неисправности отключается через четыре последовательных цикла зажигания, в которых диагностика не обнаружила неисправность.
Архив диагностических кодов неисправности очищается через 40 последовательных циклов нагрева без неисправностей.
Диагностический код неисправности может быть очищен сканирующим прибором.
Отключение питания контроллера ЭСУД более чем на 10 секунд.
Указания по диагностике
Вследствие влаги, присущей системам выхлопа, клапан рециркуляции может замерзать при холодной погоде. После постановки автомобиля в теплое помещение для ремонта, клапан отогревается и проблема исчезает. Неисправность может быть легко подтверждена путем наблюдения за действительным и желаемым положением клапана рециркуляции на холодном автомобиле с помощью сканирующего прибора. Проверьте информацию буфера записи состояний (температуру охлаждающей жидкости двигателя) для того, чтобы определить, выставился ли код неисправности, когда автомобиль находился в холодном состоянии.
dtc p1404 Рециркуляция отработавших газов, клапан рециркуляции закрыт (2,0 л два распределительных вала с верхним расположением)
Шаг
Операция
Значения
Да
Нет
1
Провести проверку бортовой системы диагностики (eobd).
Проверка проведена?
-
Перейти к операции 2
Перейти к "Проверка бортовой системы диагностики"
2
Подключить сканирующий прибор к колодке диагностики.
Включите зажигание.
Дать команду на перемещение клапана рециркуляции отработавших газов на указанные значения.
Соответствует ли действительное положение клапана рециркуляции желаемому положению клапана?
Находится действительное положение клапана рециркуляции в пределах указанного значения?
100%
Перейти к операции 4
Перейти к операции 5
4
Проверить клемму С сигнальной цепи на разъеме жгута проводов клапана рециркуляции отработавших газов на короткое замыкание на источник питания и устранить неисправность при необходимости.
Закончен ли ремонт?
-
Перейдите к Шагу 13
Перейти к операции 6
5
При помощи контрольной лампы, подключенной к массе, проверить цепь опорного сигнала 5 В на клемме d разъема жгута проводки клапана рециркуляции.
Уровень сигнала близок к установленному значению?
5 В
Перейдите к Шагу 7
Перейдите к Шагу 8
6
Выключите зажигание.
Заменить контроллер ЭСУД.
Закончен ли ремонт?
-
Перейдите к Шагу 13
-
7
При помощи контрольной лампы, подключенной к массе, проверить клемму а разъема жгута проводки клапана рециркуляции.
Загорается ли контрольная лампа?
-
Перейдите к Шагу 9
Перейдите к Шагу 10
8
Проверить цепь опорного сигнала 5 В на отсутствие короткого замыкания на источник питания и устранить неисправность при необходимости.
Закончен ли ремонт?
-
Перейдите к Шагу 13
Перейти к операции 6
9
Проверить цепь управления на отсутствие напряжения короткого замыкания и устранить неисправность при необходимости.
Закончен ли ремонт?
-
Перейдите к Шагу 13
Перейти к операции 6
10
Проверить цепь массы клапана рециркуляции отработавших газов на обрыв цепи или слабый контакт с разъемом жгута проводов клапана рециркуляции отработавших газов и устранить неисправность при необходимости.
Закончен ли ремонт?
-
Перейдите к Шагу 13
Перейдите к Шагу 12
11
Выключите зажигание.
Заменить клапан egr.
Закончен ли ремонт?
-
Перейдите к Шагу 13
-
12
Проверить разъем контроллера ЭСУД на отсутствие слабого контакта и устранить неисправность при необходимости.
Закончен ли ремонт?
-
Перейдите к Шагу 13
Перейдите к Шагу 11
13
Используя сканирующий прибор, очистить диагностические коды неисправностей.
Запустить двигатель и дать ему поработать на холостом ходу при нормальной рабочей температуре.
Совершить поездку для установки кодов неисправности, как это указано во вспомогательном тексте.
Сканирующий прибор определяет эту диагностику как прошедшую и успешную?
Перейдите к Шагу 14
-
Перейти к операции 2
14
Проверьте, не установлены ли дополнительные диагностические коды неисправности.
Отображены ли диагностические коды неисправности, которые не были продиагностированы?
-
Перейти к соответствующей таблице диагностических кодов неисправности
Система в норме
ДИАГНОСТИЧЕСКИЙ КОД НЕИСПРАВНОСТИ (dtc) Р0405 ПОЛОЖЕНИЕ ИГЛЫ КЛАПАНА РЕЦИРКУЛЯЦИИ ОТРАБОТАВШИХ ГАЗОВ, НИЗКОЕ НАПРЯЖЕНИЕ В ЦЕПИ ДАТЧИКА (2,0 Л ДВА РАСПРЕДЕЛИТЕЛЬНЫХ ВАЛА С ВЕРХНИМ РАСПОЛОЖЕНИЕМ)
Описание схемы
Система рециркуляции отработавших газов используется для снижения уровня выброса оксида азота (NOx), вызываемого высокой температурой сгорания. Она осуществляет это путем подачи небольшого количества отработавших газов обратно в камеру сгорания. При соединении воздушно-топливной смеси с отработавшими газами, температура сгорания понижается.
В данной системе используется линейный клапан системы рециркуляции отработавших газов. Линейный клапан предназначен для точной подачи отработавших газов в двигатель без использования впускного коллектора. Клапан управляет потоком отработавших газов во впускной коллектор из выпускного коллектора соплом при помощи иглы, управляемой контроллером ЭСУД. Контроллер ЭСУД управляет положением иглы, используя входы датчика положения дросселя и датчик абсолютного давления во впускном коллекторе. Затем ЭСУД выдает команду на срабатывание при необходимости клапана системы рециркуляции отработанных газов путем управления сигналом зажигания через контроллер ЭСУД. Это можно контролировать на сканирующем приборе как желаемое положение системы рециркуляции отработавших газов.
ЭСУД контролирует результат выполнения своей команды по ответному сигналу. При опорном сигнале 5 В и замыкании "массы" на клапане рециркуляции отработавших газов, сигнал, представляющий положение иглы клапана рециркуляции отработавших газов, выдается в ЭСУД. Данный сигнал обратной связи также контролируется на сканирующем приборе и отображает действительное положение иглы клапана рециркуляции отработавших газов. Действительное положение клапана рециркуляции отработавших газов всегда должно быть в пределах задаваемого или желаемого положения. Диагностический код неисправности определит разрыв цепи или короткое замыкание.
Условия установки кода неисправности.
Сигнал положения клапана рециркуляции меньше 2%.
Напряжение зажигания составляет от 11,7 до 16 вольт.
Состояние неисправности сохраняется в течение 10 секунд, минимум.
Действия, выполняемые при установке кода неисправности
Контроллер записывает рабочие условия в момент определения неисправности. Эта информация сохраняется в буфере записей состояния и протоколах неисправностей.
Условия очистки кода неисправности/индикации неисправности
Контрольная лампа индикации неисправности отключается через четыре последовательных цикла зажигания, в которых диагностика не обнаружила неисправность.
Архив диагностических кодов неисправности очищается через 40 последовательных циклов нагрева без неисправностей.
Диагностический код неисправности может быть очищен сканирующим прибором.
Отключение питания контроллера ЭСУД более чем на 10 секунд.
Указания по диагностике
Вследствие влаги, присущей системам выхлопа, клапан рециркуляции может замерзать при холодной погоде. После постановки автомобиля в теплое помещение для ремонта, клапан отогревается и проблема исчезает. Неисправность может быть легко подтверждена путем наблюдения за действительным и желаемым положением клапана рециркуляции на холодном автомобиле с помощью сканирующего прибора. Проверьте информацию буфера записи состояний (температуру охлаждающей жидкости двигателя) для того, чтобы определить, выставился ли код неисправности, когда автомобиль находился в холодном состоянии.
dtc Р0405 Положение иглы клапана рециркуляции отработавших газов, низкое напряжение в цепи датчика (2,0 л два распределительных вала с верхним расположением)
Шаг
Операция
Значения
Да
Нет
1
Провести проверку бортовой системы диагностики (eobd).
Проверка проведена?
-
Перейти к операции 2
Перейти к "Проверка бортовой системы диагностики"
2
Подключить сканирующий прибор к колодке диагностики.
Включите зажигание.
Дать команду на перемещение клапана рециркуляции отработавших газов на указанные значения.
Соответствует ли действительное положение клапана рециркуляции желаемому положению клапана?
При помощи контрольной лампы, подключенной к массе, проверить цепь опорного сигнала 5 В на клемме d разъема жгута проводки клапана рециркуляции.
Уровень сигнала близок к установленному значению?
5 В
Перейти к операции 4
Перейти к операции 5
4
Установить перемычку между цепью опорного сигнала напряжением 5 В и сигнальной цепью на клеммах d и С разъема жгута проводки клапана рециркуляции.
Совпадает ли действительное положение клапана рециркуляции с указанным значением?
100%
Перейти к операции 6
Перейдите к Шагу 7
5
При помощи контрольной лампы, подключенной к + аккумулятора, проверить цепь опорного сигнала напряжением 5 В на клемме D разъема жгута проводки клапана рециркуляции.
Загорается ли контрольная лампа?
-
Перейдите к Шагу 8
Перейдите к Шагу 9
6
Проверить цепь опорного сигнала 5 В и сигнальную цепь на отсутствие слабого контакта или несоответствующего напряжения клеммы, и устранить неисправность как требуется.
Закончен ли ремонт?
-
Перейдите к шагу 15
Перейдите к Шагу 10
7
При помощи контрольной лампы, подключенной к + аккумулятора, проверить сигнальную цепь на клемме С разъема жгута проводки клапана рециркуляции.
Загорается ли контрольная лампа?
-
Перейдите к Шагу 11
Перейдите к Шагу 12
8
Проверить отсутствие короткого замыкания с "массой" в цепи опорного сигнала 5 В системы рециркуляции, и устранить неисправность, как требуется.
Закончен ли ремонт?
-
Перейдите к шагу 15
Перейдите к Шагу 13
9
Проверить отсутствие разрыва в цепи опорного сигнала 5 В системы рециркуляции, и устранить неисправность, как требуется.
Закончен ли ремонт?
-
Перейдите к шагу 15
Перейдите к Шагу 14
10
Выключите зажигание.
Заменить клапан egr.
Закончен ли ремонт?
-
Перейдите к шагу 15
-
11
Проверить сигнальную цепь клапана рециркуляции на отсутствие короткого замыкания с "массой", устранить неисправность при необходимости.
Закончен ли ремонт?
-
Перейдите к шагу 15
Перейдите к Шагу 13
12
Проверить сигнальную цепь до клапана рециркуляции на отсутствие разрыва, устранить неисправность при необходимости.
Закончен ли ремонт?
-
Перейдите к шагу 15
Перейдите к Шагу 14
13
Выключите зажигание.
Заменить контроллер ЭСУД.
Закончен ли ремонт?
-
Перейдите к шагу 15
-
14
Проверить разъем контроллера ЭСУД на отсутствие слабого контакта и устранить неисправность при необходимости.
Закончен ли ремонт?
-
Перейдите к шагу 15
Перейдите к Шагу 13
15
Используя сканирующий прибор, очистить диагностические коды неисправностей.
Запустить двигатель и дать ему поработать на холостом ходу при нормальной рабочей температуре.
Совершить поездку для установки кодов неисправности, как это указано во вспомогательном тексте.
Сканирующий прибор определяет эту диагностику как прошедшую и успешную?
-
Перейдите к шагу 16
Перейти к операции 2
16
Проверьте, не установлены ли дополнительные диагностические коды неисправности.
Отображены ли диагностические коды неисправности, которые не были продиагностированы?
-
Перейти к соответствующей таблице диагностических кодов неисправности
Система в норме
ДИАГНОСТИЧЕСКИЙ КОД НЕИСПРАВНОСТИ (dtc) Р0406 ПОЛОЖЕНИЕ ИГЛЫ КЛАПАНА РЕЦИРКУЛЯЦИИ ОТРАБОТАВШИХ ГАЗОВ, ВЫСОКОЕ НАПРЯЖЕНИЕ В ЦЕПИ ДАТЧИКА (2,0 Л ДВА РАСПРЕДЕЛИТЕЛЬНЫХ ВАЛА С ВЕРХНИМ РАСПОЛОЖЕНИЕМ)
Описание схемы
Система рециркуляции отработавших газов используется для снижения уровня выброса оксида азота (NOx), вызываемого высокой температурой сгорания. Она осуществляет это путем подачи небольшого количества отработавших газов обратно в камеру сгорания. При соединении воздушно-топливной смеси с отработавшими газами, температура сгорания понижается.
В данной системе используется линейный клапан системы рециркуляции отработавших газов. Линейный клапан предназначен для точной подачи отработавших газов в двигатель без использования впускного коллектора. Клапан управляет потоком отработавших газов во впускной коллектор из выпускного коллектора соплом при помощи иглы, управляемой контроллером ЭСУД. Контроллер ЭСУД управляет положением иглы, используя входы датчика положения дросселя и датчик абсолютного давления во впускном коллекторе. Затем ЭСУД выдает команду на срабатывание при необходимости клапана системы рециркуляции отработанных газов путем управления сигналом зажигания через контроллер ЭСУД. Это можно контролировать на сканирующем приборе как желаемое положение системы рециркуляции отработавших газов.
ЭСУД контролирует результат выполнения своей команды по ответному сигналу. При опорном сигнале 5 В и замыкании "массы" на клапане рециркуляции отработавших газов, сигнал, представляющий положение иглы клапана рециркуляции отработавших газов, выдается в ЭСУД. Данный сигнал обратной связи также контролируется на сканирующем приборе и отображает действительное положение иглы клапана рециркуляции отработавших газов. Действительное положение клапана рециркуляции отработавших газов всегда должно быть в пределах задаваемого или желаемого положения. Данный диагностический код неисправности определит короткое замыкание.
Условия установки кода неисправности.
Сигнал положения клапана рециркуляции больше 98%.
Напряжение зажигания составляет от 11,7 до 16 вольт.
Состояние неисправности сохраняется в течение 10 секунд, минимум.
Действия, выполняемые при установке кода неисправности
Контроллер записывает рабочие условия в момент определения неисправности. Эта информация сохраняется в буфере записей состояния и протоколах неисправностей.
Условия очистки кода неисправности/индикации неисправности
Контрольная лампа индикации неисправности отключается через четыре последовательных цикла зажигания, в которых диагностика не обнаружила неисправность.
Архив диагностических кодов неисправности очищается через 40 последовательных циклов нагрева без неисправностей.
Диагностический код неисправности может быть очищен сканирующим прибором.
Отключение питания контроллера ЭСУД более чем на 10 секунд.
Указания по диагностике
Вследствие влаги, присущей системам выхлопа, клапан рециркуляции может замерзать при холодной погоде. После постановки автомобиля в теплое помещение для ремонта, клапан отогревается и проблема исчезает. Неисправность может быть легко подтверждена путем наблюдения за действительным и желаемым положением клапана рециркуляции на холодном автомобиле с помощью сканирующего прибора. Проверьте информацию буфера записи состояний (температуру охлаждающей жидкости двигателя) для того, чтобы определить, выставился ли код неисправности, когда автомобиль находился в холодном состоянии.
dtc Р0406 Положение иглы клапана рециркуляции отработавших газов, высокое напряжение в цепи датчика (2,0 л два распределительных вала с верхним расположением)
Шаг
Операция
Значения
Да
Нет
1
Провести проверку бортовой системы диагностики (eobd).
Проверка проведена?
-
Перейти к операции 2
Перейти к "Проверка бортовой системы диагностики"
2
Подключить сканирующий прибор к колодке диагностики.
Включите зажигание.
Дать команду на перемещение клапана рециркуляции отработавших газов на указанные значения.
Соответствует ли действительное положение клапана рециркуляции желаемому положению клапана?
При помощи контрольной лампы, подключенной к массе, проверить цепь опорного сигнала 5 В на клемме d разъема жгута проводки клапана рециркуляции.
Уровень сигнала близок к установленному значению?
5 В
Перейти к операции 4
Перейти к операции 5
4
Установить перемычку между цепью опорного сигнала напряжением 5 В и сигнальной цепью на клеммах d и С разъема жгута проводки клапана рециркуляции.
Совпадает ли действительное положение клапана рециркуляции с указанным значением?
100%
Перейти к операции 6
Перейдите к Шагу 7
5
При помощи контрольной лампы, подключенной к + аккумулятора, проверить цепь опорного сигнала напряжением 5 В на клемме D разъема жгута проводки клапана рециркуляции.
Загорается ли контрольная лампа?
-
Перейдите к Шагу 8
Перейдите к Шагу 9
6
Проверить цепь опорного сигнала 5 В и сигнальную цепь на отсутствие слабого контакта или несоответствующего напряжения клеммы, и устранить неисправность как требуется.
Закончен ли ремонт?
-
Перейдите к Шагу 14
Перейдите к Шагу 10
7
При помощи контрольной лампы, подключенной к + аккумулятора, проверить сигнальную цепь на клемме С разъема жгута проводки клапана рециркуляции.
Загорается ли контрольная лампа?
-
Перейдите к Шагу 11
Перейдите к Шагу 13
8
Проверить отсутствие короткого замыкания с "массой" в цепи опорного сигнала 5 В системы рециркуляции, и устранить неисправность, как требуется.
Закончен ли ремонт?
-
Перейдите к Шагу 14
Перейдите к Шагу 12
9
Проверить отсутствие разрыва в цепи опорного сигнала 5 В системы рециркуляции, и устранить неисправность, как требуется.
Закончен ли ремонт?
-
Перейдите к Шагу 14
Перейдите к Шагу 13
10
Выключите зажигание.
Заменить клапан egr.
Закончен ли ремонт?
-
Перейдите к Шагу 14
-
11
Проверить сигнальную цепь клапана рециркуляции на отсутствие короткого замыкания с "массой", устранить неисправность при необходимости.
Закончен ли ремонт?
-
Перейдите к Шагу 14
Перейдите к Шагу 12
12
Выключите зажигание.
Заменить контроллер ЭСУД.
Закончен ли ремонт?
-
Перейдите к Шагу 14
-
13
Проверить разъем контроллера ЭСУД на отсутствие слабого контакта и устранить неисправность при необходимости.
Закончен ли ремонт?
-
Перейдите к Шагу 14
Перейдите к Шагу 12
14
Используя сканирующий прибор, очистить диагностические коды неисправностей.
Запустить двигатель и дать ему поработать на холостом ходу при нормальной рабочей температуре.
Совершить поездку для установки кодов неисправности, как это указано во вспомогательном тексте.
Сканирующий прибор определяет эту диагностику как прошедшую и успешную?
-
Перейдите к шагу 15
Перейти к операции 2
15
Проверьте, не установлены ли дополнительные диагностические коды неисправности.
Отображены ли диагностические коды неисправности, которые не были продиагностированы?
-
Перейти к соответствующей таблице диагностических кодов неисправности
Система в норме
ДИАГНОСТИЧЕСКИЙ КОД НЕИСПРАВНОСТИ (dtc) Р0420 НИЗКАЯ ЭФФЕКТИВНОСТЬ КАТАЛИТИЧЕСКОГО НЕЙТРАЛИЗАТОРА (ДАТЧИКА КИСЛОРОДА) (2,0 Л ДВА РАСПРЕДЕЛИТЕЛЬНЫХ ВАЛА С ВЕРХНИМ РАСПОЛОЖЕНИЕМ)
Описание схемы
Для управления выбросом отработавших выхлопных газов углеводородов (НС), оксида углерода (СО), а также оксида азота (NOx) используется трехомпонентный каталитический нейтрализатор. Катализатор в нейтрализаторе ускоряет химическую реакцию окисления НС и СО в выхлопном газе, превращая их в безвредные пары воды и углекислого газа. Он также сокращает количество NOx, превращая его в азот. Каталитический нейтрализатор также может сохранять кислород. Контроллер ЭСУД может контролировать данный процесс, используя датчик кислорода с электронагревателем (HO2S), расположенный в выхлопном потоке за каталитическим нейтрализатором. Данный датчик выдает сигнал, который показывает количество кислородного катализатора, что в свою очередь указывает на возможность эффективно нейтрализовать выброс отработавших выхлопных газов. ЭСУД контролирует эффективность нейтрализатора, выдерживая время до его нагрева, ожидая в течение периода стабилизации пока двигатель работает на холостом ходу и затем, добавляя и удаляя топливо, отслеживает срабатывание HO2S. В случае если нейтрализатор работает нормально, выходной сигнал HO2S на излишнее количество топлива постепенно сравнивается с данными датчика кислорода (O2S). Если значение выходного сигнала HO2S близко к значению O2S, то количество кислорода или эффективность нейтрализатора считается недостаточным, и загорается контрольная лампа индикации неисправности.
Условия установки кода неисправности.
Перед проверкой холостого хода на автомобиле необходимо совершить поездку в течение, минимум:
15 секунд при расходе воздуха больше 9,2 г/сек для механической коробки передач.
11 секунд при расходе воздуха больше 12 г/сек для автоматической коробки передач.
Условие проверки объема кислорода катализатора:
На холостом ходу (положение d/r для автоматической коробки передач)
Стехиометрия закрытого контура.
Получена информация о концентрации для продувки.
Двигатель работает более 300 секунд.
Расход воздуха составляет от 2,2 до 7,0 г/сек.
Показание датчика положения дроссельной заслонки меньше 1,5%.
Температура охлаждающей жидкости двигателя в пределах от 70°С (158°f) до 109°С (228,2°f).
Температура воздуха на впуске в пределах от -7°С (19,4°f) до 105°С (221°f).
Барометрическое давление больше 72 кПа (10,4 фунта/кв. дюйм).
Температура каталитического нейтрализатора в пределах от 600°С (1112°f) до 850°С (1562°f).
Изменение интегратора замкнутого контура меньше 0,03.
Время холостого хода меньше 1 минуты.
Скорость автомобиля меньше 3 км/ч (1,9 миль/ч).
Включен режим обучения по блокам.
Вышеуказанное состояние стабилизируется в течение 5 секунд.
Примечание: Тест завершается в случае:
Изменения скорости вращения двигателя больше, чем на 80 мин-1.
Изменение состояния кондиционера.
Изменения состояния вентилятора системы охлаждения.
Незначительное изменение топливно-воздушной смеси.
Контроллер записывает рабочие условия в момент определения неисправности. Эта информация сохраняется в буфере записей состояния и протоколах неисправностей.
Условия очистки кода неисправности/индикации неисправности
Контрольная лампа индикации неисправности отключается через четыре последовательных цикла зажигания, в которых диагностика не обнаружила неисправность.
Архив диагностических кодов неисправности очищается через 40 последовательных циклов нагрева без неисправностей.
Диагностический код неисправности может быть очищен сканирующим прибором.
Отключение питания контроллера ЭСУД более чем на 10 секунд.
Указания по диагностике
Проверка нейтрализатора может прекратиться вследствие изменения нагрузки на двигатель. В процессе проверки нейтрализатора нагрузку двигателя не изменять (т.е. аккумулятор, охлаждающий вентилятор, двигатель нагревателя).
Периодическая неисправность может быть вызвана слабым контактом, перетертой изоляцией или обрывом проводки в изоляции.
Любая цепь, которая может быть причиной периодической неисправности, должна быть тщательно проверена на отсутствие следующего:
Снятые клеммы
Соединение клемм
Неисправность замков
Деформированность
Повреждения клемм
Слабое соединение клемм с проводами
dtc p0420 Низкая эффективность датчика кислорода (2,0 л два распределительных вала с верхним расположением)
Шаг
Операция
Значения
Да
Нет
1
Провести проверку бортовой системы диагностики (eobd).
Проверка проведена?
-
Перейти к операции 2
Перейти к "Проверка бортовой системы диагностики"
2
Подключить сканирующий прибор к колодке диагностики.
Включите зажигание.
Какие-либо диагностические коды неисправности компонентов установлены?
-
Перейти к соответствующей таблице диагностических кодов неисправности
Используя сканирующий прибор, очистить диагностические коды неисправностей.
Запустить двигатель и дать ему поработать на холостом ходу при нормальной рабочей температуре.
Совершить поездку для установки кодов неисправности, как это указано во вспомогательном тексте.
Сканирующий прибор определяет эту диагностику как прошедшую и успешную?
-
Перейдите к Шагу 7
Перейти к операции 2
7
Проверьте, не установлены ли дополнительные диагностические коды неисправности.
Отображены ли диагностические коды неисправности, которые не были продиагностированы?
-
Перейти к соответствующей таблице диагностических кодов неисправности
Система в норме
КОД НЕИСПРАВНОСТИ (dtc) p0443 СБОЙ ЦЕПИ УПРАВЛЕНИЯ ПРОДУВКОЙ ПАРОВ ТОПЛИВА (2,0 Л ДВА РАСПРЕДЕЛИТЕЛЬНЫХ ВАЛА С ВЕРХНИМ РАСПОЛОЖЕНИЕМ)
Описание системы
Система улавливания паров бензина (СУПБ) состоит из следующих компонентов:
Топливный бак
Дренажный клапан СУПБ
Датчик давления топливного бака
Топливные трубы и шланги
Трубопроводы паров топлива
Топливная крышка
Адсорбер
Продувочные трубопроводы
Электромагнитный клапан продувки адсорбера.
Служебный порт СУПБ
Клапан продувки адсорбера управляется ЭСУД. Она подает "массу" на клапан продувки. Контроллер ЭСУД определяет, когда активировать клапан, в зависимости от условий эксплуатации, учитывая положение дроссельной заслонки, скорость вращения двигателя, температуру охлаждающей жидкости двигателя и температуру окружающей среды.
Диагностический код неисправности определит разрыв цепи или короткое замыкание.
Условия установки кода неисправности.
Включено зажигание.
Напряжение зажигания больше 11 В.
Действия, выполняемые при установке кода неисправности
Контроллер записывает рабочие условия в момент определения неисправности. Эта информация сохраняется в буфере записей состояния и протоколах неисправностей.
Условия очистки кода неисправности/индикации неисправности
Контрольная лампа индикации неисправности отключается через четыре последовательных цикла зажигания, в которых диагностика не обнаружила неисправность.
Архив диагностических кодов неисправности очищается через 40 последовательных циклов нагрева без неисправностей.
Диагностический код неисправности может быть обнулен при помощи сканирующего прибора.
Отключение питания контроллера ЭСУД более чем на 10 секунд.
Указания по диагностике
Использование буфера записи состояний и/или протоколов неисправностей может помочь при определении повторяющейся неисправности. Если код неисправности не может быть продублирован, то информация, включенная в буфер записей состояния и/или протоколы неисправностей может быть полезна при определении расстояния после установки кода неисправности. Счетчик отказов и счетчик прохождения теста могут также быть использованы для определения количества циклов зажигания, в которых диагностика прошла или отказала. Совершить поездку на автомобиле согласно условиям буфера записи состояний (скорость вращения двигателя, нагрузка, скорость автомобиля, температура и т.д.). Это поможет установить время отказа кода неисправности.
dtc Р0443 Сбой цепи управления продувкой паров топлива (2,0 л два распределительных вала с верхним расположением)
Шаг
Операция
Значения
Да
Нет
1
Провести проверку бортовой системы диагностики (eobd).
Проверка проведена?
-
Перейти к операции 2
Перейти к "Проверка бортовой системы диагностики"
2
Подключить сканирующий прибор к колодке диагностики.
Включите зажигание.
Дать команду на включение и выключение клапана продувки адсорбера.
Клапан включается и выключается по команде?
ВКЛ-99%
ВЫКЛ-0%
Перейдите к Шагу 3
Перейти к операции 5
3
Выключите зажигание.
Отсоединить разъём контроллера электронной системы управления двигателем (ЭСУД).
Включите зажигание.
При помощи 10-амперной шкалы амперметра, замерить силу тока между клеммой М4 цепи управления клапаном на разъеме контроллера ЭСУД и "массой" в течение 2 минут.
При помощи омметра замерить сопротивление между клеммой М4 цепи управления клапаном разъема контроллера ЭСУД и "массой".
Омметр отображает неточное значение?
-
Перейдите к Шагу 12
Перейдите к Шагу 10
5
Выключите зажигание.
Отсоединить клапан.
Подключить контрольную лампу между клеммой 1 и 2 клапана.
Включить зажигание.
С помощью сканирующего прибора дать команду электромагнитному клапану на включение и выключение.
Включается или выключается ли контрольная лампа по каждой команде?
-
Перейдите к Шагу 8
Перейти к операции 6
6
При помощи контрольной лампы, подключенной к "массе", проверить клемму 1 цепи зажигания на разъеме жгута клапана.
-
Перейдите к Шагу 7
Перейдите к Шагу 11
7
Выключите зажигание.
Заново подключить клапан.
Отсоединить разъём контроллера ЭСУД.
Включите зажигание.
Установив перемычку на "массу", проверить клемму М4 цепи управления клапаном на разъеме контроллера ЭСУД.
Работает ли клапан?
-
Перейдите к Шагу 9
Перейдите к Шагу 10
8
Проверить соединение у электромагнитного клапана и при необходимости выполнить ремонт.
Закончен ли ремонт?
-
Перейдите к Шагу 14
Перейдите к Шагу 12
9
Проверить соединение у контроллера ЭСУД и при необходимости выполнить ремонт.
Закончен ли ремонт?
-
Перейдите к Шагу 14
Перейдите к Шагу 13
10
Восстановить неисправную цепь управления клапаном.
Закончен ли ремонт?
-
Перейдите к Шагу 14
-
11
Восстановить неисправную цепь зажигания клапана.
Закончен ли ремонт?
-
Перейдите к Шагу 14
-
12
Выключите зажигание.
Заменить клапан.
Закончен ли ремонт?
-
Перейдите к Шагу 14
-
13
Выключите зажигание.
Отсоединить контроллер ЭСУД.
Закончен ли ремонт?
-
Перейдите к Шагу 14
-
14
Используя сканирующий прибор, очистить диагностические коды неисправностей.
Запустить двигатель и дать ему поработать на холостом ходу при нормальной рабочей температуре.
Совершить поездку для установки кодов неисправности, как это указано во вспомогательном тексте.
Сканирующий прибор определяет эту диагностику как прошедшую и успешную?
-
Перейдите к шагу 15
Перейти к операции 2
15
Проверьте, не установлены ли дополнительные диагностические коды неисправности.
Отображены ли диагностические коды неисправности, которые не были продиагностированы?
-
Перейти к соответствующей таблице диагностических кодов неисправности
Система в норме
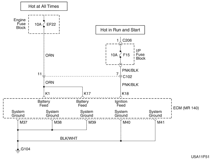
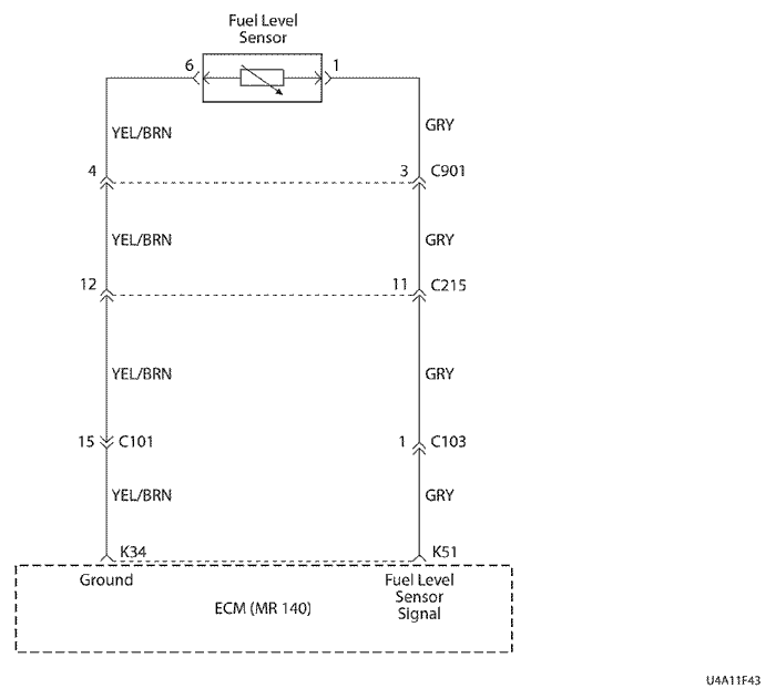
КОД НЕИСПРАВНОСТИ (dtc) Р0461 УРОВЕНЬ ТОПЛИВА, ОШИБКА (2,0 Л ДВА РАСПРЕДЕЛИТЕЛЬНЫХ ВАЛА С ВЕРХНИМ РАСПОЛОЖЕНИЕМ)
Описание системы
Контроллер ЭСУД использует сигнал от датчика уровня топлива для вычисления ожидаемого давления паров в топливной системе. Давление паров изменяется по мере изменения уровня топлива. Сигнал уровня топлива также используется для определения слишком высокого или слишком низкого уровня топлива для определения неисправностей, связанных с системой улавливания паров топлива. Данный диагностический код неисправности указывает на неизменяемый уровень топлива.
Условия установки кода неисправности.
Изменения выходного сигнала датчика уровня топлива меньше 3,5% после езды на 250 км (155 миль).
Включено зажигание.
Диагностические коды неисправности p0462, p0463 и p0502 не устанавливаются.
Действия, выполняемые при установке кода неисправности
Контрольная лампа индикации неисправности не загорается.
Контроллер записывает рабочие условия в момент определения неисправности. Эта информация сохраняется в протоколах неисправностей.
Условия очистки кода неисправности/индикации неисправности
Архив диагностических кодов неисправности очищается через 40 последовательных циклов нагрева без неисправностей.
Диагностический код неисправности может быть обнулен при помощи сканирующего прибора.
Отключение питания контроллера ЭСУД более чем на 10 секунд.
Указания по диагностике
Неустойчивая неисправность может быть вызвана слабым контактом, перетертой изоляции или обрывом проводки под резиновой изоляцией.
Проверить отсутствие слабого контакта или поврежденного жгута контроллера ЭСУД. Проверить клемму цепи уровня топлива на отсутствие следующего:
Соединение клемм.
Неисправность замков.
Деформированность.
Повреждения клемм.
Слабое соединение клемм с проводами.
Повреждение жгута проводов.
dtc Р0461 Уровень топлива, ошибка (2,0 л два распределительных вала с верхним расположением)
Шаг
Операция
Значения
Да
Нет
1
Провести проверку бортовой системы диагностики (eobd).
Проверка проведена?
-
Перейти к операции 2
Перейти к "Проверка бортовой системы диагностики"
2
Подключить сканирующий прибор к колодке диагностики.
Запустить двигатель и совершить поездку согласно указанному расстоянию.
Устанавливается ли какой-либо из кодов неисправности: Р0462, Р0463 или Р0502?
250 км
(155 миль)
Перейти к соответствующей таблице диагностических кодов неисправности
Перейдите к Шагу 3
3
Выключите зажигание.
Отсоединить разъём топливного насоса.
Включите зажигание.
При помощи вольтметра, замерить уровень сигнала датчика уровня топлива на клемме 1 разъема датчика уровня топлива.
Измеренное напряжение находится в указанном диапазоне?
4-5 В
Перейти к операции 4
Перейти к операции 5
4
Отсоединить контроллер электронной системы управления двигателем (ЭСУД).
Проверить цепь "массы" датчика уровня топлива на отсутствие разрыва между клеммой 6 разъема датчика уровня топлива и клеммой К34 контроллера ЭСУД. Устранить неисправность, как требуется.
Закончен ли ремонт?
-
Перейдите к Шагу 10
Перейти к операции 6
5
При помощи вольтметра, замерить уровень сигнала на клемме К34 разъема контроллера ЭСУД путем обратной проверки разъема контроллера.
Измеренное напряжение находится в указанном диапазоне?
4-5 В
Перейдите к Шагу 8
Перейдите к Шагу 9
6
Демонтировать топливный насос из топливного бака.
Заново подсоединить разъём топливного насоса.
Включите зажигание.
Контролировать параметр датчика уровня топлива по сканирующему прибору, перемещая поплавок датчика уровня топлива из пустого в полное положение.
Повторить процедуру 4 раза.
При перемещении поплавка уменьшается/увеличивается ли значение датчика уровня топлива на сканирующем приборе?
Проверить сигнальную цепь датчика уровня топлива на отсутствие разрыва или короткого замыкания между клеммой К51 клеммой 1 разъема жгута топливного насоса. Устранить неисправность, как требуется.
Закончен ли ремонт?
-
Перейдите к Шагу 10
-
9
Выключите зажигание.
Заменить контроллер ЭСУД.
Закончен ли ремонт?
-
Перейдите к Шагу 10
-
10
Используя сканирующий прибор, очистить диагностические коды неисправностей.
Запустить двигатель и дать ему поработать на холостом ходу при нормальной рабочей температуре.
Совершить поездку для установки кодов неисправности, как это указано во вспомогательном тексте.
Сканирующий прибор определяет эту диагностику как прошедшую и успешную?
-
Перейдите к Шагу 11
Перейти к операции 2
11
Проверьте, не установлены ли дополнительные диагностические коды неисправности.
Отображены ли диагностические коды неисправности, которые не были продиагностированы?
-
Перейти к соответствующей таблице диагностических кодов неисправности
Система в норме
КОД НЕИСПРАВНОСТИ (dtc) Р0462 ДАТЧИК УРОВНЯ ТОПЛИВА, НИЗКОЕ НАПРЯЖЕНИЕ (2,0 Л ДВА РАСПРЕДЕЛИТЕЛЬНЫХ ВАЛА С ВЕРХНИМ РАСПОЛОЖЕНИЕМ)
Описание системы
Контроллер ЭСУД использует сигнал от датчика уровня топлива для вычисления ожидаемого давления паров в топливной системе. Давление паров изменяется по мере изменения уровня топлива. Сигнал уровня топлива также используется для определения слишком высокого или слишком низкого уровня топлива для определения неисправностей, связанных с системой улавливания паров топлива. Данный диагностический код неисправности - следствие постоянного короткого замыкания или разрыва либо в сигнальной цепи, либо же в датчике уровня топлива.
Условия установки кода неисправности.
Выходной сигнал датчика уровня топлива меньше 2%.
Включено зажигание.
Действия, выполняемые при установке кода неисправности
Контрольная лампа индикации неисправности не загорается.
Контроллер записывает рабочие условия в момент определения неисправности. Эта информация сохраняется в протоколах неисправностей.
Условия очистки кода неисправности/индикации неисправности
Архив диагностических кодов неисправности очищается через 40 последовательных циклов нагрева без неисправностей.
Диагностический код неисправности может быть обнулен при помощи сканирующего прибора.
Отключение питания контроллера ЭСУД более чем на 10 секунд.
Указания по диагностике
Осмотреть разъем жгутов на отсутствие снятых клемм, плохого соединения, неисправных замков, деформированных или поврежденных клемм, а также слабого соединения клемм с проводами. Осмотреть жгут проводов на наличие повреждений.
Неизменяемые значения датчика уровня топлива могут привести к установке кода неисправности.
Если код неисправности Р0462 не может быть повторен, то информация, включенная в буфер записей состояния, может быть полезна при определении условий при первой установке кода неисправности.
Проверки сопротивления датчика уровня топлива:
Пуст = 280 Ом или свыше.
Половина емкости = около 90 Ом
Полный = 38 Ом и менее.
dtc p0462 Сигнал датчика уровня топлива, низкое напряжение (2,0 л два распределительных вала с верхним расположением)
Шаг
Операция
Значения
Да
Нет
1
Провести проверку бортовой системы диагностики (eobd).
Проверка проведена?
-
Перейти к операции 2
Перейти к "Проверка бортовой системы диагностики"
2
Подключить сканирующий прибор к колодке диагностики.
Запустить двигатель и совершить поездку согласно условиям протокола неисправностей.
Устанавливается ли диагностический код неисправности Р0462?
Проверить отсутствие разрыва или короткого замыкания с "массой" в цепи датчика уровня топлива и устранить неисправность, как требуется.
Закончен ли ремонт?
-
Перейдите к Шагу 7
Перейдите к Шагу 9
7
Устранить разрыв или короткое замыкание с "массой" в цепи датчика уровня топлива между разъемом жгута датчика уровня топлива и датчиком уровня топлива.
Закончен ли ремонт?
-
Перейдите к Шагу 11
-
8
Выключите зажигание.
Заменить узел топливного насоса.
Закончен ли ремонт?
-
Перейдите к Шагу 11
-
9
Выключите зажигание.
Подсоединить разъём топливного насоса.
Отсоединить разъём контроллера электронной системы управления двигателем (ЭСУД).
Включите зажигание.
Используя цифровой вольтметр, замерить напряжение в сигнальной цепи на клемме К51.
Измеренное напряжение находится в указанном диапазоне?
Используя сканирующий прибор, очистить диагностические коды неисправностей.
Запустить двигатель и дать ему поработать на холостом ходу при нормальной рабочей температуре.
Совершить поездку для установки кодов неисправности, как это указано во вспомогательном тексте.
Сканирующий прибор определяет эту диагностику как прошедшую и успешную?
-
Перейдите к Шагу 12
Перейти к операции 2
12
Проверьте, не установлены ли дополнительные диагностические коды неисправности.
Отображены ли диагностические коды неисправности, которые не были продиагностированы?
-
Перейти к соответствующей таблице диагностических кодов неисправности
Система в норме
КОД НЕИСПРАВНОСТИ (dtc) Р0463 ДАТЧИК УРОВНЯ ТОПЛИВА, ВЫСОКОЕ НАПРЯЖЕНИЕ (2,0 Л ДВА РАСПРЕДЕЛИТЕЛЬНЫХ ВАЛА С ВЕРХНИМ РАСПОЛОЖЕНИЕМ)
Описание системы
Контроллер ЭСУД использует сигнал от датчика уровня топлива для вычисления ожидаемого давления паров в топливной системе. Давление паров изменяется по мере изменения уровня топлива. Сигнал уровня топлива также используется для определения слишком высокого или слишком низкого уровня топлива для определения неисправностей, связанных с системой улавливания паров топлива. Данный диагностический код неисправности - следствие постоянного короткого замыкания или разрыва либо в сигнальной цепи, либо же в датчике уровня топлива.
Условия установки кода неисправности.
Выходной сигнал датчика уровня топлива больше 98%.
Включено зажигание.
Действия, выполняемые при установке кода неисправности
Контрольная лампа индикации неисправности не загорается.
Контроллер записывает рабочие условия в момент определения неисправности. Эта информация сохраняется в протоколах неисправностей.
Условия очистки кода неисправности/индикации неисправности
Архив диагностических кодов неисправности очищается через 40 последовательных циклов нагрева без неисправностей.
Диагностический код неисправности может быть обнулен при помощи сканирующего прибора.
Отключение питания контроллера ЭСУД более чем на 10 секунд.
Указания по диагностике
Осмотреть разъем жгутов на отсутствие снятых клемм, плохого соединения, неисправных замков, деформированных или поврежденных клемм, а также слабого соединения клемм с проводами.
Осмотреть жгут проводов на наличие повреждений.
Неизменяемые значения датчика уровня топлива могут привести к установке кода неисправности.
Если код неисправности Р0462 не может быть повторен, то информация, включенная в буфер записей состояния, может быть полезна при определении условий при первой установке кода неисправности.
Проверки сопротивления датчика уровня топлива:
Пуст = 280 Ом или свыше.
Половина емкости = около 90 Ом
Полный = 38 Ом и менее.
dtc p0463 Сигнал датчика уровня топлива, высокое напряжение (2,0 л два распределительных вала с верхним расположением)
Шаг
Операция
Значения
Да
Нет
1
Провести проверку бортовой системы диагностики (eobd).
Проверка проведена?
-
Перейти к операции 2
Перейти к "Проверка бортовой системы диагностики"
2
Подключить сканирующий прибор к колодке диагностики.
Запустить двигатель и совершить поездку согласно условиям протокола неисправностей.
Устанавливается ли диагностический код неисправности Р0463?
Используя сканирующий прибор, очистить диагностические коды неисправностей.
Запустить двигатель и дать ему поработать на холостом ходу при нормальной рабочей температуре.
Совершить поездку для установки кодов неисправности, как это указано во вспомогательном тексте.
Сканирующий прибор определяет эту диагностику как прошедшую и успешную?
-
Перейдите к Шагу 12
Перейти к операции 2
12
Проверьте, не установлены ли дополнительные диагностические коды неисправности.
Отображены ли диагностические коды неисправности, которые не были продиагностированы?
-
Перейти к соответствующей таблице диагностических кодов неисправности
Система в норме
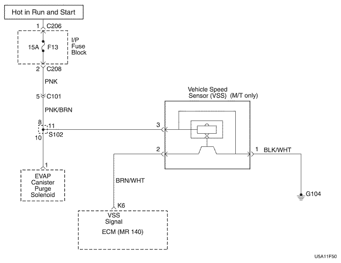
КОД НЕИСПРАВНОСТИ (dtc) Р0502 ОТСУТСТВУЕТ СИГНАЛ ДАТЧИКА СКОРОСТИ АВТОМОБИЛЯ (ТОЛЬКО 2,0 Л ДВА РАСПРЕДЕЛИТЕЛЬНЫХ ВАЛА С ВЕРХНИМ РАСПОЛОЖЕНИЕМ, МЕХАНИЧЕСКАЯ КОРОБКА ПЕРЕДАЧ С ГЛАВНОЙ ПЕРЕДАЧЕЙ В СБОРЕ)
Описание схемы
Информация о скорости движения автомобиля предоставляется в ЭСУД датчиком скорости автомобиля. Датчик скорости автомобиля - это электромагнитный генератор постоянного тока, установленный на коробке передач и выдающий импульсные сигналы как только скорость автомобиля превысит 3 мили/ч (5 км/ч). Уровень сигнала переменного тока и количество импульсов возрастают при увеличении скорости автомобиля. ЭСУД преобразует импульсное напряжение в мили/ч (км/ч) и выдает нужный сигнал на приборную панель для спидометра/счетчика пройденного пути, а также для работы блока системы оптимального регулирования скорости и многофункциональной системы сигнализации. Данный диагностический код неисправности определит, соответствует ли скорость автомобиля нагрузке и числу оборотов двигателя.
Условия установки кода неисправности.
Двигатель работает
Температура охлаждающей жидкости двигателя более 60°С (140°f).
Напряжение зажигания в пределах 11-16 вольт.
Испытание мощности
Скорость вращения двигателя составляет от 1200 до 4000.
Значение датчика положения дроссельной заслонки в пределах от 25 до 60%.
Нагрузка на двигатель более 60 кПа (8,7 фунтов/кв. дюйм).
Скорость автомобиля меньше 5 км/ч (3,1 мили/ч).
Испытание торможения
Абсолютное давление во впускном коллекторе, компенсируемое генератором меньше 30 кПа (4,4 фунтов на квадратный дюйм)
Изменение оборотов двигателя составляет меньше 50 мин-1 за цикл.
Значение датчика положения дроссельной заслонки меньше или равно 0,8%.
Скорость вращения двигателя от 1500 до 6000.
Скорость автомобиля меньше 5 км/ч (3,1 мили/ч).
Диагностические коды неисправности Р0106, Р0107, Р0108, Р0117, Р0118, Р0122, Р0123, Р0125, p0201, p0202, p0203, p0204, p0300, Р0351, Р0352, Р0402, Р0404, Р1404, Р0405 и Р0406 не устанавливаются.
Действия, выполняемые при установке кода неисправности
Контроллер записывает рабочие условия в момент определения неисправности. Эта информация сохраняется в буфере записей состояния и протоколах неисправностей.
Условия очистки кода неисправности/индикации неисправности
Контрольная лампа индикации неисправности отключается через четыре последовательных цикла зажигания, в которых диагностика не обнаружила неисправность.
Архив диагностических кодов неисправности очищается через 40 последовательных циклов нагрева без неисправностей.
Диагностический код неисправности может быть очищен сканирующим прибором.
Отключение питания контроллера ЭСУД более чем на 10 секунд.
Указания по диагностике
Периодическая неисправность может быть вызвана слабым контактом, перетертой изоляцией или обрывом проводки в изоляции.
Сигнальная цепь датчика скорости должна быть тщательно проверена на отсутствие следующего:
Снятые клеммы
Соединение клемм
Неисправность замков
Деформированность
Повреждения клемм
Слабое соединение клемм с проводами
Физическое повреждение жгутов проводов
Обеспечить, чтобы датчик скорости был правильно закреплен с соответствующим крутящим моментом к корпусу трансмиссии.
dtc p0502 отсутствует сигнал датчика скорости автомобиля (только 2,0 л два распределительных вала с верхним расположением, механическая коробка передач с главной передачей в сборе)
Шаг
Операция
Значения
Да
Нет
1
Провести проверку бортовой системы диагностики (eobd).
Проверка проведена?
-
Перейти к операции 2
Перейти к "Проверка бортовой системы диагностики"
2
Примечание: Гонка автомобиля при включенной передаче с полностью провисающими колесами ведет в повреждению полуосей.
Подключить сканирующий прибор к колодке диагностики.
Поднять ведущие колеса.
Подпереть нижние рычаги управления таким образом, чтобы полуоси находились в горизонтальном (прямом) положении.
Запустить двигатель и дать ему поработать на холостом ходу при включенном сцеплении.
Скорость автомобиля на сканирующем приборе выше указанного значения?
0 км/ч
Перейдите к Шагу 3
Перейти к операции 4
3
Включите зажигание.
Просмотреть данные записи состояний и записать параметры.
Совершить поездку в условиях записанных состояний и условиях установки кода неисправности.
Скорость автомобиля на сканирующем приборе выше указанного значения?
0 км/ч
Перейдите к Шагу 12
Перейти к операции 4
4
Выключите зажигание.
Отсоединить разъем датчика скорости автомобиля.
Включите зажигание.
При помощи вольтметра, подключенного к массе, замерить напряжение на клемме 2 сигнальной цепи датчика скорости.
Уровень сигнала близок к установленному значению?
10,1 В
Перейти к операции 5
Перейдите к Шагу 7
5
При помощи вольтметра, подключенного к массе, замерить уровень сигнала на клемме 3 разъема датчика скорости.
Уровень сигнала близок к установленному значению?
11-14 В
Перейти к операции 6
Перейдите к Шагу 8
6
При помощи омметра, подключенного к массе, замерить уровень сигнала на клемме 1 разъема датчика скорости.
Уровень сигнала близок к установленному значению?
≈400Ώ
Перейдите к Шагу 10
Перейдите к Шагу 9
7
Проверить сигнальную цепь датчика скорости автомобиля на отсутствие разрыва или короткого замыкания и устранить неисправность при необходимости.
Закончен ли ремонт?
-
Перейдите к Шагу 12
Перейдите к Шагу 11
8
Проверить цепь управления зажиганием на отсутствие разрыва и устранить неисправность, как требуется.
Закончен ли ремонт?
-
Перейдите к Шагу 12
-
9
Проверить цепь "массы" датчика скорости на отсутствие разрыва, и устранить неисправность, как требуется.
Закончен ли ремонт?
-
Перейдите к Шагу 12
-
10
Выключите зажигание.
Заменить датчик скорости.
Закончен ли ремонт?
-
Перейдите к Шагу 12
-
11
Выключите зажигание.
Заменить контроллер ЭСУД.
Закончен ли ремонт?
-
Перейдите к Шагу 12
-
12
Используя сканирующий прибор, очистить диагностические коды неисправностей.
Запустить двигатель и дать ему поработать на холостом ходу при нормальной рабочей температуре.
Совершить поездку для установки кодов неисправности, как это указано во вспомогательном тексте.
Сканирующий прибор определяет эту диагностику как прошедшую и успешную?
-
Перейдите к Шагу 13
Перейти к операции 2
13
Проверьте, не установлены ли дополнительные диагностические коды неисправности.
Отображены ли диагностические коды неисправности, которые не были продиагностированы?
-
Перейти к соответствующей таблице диагностических кодов неисправности
Система в норме
КОД НЕИСПРАВНОСТИ (dtc) p0506 ЧАСТОТА ВРАЩЕНИЯ НА ХОЛОСТОМ ХОДУ МЕНЬШЕ ТРЕБУЕМОЙ ЧАСТОТЫ ВРАЩЕНИЯ (2,0 Л ДВА РАСПРЕДЕЛИТЕЛЬНЫХ ВАЛА С ВЕРХНИМ РАСПОЛОЖЕНИЕМ)
Описание схемы
ЭСУД управляет подачей воздуха в двигатель с помощью клапана регулировки подачи воздуха на холостом ходу. Для увеличения скорости вращения двигателя на холостом ходу, ЭСУД выдает команду на выход иглы клапана регулировки подачи воздуха на выход из седла корпуса дроссельной заслонки. Это позволяет большему количеству воздуха проходить через дроссельную заслонку. Для снижения оборотов ЭСУД выдает команду на вход в корпус дроссельной заслонки. Это сокращает количество кислорода, идущего в обход дроссельной заслонки. Сканирующий прибор считает положение иглы клапана регулировки холостого хода. Чем выше сумма, тем больше воздуха может обойти заслонку. Данный диагностический код неисправности определяет состояние низких оборотов, т.е. на 100 мин-1 меньше желаемых оборотов холостого хода.
Контроллер записывает рабочие условия в момент определения неисправности. Эта информация сохраняется в буфере записей состояния и протоколах неисправностей.
Условия очистки кода неисправности/индикации неисправности
Контрольная лампа индикации неисправности отключается через четыре последовательных цикла зажигания, в которых диагностика не обнаружила неисправность.
Архив диагностических кодов неисправности очищается через 40 последовательных циклов нагрева без неисправностей.
Диагностический код неисправности может быть очищен сканирующим прибором.
Отключение питания контроллера ЭСУД более чем на 10 секунд.
Указания по диагностике
Проверить электросоединение клапана регулировки холостого хода на отсутствие неправильного сопряжения
Осмотреть жгут проводов на наличие повреждений.
Проверить упорный винт заслонки на отсутствие признаков старения Проверить соединение дроссельной заслонки на отсутствие признаков деформации или чрезмерного износа.
Низкие или нестабильные обороты холостого хода могут быть вызваны следующими причинами:
Слишком обогащенная или обедненная смесь в системе.
Посторонние материалы в отверстии дроссельной заслонки или в системе подачи воздуха.
Утечка или сужение сечения во впускном коллекторе.
Чрезмерная перегрузка двигателя. Проверить отсутствие заблокированности шкивов, насосов или двигателей на вспомогательном приводе.
Избыточная масса масла в двигателе.
dtc p0506 Обороты холостого хода ниже уровня желаемых оборотов холостого хода (2,0 л два распределительных вала с верхним расположением)
Шаг
Операция
Значения
Да
Нет
1
Провести проверку бортовой системы диагностики (eobd).
Проверка проведена?
-
Перейти к операции 2
Перейти к "Проверка бортовой системы диагностики"
2
Подключить сканирующий прибор к колодке диагностики.
Поработать двигателем на холостом ходу.
Передача на парковку или нейтраль, и установить стояночный тормоз.
Кондиционер выключен.
При помощи сканирующего прибора дать команду клапану регулировки холостого хода на перемещение вверх и вниз в пределах указанного значения.
Изменяется ли скорость вращения двигателя плавно по команде со сканирующего прибора?
Включается и выключается ли контрольная лампа на всех клеммах?
-
Перейдите к Шагу 11
Перейдите к Шагу 12
9
Проверить отсутствие разрыва или короткого замыкания в цепях высокого или низкого сигнала клапана регулировки холостого хода.
Закончен ли ремонт?
-
Перейдите к шагу 15
Перейдите к Шагу 10
10
Проверить разъем контроллера ЭСУД на отсутствие слабого контакта и устранить неисправность при необходимости.
Закончен ли ремонт?
-
Перейдите к шагу 15
Перейдите к Шагу 14
11
Проверить трубопроводы клапана регулировки холостого хода и устранить неисправность, как требуется.
Закончен ли ремонт?
-
Перейдите к шагу 15
Перейдите к Шагу 13
12
Проверить контрольную лампу.
Включена ли контрольная лампа постоянно на всех клеммах, на которых она не моргает?
-
Перейдите к Шагу 9
Перейдите к Шагу 7
13
Выключите зажигание.
Заменить клапан РХХ.
Закончен ли ремонт?
-
Перейдите к шагу 15
-
14
Выключите зажигание.
Заменить контроллер ЭСУД.
Закончен ли ремонт?
-
Перейдите к шагу 15
-
15
Используя сканирующий прибор, очистить диагностические коды неисправностей.
Запустить двигатель и дать ему поработать на холостом ходу при нормальной рабочей температуре.
Совершить поездку для установки кодов неисправности, как это указано во вспомогательном тексте.
Сканирующий прибор определяет эту диагностику как прошедшую и успешную?
-
Перейдите к шагу 16
Перейти к операции 2
16
Проверьте, не установлены ли дополнительные диагностические коды неисправности.
Отображены ли диагностические коды неисправности, которые не были продиагностированы?
-
Перейти к соответствующей таблице диагностических кодов неисправности
Система в норме
КОД НЕИСПРАВНОСТИ (dtc) p0507 ЧАСТОТА ВРАЩЕНИЯ НА ХОЛОСТОМ ХОДУ ВЫШЕ ТРЕБУЕМОЙ ЧАСТОТЫ ВРАЩЕНИЯ (2,0 Л ДВА РАСПРЕДЕЛИТЕЛЬНЫХ ВАЛА С ВЕРХНИМ РАСПОЛОЖЕНИЕМ)
Описание схемы
ЭСУД управляет подачей воздуха в двигатель с помощью клапана регулировки подачи воздуха на холостом ходу. Для увеличения скорости вращения двигателя на холостом ходу, ЭСУД выдает команду на выход иглы клапана регулировки подачи воздуха на выход из седла корпуса дроссельной заслонки. Это позволяет большему количеству воздуха проходить через дроссельную заслонку. Для снижения оборотов ЭСУД выдает команду на вход в корпус дроссельной заслонки. Это сокращает количество кислорода, идущего в обход дроссельной заслонки. Сканирующий прибор считает положение иглы клапана регулировки холостого хода. Чем выше сумма, тем больше воздуха может обойти заслонку. Данный диагностический код неисправности определяет состояние высоких оборотов холостого хода, т.е. на 200 мин-1 больше желаемых оборотов холостого хода.
Контроллер записывает рабочие условия в момент определения неисправности. Эта информация сохраняется в буфере записей состояния и протоколах неисправностей.
Условия очистки кода неисправности/индикации неисправности
Контрольная лампа индикации неисправности отключается через четыре последовательных цикла зажигания, в которых диагностика не обнаружила неисправность.
Архив диагностических кодов неисправности очищается через 40 последовательных циклов нагрева без неисправностей.
Диагностический код неисправности может быть очищен сканирующим прибором.
Отключение питания контроллера ЭСУД более чем на 10 секунд.
Указания по диагностике
Проверить электросоединение клапана регулировки холостого хода на отсутствие неправильного сопряжения
Осмотреть жгут проводов на наличие повреждений.
Проверить упорный винт заслонки на отсутствие признаков старения
Проверить соединение дроссельной заслонки на отсутствие признаков деформации или чрезмерного износа.
Низкие или нестабильные обороты холостого хода могут быть вызваны следующими причинами:
Слишком обогащенная или обедненная смесь в системе.
Посторонние материалы в отверстии дроссельной заслонки или в системе подачи воздуха.
Утечка или сужение сечения во впускном коллекторе.
Чрезмерная перегрузка двигателя. Проверить отсутствие заблокированности шкивов, насосов или двигателей на вспомогательном приводе.
Избыточная масса масла в двигателе.
dtc p0507 Обороты холостого хода выше уровня желаемых оборотов холостого хода (2,0 л два распределительных вала с верхним расположением)
Шаг
Операция
Значения
Да
Нет
1
Провести проверку бортовой системы диагностики (eobd).
Проверка проведена?
-
Перейти к операции 2
Перейти к "Проверка бортовой системы диагностики"
2
Подключить сканирующий прибор к колодке диагностики.
Поработать двигателем на холостом ходу.
Передача на парковку или нейтраль, и установить стояночный тормоз.
Кондиционер выключен.
При помощи сканирующего прибора дать команду клапану регулировки холостого хода на перемещение вверх и вниз в пределах указанного значения.
Изменяется ли скорость вращения двигателя плавно по команде со сканирующего прибора?
Включается и выключается ли контрольная лампа на всех клеммах?
-
Перейдите к Шагу 11
Перейдите к Шагу 12
9
Проверить отсутствие разрыва или короткого замыкания в цепях высокого или низкого сигнала клапана регулировки холостого хода.
Закончен ли ремонт?
-
Перейдите к шагу 15
Перейдите к Шагу 10
10
Проверить разъем контроллера ЭСУД на отсутствие слабого контакта и устранить неисправность при необходимости.
Закончен ли ремонт?
-
Перейдите к шагу 15
Перейдите к Шагу 14
11
Проверить трубопроводы клапана регулировки холостого хода и устранить неисправность, как требуется.
Закончен ли ремонт?
-
Перейдите к шагу 15
Перейдите к Шагу 13
12
Проверить контрольную лампу.
Включена ли контрольная лампа постоянно на всех клеммах, на которых она не моргает?
-
Перейдите к Шагу 9
Перейдите к Шагу 7
13
Выключите зажигание.
Заменить клапан РХХ.
Закончен ли ремонт?
-
Перейдите к шагу 15
-
14
Выключите зажигание.
Заменить контроллер ЭСУД.
Закончен ли ремонт?
-
Перейдите к шагу 15
-
15
Используя сканирующий прибор, очистить диагностические коды неисправностей.
Запустить двигатель и дать ему поработать на холостом ходу при нормальной рабочей температуре.
Совершить поездку для установки кодов неисправности, как это указано во вспомогательном тексте.
Сканирующий прибор определяет эту диагностику как прошедшую и успешную?
-
Перейдите к шагу 16
Перейти к операции 2
16
Проверьте, не установлены ли дополнительные диагностические коды неисправности.
Отображены ли диагностические коды неисправности, которые не были продиагностированы?
-
Перейти к соответствующей таблице диагностических кодов неисправности
Система в норме
КОД НЕИСПРАВНОСТИ (dtc) Р0532 ДАТЧИК ДАВЛЕНИЯ В СИСТЕМЕ КОНДИЦИОНИРОВАНИЯ, НИЗКОЕ НАПРЯЖЕНИЕ (2,0 Л ДВА РАСПРЕДЕЛИТЕЛЬНЫХ ВАЛА С ВЕРХНИМ РАСПОЛОЖЕНИЕМ)
Описание схемы
Система кондиционирования воздуха использует датчик давления хладагента системы кондиционирования в зоне высокого давления хладагента для контроля давления хладагента. ЭСУД использует данную информацию для включения вентиляторов системы охлаждения двигателя при высоком давлении хладагента, а также для того, чтобы не включать компрессор при слишком высоком или слишком низком давлении хладагента системы кондиционирования.
Датчик давления системы кондиционирования работает аналогично другим трехпроводным датчикам. Контроллер ЭСУД выдает опорный сигнал 5,0В и служит "массой" для датчика. Изменения давления хладагента приведут к изменениям на входе датчика давления системы кондиционирования в контроллер ЭСУД. ЭСУД контролирует сигнальную цепь датчика давления системы кондиционирования и может определить, когда выходит за возможные пределы диапазона датчика. Когда сигнал находится вне диапазона в течение длительного периода времени, ЭСУД не даст муфте компрессора системы кондиционирования войти в зацепление. Это выполнено для защиты компрессора.
Условия установки кода неисправности.
Двигатель работает
Давление кондиционера меньше 1% шкалы показаний датчика.
Действия, выполняемые при установке кода неисправности
Контрольная лампа индикации неисправности не загорается.
Контроллер записывает рабочие условия в момент определения неисправности. Эта информация сохраняется в протоколах неисправностей.
При наличии индикации низкого напряжения компрессор системы кондиционирования будет отключен.
Условия очистки кода неисправности/индикации неисправности
Архив диагностических кодов неисправности очищается через 40 последовательных циклов нагрева без неисправностей.
Диагностический код неисправности может быть очищен сканирующим прибором.
Отключение питания контроллера ЭСУД более чем на 10 секунд.
Указания по диагностике
Осмотреть разъемы жгутов на отсутствие снятых клемм, плохого соединения, неисправных замков, деформированных или поврежденных клемм, а также слабого соединения клемм с проводами на контроллере ЭСУД.
Осмотреть жгут проводов на наличие повреждений. Если жгут проводов в порядке, проконтролировать индикацию давления системы кондиционирования на инструменте сканирования при перемещении разъемов и жгутов проводов, связанных с датчиком давления системы кондиционирования. Изменение индикации давления в системе кондиционирования укажет на неисправность.
Если диагностический код неисправности Р0532 не сможет быть продублирован, то просмотр записей неисправностей после последнего неудавшейся диагностической проверки, поможет определить, как часто происходило состояние, приводившее к установке диагностического кода неисправности. Это поможет продиагностировать условия.
dtc p0532 Сигнал датчика давления в системе кондиционирования, низкое напряжение (2,0 л два распределительных вала с верхним расположением)
Шаг
Операция
Значения
Да
Нет
1
Провести проверку бортовой системы диагностики (eobd).
Проверка проведена?
-
Перейти к операции 2
Перейти к "Проверка бортовой системы диагностики"
2
Подключить сканирующий прибор к колодке диагностики.
Запустить двигатель на холостом ходу.
Находится ли индикация напряжения датчика давления системы кондиционирования на инструменте сканирования ниже указанного значения?
0,06 В
Перейдите к Шагу 3
Перейти к операции 4
3
Выключите зажигание.
Отсоединить разъём датчика давления системы кондиционирования.
Осмотреть клеммы разъема жгута проводов датчика системы кондиционирования на отсутствие следующего:
Слабый контакт
Соответствующего контактного напряжения
Слабое соединение клемм с проводами
Проблема найдена?
-
Перейдите к Шагу 8
Перейдите к Шагу 9
6
Выключите зажигание.
Снять перемычку.
Проверить сигнальную цепь датчика системы кондиционирования от клеммы 2 до В+ с помощью контрольной лампы.
Включите зажигание.
Находится ли показание инструмента сканирования выше указанного значения?
4 В
Перейдите к Шагу 7
Перейдите к Шагу 11
7
Проверить цепь опорного сигнала 5 В на отсутствие разрыва или короткого замыкания с "массой", и устранить неисправность при необходимости.
Закончен ли ремонт?
-
Перейдите к Шагу 13
Перейдите к Шагу 10
8
Восстановить клеммы соединения как необходимо.
Закончен ли ремонт?
-
Перейдите к Шагу 13
-
9
Выключите зажигание.
Заменить датчик давления системы кондиционирования.
Закончен ли ремонт?
-
Перейдите к Шагу 13
-
10
Выключите зажигание.
Заменить контроллер ЭСУД.
Закончен ли ремонт?
-
Перейдите к Шагу 13
-
11
Проверить сигнальную цепь датчика давления системы кондиционирования на отсутствие следующего:
Разрыва
Короткого замыкания с "массой"
Короткое замыкание с "массой" датчика
Проблема найдена?
-
Перейдите к Шагу 12
Перейдите к Шагу 10
12
Восстановить сигнальную цепь датчика давления системы кондиционирования.
Закончен ли ремонт?
-
Перейдите к Шагу 13
-
13
Используя сканирующий прибор, очистить диагностические коды неисправностей.
Запустить двигатель и дать ему поработать на холостом ходу при нормальной рабочей температуре.
Совершить поездку для установки кодов неисправности, как это указано во вспомогательном тексте.
Сканирующий прибор определяет эту диагностику как прошедшую и успешную?
-
Перейдите к Шагу 14
Перейти к операции 2
14
Проверьте, не установлены ли дополнительные диагностические коды неисправности.
Отображены ли диагностические коды неисправности, которые не были продиагностированы?
-
Перейти к соответствующей таблице диагностических кодов неисправности
Система в норме
КОД НЕИСПРАВНОСТИ (dtc) Р0533 ДАТЧИК ДАВЛЕНИЯ В СИСТЕМЕ КОНДИЦИОНИРОВАНИЯ, ВЫСОКОЕ НАПРЯЖЕНИЕ (2,0 Л ДВА РАСПРЕДЕЛИТЕЛЬНЫХ ВАЛА С ВЕРХНИМ РАСПОЛОЖЕНИЕМ)
Описание схемы
Система кондиционирования воздуха использует датчик давления хладагента системы кондиционирования в зоне высокого давления хладагента для контроля давления хладагента. ЭСУД использует данную информацию для включения вентиляторов системы охлаждения двигателя при высоком давлении хладагента, а также для того, чтобы не включать компрессор при слишком высоком или слишком низком давлении хладагента системы кондиционирования.
Датчик давления системы кондиционирования работает аналогично другим трехпроводным датчикам. Контроллер ЭСУД выдает опорный сигнал 5,0В и служит "массой" для датчика. Изменения давления хладагента приведут к изменениям на входе датчика давления системы кондиционирования в контроллер ЭСУД. ЭСУД контролирует сигнальную цепь датчика давления системы кондиционирования и может определить, когда выходит за возможные пределы диапазона датчика. Когда сигнал находится вне диапазона в течение длительного периода времени, ЭСУД не даст муфте компрессора системы кондиционирования войти в зацепление. Это выполнено для защиты компрессора.
Условия установки кода неисправности.
Двигатель работает
Давление кондиционера больше 99% шкалы показаний датчика.
Действия, выполняемые при установке кода неисправности
Контрольная лампа индикации неисправности не загорается.
Контроллер записывает рабочие условия в момент определения неисправности. Эта информация сохраняется в протоколах неисправностей.
При наличии индикации высокого напряжения компрессор системы кондиционирования будет отключен.
Условия очистки кода неисправности/индикации неисправности
Архив диагностических кодов неисправности очищается через 40 последовательных циклов нагрева без неисправностей.
Диагностический код неисправности может быть очищен сканирующим прибором.
Отключение питания контроллера ЭСУД более чем на 10 секунд.
Указания по диагностике
Осмотреть разъемы жгутов на отсутствие снятых клемм, плохого соединения, неисправных замков, деформированных или поврежденных клемм, а также слабого соединения клемм с проводами на контроллере ЭСУД.
Осмотреть жгут проводов на наличие повреждений. Если жгут проводов в порядке, проконтролировать индикацию давления системы кондиционирования на сканирующем приборе, перемещая разъемы и жгуты проводов, связанные с датчиком давления системы кондиционирования. Изменение индикации давления в системе кондиционирования укажет на неисправность.
Если диагностический код неисправности Р0533 не сможет быть продублирован, то просмотр записей неисправностей после последнего неудавшейся диагностической проверки, поможет определить, как часто происходило состояние, приводившее к установке диагностического кода неисправности. Это поможет продиагностировать условия.
dtc p0533 Сигнал датчика давления в системе кондиционирования, высокое напряжение (2,0 л два распределительных вала с верхним расположением)
Шаг
Операция
Значения
Да
Нет
1
Провести проверку бортовой системы диагностики (eobd).
Проверка проведена?
-
Перейти к операции 2
Перейти к "Проверка бортовой системы диагностики"
2
Подключить сканирующий прибор к колодке диагностики.
Запустить двигатель на холостом ходу.
Находится ли индикация напряжения датчика давления системы кондиционирования на инструменте сканирования ниже указанного значения?
0,06 В
Перейдите к Шагу 3
Перейти к операции 4
3
Выключите зажигание.
Отсоединить разъём датчика давления системы кондиционирования.
Осмотреть клеммы разъема жгута проводов датчика системы кондиционирования на отсутствие следующего:
Слабый контакт
Соответствующего контактного напряжения
Слабое соединение клемм с проводами
Проблема найдена?
-
Перейдите к Шагу 8
Перейдите к Шагу 9
6
Выключите зажигание.
Снять перемычку.
Проверить сигнальную цепь датчика системы кондиционирования от клеммы 2 6 до +аккумулятора с помощью контрольной лампы.
Включите зажигание.
Находится ли показание инструмента сканирования выше указанного значения?
4 В
Перейдите к Шагу 7
Перейдите к Шагу 11
7
Проверить цепь опорного сигнала 5 В на отсутствие разрыва или короткого замыкания с "массой", и устранить неисправность при необходимости.
Закончен ли ремонт?
-
Перейдите к Шагу 13
Перейдите к Шагу 10
8
Восстановить клеммы соединения как необходимо.
Закончен ли ремонт?
-
Перейдите к Шагу 13
-
9
Выключите зажигание.
Заменить датчик давления системы кондиционирования.
Закончен ли ремонт?
-
Перейдите к Шагу 13
-
10
Выключите зажигание.
Заменить контроллер ЭСУД.
Закончен ли ремонт?
-
Перейдите к Шагу 13
-
11
Проверить сигнальную цепь датчика давления системы кондиционирования на отсутствие следующего:
Разрыва
Короткого замыкания с "массой"
Короткое замыкание с "массой" датчика
Проблема найдена?
-
Перейдите к Шагу 12
Перейдите к Шагу 10
12
Восстановить сигнальную цепь датчика давления системы кондиционирования.
Закончен ли ремонт?
-
Перейдите к Шагу 13
-
13
Используя сканирующий прибор, очистить диагностические коды неисправностей.
Запустить двигатель и дать ему поработать на холостом ходу при нормальной рабочей температуре.
Совершить поездку для установки кодов неисправности, как это указано во вспомогательном тексте.
Сканирующий прибор определяет эту диагностику как прошедшую и успешную?
-
Перейдите к Шагу 14
Перейти к операции 2
14
Проверьте, не установлены ли дополнительные диагностические коды неисправности.
Отображены ли диагностические коды неисправности, которые не были продиагностированы?
-
Перейти к соответствующей таблице диагностических кодов неисправности
Система в норме
КОД НЕИСПРАВНОСТИ (dtc) Р0562 СЛИШКОМ НИЗКОЕ НАПРЯЖЕНИЕ БОРТОВОЙ СЕТИ (СО СТОРОНЫ ДВИГАТЕЛЯ) (2,0 Л ДВА РАСПРЕДЕЛИТЕЛЬНЫХ ВАЛА С ВЕРХНИМ РАСПОЛОЖЕНИЕМ)
Описание схемы
ЭСУД контролирует напряжение зажигания по цепи зажигания до клеммы К18 на блоке ЭСУД. При любом значении сигнала ниже калиброванного значения, будет устанавливаться диагностический код неисправности напряжения в системе.
Условия установки кода неисправности.
Выключатель зажигания в положении ВКЛ.
Напряжение в системе меньше 11 В.
Действия, выполняемые при установке кода неисправности
Контрольная лампа индикации неисправности не загорается.
Контроллер записывает рабочие условия в момент определения неисправности. Эта информация сохраняется в протоколах неисправностей.
При помощи вольтметра, замерить напряжение в цепи зажигания, клемма К18.
Значение напряжения зажигания больше указанного значения?
10 В
Перейти к операции 5
Перейти к операции 6
5
Проверить отсутствие неисправного разъема на клеммах жгута контроллера ЭСУД и устранить неисправность, как требуется.
Закончен ли ремонт?
-
Перейдите к Шагу 8
Перейдите к Шагу 7
6
Устранить слабый контакт (высокое напряжение) в цепи зажигания.
Закончен ли ремонт?
-
Перейдите к Шагу 8
-
7
Выключите зажигание.
Заменить контроллер ЭСУД.
Закончен ли ремонт?
-
Перейдите к Шагу 8
-
8
Используя сканирующий прибор, очистить диагностические коды неисправностей.
Запустить двигатель и дать ему поработать на холостом ходу при нормальной рабочей температуре.
Совершить поездку для установки кодов неисправности, как это указано во вспомогательном тексте.
Сканирующий прибор определяет эту диагностику как прошедшую и успешную?
-
Перейдите к Шагу 9
Перейти к операции 2
9
Проверьте, не установлены ли дополнительные диагностические коды неисправности.
Отображены ли диагностические коды неисправности, которые не были продиагностированы?
-
Перейти к соответствующей таблице диагностических кодов неисправности
Система в норме
КОД НЕИСПРАВНОСТИ (dtc) Р0563 СЛИШКОМ ВЫСОКОЕ НАПРЯЖЕНИЕ БОРТОВОЙ СЕТИ (СО СТОРОНЫ ДВИГАТЕЛЯ) (2,0 Л ДВА РАСПРЕДЕЛИТЕЛЬНЫХ ВАЛА С ВЕРХНИМ РАСПОЛОЖЕНИЕМ)
Описание схемы
ЭСУД контролирует напряжение зажигания по цепи зажигания до клеммы К18 на блоке ЭСУД. При любом значении сигнала выше калиброванного значения, будет устанавливаться диагностический код неисправности напряжения в системе.
Условия установки кода неисправности.
Выключатель зажигания в положении ВКЛ.
Напряжение бортовой сети более 16 В.
Действия, выполняемые при установке кода неисправности
Контрольная лампа индикации неисправности не загорается.
Контроллер записывает рабочие условия в момент определения неисправности. Эта информация сохраняется в протоколах неисправностей.
Используя сканирующий прибор, очистить диагностические коды неисправностей.
Запустить двигатель и дать ему поработать на холостом ходу при нормальной рабочей температуре.
Совершить поездку для установки кодов неисправности, как это указано во вспомогательном тексте.
Сканирующий прибор определяет эту диагностику как прошедшую и успешную?
-
Перейти к операции 6
Перейти к операции 2
6
Проверьте, не установлены ли дополнительные диагностические коды неисправности.
Отображены ли диагностические коды неисправности, которые не были продиагностированы?
-
Перейти к соответствующей таблице диагностических кодов неисправности
Система в норме
КОД НЕИСПРАВНОСТИ (dtc) Р0601 ОШИБКА КОНТРОЛЬНОЙ СУММЫ КОНТРОЛЛЕРА ЭСУД (2,0 Л ДВА РАСПРЕДЕЛИТЕЛЬНЫХ ВАЛА С ВЕРХНИМ РАСПОЛОЖЕНИЕМ)
Описание схемы
ЭСУД является центром управления системы впрыска топлива. Она постоянно отслеживает информацию от различных датчиков и управляет системами, которые влияют на работу автомобиля. ЭСУД также осуществляет функции диагностики системы. Она может распознавать проблемы в работе, оповещать водителя посредством контрольной лампы индикации (Check Engine), а также хранить диагностический код(ы) неисправности(ей), которые определяют проблемные зоны и помогают при проведении ремонта. Электрически стираемое программируемое постоянное ЗУ (ЭСППЗУ) используется для хранения программной информации и калибровок, необходимых для диагностической операций с двигателем, трансмиссией и коробкой передач. ЭСУД использует единицу под наименованием "контрольная сумма" для определения ошибок программного обеспечения. Контрольная сумма это значение равное сумме всех номеров программного обеспечения. ЭСУД складывает все значения в программном обеспечении и, если это значение не равно контрольной сумме, то отображается ошибка контрольной суммы.
Условия установки кода неисправности.
Программный идентификатор не равен значению в программном обеспечении.
Выключатель зажигания в положении ВКЛ.
Действия, выполняемые при установке кода неисправности
ЭСУД попытается записать рабочие условия при обнаружении отказа. Однако поскольку это внутренняя неисправность блока ЭСУД, то данная информация может быть ненадежной. Эта информация сохраняется в буфере записей состояния и протоколах неисправностей.
Условия очистки кода неисправности/индикации неисправности
Контрольная лампа индикации неисправности отключается через четыре последовательных цикла зажигания, в которых диагностика не обнаружила неисправность.
Архив диагностических кодов неисправности очищается через 40 последовательных циклов нагрева без неисправностей.
Диагностический код неисправности может быть очищен сканирующим прибором.
Отключение питания контроллера ЭСУД более чем на 10 секунд.
Код неисправности Р0601 Ошибка контрольной суммы контроллера ЭСУД (2,0 л два распределительных вала с верхним расположением)
Шаг
Операция
Значения
Да
Нет
1
Провести проверку бортовой системы диагностики (eobd).
Проверка проведена?
-
Перейти к операции 2
Перейти к "Проверка бортовой системы диагностики"
2
Выключите зажигание.
Заменить контроллер ЭСУД.
Закончен ли ремонт?
-
Перейдите к Шагу 3
-
3
Используя сканирующий прибор, очистить диагностические коды неисправностей.
Запустить двигатель и дать ему поработать на холостом ходу при нормальной рабочей температуре.
Совершить поездку для установки кодов неисправности, как это указано во вспомогательном тексте.
Сканирующий прибор определяет эту диагностику как прошедшую и успешную?
-
Перейти к операции 4
Перейти к операции 2
4
Проверьте, не установлены ли дополнительные диагностические коды неисправности.
Отображены ли диагностические коды неисправности, которые не были продиагностированы?
-
Перейти к соответствующей таблице диагностических кодов неисправности
Система в норме
КОД НЕИСПРАВНОСТИ (dtc) Р1601 ОБМЕН ДАННЫМИ ПО ИНТЕРФЕЙСУ spi МЕЖДУ КОНТРОЛЛЕРОМ ЭСУД И КОНТРОЛЛЕРОМ КПП (2,0 Л ДВА РАСПРЕДЕЛИТЕЛЬНЫХ ВАЛА С ВЕРХНИМ РАСПОЛОЖЕНИЕМ)
Описание схемы
Обмен данными по интерфейсу SPI используется внутренне контроллером ЭСУД для посылки сообщений между процессором двигателя и процессором автоматической коробки передач. В каждом сообщении между двумя процессорами содержится контрольная сумма. И процессор двигатель и процессор автоматической коробки передач сравнивают эту контрольную сумму с расчетной. Если контрольные суммы не совпадают, процессор будет рассматривать новые данные как испорченные и проигнорирует значение. Вместо этого процессор будет использовать предыдущее сообщение. Принимающий процессор пошлет посылающему процессору сообщение, что последнее сообщение было испорченным.
Контроллер ЭСУД периодически отслеживает статусные сообщения контроллера КПП, и, если сообщение не получено, счетчик сбоев увеличивается, и устанавливается диагностический код неисправности.
Условия установки кода неисправности.
Выключатель зажигания в положении ВКЛ.
Напряжение зажигания больше 11 вольт.
Двигатель работает более 2 секунд.
Контроллер устройства не активен.
Действия, выполняемые при установке кода неисправности
Контроллер записывает рабочие условия в момент определения неисправности. Эта информация сохраняется в буфере записей состояния и протоколах неисправностей.
Условия очистки кода неисправности/индикации неисправности
Контрольная лампа индикации неисправности отключается через четыре последовательных цикла зажигания, в которых диагностика не обнаружила неисправность.
Архив диагностических кодов неисправности очищается через 40 последовательных циклов нагрева без неисправностей.
Диагностический код неисправности может быть очищен сканирующим прибором.
Отключение питания контроллера ЭСУД более чем на 10 секунд.
dtc p1601 Обмен данными по интерфейсу spi между контроллером ЭСУД и контроллером КПП (2,0 л два распределительных вала с верхним расположением)
Шаг
Операция
Значения
Да
Нет
1
Провести проверку бортовой системы диагностики (eobd).
Проверка проведена?
-
Перейти к операции 2
Перейти к "Проверка бортовой системы диагностики"
2
Выключите зажигание.
Заменить контроллер ЭСУД.
Закончен ли ремонт?
-
Перейдите к Шагу 3
-
3
Используя сканирующий прибор, очистить диагностические коды неисправностей.
Запустить двигатель и дать ему поработать на холостом ходу при нормальной рабочей температуре.
Совершить поездку для установки кодов неисправности, как это указано во вспомогательном тексте.
Сканирующий прибор определяет эту диагностику как прошедшую и успешную?
-
Перейти к операции 4
Перейти к операции 2
4
Проверьте, не установлены ли дополнительные диагностические коды неисправности.
Отображены ли диагностические коды неисправности, которые не были продиагностированы?
-
Перейти к соответствующей таблице диагностических кодов неисправности
Система в норме
ДИАГНОСТИЧЕСКИЙ КОД НЕИСПРАВНОСТИ (dtc) Р0607 ОШИБКА ПОДСЧЕТА СНИЖЕНИЙ МОЩНОСТИ (2,0 Л ДВА РАСПРЕДЕЛИТЕЛЬНЫХ ВАЛА С ВЕРХНИМ РАСПОЛОЖЕНИЕМ)
Описание схемы
ЭСУД является центром управления системы впрыска топлива. Она постоянно отслеживает информацию от различных датчиков и управляет системами, которые влияют на работу автомобиля. ЭСУД также осуществляет функции диагностики системы. Она может распознавать проблемы в работе, оповещать водителя посредством контрольной лампы индикации (Check Engine), а также хранить диагностический код(ы) неисправности(ей), которые определяют проблемные зоны и помогают при проведении ремонта. Электрически стираемое программируемое постоянное ЗУ (ЭСППЗУ) используется для хранения программной информации и калибровок, необходимых для диагностической операций с двигателем, трансмиссией и коробкой передач. Контроллер ЭСУД проверяет работу интегральной микросхемы счетчика снижения мощности и связь между основным процессором и интегральной микросхемой счетчика.
Условия установки кода неисправности.
Выключатель зажигания в положении ВКЛ.
Напряжение зажигания больше 11 вольт.
Двигатель работает более 10 секунд.
Действия, выполняемые при установке кода неисправности
Контрольная лампа индикации неисправности не загорается.
Контроллер записывает рабочие условия в момент определения неисправности. Эта информация сохраняется в буфере записей состояния и протоколах неисправностей.
Условия очистки кода неисправности/индикации неисправности
Архив диагностических кодов неисправности очищается через 40 последовательных циклов нагрева без неисправностей.
Диагностический код неисправности может быть очищен сканирующим прибором.
Отключение питания контроллера ЭСУД более чем на 10 секунд.
dtc p0607 Ошибка счетчика снижений мощности (2,0 л два распределительных вала с верхним расположением)
Шаг
Операция
Значения
Да
Нет
1
Провести проверку бортовой системы диагностики (eobd).
Проверка проведена?
-
Перейти к операции 2
Перейти к "Проверка бортовой системы диагностики"
2
Выключите зажигание.
Заменить контроллер ЭСУД.
Закончен ли ремонт?
-
Перейдите к Шагу 3
-
3
Используя сканирующий прибор, очистить диагностические коды неисправностей.
Запустить двигатель и дать ему поработать на холостом ходу при нормальной рабочей температуре.
Совершить поездку для установки кодов неисправности, как это указано во вспомогательном тексте.
Сканирующий прибор определяет эту диагностику как прошедшую и успешную?
-
Перейти к операции 4
Перейти к операции 2
4
Проверьте, не установлены ли дополнительные диагностические коды неисправности.
Отображены ли диагностические коды неисправности, которые не были продиагностированы?
-
Перейти к соответствующей таблице диагностических кодов неисправности
Система в норме
ДИАГНОСТИЧЕСКИЙ КОД НЕИСПРАВНОСТИ (dtc) Р1607 СБРОС ПОДСЧЕТА СНИЖЕНИЙ МОЩНОСТИ (2,0 Л ДВА РАСПРЕДЕЛИТЕЛЬНЫХ ВАЛА С ВЕРХНИМ РАСПОЛОЖЕНИЕМ)
Описание схемы
ЭСУД является центром управления системы впрыска топлива. Она постоянно отслеживает информацию от различных датчиков и управляет системами, которые влияют на работу автомобиля. ЭСУД также осуществляет функции диагностики системы. Она может распознавать проблемы в работе, оповещать водителя посредством контрольной лампы индикации (Check Engine), а также хранить диагностический код(ы) неисправности(ей), которые определяют проблемные зоны и помогают при проведении ремонта. Электрически стираемое программируемое постоянное ЗУ (ЭСППЗУ) используется для хранения программной информации и калибровок, необходимых для диагностической операций с двигателем, трансмиссией и коробкой передач. ЭСУД отслеживает флажок сброса ЭСППЗУ и биты переполнения интегральной схемы (ИС) счетчика низкого уровня питания. Если контроллер ЭСУД обнаруживает, что ИС счетчика низкого уровня питания сброшена из-за отключенной аккумуляторной батареи или неисправности ИС счетчика низкого уровня питания, то устанавливается диагностический код неисправности.
Условия установки кода неисправности.
Выключатель зажигания в положении ВКЛ.
Двигатель не работает.
Действия, выполняемые при установке кода неисправности
Контрольная лампа индикации неисправности не загорается.
Контроллер записывает рабочие условия в момент определения неисправности. Эта информация сохраняется в протоколах неисправностей.
Условия очистки кода неисправности/индикации неисправности
Архив диагностических кодов неисправности очищается через 40 последовательных циклов нагрева без неисправностей.
Диагностический код неисправности может быть очищен сканирующим прибором.
Отключение питания контроллера ЭСУД более чем на 10 секунд.
dtc p1607 Сброс счетчика снижений мощности (2,0 л два распределительных вала с верхним расположением)
Шаг
Операция
Значения
Да
Нет
1
Провести проверку бортовой системы диагностики (eobd).
Проверка проведена?
-
Перейти к операции 2
Перейти к "Проверка бортовой системы диагностики"
2
Выключите зажигание.
Заменить контроллер ЭСУД.
Закончен ли ремонт?
-
Перейдите к Шагу 3
-
3
Используя сканирующий прибор, очистить диагностические коды неисправностей.
Запустить двигатель и дать ему поработать на холостом ходу при нормальной рабочей температуре.
Совершить поездку для установки кодов неисправности, как это указано во вспомогательном тексте.
Сканирующий прибор определяет эту диагностику как прошедшую и успешную?
-
Перейти к операции 4
Перейти к операции 2
4
Проверьте, не установлены ли дополнительные диагностические коды неисправности.
Отображены ли диагностические коды неисправности, которые не были продиагностированы?
-
Перейти к соответствующей таблице диагностических кодов неисправности
Система в норме
ДИАГНОСТИЧЕСКИЙ КОД НЕИСПРАВНОСТИ (dtc) Р1626 ИММОБИЛИЗАТОР НЕ ОТВЕЧАЕТ (2,0 Л ДВА РАСПРЕДЕЛИТЕЛЬНЫХ ВАЛА С ВЕРХНИМ РАСПОЛОЖЕНИЕМ)
Описание схемы
ЭСУД является центром управления системы впрыска топлива. Она постоянно отслеживает информацию от различных датчиков и управляет системами, которые влияют на работу автомобиля. ЭСУД также осуществляет функции диагностики системы. Она может распознавать проблемы в работе, оповещать водителя посредством контрольной лампы индикации (Check Engine), а также хранить диагностический код(ы) неисправности(ей), которые определяют проблемные зоны и помогают при проведении ремонта. Контроллер ЭСУД определяет сбой обмена данных с контроллером иммобилизатора.
Условия установки кода неисправности.
Выключатель зажигания в положении ВКЛ.
Нет идентификации сообщения иммобилизатора для окна времени выдержки контроллера ЭСУД (1,5 или 2,0 секунд).
Значение датчика скорости автомобиля (vss) менее 512 км/ч.
Действия, выполняемые при установке кода неисправности
Контрольная лампа индикации неисправности не загорается.
Контроллер записывает рабочие условия в момент определения неисправности. Эта информация сохраняется в протоколах неисправностей.
Условия очистки кода неисправности/индикации неисправности
Архив диагностических кодов неисправности очищается через 40 последовательных циклов нагрева без неисправностей.
Диагностический код неисправности может быть очищен сканирующим прибором.
Отключение питания контроллера ЭСУД более чем на 10 секунд.
dtc p1626 Иммобилизатор не отвечает (2,0 л два распределительных вала с верхним расположением)
Шаг
Операция
Значения
Да
Нет
1
Провести проверку бортовой системы диагностики (eobd).
Проверка проведена?
-
Перейти к операции 2
Перейти к "Проверка бортовой системы диагностики"
2
Выключите зажигание.
Заменить контроллер ЭСУД.
Закончен ли ремонт?
-
Перейдите к Шагу 3
-
3
Используя сканирующий прибор, очистить диагностические коды неисправностей.
Запустить двигатель и дать ему поработать на холостом ходу при нормальной рабочей температуре.
Совершить поездку для установки кодов неисправности, как это указано во вспомогательном тексте.
Сканирующий прибор определяет эту диагностику как прошедшую и успешную?
-
Перейти к операции 4
Перейти к операции 2
4
Проверьте, не установлены ли дополнительные диагностические коды неисправности.
Отображены ли диагностические коды неисправности, которые не были продиагностированы?
-
Перейти к соответствующей таблице диагностических кодов неисправности
Система в норме
ДИАГНОСТИЧЕСКИЙ КОД НЕИСПРАВНОСТИ (dtc) Р1631 НЕТОЧНЫЙ ОТКЛИК ИММОБИЛИЗАТОРА (2,0 Л ДВА РАСПРЕДЕЛИТЕЛЬНЫХ ВАЛА С ВЕРХНИМ РАСПОЛОЖЕНИЕМ)
Описание схемы
ЭСУД является центром управления системы впрыска топлива. Она постоянно отслеживает информацию от различных датчиков и управляет системами, которые влияют на работу автомобиля. ЭСУД также осуществляет функции диагностики системы. Она может распознавать проблемы в работе, оповещать водителя посредством контрольной лампы индикации (Check Engine), а также хранить диагностический код(ы) неисправности(ей), которые определяют проблемные зоны и помогают при проведении ремонта. Контроллер ЭСУД получил идентификацию неверного сообщения
Условия установки кода неисправности.
Выключатель зажигания в положении ВКЛ.
Выбрана опция иммобилизатора.
Окно времени выдержки контроллера ЭСУД истекло.
Значение датчика скорости автомобиля (vss) менее 512 км/ч.
Действия, выполняемые при установке кода неисправности
Контрольная лампа индикации неисправности не загорается.
Контроллер записывает рабочие условия в момент определения неисправности. Эта информация сохраняется в протоколах неисправностей.
Условия очистки кода неисправности/индикации неисправности
Архив диагностических кодов неисправности очищается через 40 последовательных циклов нагрева без неисправностей.
Диагностический код неисправности может быть очищен сканирующим прибором.
Отключение питания контроллера ЭСУД более чем на 10 секунд.
dtc Р1631 Неточный отклик иммобилизатора (2,0 л два распределительных вала с верхним расположением)
Шаг
Операция
Значения
Да
Нет
1
Провести проверку бортовой системы диагностики (eobd).
Проверка проведена?
-
Перейти к операции 2
Перейти к "Проверка бортовой системы диагностики"
2
Выключите зажигание.
Заменить контроллер ЭСУД.
Закончен ли ремонт?
-
Перейдите к Шагу 3
-
3
Используя сканирующий прибор, очистить диагностические коды неисправностей.
Запустить двигатель и дать ему поработать на холостом ходу при нормальной рабочей температуре.
Совершить поездку для установки кодов неисправности, как это указано во вспомогательном тексте.
Сканирующий прибор определяет эту диагностику как прошедшую и успешную?
-
Перейти к операции 4
Перейти к операции 2
4
Проверьте, не установлены ли дополнительные диагностические коды неисправности.
Отображены ли диагностические коды неисправности, которые не были продиагностированы?
-
Перейти к соответствующей таблице диагностических кодов неисправности
Система в норме
ДИАГНОСТИЧЕСКИЙ КОД НЕИСПРАВНОСТИ (dtc) Р1650 СВЯЗЬ ИНТЕРФЕЙСА spi С МИКРОСХЕМОЙ sidm (2,0 Л ДВА РАСПРЕДЕЛИТЕЛЬНЫХ ВАЛА С ВЕРХНИМ РАСПОЛОЖЕНИЕМ)
Описание схемы
ЭСУД является центром управления системы впрыска топлива. Она постоянно отслеживает информацию от различных датчиков и управляет системами, которые влияют на работу автомобиля. ЭСУД также осуществляет функции диагностики системы. Она может распознавать проблемы в работе, оповещать водителя посредством контрольной лампы индикации (Check Engine), а также хранить диагностический код(ы) неисправности(ей), которые определяют проблемные зоны и помогают при проведении ремонта. Электрически стираемое программируемое постоянное ЗУ (ЭСППЗУ) используется для хранения программной информации и калибровок, необходимых для диагностической операций с двигателем, трансмиссией и коробкой передач. Диагностический код неисправности сохраняется, когда контроллер ЭСУД определяет ошибку обмена данными по интерфейсу SPI между главным CPU и ИС выходного драйвера.
Условия установки кода неисправности.
Выключатель зажигания в положении ВКЛ.
Напряжение аккумуляторной батареи больше 11 В.
Действия, выполняемые при установке кода неисправности
Контрольная лампа индикации неисправности не загорается.
Контроллер записывает рабочие условия в момент определения неисправности. Эта информация сохраняется в протоколах неисправностей.
Условия очистки кода неисправности/индикации неисправности
Архив диагностических кодов неисправности очищается через 40 последовательных циклов нагрева без неисправностей.
Диагностический код неисправности может быть очищен сканирующим прибором.
Отключение питания контроллера ЭСУД более чем на 10 секунд.
dtc p1650 Связь интерфейса spi с микросхемой sidm (2,0 л два распределительных вала с верхним расположением)
Шаг
Операция
Значения
Да
Нет
1
Провести проверку бортовой системы диагностики (eobd).
Проверка проведена?
-
Перейти к операции 2
Перейти к "Проверка бортовой системы диагностики"
2
Выключите зажигание.
Заменить контроллер ЭСУД.
Закончен ли ремонт?
-
Перейдите к Шагу 3
-
3
Используя сканирующий прибор, очистить диагностические коды неисправностей.
Запустить двигатель и дать ему поработать на холостом ходу при нормальной рабочей температуре.
Совершить поездку для установки кодов неисправности, как это указано во вспомогательном тексте.
Сканирующий прибор определяет эту диагностику как прошедшую и успешную?
-
Перейти к операции 4
Перейти к операции 2
4
Проверьте, не установлены ли дополнительные диагностические коды неисправности.
Отображены ли диагностические коды неисправности, которые не были продиагностированы?
-
Перейти к соответствующей таблице диагностических кодов неисправности
Система в норме
ДИАГНОСТИЧЕСКИЙ КОД НЕИСПРАВНОСТИ (dtc) Р1655 СВЯЗЬ ИНТЕРФЕЙСА spi С МИКРОСХЕМОЙ psvi (2,0 Л ДВА РАСПРЕДЕЛИТЕЛЬНЫХ ВАЛА С ВЕРХНИМ РАСПОЛОЖЕНИЕМ)
Описание схемы
ЭСУД является центром управления системы впрыска топлива. Она постоянно отслеживает информацию от различных датчиков и управляет системами, которые влияют на работу автомобиля. ЭСУД также осуществляет функции диагностики системы. Она может распознавать проблемы в работе, оповещать водителя посредством контрольной лампы индикации (Check Engine), а также хранить диагностический код(ы) неисправности(ей), которые определяют проблемные зоны и помогают при проведении ремонта. Электрически стираемое программируемое постоянное ЗУ (ЭСППЗУ) используется для хранения программной информации и калибровок, необходимых для диагностической операций с двигателем, трансмиссией и коробкой передач. Диагностический код неисправности сохраняется, когда контроллер ЭСУД определяет ошибку обмена данными по интерфейсу SPI между главным CPU и ИС выходного драйвера.
Условия установки кода неисправности.
Выключатель зажигания в положении ВКЛ.
Напряжение аккумуляторной батареи больше 11 В.
Действия, выполняемые при установке кода неисправности
Контрольная лампа индикации неисправности не загорается.
Контроллер записывает рабочие условия в момент определения неисправности. Эта информация сохраняется в протоколах неисправностей.
Условия очистки кода неисправности/индикации неисправности
Архив диагностических кодов неисправности очищается через 40 последовательных циклов нагрева без неисправностей.
Диагностический код неисправности может быть очищен сканирующим прибором.
Отключение питания контроллера ЭСУД более чем на 10 секунд.
dtc p1655 Связь интерфейса spi с микросхемой psvi (2,0 л два распределительных вала с верхним расположением)
Шаг
Операция
Значения
Да
Нет
1
Провести проверку бортовой системы диагностики (eobd).
Проверка проведена?
-
Перейти к операции 2
Перейти к "Проверка бортовой системы диагностики"
2
Выключите зажигание.
Заменить контроллер ЭСУД.
Закончен ли ремонт?
-
Перейдите к Шагу 3
-
3
Используя сканирующий прибор, очистить диагностические коды неисправностей.
Запустить двигатель и дать ему поработать на холостом ходу при нормальной рабочей температуре.
Совершить поездку для установки кодов неисправности, как это указано во вспомогательном тексте.
Сканирующий прибор определяет эту диагностику как прошедшую и успешную?
-
Перейти к операции 4
Перейти к операции 2
4
Проверьте, не установлены ли дополнительные диагностические коды неисправности.
Отображены ли диагностические коды неисправности, которые не были продиагностированы?
-
Перейти к соответствующей таблице диагностических кодов неисправности
Система в норме
ДИАГНОСТИЧЕСКИЙ КОД НЕИСПРАВНОСТИ (dtc) Р0700 НЕИСПРАВНОСТЬ КОНТРОЛЛЕРА КПП (2,0 Л ДВА РАСПРЕДЕЛИТЕЛЬНЫХ ВАЛА С ВЕРХНИМ РАСПОЛОЖЕНИЕМ)
Описание схемы
Контроллер КПП и контроллер ЭСУД соединены между собой посредством последовательного канала передачи данных. Контроллер КПП выдает Р-код (сообщение о состоянии) Класса II на контроллер ЭСУД каждые 100 миллисекунд для подтверждения правильной работы трансмиссии.
Если контроллер КПП определяет в трансмиссии неисправность типа А или В, то он выдает на контроллер ЭСУД Р-код для включения контрольной лампы индикации неисправности и для установки кода неисправности Р0700.
Условия установки кода неисправности.
Сообщение, полученное от контроллера КПП, указывающее на неисправность, определяется в самом контроллере.
Действия, выполняемые при установке кода неисправности
Контрольная лампа индикации неисправности загорается или не загорается.
Контроллер записывает рабочие условия в момент определения неисправности. Эта информация сохраняется в буфере записей состояния и/или протоколах неисправностей.