К началу документа
Tacuma
На предыдущую страницуНа следующую страницу
Главная страница GMDEЗагрузить нединамическое оглавлениеЗагрузить динамическое оглавлениеПомощь

U5A11F44
Показать иллюстрациюПеревод текста в иллюстрациях


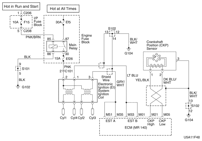
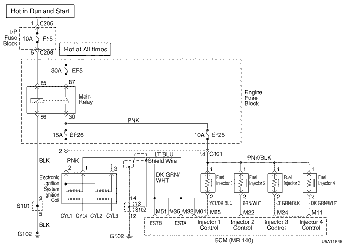
ДИАГНОСТИЧЕСКИЙ КОД НЕИСПРАВНОСТИ p0201 ФОРСУНКА 1, НЕИСПРАВНОСТЬ ВЫХОДНОЙ ЦЕПИ (2.0L DOHC)

Описание схемы

В контроллере ЭСУД имеется четыре отдельных управляющих цепей форсунок, каждая из которых управляет какой-либо форсункой. Форсунка включается, когда цепь управления замыкается на массу контроллером ЭСУД. Контроллер ЭСУД контролирует ток в каждой цепи управления. Контроллер ЭСУД измеряет падение напряжения постоянным резистором и управляет им. Для определения неисправности каждая цепь управления контролируется. Если напряжение в цепи отличается от заданного в контроллере ЭСУД, то устанавливается диагностический код неисправности. Данный код неисправности определяет короткое замыкание на массу и/или разрыв в цепи, а также короткое замыкание на аккумулятор для нижних выводов управляющей цепи форсунки.

Условия установки кода неисправности.

Действия, выполняемые при установке кода неисправности

Условия очистки кода неисправности/индикации неисправности

Указания по диагностике

Цепь управления форсункой 1, имеющая разрыв или замыкание на массу, вызывает установку DTC P0201. А также вызывает пропуск зажигания от неработающей форсунки. Также должен быть установлен диагностический код неисправности зажигания с указанием неисправной форсунки.
Слишком высокое или слишком низкое значение долгосрочной и краткосрочной корректировки топливоподачи указывают на неисправность форсунки. См. "Проверка баланса форсунок" в этом разделе для проверки неисправных форсунок.
Сопротивление форсунки, измеренное на соединении контроллера ЭСУД, несколько выше при измерении непосредственно на форсунке, так как оно включает сопротивление жгута проводов. Нормальное значение - около 13,5Ом.

dtc p0201 - Форсунка 1, неисправность выходной цепи (2.0L DOHC)

ШагОперацияЗначенияДаНет
1
Провести проверку бортовой системы диагностики (eobd).
Проверка проведена?
-
Перейти к операции 2
Перейти к "Проверка бортовой системы диагностики"
2
Двигатель запускается?
-
Перейдите к Шагу 3
Перейти к "Коленчатый вал проворачивается, но двигатель не запускается"
3
  1. Подключить сканирующий прибор к колодке диагностики.
  2. Включить зажигание, двигатель не запускать.
  3. Используя сканирующий прибор, обнулить диагностические коды неисправностей.
  4. Запустить двигатель и дать ему поработать на холостом ходу одну минуту.
dtc p0201 сброшен?
-
Перейти к операции 5
Перейти к операции 4
4
  1. Включить зажигание, двигатель не запускать.
  2. Просмотреть данные записи состояний и записать параметры.
  3. Совершить поездку согласно условиям буфера записей состояний, как указано.
dtc p0201 сброшен?
-
Перейти к операции 5
Перейти к разделу "Диагностическая информация"
5
  1. Выключите зажигание.
  2. Отсоединить разъем контроллера ЭСУД на форсунку 1.
  3. Включить зажигание, двигатель не запускать.
  4. Проверить управляющую цепь на клемме М25 при помощи контрольной лампы, подключенной к "массе".
Контрольная лампа горит?
-
Перейдите к Шагу 7
Перейти к операции 6
6
Устранить короткое замыкание с "массой" или разрыв в управляющей цепи форсунки.
Закончен ли ремонт?
-
Перейдите к Шагу 10
-
7
  1. Отсоединить разъём проводки форсунки 1.
  2. Проверить управляющую цепь на клемме 2 при помощи контрольной лампы, подключенной к массе.
Контрольная лампа горит?
-
Перейдите к Шагу 8
Перейдите к Шагу 9
8
Устранить короткое замыкание в управляющей цепи форсунки.
Закончен ли ремонт?
-
Перейдите к Шагу 10
-
9
  1. Выключите зажигание.
  2. Заменить контроллер ЭСУД.
Закончен ли ремонт?
-
Перейдите к Шагу 10
-
10
  1. Используя сканирующий прибор, очистить диагностические коды неисправностей.
  2. Запустить двигатель и дать ему поработать на холостом ходу при нормальной рабочей температуре.
  3. Совершить поездку для установки кодов неисправности, как это указано во вспомогательном тексте.
Сканирующий прибор определяет эту диагностику как прошедшую и успешную?
-
Перейдите к Шагу 10
Перейти к операции 2
11
Проверьте, не установлены ли дополнительные диагностические коды неисправности.
Отображены ли диагностические коды неисправности, которые не были продиагностированы?
-
Перейти к соответствующей таблице диагностических кодов неисправности
Система в норме



U5A11F44
Показать иллюстрациюПеревод текста в иллюстрациях


ДИАГНОСТИЧЕСКИЙ КОД НЕИСПРАВНОСТИ p0202 ФОРСУНКА 2, НЕИСПРАВНОСТЬ ВЫХОДНОЙ ЦЕПИ (2.0L DOHC)

Описание схемы

В контроллере ЭСУД имеется четыре отдельных управляющих цепей форсунок, каждая из которых управляет какой-либо форсункой. Форсунка включается, когда цепь управления замыкается на массу контроллером ЭСУД. Контроллер ЭСУД контролирует ток в каждой цепи управления. Контроллер ЭСУД измеряет падение напряжения постоянным резистором и управляет им. Для определения неисправности каждая цепь управления контролируется. Если напряжение в цепи отличается от заданного в контроллере ЭСУД, то устанавливается диагностический код неисправности. Данный код неисправности определяет короткое замыкание на массу и/или разрыв в цепи, а также короткое замыкание на аккумулятор для нижних выводов управляющей цепи форсунки.

Условия установки кода неисправности.

Действия, выполняемые при установке кода неисправности

Условия очистки кода неисправности/индикации неисправности

Указания по диагностике

Цепь управления форсункой 2, имеющая разрыв или замыкание на массу, вызывает установку DTC P0202. А также вызывает пропуск зажигания от неработающей форсунки. Также должен быть установлен диагностический код неисправности зажигания с указанием неисправной форсунки.
Слишком высокое или слишком низкое значение долгосрочной и краткосрочной корректировки топливоподачи указывают на неисправность форсунки. См. "Проверка баланса форсунок" в этом разделе для проверки неисправных форсунок.
Сопротивление форсунки, измеренное на соединении контроллера ЭСУД, несколько выше при измерении непосредственно на форсунке, так как оно включает сопротивление жгута проводов. Нормальное значение - около 13,5Ом.

dtc p0202 - Форсунка 2, неисправность выходной цепи (2.0L DOHC)

ШагОперацияЗначенияДаНет
1
Провести проверку бортовой системы диагностики (eobd).
Проверка проведена?
-
Перейти к операции 2
Перейти к "Проверка бортовой системы диагностики"
2
Двигатель запускается?
-
Перейдите к Шагу 3
Перейти к "Коленчатый вал проворачивается, но двигатель не запускается"
3
  1. Подключить сканирующий прибор к колодке диагностики.
  2. Включить зажигание, двигатель не запускать.
  3. Используя сканирующий прибор, обнулить диагностические коды неисправностей.
  4. Запустить двигатель и дать ему поработать на холостом ходу одну минуту.
dtc p0202 сброшен?
-
Перейти к операции 5
Перейти к операции 4
4
  1. Включить зажигание, двигатель не запускать.
  2. Просмотреть данные записи состояний и записать параметры.
  3. Совершить поездку согласно условиям буфера записей состояний, как указано.
dtc p0202 сброшен?
-
Перейти к операции 5
Перейти к "Диагностическая информация"
5
  1. Выключите зажигание.
  2. Отсоединить разъем контроллера ЭСУД на форсунку 2.
  3. Включить зажигание, двигатель не запускать.
  4. Проверить управляющую цепь на клемме М22 при помощи контрольной лампы, подключенной к "массе".
Контрольная лампа горит?
-
Перейдите к Шагу 7
Перейти к операции 6
6
Устранить короткое замыкание с "массой" или разрыв в управляющей цепи форсунки.
Закончен ли ремонт?
-
Перейдите к Шагу 10
-
7
  1. Отсоединить разъём проводки форсунки 2.
  2. Проверить управляющую цепь на клемме 2 при помощи контрольной лампы, подключенной к массе.
Контрольная лампа горит?
-
Перейдите к Шагу 8
Перейдите к Шагу 9
8
Устранить короткое замыкание в управляющей цепи форсунки.
Закончен ли ремонт?
-
Перейдите к Шагу 10
-
9
  1. Выключите зажигание.
  2. Заменить контроллер ЭСУД.
Закончен ли ремонт?
-
Перейдите к Шагу 10
-
10
  1. Используя сканирующий прибор, очистить диагностические коды неисправностей.
  2. Запустить двигатель и дать ему поработать на холостом ходу при нормальной рабочей температуре.
  3. Совершить поездку для установки кодов неисправности, как это указано во вспомогательном тексте.
Сканирующий прибор определяет эту диагностику как прошедшую и успешную?
-
Перейдите к Шагу 10
Перейти к операции 2
11
Проверьте, не установлены ли дополнительные диагностические коды неисправности.
Отображены ли диагностические коды неисправности, которые не были продиагностированы?
-
Перейти к соответствующей таблице диагностических кодов неисправности
Система в норме



U5A11F44
Показать иллюстрациюПеревод текста в иллюстрациях


ДИАГНОСТИЧЕСКИЙ КОД НЕИСПРАВНОСТИ p0203 ФОРСУНКА 3, НЕИСПРАВНОСТЬ ВЫХОДНОЙ ЦЕПИ (2.0L DOHC)

Описание схемы

В контроллере ЭСУД имеется четыре отдельных управляющих цепей форсунок, каждая из которых управляет какой-либо форсункой. Форсунка включается, когда цепь управления замыкается на массу контроллером ЭСУД. Контроллер ЭСУД контролирует ток в каждой цепи управления. Контроллер ЭСУД измеряет падение напряжения постоянным резистором и управляет им. Для определения неисправности каждая цепь управления контролируется. Если напряжение в цепи отличается от заданного в контроллере ЭСУД, то устанавливается диагностический код неисправности. Данный код неисправности определяет короткое замыкание на массу и/или разрыв в цепи, а также короткое замыкание на аккумулятор для нижних выводов управляющей цепи форсунки.

Условия установки кода неисправности.

Действия, выполняемые при установке кода неисправности

Условия очистки кода неисправности/индикации неисправности

Указания по диагностике

Цепь управления форсункой 3, имеющая разрыв или замыкание на массу, вызывает установку DTC P0203. А также вызывает пропуск зажигания от неработающей форсунки. Также должен быть установлен диагностический код неисправности зажигания с указанием неисправной форсунки.
Слишком высокое или слишком низкое значение долгосрочной и краткосрочной корректировки топливоподачи указывают на неисправность форсунки. См. "Проверка баланса форсунок" в этом разделе для проверки неисправных форсунок.
Сопротивление форсунки, измеренное на соединении контроллера ЭСУД, несколько выше при измерении непосредственно на форсунке, так как оно включает сопротивление жгута проводов. Нормальное значение - около 13,5Ом.

dtc p0203 - Форсунка 3, неисправность выходной цепи (2.0L DOHC)

ШагОперацияЗначенияДаНет
1
Провести проверку бортовой системы диагностики (eobd).
Проверка проведена?
-
Перейти к операции 2
Перейти к "Проверка бортовой системы диагностики"
2
Двигатель запускается?
-
Перейдите к Шагу 3
Перейти к "Коленчатый вал проворачивается, но двигатель не запускается"
3
  1. Подключить сканирующий прибор к колодке диагностики.
  2. Включить зажигание, двигатель не запускать.
  3. Используя сканирующий прибор, обнулить диагностические коды неисправностей.
  4. Запустить двигатель и дать ему поработать на холостом ходу одну минуту.
dtc p0203 сброшен?
-
Перейти к операции 5
Перейти к операции 4
4
  1. Включить зажигание, двигатель не запускать.
  2. Просмотреть данные записи состояний и записать параметры.
  3. Совершить поездку согласно условиям буфера записей состояний, как указано.
dtc p0203 сброшен?
-
Перейти к операции 5
Перейти к "Диагностическая информация"
5
  1. Выключите зажигание.
  2. Отсоединить разъем контроллера ЭСУД на форсунку 3.
  3. Включить зажигание, двигатель не запускать.
  4. Проверить управляющую цепь на клемме М24 при помощи контрольной лампы, подключенной к "массе".
Контрольная лампа горит?
-
Перейдите к Шагу 7
Перейти к операции 6
6
Устранить короткое замыкание с "массой" или разрыв в управляющей цепи форсунки.
Закончен ли ремонт?
-
Перейдите к Шагу 10
-
7
  1. Отсоединить разъём проводки форсунки 3.
  2. Проверить управляющую цепь на клемме 2 при помощи контрольной лампы, подключенной к массе.
Контрольная лампа горит?
-
Перейдите к Шагу 8
Перейдите к Шагу 9
8
Устранить короткое замыкание в управляющей цепи форсунки.
Закончен ли ремонт?
-
Перейдите к Шагу 10
-
9
  1. Выключите зажигание.
  2. Заменить контроллер ЭСУД.
Закончен ли ремонт?
-
Перейдите к Шагу 10
-
10
  1. Используя сканирующий прибор, очистить диагностические коды неисправностей.
  2. Запустить двигатель и дать ему поработать на холостом ходу при нормальной рабочей температуре.
  3. Совершить поездку для установки кодов неисправности, как это указано во вспомогательном тексте.
Сканирующий прибор определяет эту диагностику как прошедшую и успешную?
-
Перейдите к Шагу 10
Перейти к операции 2
11
Проверьте, не установлены ли дополнительные диагностические коды неисправности.
Отображены ли диагностические коды неисправности, которые не были продиагностированы?
-
Перейти к соответствующей таблице диагностических кодов неисправности
Система в норме



U5A11F44
Показать иллюстрациюПеревод текста в иллюстрациях


ДИАГНОСТИЧЕСКИЙ КОД НЕИСПРАВНОСТИ p0204 ФОРСУНКА 4, НЕИСПРАВНОСТЬ ВЫХОДНОЙ ЦЕПИ (2.0L DOHC)

Описание схемы

В контроллере ЭСУД имеется четыре отдельных управляющих цепей форсунок, каждая из которых управляет какой-либо форсункой. Форсунка включается, когда цепь управления замыкается на массу контроллером ЭСУД. Контроллер ЭСУД контролирует ток в каждой цепи управления. Контроллер ЭСУД измеряет падение напряжения постоянным резистором и управляет им. Для определения неисправности каждая цепь управления контролируется. Если напряжение в цепи отличается от заданного в контроллере ЭСУД, то устанавливается диагностический код неисправности. Данный код неисправности определяет короткое замыкание на массу и/или разрыв в цепи, а также короткое замыкание на аккумулятор для нижних выводов управляющей цепи форсунки.

Условия установки кода неисправности.

Действия, выполняемые при установке кода неисправности

Условия очистки кода неисправности/индикации неисправности

Указания по диагностике

Цепь управления форсункой 4, имеющая разрыв или замыкание на массу, вызывает установку DTC P0204. А также вызывает пропуск зажигания от неработающей форсунки. Также должен быть установлен диагностический код неисправности зажигания с указанием неисправной форсунки.
Слишком высокое или слишком низкое значение долгосрочной и краткосрочной корректировки топливоподачи указывают на неисправность форсунки. См. "Проверка баланса форсунок" в этом разделе для проверки неисправных форсунок.
Сопротивление форсунки, измеренное на соединении контроллера ЭСУД, несколько выше при измерении непосредственно на форсунке, так как оно включает сопротивление жгута проводов. Нормальное значение - около 13,5Ом.

dtc p0204 - Форсунка 4, неисправность выходной цепи (2.0L DOHC)

ШагОперацияЗначенияДаНет
1
Провести проверку бортовой системы диагностики (eobd).
Проверка проведена?
-
Перейти к операции 2
Перейти к "Проверка бортовой системы диагностики"
2
Двигатель запускается?
-
Перейдите к Шагу 3
Перейти к "Коленчатый вал проворачивается, но двигатель не запускается"
3
  1. Подключить сканирующий прибор к колодке диагностики.
  2. Включить зажигание, двигатель не запускать.
  3. Используя сканирующий прибор, обнулить диагностические коды неисправностей.
  4. Запустить двигатель и дать ему поработать на холостом ходу одну минуту.
dtc p0204 сброшен?
-
Перейти к операции 5
Перейти к операции 4
4
  1. Включить зажигание, двигатель не запускать.
  2. Просмотреть данные записи состояний и записать параметры.
  3. Совершить поездку согласно условиям буфера записей состояний, как указано.
dtc p0204 сброшен?
-
Перейти к операции 5
Перейти к "Диагностическая информация"
5
  1. Выключите зажигание.
  2. Отсоединить разъем контроллера ЭСУД на форсунку 4.
  3. Включить зажигание, двигатель не запускать.
  4. Проверить управляющую цепь на клемме М11 при помощи контрольной лампы, подключенной к "массе".
Контрольная лампа горит?
-
Перейдите к Шагу 7
Перейти к операции 6
6
Устранить короткое замыкание с "массой" или разрыв в управляющей цепи форсунки.
Закончен ли ремонт?
-
Перейдите к Шагу 10
-
7
  1. Отсоединить разъём проводки форсунки 4.
  2. Проверить управляющую цепь на клемме 2 при помощи контрольной лампы, подключенной к массе.
Контрольная лампа горит?
-
Перейдите к Шагу 8
Перейдите к Шагу 9
8
Устранить короткое замыкание в управляющей цепи форсунки.
Закончен ли ремонт?
-
Перейдите к Шагу 10
-
9
  1. Выключите зажигание.
  2. Заменить контроллер ЭСУД.
Закончен ли ремонт?
-
Перейдите к Шагу 10
-
10
  1. Используя сканирующий прибор, очистить диагностические коды неисправностей.
  2. Запустить двигатель и дать ему поработать на холостом ходу при нормальной рабочей температуре.
  3. Совершить поездку для установки кодов неисправности, как это указано во вспомогательном тексте.
Сканирующий прибор определяет эту диагностику как прошедшую и успешную?
-
Перейдите к Шагу 10
Перейти к операции 2
11
Проверьте, не установлены ли дополнительные диагностические коды неисправности.
Отображены ли диагностические коды неисправности, которые не были продиагностированы?
-
Перейти к соответствующей таблице диагностических кодов неисправности
Система в норме



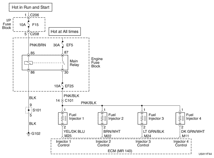
U5A11F45
Показать иллюстрациюПеревод текста в иллюстрациях


ДИАГНОСТИЧЕСКИЙ КОД НЕИСПРАВНОСТИ p0300 ПРОПУСК ЗАЖИГАНИЯ В НЕСКОЛЬКИХ ЦИЛИНДРАХ (2.0L DOHC)

Описание системы

Контроллер электронной системы управления двигателем (ЭСУД) контролирует положения коленчатого вала и распредвала для определения пропусков зажигания. Контроллер ЭСУД отслеживает быстрое падение скорости вращения коленчатого вала. Эта проверка производится блоками по 100 оборотов двигателя. Для сохранения кода неисправности, а также, чтобы зажглась контрольная лампа индикации неисправности, может потребоваться несколько тестов. В условиях незначительного пропуска зажигания, может также потребоваться более одного хода для установки кода неисправности. При значительном пропуске зажигания, контрольная лампа индикации неисправности будет мигать, указывая на то, что возможно повреждение катализатора.

Условия установки кода неисправности.

Действия, выполняемые при установке кода неисправности

или

Условия очистки кода неисправности/индикации неисправности

Указания по диагностике

Неустойчивая неисправность может быть связана с дефектом колеса импульсного датчика. Снять датчик положения коленчатого вала и проверить колесо импульсного датчика через монтажное отверстие датчика. Проверить пористость и состояние колеса. Если диагностический код неисправности неустойчивый, см. "Диагностика признаков" в этом разделе.

dtc p0300 - Пропуск зажигания в нескольких цилиндрах (2.0L DOHC)

ШагОперацияЗначенияДаНет
1
Провести проверку бортовой системы диагностики (eobd).
Проверка проведена?
-
Перейти к операции 2
Перейти к "Проверка бортовой системы диагностики"
2
  1. Подключить сканирующий прибор к колодке диагностики.
  2. Включить зажигание, двигатель не запускать.
  3. Запросить диагностические коды неисправности.
Устанавливаются ли диагностические коды неисправности Р0201, Р0202, Р0203, Р0204?
-
Перейти к Соответствующая таблица диагностических кодов неисправности
Перейдите к Шагу 3
3
  1. Провести визуальную/физическую проверку.
  2. Выполнить необходимый ремонт.
Закончен ли ремонт?
-
Перейти к операции 27
Перейти к операции 4
4
Запустить двигатель и дать ему поработать на холостом ходу.
Увеличивается счет пропусков зажигания?
-
Перейти к операции 5
Перейти к операции 6
5
Все счетчики одинаковый (в пределах процентного отношения друг к другу?)
-
Перейдите к Шагу 7
Перейдите к Шагу 11
6
  1. Включить зажигание, двигатель не запускать.
  2. Просмотреть данные записи состояний и записать параметры.
  3. Совершить поездку в условиях записанных состояний и условиях установки кода неисправности.
Увеличивается счет пропусков зажигания?
-
Перейти к операции 5
Перейти к "Диагностическая информация"
7
  1. Остановить двигатель.
  2. Установить манометр на топливную рампу.
  3. Обратить внимание на давление при работающем двигателе.
Давление топлива в пределах установленного значения?
284-325 кПа (41-47 psi)
Перейдите к Шагу 8
Перейти к разделу "Диагностика топливной системы"
8
Проверить топливо на загрязнения.
Топливо в норме?
-
Перейдите к Шагу 9
Перейдите к Шагу 10
9
Проверить двигатель на обычные проблемы и отремонтировать, если необходимо.
Закончен ли ремонт?
-
Перейти к операции 27
-
10
Заменить загрязненное топливо.
Закончен ли ремонт?
-
Перейти к операции 27
-
11
  1. Остановить двигатель.
  2. Отсоединить разъем жгутов топливной форсунки.
  3. Установить прибор для проверки искры на провод зажигания цилиндра №1.
  4. Провернуть коленчатый вал двигателя и проверить на искру.
  5. Повторить эту процедуру на цилиндрах №2, №3 и №4.
Искра есть на всех четырех проводах зажигания?
-
Перейдите к Шагу 12
Перейдите к Шагу 20
12
Заменить неисправные свечи зажигания, если необходимо.
Закончен ли ремонт?
-
Перейти к операции 27
Перейдите к Шагу 13
13
  1. Остановить двигатель.
  2. Отсоединить разъемы жгутов топливной форсунки от форсунок.
  3. Установить сигнальную лампу на разъем жгута форсунки цилиндра с пропуском зажигания.
  4. Провернуть коленчатый вал двигателя и проверить сигнальную лампу.
Контрольная лампа мигает?
-
Перейдите к Шагу 14
Перейдите к шагу 15
14
Провести проверку баланса форсунок.
Топливные форсунки в норме?
-
Перейдите к Шагу 9
Перейдите к шагу 16
15
  1. Отсоединить сигнальную лампу для проверки форсунок.
  2. Контрольной лампой, подключенной к массе, проверить клемму 1 цепи зажигания разъема жгута проводов топливных форсунок, в которых был пропуск зажигания.
  3. Провернуть коленчатый вал двигателя.
Контрольная лампа горит?
-
Перейдите к шагу 17
Перейдите к Шагу 19
16
Заменить неисправные топливные форсунки.
Закончен ли ремонт?
-
Перейти к операции 27
-
17
Проверить поврежденную управляющую цепь топливной форсунки на клеммах М25, М22, М24 и М11 на отсутствие разрыва или короткого замыкания.
Проблема найдена?
-
Перейдите к Шагу 18
Перейдите к Шагу 24
18
Устранить обрыв или короткое замыкание в цепи управления топливной форсункой.
Закончен ли ремонт?
-
Перейти к операции 27
-
19
Устранить обрыв цепи зажигания между разъемом жгута проводов топливной форсунки и разъемом топливной форсунки.
Закончен ли ремонт?
-
Перейти к операции 27
-
20
Измерить сопротивление провода зажигания, который не подавал искру при проверке.
Сопротивление провода зажигания меньше установленного значения?
30000 Ом
Перейдите к Шагу 21
Перейдите к Шагу 25
21
Проверить разъемы и соединения контроллера ЭСУД.
Соединения в норме?
-
Перейдите к Шагу 22
Перейдите к Шагу 23
22
Проверить неисправную цепь управления зажиганием на обрыв цепи, короткое замыкание и отремонтировать, если необходимо.
Закончен ли ремонт?
-
Перейти к операции 27
Перейдите к Шагу 26
23
Отремонтировать разъем или соединения.
Закончен ли ремонт?
-
Перейти к операции 27
-
24
  1. Выключите зажигание.
  2. Заменить контроллер ЭСУД.
Закончен ли ремонт?
-
Перейти к операции 27
-
25
Заменить провод зажигания.
Закончен ли ремонт?
-
Перейти к операции 27
-
26
Заменить неисправную катушку зажигания.
Закончен ли ремонт?
-
Перейти к операции 27
Перейдите к Шагу 24
27
  1. Используя сканирующий прибор, очистить диагностические коды неисправностей.
  2. Запустить двигатель и дать ему поработать на холостом ходу при нормальной рабочей температуре.
  3. Совершить поездку для установки кодов неисправности, как это указано во вспомогательном тексте.
Сканирующий прибор определяет эту диагностику как прошедшую и успешную?
-
Перейти к операции 28
Перейти к операции 2
28
Проверьте, не установлены ли дополнительные диагностические коды неисправности.
Отображены ли диагностические коды неисправности, которые не были продиагностированы?
-
Перейти к Соответствующая таблица диагностических кодов неисправности
Система в норме

U5A11F45
Показать иллюстрациюПеревод текста в иллюстрациях


ДИАГНОСТИЧЕСКИЙ КОД НЕИСПРАВНОСТИ p0301 ПРОПУСК ЗАЖИГАНИЯ В ЦИЛИНДРЕ 1 (2.0L DOHC)

Описание системы

Контроллер электронной системы управления двигателем (ЭСУД) контролирует положения коленчатого вала и распредвала для определения пропусков зажигания. Контроллер ЭСУД отслеживает быстрое падение скорости вращения коленчатого вала. Эта проверка производится блоками по 100 оборотов двигателя. Для сохранения кода неисправности, а также, чтобы зажглась контрольная лампа индикации неисправности, может потребоваться несколько тестов. В условиях незначительного пропуска зажигания, может также потребоваться более одного хода для установки кода неисправности. При значительном пропуске зажигания, контрольная лампа индикации неисправности будет мигать, указывая на то, что возможно повреждение катализатора.

Условия установки кода неисправности.

Действия, выполняемые при установке кода неисправности

или

Условия очистки кода неисправности/индикации неисправности

Указания по диагностике

Неустойчивая неисправность может быть связана с дефектом колеса импульсного датчика. Снять датчик положения коленчатого вала и проверить колесо импульсного датчика через монтажное отверстие датчика. Проверить пористость и состояние колеса. Если диагностический код неисправности неустойчивый, см. "Диагностика признаков" в этом разделе.

dtc p0301 - Пропуск зажигания в цилиндре 1 (2.0L DOHC)

ШагОперацияЗначенияДаНет
1
Провести проверку бортовой системы диагностики (eobd).
Проверка проведена?
-
Перейти к операции 2
Перейти к "Проверка бортовой системы диагностики"
2
  1. Подключить сканирующий прибор к колодке диагностики.
  2. Включить зажигание, двигатель не запускать.
  3. Запросить диагностические коды неисправности.
Устанавливаются ли диагностические коды неисправности Р0201 или Р300?
-
Перейти к Соответствующая таблица диагностических кодов неисправности
Перейдите к Шагу 3
3
  1. Провести визуальную/физическую проверку.
  2. Выполнить необходимый ремонт.
Закончен ли ремонт?
-
Перейти к операции 27
Перейти к операции 4
4
Запустить двигатель и дать ему поработать на холостом ходу.
Увеличивается счет пропусков зажигания?
-
Перейти к операции 5
Перейти к операции 6
5
Все счетчики одинаковый (в пределах процентного отношения друг к другу?)
-
Перейдите к Шагу 7
Перейдите к Шагу 11
6
  1. Включить зажигание, двигатель не запускать.
  2. Просмотреть данные записи состояний и записать параметры.
  3. Совершить поездку в условиях записанных состояний и условиях установки кода неисправности.
Увеличивается счет пропусков зажигания?
-
Перейти к операции 5
Перейти к "Диагностическая информация"
7
  1. Остановить двигатель.
  2. Установить манометр на топливную рампу.
  3. Обратить внимание на давление при работающем двигателе.
Давление топлива в пределах установленного значения?
284-325 кПа (41-47 psi)
Перейдите к Шагу 8
Перейти к разделу "Диагностическая информация топливной системы"
8
Проверить топливо на загрязнения.
Топливо в норме?
-
Перейдите к Шагу 9
Перейдите к Шагу 10
9
Проверить двигатель на обычные проблемы и отремонтировать, если необходимо.
Закончен ли ремонт?
-
Перейти к операции 27
-
10
Заменить загрязненное топливо.
Закончен ли ремонт?
-
Перейти к операции 27
-
11
  1. Остановить двигатель.
  2. Отсоединить разъем жгутов топливной форсунки.
  3. Установить прибор для проверки искры на провод зажигания цилиндра №1.
  4. Провернуть коленчатый вал двигателя и проверить на искру.
Искра есть на всех четырех проводах зажигания?
-
Перейдите к Шагу 12
Перейдите к Шагу 20
12
Заменить неисправную свечу зажигания.
Закончен ли ремонт?
-
Перейти к операции 27
Перейдите к Шагу 13
13
  1. Остановить двигатель.
  2. Отсоединить разъемы топливной форсунки цилиндра №1 от форсунки.
  3. Установить контрольную лампу на клемму 2 разъема жгута форсунки.
  4. Провернуть коленчатый вал двигателя и проверить сигнальную лампу.
Контрольная лампа мигает?
-
Перейдите к Шагу 14
Перейдите к шагу 15
14
Провести проверку баланса форсунок.
Топливные форсунки в норме?
-
Перейдите к Шагу 9
Перейдите к шагу 16
15
  1. Отсоединить сигнальную лампу для проверки форсунок.
  2. Проверить клемму 1 цепи зажигания на разъеме жгута форсунки с помощью контрольной лампы, подключенной к массе.
  3. Провернуть коленчатый вал двигателя.
Контрольная лампа горит?
-
Перейдите к шагу 17
Перейдите к Шагу 19
16
Заменить неисправную топливную форсунку.
Закончен ли ремонт?
-
Перейти к операции 27
-
17
Проверить неисправную цепь управления топливной форсункой на отсутствие разрыва или короткого замыкания.
Проблема найдена?
-
Перейдите к Шагу 18
Перейдите к Шагу 24
18
Устранить обрыв или короткое замыкание в цепи управления топливной форсункой.
Закончен ли ремонт?
-
Перейти к операции 27
-
19
Устранить обрыв цепи зажигания между разъемом жгута проводов топливной форсунки и разъемом топливной форсунки.
Закончен ли ремонт?
-
Перейти к операции 27
-
20
Измерить сопротивление провода свечи.
Сопротивление провода зажигания меньше установленного значения?
30000 Ом
Перейдите к Шагу 21
Перейдите к Шагу 25
21
Проверить разъемы и соединения контроллера ЭСУД.
Соединения в норме?
-
Перейдите к Шагу 22
Перейдите к Шагу 23
22
Проверить неисправную цепь управления зажиганием на обрыв цепи, короткое замыкание и отремонтировать, как необходимо.
Закончен ли ремонт?
-
Перейти к операции 27
Перейдите к Шагу 26
23
Отремонтировать разъем или соединения.
Закончен ли ремонт?
-
Перейти к операции 27
-
24
  1. Выключите зажигание.
  2. Заменить контроллер ЭСУД.
Закончен ли ремонт?
-
Перейти к операции 27
-
25
Заменить провод зажигания.
Закончен ли ремонт?
-
Перейти к операции 27
-
26
Заменить неисправную катушку зажигания.
Закончен ли ремонт?
-
Перейти к операции 27
Перейдите к Шагу 24
27
  1. Используя сканирующий прибор, очистить диагностические коды неисправностей.
  2. Запустить двигатель и дать ему поработать на холостом ходу при нормальной рабочей температуре.
  3. Совершить поездку для установки кодов неисправности, как это указано во вспомогательном тексте.
Сканирующий прибор определяет эту диагностику как прошедшую и успешную?
-
Перейти к операции 28
Перейти к операции 2
28
Проверьте, не установлены ли дополнительные диагностические коды неисправности.
Отображены ли диагностические коды неисправности, которые не были продиагностированы?
-
Перейти к Соответствующая таблица диагностических кодов неисправности
Система в норме

U5A11F45
Показать иллюстрациюПеревод текста в иллюстрациях


ДИАГНОСТИЧЕСКИЙ КОД НЕИСПРАВНОСТИ p0302 ПРОПУСК ЗАЖИГАНИЯ В ЦИЛИНДРЕ 2 (2.0L DOHC)

Описание системы

Контроллер электронной системы управления двигателем (ЭСУД) контролирует положения коленчатого вала и распредвала для определения пропусков зажигания. Контроллер ЭСУД отслеживает быстрое падение скорости вращения коленчатого вала. Эта проверка производится блоками по 100 оборотов двигателя. Для сохранения кода неисправности, а также, чтобы зажглась контрольная лампа индикации неисправности, может потребоваться несколько тестов. В условиях незначительного пропуска зажигания, может также потребоваться более одного хода для установки кода неисправности. При значительном пропуске зажигания, контрольная лампа индикации неисправности будет мигать, указывая на то, что возможно повреждение катализатора.

Условия установки кода неисправности.

Действия, выполняемые при установке кода неисправности

или

Условия очистки кода неисправности/индикации неисправности

Указания по диагностике

Неустойчивая неисправность может быть связана с дефектом колеса импульсного датчика. Снять датчик положения коленчатого вала и проверить колесо импульсного датчика через монтажное отверстие датчика. Проверить пористость и состояние колеса. Если диагностический код неисправности неустойчивый, см. "Диагностика признаков" в этом разделе.

dtc p0302 - Пропуск зажигания в цилиндре 2 (2.0L DOHC)

ШагОперацияЗначенияДаНет
1
Провести проверку бортовой системы диагностики (eobd).
Проверка проведена?
-
Перейти к операции 2
Перейти к "Проверка бортовой системы диагностики"
2
  1. Подключить сканирующий прибор к колодке диагностики.
  2. Включить зажигание, двигатель не запускать.
  3. Запросить диагностические коды неисправности.
Устанавливаются ли диагностические коды неисправности Р0202 или Р300?
-
Перейти к Соответствующая таблица диагностических кодов неисправности
Перейдите к Шагу 3
3
  1. Провести визуальную/физическую проверку.
  2. Выполнить необходимый ремонт.
Закончен ли ремонт?
-
Перейти к операции 27
Перейти к операции 4
4
Запустить двигатель и дать ему поработать на холостом ходу.
Увеличивается счет пропусков зажигания?
-
Перейти к операции 5
Перейти к операции 6
5
Все счетчики одинаковый (в пределах процентного отношения друг к другу?)
-
Перейдите к Шагу 7
Перейдите к Шагу 11
6
  1. Включить зажигание, двигатель не запускать.
  2. Просмотреть данные записи состояний и записать параметры.
  3. Совершить поездку в условиях записанных состояний и условиях установки кода неисправности.
Увеличивается счет пропусков зажигания?
-
Перейти к операции 5
Перейти к "Диагностическая информация"
7
  1. Остановить двигатель.
  2. Установить манометр на топливную рампу.
  3. Обратить внимание на давление при работающем двигателе.
Давление топлива в пределах установленного значения?
284-325 кПа (41-47 psi)
Перейдите к Шагу 8
Перейти к разделу "Диагностика топливной системы"
8
Проверить топливо на загрязнения.
Топливо в норме?
-
Перейдите к Шагу 9
Перейдите к Шагу 10
9
Проверить двигатель на обычные проблемы и отремонтировать, если необходимо.
Закончен ли ремонт?
-
Перейти к операции 27
-
10
Заменить загрязненное топливо.
Закончен ли ремонт?
-
Перейти к операции 27
-
11
  1. Остановить двигатель.
  2. Отсоединить разъем жгутов топливной форсунки.
  3. Установить прибор для проверки искры на провод зажигания цилиндра №2.
  4. Провернуть коленчатый вал двигателя и проверить на искру.
Искра есть на всех четырех проводах зажигания?
-
Перейдите к Шагу 12
Перейдите к Шагу 20
12
Заменить неисправную свечу зажигания.
Закончен ли ремонт?
-
Перейти к операции 27
Перейдите к Шагу 13
13
  1. Остановить двигатель.
  2. Отсоединить разъемы топливной форсунки цилиндра №#2 от форсунки.
  3. Установить контрольную лампу на клемму 2 разъема жгута форсунки.
  4. Провернуть коленчатый вал двигателя и проверить сигнальную лампу.
Контрольная лампа мигает?
-
Перейдите к Шагу 14
Перейдите к шагу 15
14
Провести проверку баланса форсунок.
Топливные форсунки в норме?
-
Перейдите к Шагу 9
Перейдите к шагу 16
15
  1. Отсоединить сигнальную лампу для проверки форсунок.
  2. Проверить клемму 1 цепи зажигания на разъеме жгута форсунки с помощью контрольной лампы, подключенной к массе.
  3. Провернуть коленчатый вал двигателя.
Контрольная лампа горит?
-
Перейдите к шагу 17
Перейдите к Шагу 19
16
Заменить неисправную топливную форсунку.
Закончен ли ремонт?
-
Перейти к операции 27
-
17
Проверить неисправную цепь управления топливной форсункой на отсутствие разрыва или короткого замыкания.
Проблема найдена?
-
Перейдите к Шагу 18
Перейдите к Шагу 24
18
Устранить обрыв или короткое замыкание в цепи управления топливной форсункой.
Закончен ли ремонт?
-
Перейти к операции 27
-
19
Устранить обрыв цепи зажигания между разъемом жгута проводов топливной форсунки и разъемом топливной форсунки.
Закончен ли ремонт?
-
Перейти к операции 27
-
20
Измерить сопротивление провода свечи.
Сопротивление провода зажигания меньше установленного значения?
30000 Ом
Перейдите к Шагу 21
Перейдите к Шагу 25
21
Проверить разъемы и соединения контроллера ЭСУД.
Соединения в норме?
-
Перейдите к Шагу 22
Перейдите к Шагу 23
22
Проверить неисправную цепь управления зажиганием на обрыв цепи, короткое замыкание и отремонтировать, как необходимо.
Закончен ли ремонт?
-
Перейти к операции 27
Перейдите к Шагу 26
23
Отремонтировать разъем или соединения.
Закончен ли ремонт?
-
Перейти к операции 27
-
24
  1. Выключите зажигание.
  2. Заменить контроллер ЭСУД.
Закончен ли ремонт?
-
Перейти к операции 27
-
25
Заменить провод зажигания.
Закончен ли ремонт?
-
Перейти к операции 27
-
26
Заменить неисправную катушку зажигания.
Закончен ли ремонт?
-
Перейти к операции 27
Перейдите к Шагу 24
27
  1. Используя сканирующий прибор, очистить диагностические коды неисправностей.
  2. Запустить двигатель и дать ему поработать на холостом ходу при нормальной рабочей температуре.
  3. Совершить поездку для установки кодов неисправности, как это указано во вспомогательном тексте.
Сканирующий прибор определяет эту диагностику как прошедшую и успешную?
-
Перейти к операции 28
Перейти к операции 2
28
Проверьте, не установлены ли дополнительные диагностические коды неисправности.
Отображены ли диагностические коды неисправности, которые не были продиагностированы?
-
Перейти к Соответствующая таблица диагностических кодов неисправности
Система в норме

U5A11F45
Показать иллюстрациюПеревод текста в иллюстрациях


ДИАГНОСТИЧЕСКИЙ КОД НЕИСПРАВНОСТИ p0303 ПРОПУСК ЗАЖИГАНИЯ В ЦИЛИНДРЕ 3 (2.0L DOHC)

Описание системы

Контроллер электронной системы управления двигателем (ЭСУД) контролирует положения коленчатого вала и распредвала для определения пропусков зажигания. Контроллер ЭСУД отслеживает быстрое падение скорости вращения коленчатого вала. Эта проверка производится блоками по 100 оборотов двигателя. Для сохранения кода неисправности, а также, чтобы зажглась контрольная лампа индикации неисправности, может потребоваться несколько тестов. В условиях незначительного пропуска зажигания, может также потребоваться более одного хода для установки кода неисправности. При значительном пропуске зажигания, контрольная лампа индикации неисправности будет мигать, указывая на то, что возможно повреждение катализатора.

Условия установки кода неисправности.

Действия, выполняемые при установке кода неисправности

или

Условия очистки кода неисправности/индикации неисправности

Указания по диагностике

Неустойчивая неисправность может быть связана с дефектом колеса импульсного датчика. Снять датчик положения коленчатого вала и проверить колесо импульсного датчика через монтажное отверстие датчика. Проверить пористость и состояние колеса. Если диагностический код неисправности неустойчивый, см. "Диагностика признаков" в этом разделе.

dtc p0303 - Пропуск зажигания в цилиндре 3 (2.0L DOHC)

ШагОперацияЗначенияДаНет
1
Провести проверку бортовой системы диагностики (eobd).
Проверка проведена?
-
Перейти к операции 2
Перейти к "Проверка бортовой системы диагностики"
2
  1. Подключить сканирующий прибор к колодке диагностики.
  2. Включить зажигание, двигатель не запускать.
  3. Запросить диагностические коды неисправности.
Устанавливаются ли диагностические коды неисправности Р0203 или Р300?
-
Перейти к Соответствующая таблица диагностических кодов неисправности
Перейдите к Шагу 3
3
  1. Провести визуальную/физическую проверку.
  2. Выполнить необходимый ремонт.
Закончен ли ремонт?
-
Перейти к операции 27
Перейти к операции 4
4
Запустить двигатель и дать ему поработать на холостом ходу.
Увеличивается счет пропусков зажигания?
-
Перейти к операции 5
Перейти к операции 6
5
Все счетчики одинаковый (в пределах процентного отношения друг к другу?)
-
Перейдите к Шагу 7
Перейдите к Шагу 11
6
  1. Включить зажигание, двигатель не запускать.
  2. Просмотреть данные записи состояний и записать параметры.
  3. Совершить поездку в условиях записанных состояний и условиях установки кода неисправности.
Увеличивается счет пропусков зажигания?
-
Перейти к операции 5
Перейти к "Диагностическая информация"
7
  1. Остановить двигатель.
  2. Установить манометр на топливную рампу.
  3. Обратить внимание на давление при работающем двигателе.
Давление топлива в пределах установленного значения?
284-325 кПа (41-47 psi)
Перейдите к Шагу 8
Перейти к разделу "Диагностика топливной системы"
8
Проверить топливо на загрязнения.
Топливо в норме?
-
Перейдите к Шагу 9
Перейдите к Шагу 10
9
Проверить двигатель на обычные проблемы и отремонтировать, если необходимо.
Закончен ли ремонт?
-
Перейти к операции 27
-
10
Заменить загрязненное топливо.
Закончен ли ремонт?
-
Перейти к операции 27
-
11
  1. Остановить двигатель.
  2. Отсоединить разъем жгутов топливной форсунки.
  3. Установить прибор для проверки искры на провод зажигания цилиндра №3.
  4. Провернуть коленчатый вал двигателя и проверить на искру.
Искра есть на всех четырех проводах зажигания?
-
Перейдите к Шагу 12
Перейдите к Шагу 20
12
Заменить неисправную свечу зажигания.
Закончен ли ремонт?
-
Перейти к операции 27
Перейдите к Шагу 13
13
  1. Остановить двигатель.
  2. Отсоединить разъемы топливной форсунки цилиндра №3 от форсунки.
  3. Установить контрольную лампу на клемму 2 разъема жгута форсунки.
  4. Провернуть коленчатый вал двигателя и проверить сигнальную лампу.
Контрольная лампа мигает?
-
Перейдите к Шагу 14
Перейдите к шагу 15
14
Провести проверку баланса форсунок.
Топливные форсунки в норме?
-
Перейдите к Шагу 9
Перейдите к шагу 16
15
  1. Отсоединить сигнальную лампу для проверки форсунок.
  2. Проверить клемму 1 цепи зажигания на разъеме жгута форсунки с помощью контрольной лампы, подключенной к массе.
  3. Провернуть коленчатый вал двигателя.
Контрольная лампа горит?
-
Перейдите к шагу 17
Перейдите к Шагу 19
16
Заменить неисправную топливную форсунку.
Закончен ли ремонт?
-
Перейти к операции 27
-
17
Проверить неисправную цепь управления топливной форсункой на отсутствие разрыва или короткого замыкания.
Проблема найдена?
-
Перейдите к Шагу 18
Перейдите к Шагу 24
18
Устранить обрыв или короткое замыкание в цепи управления топливной форсункой.
Закончен ли ремонт?
-
Перейти к операции 27
-
19
Устранить обрыв цепи зажигания между разъемом жгута проводов топливной форсунки и разъемом топливной форсунки.
Закончен ли ремонт?
-
Перейти к операции 27
-
20
Измерить сопротивление провода свечи.
Сопротивление провода зажигания меньше установленного значения?
30000 Ом
Перейдите к Шагу 21
Перейдите к Шагу 25
21
Проверить разъемы и соединения контроллера ЭСУД.
Соединения в норме?
-
Перейдите к Шагу 22
Перейдите к Шагу 23
22
Проверить неисправную цепь управления зажиганием на обрыв цепи, короткое замыкание и отремонтировать, как необходимо.
Закончен ли ремонт?
-
Перейти к операции 27
Перейдите к Шагу 26
23
Отремонтировать разъем или соединения.
Закончен ли ремонт?
-
Перейти к операции 27
-
24
  1. Выключите зажигание.
  2. Заменить контроллер ЭСУД.
Закончен ли ремонт?
-
Перейти к операции 27
-
25
Заменить провод зажигания.
Закончен ли ремонт?
-
Перейти к операции 27
-
26
Заменить неисправную катушку зажигания.
Закончен ли ремонт?
-
Перейти к операции 27
Перейдите к Шагу 24
27
  1. Используя сканирующий прибор, очистить диагностические коды неисправностей.
  2. Запустить двигатель и дать ему поработать на холостом ходу при нормальной рабочей температуре.
  3. Совершить поездку для установки кодов неисправности, как это указано во вспомогательном тексте.
Сканирующий прибор определяет эту диагностику как прошедшую и успешную?
-
Перейти к операции 28
Перейти к операции 2
28
Проверьте, не установлены ли дополнительные диагностические коды неисправности.
Отображены ли диагностические коды неисправности, которые не были продиагностированы?
-
Перейти к Соответствующая таблица диагностических кодов неисправности
Система в норме

U5A11F45
Показать иллюстрациюПеревод текста в иллюстрациях


ДИАГНОСТИЧЕСКИЙ КОД НЕИСПРАВНОСТИ p0304 ПРОПУСК ЗАЖИГАНИЯ В ЦИЛИНДРЕ 4 (2.0L DOHC)

Описание системы

Контроллер электронной системы управления двигателем (ЭСУД) контролирует положения коленчатого вала и распредвала для определения пропусков зажигания. Контроллер ЭСУД отслеживает быстрое падение скорости вращения коленчатого вала. Эта проверка производится блоками по 100 оборотов двигателя. Для сохранения кода неисправности, а также, чтобы зажглась контрольная лампа индикации неисправности, может потребоваться несколько тестов. В условиях незначительного пропуска зажигания, может также потребоваться более одного хода для установки кода неисправности. При значительном пропуске зажигания, контрольная лампа индикации неисправности будет мигать, указывая на то, что возможно повреждение катализатора.

Условия установки кода неисправности.

Действия, выполняемые при установке кода неисправности

или

Условия очистки кода неисправности/индикации неисправности

Указания по диагностике

Неустойчивая неисправность может быть связана с дефектом колеса импульсного датчика. Снять датчик положения коленчатого вала и проверить колесо импульсного датчика через монтажное отверстие датчика. Проверить пористость и состояние колеса. Если диагностический код неисправности неустойчивый, см. "Диагностика признаков" в этом разделе.

dtc p0304 - Пропуск зажигания в цилиндре 4 (2.0L DOHC)

ШагОперацияЗначенияДаНет
1
Провести проверку бортовой системы диагностики (eobd).
Проверка проведена?
-
Перейти к операции 2
Перейти к "Проверка бортовой системы диагностики"
2
  1. Подключить сканирующий прибор к колодке диагностики.
  2. Включить зажигание, двигатель не запускать.
  3. Запросить диагностические коды неисправности.
Устанавливаются ли диагностические коды неисправности Р0201 или Р300?
-
Перейти к Соответствующая таблица диагностических кодов неисправности
Перейдите к Шагу 3
3
  1. Провести визуальную/физическую проверку.
  2. Выполнить необходимый ремонт.
Закончен ли ремонт?
-
Перейти к операции 27
Перейти к операции 4
4
Запустить двигатель и дать ему поработать на холостом ходу.
Увеличивается счет пропусков зажигания?
-
Перейти к операции 5
Перейти к операции 6
5
Все счетчики одинаковый (в пределах процентного отношения друг к другу?)
-
Перейдите к Шагу 7
Перейдите к Шагу 11
6
  1. Включить зажигание, двигатель не запускать.
  2. Просмотреть данные записи состояний и записать параметры.
  3. Совершить поездку в условиях записанных состояний и условиях установки кода неисправности.
Увеличивается счет пропусков зажигания?
-
Перейти к операции 5
Перейти к "Диагностическая информация"
7
  1. Остановить двигатель.
  2. Установить манометр на топливную рампу.
  3. Обратить внимание на давление при работающем двигателе.
Давление топлива в пределах установленного значения?
284-325 кПа (41-47 psi)
Перейдите к Шагу 8
Перейти к разделу "Диагностика топливной системы"
8
Проверить топливо на загрязнения.
Топливо в норме?
-
Перейдите к Шагу 9
Перейдите к Шагу 10
9
Проверить двигатель на обычные проблемы и отремонтировать, если необходимо.
Закончен ли ремонт?
-
Перейти к операции 27
-
10
Заменить загрязненное топливо.
Закончен ли ремонт?
-
Перейти к операции 27
-
11
  1. Остановить двигатель.
  2. Отсоединить разъем жгутов топливной форсунки.
  3. Установить прибор для проверки искры на провод зажигания цилиндра №4.
  4. Провернуть коленчатый вал двигателя и проверить на искру.
Искра есть на всех четырех проводах зажигания?
-
Перейдите к Шагу 12
Перейдите к Шагу 20
12
Заменить неисправную свечу зажигания.
Закончен ли ремонт?
-
Перейти к операции 27
Перейдите к Шагу 13
13
  1. Остановить двигатель.
  2. Отсоединить разъемы топливной форсунки цилиндра №4 от форсунки.
  3. Установить контрольную лампу на клемму 2 разъема жгута форсунки.
  4. Провернуть коленчатый вал двигателя и проверить сигнальную лампу.
Контрольная лампа мигает?
-
Перейдите к Шагу 14
Перейдите к шагу 15
14
Провести проверку баланса форсунок.
Топливные форсунки в норме?
-
Перейдите к Шагу 9
Перейдите к шагу 16
15
  1. Отсоединить сигнальную лампу для проверки форсунок.
  2. Проверить клемму 1 цепи зажигания на разъеме жгута форсунки с помощью контрольной лампы, подключенной к массе.
  3. Провернуть коленчатый вал двигателя.
Контрольная лампа горит?
-
Перейдите к шагу 17
Перейдите к Шагу 19
16
Заменить неисправную топливную форсунку.
Закончен ли ремонт?
-
Перейти к операции 27
-
17
Проверить неисправную цепь управления топливной форсункой на отсутствие разрыва или короткого замыкания.
Проблема найдена?
-
Перейдите к Шагу 18
Перейдите к Шагу 24
18
Устранить обрыв или короткое замыкание в цепи управления топливной форсункой.
Закончен ли ремонт?
-
Перейти к операции 27
-
19
Устранить обрыв цепи зажигания между разъемом жгута проводов топливной форсунки и разъемом топливной форсунки.
Закончен ли ремонт?
-
Перейти к операции 27
-
20
Измерить сопротивление провода свечи.
Сопротивление провода зажигания меньше установленного значения?
30000 Ом
Перейдите к Шагу 21
Перейдите к Шагу 25
21
Проверить разъемы и соединения контроллера ЭСУД.
Соединения в норме?
-
Перейдите к Шагу 22
Перейдите к Шагу 23
22
Проверить неисправную цепь управления зажиганием на обрыв цепи, короткое замыкание и отремонтировать, как необходимо.
Закончен ли ремонт?
-
Перейти к операции 27
Перейдите к Шагу 26
23
Отремонтировать разъем или соединения.
Закончен ли ремонт?
-
Перейти к операции 27
-
24
  1. Выключите зажигание.
  2. Заменить контроллер ЭСУД.
Закончен ли ремонт?
-
Перейти к операции 27
-
25
Заменить провод зажигания.
Закончен ли ремонт?
-
Перейти к операции 27
-
26
Заменить неисправную катушку зажигания.
Закончен ли ремонт?
-
Перейти к операции 27
Перейдите к Шагу 24
27
  1. Используя сканирующий прибор, очистить диагностические коды неисправностей.
  2. Запустить двигатель и дать ему поработать на холостом ходу при нормальной рабочей температуре.
  3. Совершить поездку для установки кодов неисправности, как это указано во вспомогательном тексте.
Сканирующий прибор определяет эту диагностику как прошедшую и успешную?
-
Перейти к операции 28
Перейти к операции 2
28
Проверьте, не установлены ли дополнительные диагностические коды неисправности.
Отображены ли диагностические коды неисправности, которые не были продиагностированы?
-
Перейти к Соответствующая таблица диагностических кодов неисправности
Система в норме

U5A11F46
Показать иллюстрациюПеревод текста в иллюстрациях


ДИАГНОСТИЧЕСКИЙ КОД НЕИСПРАВНОСТИ p0317 ДАТЧИК НЕРОВНОЙ ДОРОГИ, НЕ ОБНАРУЖЕН ИСТОЧНИК (2.0L DOHC)

Описание системы

Контроллер ЭСУД определяет пропуск зажигания двигателя, отслеживая изменения в скорости вращения коленвала. Изменения вращения коленвала могут происходить также, при движении автомобиля по неровной дороге. Контроллер ЭСУД получает сигнал неровной дороги от датчика неровной дороги или электронного блока управления тормозами (если автомобиль оборудован АБС). АБС может определить на какой поверхности находится автомобиль по информации от датчика вращения каждого колеса о торможении/ускорении. Эта информация передается на контроллер ЭСУД контроллером тормозной системы по последовательному каналу передачи данных посредством широтно-импульсной модуляции (ШИМ). Датчик G - датчик малой вертикальной перегрузки. Считывая вертикальное ускорение, вызываемое колдобинами или выбоинами на дороге, ЭСУД определяет, вследствие чего происходит изменение скорости вращения коленвала: из-за пропусков зажигания двигателя или же вследствие проблем с карданной передачей. Если контроллер ЭСУД не получает какого-либо из этих сигналов, то диагностический код неисправности будет сохранен в памяти.

Условия установки кода неисправности.

Действия, выполняемые при установке кода неисправности

Условия очистки кода неисправности/индикации неисправности

Указания по диагностике

Разрыв сигнальной цепи датчика вертикального ускорения или разрыв последовательного ШИМ-канала данных между контроллером ЭСУД и контроллером тормозной системы могут вызвать установку данного кода неисправности.

dtc p0317 - Датчик неровной дороги, не обнаружен источник (2.0L DOHC)

ШагОперацияЗначенияДаНет
1
Провести проверку бортовой системы диагностики (eobd).
Проверка проведена?
-
Перейти к операции 2
Перейти к "Проверка бортовой системы диагностики"
2
  1. Подключить сканирующий прибор к колодке диагностики.
  2. Включить зажигание, двигатель не запускать.
  3. Запросить диагностические коды неисправности.
Устанавливаются ли диагностические коды неисправности Р1380, Р1381, Р1391, Р1392 или Р1393?
-
Перейти к Соответствующая таблица диагностических кодов неисправности
Перейдите к Шагу 3
3
Оборудован ли автомобиль антиблокировочной тормозной системой (АБС)?
-
Перейдите к Шагу 8
Перейти к операции 4
4
  1. Отсоединить разъем датчика неровной дороги.
  2. Отсоединить разъём контроллера электронной системы управления двигателем (ЭСУД).
  3. Замерить сопротивление между клеммой 2 датчика g и клеммой К21 контроллера ЭСУД.
Соответствует ли сопротивление указанному значению?
0 Ом
Перейти к операции 6
Перейти к операции 5
5
Исправить обрыв цепи.
Закончен ли ремонт?
-
Перейдите к Шагу 11
Перейти к операции 6
6
  1. Заново соединить разъемы контроллер ЭСУД и датчик вертикального ускорения.
  2. Включите зажигание.
  3. Проверить напряжение на клемме 2 датчика g.
Измеренное напряжение находится в указанном диапазоне?
2,35-2,65 В
Перейдите к Шагу 10
Перейдите к Шагу 7
7
  1. Выключите зажигание.
  2. Заменить датчик неровной дороги
Закончен ли ремонт?
-
Перейдите к Шагу 11
-
8
  1. Выключите зажигание.
  2. Отключить разъем электронного контроллера тормозной системы (ebcm) и контроллера ЭСУД.
  3. Измерить сопротивление между выводом c9 контроллера тормозной системы (ebcm) и выводом К7 контроллера ЭСУД.
Соответствует ли сопротивление указанному значению?
0 Ом
Перейдите к Шагу 10
Перейдите к Шагу 9
9
Исправить обрыв цепи.
Закончен ли ремонт?
-
Перейдите к Шагу 11
Перейдите к Шагу 10
10
  1. Выключите зажигание.
  2. Заменить контроллер ЭСУД.
Закончен ли ремонт?
-
Перейдите к Шагу 11
-
11
  1. Используя сканирующий прибор, очистить диагностические коды неисправностей.
  2. Запустить двигатель и дать ему поработать на холостом ходу при нормальной рабочей температуре.
  3. Совершить поездку для установки кодов неисправности, как это указано во вспомогательном тексте.
Сканирующий прибор определяет эту диагностику как прошедшую и успешную?
-
Перейдите к Шагу 12
Перейти к операции 2
12
Проверьте, не установлены ли дополнительные диагностические коды неисправности.
Отображены ли диагностические коды неисправности, которые не были продиагностированы?
-
Перейти к Соответствующая таблица диагностических кодов неисправности
Система в норме

ДИАГНОСТИЧЕСКИЙ КОД НЕИСПРАВНОСТИ p0325 ДАТЧИК ДЕТОНАЦИИ, ВНУТРЕННЯЯ НЕИСПРАВНОСТЬ (2.0L DOHC)

Описание системы

Система датчика детонации используется для определения детонации двигателя, что позволяет контроллеру ЭСУД замедлять угол опережения для управления зажиганием на основании сигнала, получаемого от датчика детонации. Датчик детонации выдает сигнал переменного тока, который в отсутствие детонации составляет примерно 0,007 В. Амплитуда и частота сигналов датчика детонации зависят от воспринимаемой детонации. ЭСУД содержит несъемный блок фильтра детонации, т.н. цифровой фильтр повышения отношения "сигнал - шум" (DSNEF). Этот фильтрующий блок в контроллере ЭСУД определят наличие или отсутствие детонации, сравнивая уровень сигнала в цепи датчика детонации с уровнем сигнала в шумовом канале. Шумовой канал позволяет контроллеру ЭСУД отклонять ложные сигналы детонации, зная нормальный уровень механического шума двигателя. Нормальный шум двигателя зависит от частоты вращения и нагрузки на двигатель. Если ЭСУД определяет, что в шумовом канале чрезвычайно низкий уровень сигнала, то устанавливается диагностический код неисправности Р0325.

Условия установки кода неисправности.

Действия, выполняемые при установке кода неисправности

Условия очистки кода неисправности/индикации неисправности

Указания по диагностике

Перед использованием диагностической таблицы проверить и устранить любой необычный шум двигателя.
Любая цепь, подозреваемая в создании переменной неисправности, должна быть тщательно проверена на отсутствие следующего:

dtc p0325 - Датчик детонации, внутренняя неисправность (2.0L DOHC)

ШагОперацияЗначенияДаНет
1
Провести проверку бортовой системы диагностики (eobd).
Проверка проведена?
-
Перейти к операции 2
Перейти к "Проверка бортовой системы диагностики"
2
  1. Подключить сканирующий прибор к колодке диагностики.
  2. Очистить диагностические коды неисправностей.
  3. Запустить двигатель.
  4. Совершить поездку в условиях установки кода неисправности как указано.
Установился ли диагностический код неисправности снова?
-
Перейдите к Шагу 3
Перейти к операции 6
3
Прислушаться к двигателю при повышении и уменьшении оборотов.
Детонация или слышимый шум имеются?
-
Перейти к операции 4
Перейти к операции 5
4
Устранить механические проблемы с двигателем, а также слабую затяжку кронштейнов или компонентов, как требуется.
Закончен ли ремонт?
-
Перейти к операции 6
-
5
  1. Выключите зажигание.
  2. Заменить контроллер ЭСУД.
Закончен ли ремонт?
-
Перейти к операции 6
-
6
  1. Используя сканирующий прибор, очистить диагностические коды неисправностей.
  2. Запустить двигатель и дать ему поработать на холостом ходу при нормальной рабочей температуре.
  3. Совершить поездку для установки кодов неисправности, как это указано во вспомогательном тексте.
Сканирующий прибор определяет эту диагностику как прошедшую и успешную?
-
Перейдите к Шагу 7
Перейти к операции 2
7
Проверьте, не установлены ли дополнительные диагностические коды неисправности.
Отображены ли диагностические коды неисправности, которые не были продиагностированы?
-
Перейти к Соответствующая таблица диагностических кодов неисправности
Система в норме

U4A11F41
Показать иллюстрациюПеревод текста в иллюстрациях


ДИАГНОСТИЧЕСКИЙ КОД НЕИСПРАВНОСТИ p0327 ДАТЧИК ДЕТОНАЦИИ, НЕИСПРАВНОСТЬ ЦЕПИ (2.0L DOHC)

Описание системы

Система датчика детонации используется для определения детонации двигателя, что позволяет контроллеру ЭСУД замедлять угол опережения для управления зажиганием на основании сигнала, получаемого от датчика детонации. Датчик детонации выдает сигнал переменного тока, который в отсутствие детонации составляет примерно 0,007 В. Амплитуда и частота сигналов датчика детонации зависят от воспринимаемой детонации. Контроллер ЭСУД отслеживает сигнал датчика детонации и может продиагностировать датчик и цепь.

Условия установки кода неисправности.

Действия, выполняемые при установке кода неисправности

Условия очистки кода неисправности/индикации неисправности

Указания по диагностике

Перед использованием диагностической таблицы проверить и устранить любой необычный шум двигателя.
Любая цепь, подозреваемая в создании переменной неисправности, должна быть тщательно проверена на отсутствие следующего:

dtc p0327 - Датчик детонации, неисправность цепи (2.0L DOHC)

ШагОперацияЗначенияДаНет
1
Провести проверку бортовой системы диагностики (eobd).
Проверка проведена?
-
Перейти к операции 2
Перейти к "Проверка бортовой системы диагностики"
2
  1. Подключить сканирующий прибор к колодке диагностики.
  2. Очистить диагностические коды неисправностей.
  3. Запустить двигатель.
  4. Совершить поездку в условиях установки кода неисправности как указано.
Установился ли диагностический код неисправности снова?
-
Перейдите к Шагу 3
Перейти к операции 6
3
Прислушаться к двигателю при повышении и уменьшении оборотов.
Детонация или слышимый шум имеются?
-
Перейти к операции 4
Перейти к операции 5
4
Устранить механические проблемы с двигателем, а также слабую затяжку кронштейнов или компонентов, как требуется.
Закончен ли ремонт?
-
Перейдите к Шагу 11
-
5
  1. Выключите зажигание.
  2. Отсоединить разъём контроллера электронной системы управления двигателем (ЭСУД).
  3. Измерить сопротивление датчика детонации и сигнальной цепи датчика, клемма М18, при помощи омметра, подключенного к "массе".
Сопротивление в пределах установленного значения?
90-110 кОм
Перейти к операции 6
Перейдите к Шагу 8
6
Проверить сигнальную цепь датчика детонации на отсутствие слабого контакта с разъемом контроллера ЭСУД и устранить неисправность при необходимости.
Закончен ли ремонт?
-
Перейдите к Шагу 11
Перейдите к Шагу 7
7
  1. Выключите зажигание.
  2. Заменить контроллер ЭСУД.
Закончен ли ремонт?
-
Перейдите к Шагу 11
-
8
Проверить разъем датчика детонации на отсутствие слабого контакта и устранить неисправность при необходимости.
Закончен ли ремонт?
-
Перейдите к Шагу 11
Перейдите к Шагу 9
9
Проверить сигнальную цепь датчика детонации на отсутствие разрыва или короткого замыкания с "массой". Устранить неисправность при необходимости.
Закончен ли ремонт?
-
Перейдите к Шагу 11
-
10
  1. Выключите зажигание.
  2. Заменить датчик детонации.
Закончен ли ремонт?
-
Перейдите к Шагу 11
-
11
  1. Используя сканирующий прибор, очистить диагностические коды неисправностей.
  2. Запустить двигатель и дать ему поработать на холостом ходу при нормальной рабочей температуре.
  3. Совершить поездку для установки кодов неисправности, как это указано во вспомогательном тексте.
Сканирующий прибор определяет эту диагностику как прошедшую и успешную?
-
Перейдите к Шагу 12
Перейти к операции 2
12
Проверьте, не установлены ли дополнительные диагностические коды неисправности.
Отображены ли диагностические коды неисправности, которые не были продиагностированы?
-
Перейти к Соответствующая таблица диагностических кодов неисправности
Система в норме

UAA1F590
Показать иллюстрациюПеревод текста в иллюстрациях


ДИАГНОСТИЧЕСКИЙ КОД НЕИСПРАВНОСТИ p0336 ДАТЧИК ПОЛОЖЕНИЯ КОЛЕНЧАТОГО ВАЛА, ЛИШНИЙ/ПРОПУЩЕННЫЙ ИМПУЛЬС 58x (2.0L DOHC)

Описание схемы

Контрольный сигнал 58Х генерируется датчиком положения коленчатого вала. За время одного оборота коленчатого вала производятся 58 импульсов. ЭСУД использует опорный сигнал 58Х для вычисления числа оборотов двигателя и положения коленчатого вала. Контроллер ЭСУД постоянно отслеживает количество импульсов в цепи опорного сигнала 58Х и сравнивает их с получаемыми сигнальными импульсами положения коленчатого вала. Если контроллер ЭСУД получает неверное количество импульсов по цепи опорного сигнала 58Х, устанавливается диагностический код неисправности Р0336.

Условия установки кода неисправности.

Действия, выполняемые при установке кода неисправности

Условия очистки кода неисправности/индикации неисправности

Указания по диагностике

Неустойчивая неисправность может быть вызвана слабым контактом, перетертой изоляции или обрывом проводки под изоляцией. Проверить:

dtc p0336 - Датчик положения коленчатого вала, лишний/пропущенный импульс 58x (2.0L DOHC)

ШагОперацияЗначенияДаНет
1
Провести проверку бортовой системы диагностики (eobd).
Проверка проведена?
-
Перейти к операции 2
Перейти к "Проверка бортовой системы диагностики"
2
Попытайтесь запустить двигатель.
Двигатель запускается?
-
Перейдите к Шагу 3
См. "Коленчатый вал проворачивается, но двигатель не запускается"
3
  1. Выключите зажигание.
  2. Подключить сканирующий прибор к колодке диагностики.
  3. Включить зажигание, двигатель не запускать.
  4. Просмотреть и записать информацию протокола неисправностей.
  5. Очистить диагностические коды неисправностей.
  6. Запустить двигатель и дать ему поработать на холостом ходу 1 минуту.
Установлен ли код Р0336?
-
Перейти к операции 4
Перейти к "Диагностическая информация"
4
  1. Выключите зажигание.
  2. Отсоединить разъем контроллера ЭСУД от датчика положение коленчатого вала.
  3. Проверить цепь опорного сигнала 58Х между разъемом датчика положения коленвала и разъемом жгута контроллера ЭСУД на отсутствие разрыва или короткого замыкания с "массой".
Проблема найдена?
-
Перейти к операции 5
Перейти к операции 6
5
Проверить обрыв цепи или замыкание на массу контрольной цепи 58Х между разъемом датчика положения коленчатого вала и разъемом жгута проводов контроллера ЭСУД.
Закончен ли ремонт?
-
Перейдите к Шагу 11
-
6
Заново подключить контроллер ЭСУД и датчик положения коленчатого вала. Подключить вольтметр для измерения напряжения на клемме М21 разъема контроллера ЭСУД.
Посмотреть уровень сигнала при проворачивании коленчатого вала.
Уровень сигнала близок к установленному значению?
1,6 В
Перейдите к Шагу 9
Перейдите к Шагу 7
7
Проверить соединения на датчике положения коленвала и восстановить или заменить клеммы.
Закончен ли ремонт?
-
Перейдите к Шагу 11
Перейдите к Шагу 8
8
  1. Выключите зажигание.
  2. Заменить датчик положения коленчатого вала.
Закончен ли ремонт?
-
Перейдите к Шагу 11
-
9
Проверить соединения на контроллере ЭСУД и восстановить или заменить клеммы.
Закончен ли ремонт?
-
Перейдите к Шагу 11
Перейдите к Шагу 10
10
  1. Выключите зажигание.
  2. Заменить контроллер ЭСУД.
Закончен ли ремонт?
-
Перейдите к Шагу 11
-
11
  1. Используя сканирующий прибор, очистить диагностические коды неисправностей.
  2. Запустить двигатель и дать ему поработать на холостом ходу при нормальной рабочей температуре.
  3. Совершить поездку для установки кодов неисправности, как это указано во вспомогательном тексте.
Сканирующий прибор определяет эту диагностику как прошедшую и успешную?
-
Перейдите к Шагу 12
Перейти к операции 2
12
Проверьте, не установлены ли дополнительные диагностические коды неисправности.
Отображены ли диагностические коды неисправности, которые не были продиагностированы?
-
Перейти к Соответствующая таблица диагностических кодов неисправности
Система в норме


ДИАГНОСТИЧЕСКИЙ КОД НЕИСПРАВНОСТИ p1336 НЕ ОПРЕДЕЛЕНА ПОГРЕШНОСТЬ ЗУБА ДАТЧИКА ПОЛОЖЕНИЯ КОЛЕНЧАТОГО ВАЛА (2.0L DOHC)

Описание системы

Чтобы определить пропуск зажигания на высоких оборотах двигателя, контроллер ЭСУД должен иметь информацию о любых отклонениях импульсов датчика коленчатого вала. Большинство отклонений связано с обработкой импульсного датчика коленчатого вала. Возможны и другие причины отклонений. Процедура определения отклонений системы положения коленчатого вала должна производиться каждый раз при изменении датчика коленчатого вала по отношению к коленчатому валу, если контроллер ЭСУД заменяется или перепрограммируется. Контроллер ЭСУД измеряет отклонения и измеряет коэффициенты компенсации, необходимые для того, чтобы контроллер ЭСУД смог точно определить пропуск зажигания двигателя при всех скоростях и нагрузках. Для подачи команды контроллеру ЭСУД на определение этих отклонений необходимо использовать сканирующий прибор. Если по каким-либо причинам контроллер ЭСУД не справляется с определением этих отклонений, или они находятся вне допустимого диапазона, контроллер ЭСУД устанавливает диагностический код неисправности Р1336. Контроллер ЭСУД, который не выполнил процедуру определения этих отклонений системы из-за замены или перепрограммирования, также установит диагностический код неисправности Р1336.

Условия установки кода неисправности.

Действия, выполняемые при установке кода неисправности

Условия очистки кода неисправности/индикации неисправности

Указания по диагностике

Внимание! Чтобы избежать травм при выполнении процедуры определения отклонения системы положения коленчатого вала, всегда следует затягивать стояночный тормоз и блокировать ведущие колеса. Сразу же отпустить дроссельную заслонку при уменьшении скорости вращения двигателя. После завершения процедуры определения управление двигателем передается пользователю, и двигатель начинает отвечать на изменение положения дроссельной заслонки.

DTC P1336 устанавливается только тогда, когда контроллер ЭСУД не определил изменение системы положения коленчатого вала. Контроллеру ЭСУД необходимо определить это изменение только один раз за весь срок службы, если положение датчика коленчатого вала по отношению к коленчатому валу не было изменено. Снятие детали считается изменением. Сильный нагрев двигателя критичен к правильному определению изменения. Если происходит правильное определение, другие процедуры определения не могут быть проведены в этом цикле зажигания.
Если двигатель отсекает подачу топлива до установленной скорости вращения для процедуры определения или при нормальной скорости отсечки топлива, то контроллер ЭСУД не находится в режиме процедуры определения.

Описание проверки

  1. Бортовая система диагностики (eobd) предлагает мастеру выполнить основные проверки и сохранить состояние и данные неисправностей в сканирующем приборе. Это создает электронную копию данных, записанную при возникновении сбоя. Информация сохраняется в сканирующем приборе для дальнейшей обработки.
  2. Температура двигателя критична для точного определения отклонения системы положения коленчатого вала. Если надлежащим образом не прогреть двигатель перед выполнением этой процедуры, измерение отклонения в системе определения положения коленчатого вала будет неточным. Контроллер ЭСУД определяет это отклонение при снижении оборотов двигателя, а затем возвращает управление двигателем оператору. Все дополнительное оборудование должно быть отключено при определении отклонения угла поворота коленчатого вала. Если кондиционер не был отключен перед выполнением процедуры проверки, контроллер ЭСУД отключит его самостоятельно.
  3. Если после установленного количества попыток контроллер ЭСУД не может определить отклонение системы положения коленчатого вала, это значит, что отклонение слишком велико, и попытки следует повторить только после устранения проблемы с отклонением.
  4. Невозможность выполнить процедуру определения свидетельствует о том, что отклонение выходит за пределы допустимого диапазона.
  5. После определения отклонения системы положения коленчатого вала подождать 10 секунд с выключенным зажиганием, чтобы не допустить очистку определенного значения.

dtc p1336 - Не определена погрешность зуба 58Х датчика положения коленвала (2.0L DOHC)

ШагОперацияЗначенияДаНет
1
Провести проверку бортовой системы диагностики (eobd).
Проверка проведена?
Перейти к операции 2
-
Перейти к "Проверка бортовой системы диагностики"
2
  1. Выключите зажигание.
  2. Подключить сканирующий прибор к колодке диагностики.
  3. Установить двигатель в положение ПАРКОВКА или НЕЙТРАЛЬ.
  4. Запустить двигатель и довести его до нормальной рабочей температуры.
  5. Выключить все вспомогательное оборудование.
  6. Включить процедуру самообучения коррекции сигнала датчика положения коленчатого вала сканирующим прибором.
  7. Поднять скорость вращения двигателя до установленного значения, затем отпустить дроссельную заслонку, как только двигатель производит отсечку.
Сканирующий прибор определяет изменение системы положения коленчатого вала как определенное?
65°c (149°f) 4000 мин-1
Перейти к операции 5
Перейдите к Шагу 3
3
Попытаться провести процедуру определения отклонения системы положения коленчатого вала указанное количество раз.
Сканирующий прибор определяет изменение системы положения коленчатого вала как определенное?
10
Перейти к операции 5
Перейти к операции 4
4
Проверить проблему датчика положения коленчатого вала относительно коленчатого вала.
Закончен ли ремонт?
-
Перейти к операции 5
-
5
  1. Выключить зажигание и дождаться вышеуказанного значения.
  2. Включить зажигание, двигатель не запускать.
  3. Используя сканирующий прибор, очистить диагностические коды неисправностей.
  4. Запустить двигатель и дать ему поработать на холостом ходу при нормальной рабочей температуре.
  5. Совершить поездку для установки кодов неисправности, как это указано во вспомогательном тексте.
Сканирующий прибор определяет эту диагностику как прошедшую и успешную?
10 сек.
Перейти к операции 6
Перейти к операции 2
6
Проверьте, не установлены ли дополнительные диагностические коды неисправности.
Отображены ли диагностические коды неисправности, которые не были продиагностированы?
-
Перейти к Соответствующая таблица диагностических кодов неисправности
Система в норме

UAA1F590
Показать иллюстрациюПеревод текста в иллюстрациях


ДИАГНОСТИЧЕСКИЙ КОД НЕИСПРАВНОСТИ p0337 ОТСУТСТВУЕТ СИГНАЛ 58x ПОЛОЖЕНИЯ КОЛЕНЧАТОГО ВАЛА (2.0L DOHC)

Описание схемы

Контрольный сигнал 58Х генерируется датчиком положения коленчатого вала. За время одного оборота коленчатого вала производятся 58 импульсов. ЭСУД использует опорный сигнал 58Х для вычисления числа оборотов двигателя и положения коленчатого вала. Контроллер ЭСУД постоянно отслеживает количество импульсов в цепи опорного сигнала 58Х и сравнивает их с получаемыми сигнальными импульсами положения коленчатого вала. Если контроллер ЭСУД не получает опорных импульсов 58Х по цепи опорного сигнала 58Х при запуске, то устанавливается код неисправности Р0337.

Условия установки кода неисправности.

Действия, выполняемые при установке кода неисправности

Условия очистки кода неисправности/индикации неисправности

Указания по диагностике

Неустойчивая неисправность может быть вызвана слабым контактом, перетертой изоляции или обрывом проводки под изоляцией. Проверить:

dtc p0337 - Отсутствует сигнал 58x положения коленчатого вала (2.0L DOHC)

ШагОперацияЗначенияДаНет
1
Провести проверку бортовой системы диагностики (eobd).
Проверка проведена?
-
Перейти к операции 2
Перейти к "Проверка бортовой системы диагностики"
2
  1. Выключите зажигание.
  2. Подключить сканирующий прибор к колодке диагностики.
  3. Запустить двигатель.
  4. Совершить поездку в условиях записанных состояний и условий установки кода неисправности.
Установлен ли диагностический код неисправности Р0337?
-
Перейдите к Шагу 3
Перейдите к Шагу 10
3
  1. Выключите зажигание.
  2. Отсоединить разъём датчика положения коленчатого вала (СКР).
  3. Включите зажигание.
  4. При помощи вольтметра, проверить напряжение между клеммой 1 разъема проводки датчика положения коленвала (со стороны блока ЭСУД) и "массой".
Уровень сигнала в пределах указанного значения?
1,4 В
Перейти к операции 4
Перейти к операции 5
4
С помощью вольтметра проверить напряжение на выводе 2 разъема датчика положения коленвала на жгуте проводов (со стороны контроллера ЭСУД) относительно массы. Уровень сигнала в пределах указанного значения?
1,4 В
Перейти к операции 6
Перейти к операции 5
5
  1. Выключите зажигание.
  2. Отсоединить разъём контроллера ЭСУД.
  3. Включите зажигание.
  4. С помощью вольтметра проверить выходное напряжение на выводах М21 и М05 контроллера ЭСУД.
Уровень сигнала в пределах указанного значения?
11-14 В
Перейдите к Шагу 8
Перейдите к Шагу 9
6
  1. Заново подключить датчик положения коленчатого вала.
  2. С помощью вольтметра проверить выводы М21 и М05 на обратной стороне разъема контроллера ЭСУД.
  3. Посмотреть уровень сигнала при проворачивании коленчатого вала.
Изменяется ли сигнал в пределах указанного значения?
1,3-1,6 В
Перейти к "Диагностическая информация"
Перейдите к Шагу 7
7
  1. Выключите зажигание.
  2. Заменить датчик положения коленчатого вала.
Закончен ли ремонт?
-
Перейдите к Шагу 10
-
8
Проверить цепи низкого и высокого сигналов датчика положения коленвала на отсутствие разрыва, короткого замыкания с "массой" и устранить неисправность при необходимости.
Закончен ли ремонт?
-
Перейдите к Шагу 10
-
9
  1. Выключите зажигание.
  2. Заменить контроллер ЭСУД.
Закончен ли ремонт?
-
Перейдите к Шагу 10
-
10
  1. Используя сканирующий прибор, очистить диагностические коды неисправностей.
  2. Запустить двигатель и дать ему поработать на холостом ходу при нормальной рабочей температуре.
  3. Совершить поездку для установки кодов неисправности, как это указано во вспомогательном тексте.
Сканирующий прибор определяет эту диагностику как прошедшую и успешную?
-
Перейдите к Шагу 11
Перейти к операции 2
11
Проверьте, не установлены ли дополнительные диагностические коды неисправности.
Отображены ли диагностические коды неисправности, которые не были продиагностированы?
-
Перейти к Соответствующая таблица диагностических кодов неисправности
Система в норме



U5A11F47
Показать иллюстрациюПеревод текста в иллюстрациях


ДИАГНОСТИЧЕСКИЙ КОД НЕИСПРАВНОСТИ p0341 ДАТЧИК ПОЛОЖЕНИЯ РАСПРЕДЕЛИТЕЛЬНОГО ВАЛА, ДОСТОВЕРНОСТЬ (2.0L DOHC)

Описание системы

Датчик положения распределительного вала используется для поддержания связи между положением коленчатого вала и распределительного вала, чтобы контроллер ЭСУД смог определить, какой цилиндр готов к подаче топлива форсункой. Датчик положения распределительного вала также используется для определения того, в каком цилиндре происходит пропуск зажигания при наличии пропуска зажигания. В случае, когда контроллер ЭСУД не может воспользоваться информацией от датчика положения распределительного вала, происходит установка диагностического кода неисправности, и контроллер ЭСУД производит подачу топлива в двигатель методом попеременного синхронного двойного впрыска.

Условия установки кода неисправности.

Действия, выполняемые при установке кода неисправности

Условия очистки кода неисправности/индикации неисправности

Указания по диагностике

Периодическая неисправность может быть вызвана слабым контактом, перетертой изоляцией или обрывом проводки в изоляции.
Любая цепь, подозреваемая в создании переменной неисправности, должна быть тщательно проверена на отсутствие следующего:
При возникновении нарушения связи контрольный счетчик работы датчика положения распределительного вала прекращает увеличивать показания.

dtc p0341 - Датчик положения распределительного вала, достоверность (2.0L DOHC)

ШагОперацияЗначенияДаНет
1
Провести проверку бортовой системы диагностики (eobd).
Проверка проведена?
-
Перейти к операции 2
Перейти к "Проверка бортовой системы диагностики"
2
  1. Выключите зажигание.
  2. Подключить сканирующий прибор к колодке диагностики.
  3. Запустить двигатель и задать автомобилю рабочий режим в условиях записанных состояний и условий установки диагностического кода неисправности.
Установлен ли диагностический код неисправности Р0341?
-
Перейдите к Шагу 3
Перейти к "Диагностическая информация"
3
  1. Выключите зажигание.
  2. Отсоедините разъем датчика положения распределительного вала (СМР).
  3. Включите зажигание.
  4. С помощью вольтметра проверить напряжение на выводе 1 разъема проводки датчика положения распределительного вала (со стороны блока ЭСУД) относительно массы.
Напряжение близко к установленному значению?
5 В
Перейти к операции 4
Перейти к операции 5
4
При помощи вольтметра проверить напряжение между клеммой 3 разъема проводки датчика положения распределительного вала и массой.
Напряжение больше указанного значения?
10 В
Перейти к операции 6
Перейдите к Шагу 10
5
Контрольной лампой, подключенной к напряжению питания (b+), проверить вывод 1 разъема жгута проводов датчика положения распределительного вала.
Контрольная лампа горит?
-
Перейдите к Шагу 8
Перейдите к Шагу 9
6
Контрольной лампой, подключенной к напряжению питания (b+), проверить вывод 2 разъема жгута проводов датчика положения распределительного вала.
Контрольная лампа горит?
-
Перейдите к Шагу 7
Перейдите к Шагу 11
7
Проверить надежность соединения разъема датчика положения распределительного вала, при необходимости отремонтировать.
Закончен ли ремонт?
-
Перейдите к шагу 15
Перейдите к Шагу 13
8
  1. Выключите зажигание.
  2. Отсоединить разъём контроллера ЭСУД.
  3. Устранить короткое замыкание в цепи сигнала датчика положения распределительного вала.
Закончен ли ремонт?
-
Перейдите к шагу 15
Перейдите к Шагу 14
9
Проверить на обрыв или замыкание на массу цепи сигнала датчика положения распределительного вала и при необходимости устранить его.
Закончен ли ремонт?
-
Перейдите к шагу 15
Перейдите к Шагу 12
10
Проверить надежность соединений и отсутствие обрыва в цепи питания (b+) датчика положения распределительного вала, при необходимости отремонтировать.
Закончен ли ремонт?
-
Перейдите к шагу 15
-
11
Проверить надежность соединения и отсутствие обрыва цепи массы датчика положения распределительного вала, при необходимости отремонтировать.
Закончен ли ремонт?
-
Перейдите к шагу 15
-
12
Проверить надежность соединения и отсутствие обрыва сигнальной цепи датчика положения распределительного вала, при необходимости отремонтировать.
Закончен ли ремонт?
-
Перейдите к шагу 15
Перейдите к Шагу 14
13
  1. Выключите зажигание.
  2. Заменить датчик положения распределительного вала.
Закончен ли ремонт?
-
Перейдите к шагу 15
-
14
  1. Выключите зажигание.
  2. Заменить контроллер ЭСУД.
Закончен ли ремонт?
-
Перейдите к шагу 15
-
15
  1. Используя сканирующий прибор, очистить диагностические коды неисправностей.
  2. Запустить двигатель и дать ему поработать на холостом ходу при нормальной рабочей температуре.
  3. Совершить поездку для установки кодов неисправности, как это указано во вспомогательном тексте.
Сканирующий прибор определяет эту диагностику как прошедшую и успешную?
-
Перейдите к шагу 16
Перейти к операции 2
16
Проверьте, не установлены ли дополнительные диагностические коды неисправности.
Отображены ли диагностические коды неисправности, которые не были продиагностированы?
-
Перейти к соответствующей таблице Диагностических кодов неисправности
Система в норме



U5A11F47
Показать иллюстрациюПеревод текста в иллюстрациях


ДИАГНОСТИЧЕСКИЙ КОД НЕИСПРАВНОСТИ p0342 ДАТЧИК ПОЛОЖЕНИЯ РАСПРЕДЕЛИТЕЛЬНОГО ВАЛА, ОТСУТСТВУЕТ СИГНАЛ (2.0L DOHC)

Описание системы

Датчик положения распределительного вала используется для поддержания связи между положением коленчатого вала и распределительного вала, чтобы контроллер ЭСУД смог определить, какой цилиндр готов к подаче топлива форсункой. Датчик положения распределительного вала также используется для определения того, в каком цилиндре происходит пропуск зажигания при наличии пропуска зажигания. В случае, когда контроллер ЭСУД не может воспользоваться информацией от датчика положения распределительного вала, происходит установка диагностического кода неисправности, и контроллер ЭСУД производит подачу топлива в двигатель методом попеременного синхронного двойного впрыска.

Условия установки кода неисправности.

Действия, выполняемые при установке кода неисправности

Условия очистки кода неисправности/индикации неисправности

Указания по диагностике

Периодическая неисправность может быть вызвана слабым контактом, перетертой изоляцией или обрывом проводки в изоляции.
Любая цепь, подозреваемая в создании переменной неисправности, должна быть тщательно проверена на отсутствие следующего:

dtc p0342 - Датчик положения распределительного вала, отсутствует сигнал (2.0L DOHC)

ШагОперацияЗначенияДаНет
1
Провести проверку бортовой системы диагностики (eobd).
Проверка проведена?
-
Перейти к операции 2
Перейти к "Проверка бортовой системы диагностики"
2
  1. Выключите зажигание.
  2. Подключить сканирующий прибор к колодке диагностики.
  3. Запустить двигатель на холостом ходу.
Показание счетчика работы датчика положения распределительного вала увеличивается?
-
Перейдите к Шагу 3
Перейти к операции 4
3
  1. Включите зажигание.
  2. Просмотреть данные записи состояний и записать параметры.
  3. Запустить двигатель и задать автомобилю рабочий режим в условиях записанных состояний и условий установки диагностического кода неисправности.
Показание счетчика работы датчика положения распределительного вала увеличивается?
-
Перейдите к Шагу 13
Перейти к операции 4
4
  1. Выключите зажигание.
  2. Отсоединить разъем датчика положения распределительного вала
  3. Включите зажигание.
  4. Контрольной лампой, подключенной к массе, проверить клемму 3 разъема жгута проводов датчика положения распределительного вала.
Контрольная лампа горит?
-
Перейти к операции 5
Перейти к операции 6
5
Контрольной лампой, подключенной к + аккумулятора, проверить клемму 2 разъема жгута проводов датчика положения распределительного вала.
Контрольная лампа горит?
-
Перейдите к Шагу 7
Перейдите к Шагу 8
6
Проверить надежность соединений и отсутствие обрыва в цепи питания (b+) датчика положения распределительного вала, при необходимости отремонтировать.
Закончен ли ремонт?
-
Перейдите к Шагу 13
Перейти к "Диагностическая информация"
7
С помощью вольтметра проверить напряжение на выводе 1 разъема проводки датчика положения распределительного вала относительно массы.
Напряжение близко к установленному значению?
5 В
Перейдите к Шагу 11
Перейдите к Шагу 9
8
Проверить на обрыв или замыкание на массу цепи сигнала датчика положения распределительного вала и при необходимости устранить его.
Закончен ли ремонт?
-
Перейдите к Шагу 13
-
9
  1. Выключите зажигание.
  2. Отсоединить разъём контроллера электронной системы управления двигателем (ЭСУД).
  3. Проверить цепь сигнала датчика положения распределительного вала на обрыв или замыкание на массу или на + аккумулятора и при необходимости произвести ремонт.
Закончен ли ремонт?
-
Перейдите к Шагу 13
Перейдите к Шагу 10
10
Проверить на обрыв или замыкание на массу цепи сигнала датчика положения распределительного вала и при необходимости устранить его.
Закончен ли ремонт?
-
Перейдите к Шагу 13
Перейдите к Шагу 12
11
  1. Выключите зажигание.
  2. Заменить датчик положения распределительного вала.
Закончен ли ремонт?
-
Перейдите к Шагу 13
-
12
  1. Выключите зажигание.
  2. Заменить контроллер ЭСУД.
Закончен ли ремонт?
-
Перейдите к Шагу 13
-
13
  1. Используя сканирующий прибор, очистить диагностические коды неисправностей.
  2. Запустить двигатель и дать ему поработать на холостом ходу при нормальной рабочей температуре.
  3. Совершить поездку для установки кодов неисправности, как это указано во вспомогательном тексте.
Сканирующий прибор определяет эту диагностику как прошедшую и успешную?
-
Перейдите к Шагу 14
Перейти к операции 2
14
Проверьте, не установлены ли дополнительные диагностические коды неисправности.
Отображены ли диагностические коды неисправности, которые не были продиагностированы?
-
Перейти к Соответствующая таблица диагностических кодов неисправности
Система в норме



U5A11F48
Показать иллюстрациюПеревод текста в иллюстрациях


ДИАГНОСТИЧЕСКИЙ КОД НЕИСПРАВНОСТИ p0351 НЕИСПРАВНОСТЬ ЦЕПИ "A" УПРАВЛЕНИЯ ЗАЖИГАНИЕМ (2.0L DOHC)

Описание схемы

Контроллер электронной системы управления двигателем (ЭСУД) служит источником заземления для электронной цепи А регулирования момента зажигания. Когда контроллер ЭСУД размыкает "массу" первичной катушки зажигания, магнитное поле катушки исчезает. Исчезновение магнитного поля вызывает появление напряжения во вторичной катушке, которая выдает разряд на свече зажигания.
Цепь между контроллером ЭСУД и катушкой электронной системы зажигания контролируется на наличие обрыва, замыкания на источник напряжения и замыкание на массу. При обнаружении контроллером ЭСУД неисправности в электронной цепи А регулирования момента зажигания он устанавливает диагностический код неисправности (DTC) 0351.

Условия установки кода неисправности.

Действия, выполняемые при установке кода неисправности

Условия очистки кода неисправности/индикации неисправности

Указания по диагностике

Неустойчивая неисправность может быть вызвана слабым контактом, перетертой изоляции или обрывом проводки под изоляцией. Проверить:
Просмотр протоколов неисправностей после последней неудавшейся диагностической проверки поможет определить, как часто происходило условие, вызывавшее установку диагностического кода неисправности. Это поможет продиагностировать условия.

dtc p0351 - Неисправность цепи a управления зажиганием (2.0L DOHC)

ШагОперацияЗначенияДаНет
1
Провести проверку бортовой системы диагностики (eobd).
Проверка проведена?
-
Перейти к операции 2
Перейти к "Проверка бортовой системы диагностики"
2
Проверить, нет ли нарушения в соединении или повреждения вывода 3 на катушке электронной системы зажигания, при необходимости произвести ремонт.
Закончен ли ремонт?
-
Перейдите к Шагу 8
Перейдите к Шагу 3
3
Проверить, нет ли нарушения в соединении или повреждения клеммы М51/М35 у контроллера ЭСУД, и при необходимости произвести ремонт.
Закончен ли ремонт?
-
Перейдите к Шагу 8
Перейти к операции 4
4
  1. Выключите зажигание.
  2. Отсоединить разъём контроллера ЭСУД.
  3. Проверить цепь управления зажиганием на замыкание на массу и устранить неисправность, если необходимо.
Закончен ли ремонт?
-
Перейдите к Шагу 8
Перейти к операции 5
5
Проверить контрольную лампу индикации неисправности на замыкание на источник напряжения и устранить неисправность, если необходимо.
Закончен ли ремонт?
-
Перейдите к Шагу 8
Перейти к операции 6
6
Проверить на обрыв цепь управления зажиганием и устранить неисправность при необходимости.
Закончен ли ремонт?
-
Перейдите к Шагу 8
Перейдите к Шагу 7
7
  1. Выключите зажигание.
  2. Заменить контроллер ЭСУД.
Закончен ли ремонт?
-
Перейдите к Шагу 8
-
8
  1. Используя сканирующий прибор, очистить диагностические коды неисправностей.
  2. Запустить двигатель и дать ему поработать на холостом ходу при нормальной рабочей температуре.
  3. Совершить поездку для установки кодов неисправности, как это указано во вспомогательном тексте.
Сканирующий прибор определяет эту диагностику как прошедшую и успешную?
-
Перейдите к Шагу 9
Перейти к операции 2
9
Проверьте, не установлены ли дополнительные диагностические коды неисправности.
Отображены ли диагностические коды неисправности, которые не были продиагностированы?
-
Перейти к Соответствующая таблица диагностических кодов неисправности
Система в норме

U5A11F48
Показать иллюстрациюПеревод текста в иллюстрациях


ДИАГНОСТИЧЕСКИЙ КОД НЕИСПРАВНОСТИ p0352 НЕИСПРАВНОСТЬ ЦЕПИ "B" УПРАВЛЕНИЯ ЗАЖИГАНИЕМ (2.0L DOHC)

Описание схемы

Контроллер электронной системы управления двигателем (ЭСУД) служит источником заземления для электронной цепи А регулирования момента зажигания. Когда контроллер ЭСУД размыкает "массу" первичной катушки зажигания, магнитное поле катушки исчезает. Исчезновение магнитного поля вызывает появление напряжения во вторичной катушке, которая выдает разряд на свече зажигания.
Цепь между контроллером ЭСУД и катушкой электронной системы зажигания контролируется на наличие обрыва, замыкания на источник напряжения и замыкание на массу. При обнаружении контроллером ЭСУД неисправности в электронной цепи А регулирования момента зажигания он устанавливает диагностический код неисправности (DTC) 0351.

Условия установки кода неисправности.

Действия, выполняемые при установке кода неисправности

Условия очистки кода неисправности/индикации неисправности

Указания по диагностике

Неустойчивая неисправность может быть вызвана слабым контактом, перетертой изоляции или обрывом проводки под изоляцией. Проверить:
Просмотр протоколов неисправностей после последней неудавшейся диагностической проверки поможет определить, как часто происходило условие, вызывавшее установку диагностического кода неисправности. Это поможет продиагностировать условия.

dtc p0352 - Неисправность цепи b управления зажиганием (2.0L DOHC)

ШагОперацияЗначенияДаНет
1
Провести проверку бортовой системы диагностики (eobd).
Проверка проведена?
-
Перейти к операции 2
Перейти к "Проверка бортовой системы диагностики"
2
Проверить, нет ли нарушения в соединении или повреждения вывода 1 на катушке электронной системы зажигания, при необходимости произвести ремонт.
Закончен ли ремонт?
-
Перейдите к Шагу 8
Перейдите к Шагу 3
3
Проверить, нет ли нарушения в соединении или повреждения клеммы М33/М1 у контроллера ЭСУД, и при необходимости произвести ремонт.
Закончен ли ремонт?
-
Перейдите к Шагу 8
Перейти к операции 4
4
  1. Выключите зажигание.
  2. Отсоединить разъём контроллера ЭСУД.
  3. Проверить цепь управления зажиганием на замыкание на массу и устранить неисправность, если необходимо.
Закончен ли ремонт?
-
Перейдите к Шагу 8
Перейти к операции 5
5
Проверить контрольную лампу индикации неисправности на замыкание на источник напряжения и устранить неисправность, если необходимо.
Закончен ли ремонт?
-
Перейдите к Шагу 8
Перейти к операции 6
6
Проверить на обрыв цепь управления зажиганием и устранить неисправность при необходимости.
Закончен ли ремонт?
-
Перейдите к Шагу 8
Перейдите к Шагу 7
7
  1. Выключите зажигание.
  2. Заменить контроллер ЭСУД.
Закончен ли ремонт?
-
Перейдите к Шагу 8
-
8
  1. Используя сканирующий прибор, очистить диагностические коды неисправностей.
  2. Запустить двигатель и дать ему поработать на холостом ходу при нормальной рабочей температуре.
  3. Совершить поездку для установки кодов неисправности, как это указано во вспомогательном тексте.
Сканирующий прибор определяет эту диагностику как прошедшую и успешную?
-
Перейдите к Шагу 9
Перейти к операции 2
9
Проверьте, не установлены ли дополнительные диагностические коды неисправности.
Отображены ли диагностические коды неисправности, которые не были продиагностированы?
-
Перейти к Соответствующая таблица диагностических кодов неисправности
Система в норме

U5A11F46
Показать иллюстрациюПеревод текста в иллюстрациях


ДИАГНОСТИЧЕСКИЙ КОД НЕИСПРАВНОСТИ p1380 ДАТЧИК НЕРОВНОЙ ДОРОГИ АБС, НЕВЕРНЫЙ СИГНАЛ ШИМ (2.0L DOHC)

Описание схемы

Контроллер ЭСУД определяет пропуск зажигания двигателя, отслеживая изменения в скорости вращения коленвала. Изменения вращения коленвала могут происходить также при движении автомобиля по неровной дороге. Система АБС определяет, движется ли автомобиль по неровной дороге, основываясь на данных ускорения/замедления вращения колес, передаваемых датчиком скорости вращения каждого колеса. Эта информация передается на контроллер ЭСУД контроллером тормозной системы по последовательному каналу передачи данных посредством широтно-импульсной модуляции (ШИМ). Далее контроллер ЭСУД использует эту информацию и определяет, вызваны ли изменения в коленчатом валу просто пропуском зажигания или же прохождением по неровной дороге.
При обнаружении неисправности в АБС контроллер ЭСУД продолжает обнаруживать пропуски зажигания. Но если устанавливается диагностический код неисправности (DTC), то такой дополнительный код DTC также будет установлен, указывая на то, что данные о неровной дороге не были использованы во время обнаружения пропусков зажигания из-за нарушения работы АБС.

Условия установки кода неисправности.

Действия, выполняемые при установке кода неисправности

Условия очистки кода неисправности/индикации неисправности

Указания по диагностике

Установка такого диагностического кода неисправности указывает на то, что контроллер ЭСУД не смог обнаружить, действительно ли произошел пропуск зажигания или автомобиль проходил неровную дорогу. Пропуск зажигания может происходить на самом деле с выдачей этого кода неисправности или без него. Проверить отсутствие нарушений соединения выводов последовательной линии данных ШИМ на контроллере тормозной системы (EBCM). После устранения причины появления этого диагностического кода неисправности необходимо убедиться в том, что пропуска зажигания действительно нет.

dtc p1380 - Датчик неровной дороги АБС, неверный сигнал ШИМ (2.0L DOHC)

ШагОперацияЗначенияДаНет
1
Провести проверку бортовой системы диагностики (eobd).
Проверка проведена?
-
Перейти к операции 2
Перейти к "Проверка бортовой системы диагностики"
2
  1. Выключите зажигание.
  2. Подключить сканирующий прибор к колодке диагностики (dlc).
  3. Включить зажигание, двигатель не запускать.
  4. Проверить наличие любых диагностических кодов неисправностей АБС (dtc).
Установлены ли какие-либо диагностические коды неисправности АБС?
-
Перейти к Соответствующая таблица диагностических кодов неисправности
Перейдите к Шагу 3
3
  1. Просмотреть сведения о неисправности и записать параметры.
  2. Совершить поездку в условиях установки кода неисправности, как указано, при движении по неровной дороге.
Есть ли установка кода пропуск зажигания?
-
Перейти к операции 4
Перейдите к Шагу 8
4
Проверить сканирующий прибор.
Устанавливается ли код неисправности Р1380?
-
Перейти к операции 5
Перейти к операции 6
5
Проверить сканирующий прибор.
Устанавливается ли код неисправности АБС?
-
Перейти к Соответствующая таблица диагностических кодов неисправности
Перейдите к Шагу 7
6
Устранить причину пропуска зажигания.
Закончен ли ремонт?
-
Перейдите к Шагу 8
-
7
Заменить контроллер ЭСУД.
Закончен ли ремонт?
-
Перейдите к Шагу 8
-
8
  1. Используя сканирующий прибор, очистить диагностические коды неисправностей.
  2. Запустить двигатель и дать ему поработать на холостом ходу при нормальной рабочей температуре.
  3. Совершить поездку для установки кодов неисправности, как это указано во вспомогательном тексте.
Сканирующий прибор определяет эту диагностику как прошедшую и успешную?
-
Перейдите к Шагу 9
Перейти к операции 2
9
Проверьте, не установлены ли дополнительные диагностические коды неисправности.
Отображены ли диагностические коды неисправности, которые не были продиагностированы?
-
Перейти к Соответствующая таблица диагностических кодов неисправности
Система в норме

U5A11F46
Показать иллюстрациюПеревод текста в иллюстрациях


ДИАГНОСТИЧЕСКИЙ КОД НЕИСПРАВНОСТИ p1381 ДАТЧИК НЕРОВНОЙ ДОРОГИ АБС, НАРУШЕНИЕ ПОСЛЕДОВАТЕЛЬНОЙ ПЕРЕДАЧИ ДАННЫХ ШИМ (2.0L DOHC)

Описание схемы

Контроллер ЭСУД определяет пропуск зажигания двигателя, отслеживая изменения в скорости вращения коленвала. Изменения вращения коленвала могут происходить также при движении автомобиля по неровной дороге. Система АБС определяет, движется ли автомобиль по неровной дороге, основываясь на данных ускорения/замедления вращения колес, передаваемых датчиком скорости вращения каждого колеса. Эта информация передается на контроллер ЭСУД контроллером тормозной системы по последовательному каналу передачи данных посредством широтно-импульсной модуляции (ШИМ). Далее контроллер ЭСУД использует эту информацию и определяет, вызваны ли изменения в коленчатом валу просто пропуском зажигания или же прохождением по неровной дороге.
При обнаружении неисправности в АБС контроллер ЭСУД продолжает обнаруживать пропуски зажигания. Но если устанавливается диагностический код неисправности (DTC), то такой дополнительный код DTC также будет установлен, указывая на то, что данные о неровной дороге не были использованы во время обнаружения пропусков зажигания из-за нарушения работы АБС.

Условия установки кода неисправности.

Действия, выполняемые при установке кода неисправности

Условия очистки кода неисправности/индикации неисправности

Указания по диагностике

Установка такого диагностического кода неисправности указывает на то, что контроллер ЭСУД не смог обнаружить, действительно ли произошел пропуск зажигания или автомобиль проходил неровную дорогу. Пропуск зажигания может происходить на самом деле с выдачей этого кода неисправности или без него. Проверить отсутствие нарушений соединения выводов последовательной линии данных ШИМ на контроллере тормозной системы (EBCM). После устранения причины появления этого диагностического кода неисправности необходимо убедиться в том, что пропуска зажигания действительно нет.

dtc p1381 - Датчик неровной дороги с АБС, нарушение последовательной передачи данных ШИМ (2.0L DOHC)

ШагОперацияЗначенияДаНет
1
Провести проверку бортовой системы диагностики (eobd).
Проверка проведена?
-
Перейти к операции 2
Перейти к "Проверка бортовой системы диагностики"
2
  1. Включить зажигание, двигатель не запускать.
  2. Подключить сканирующий прибор к колодке диагностики (dlc).
  3. Проверить наличие любых диагностических кодов неисправностей АБС (dtc).
Установлены ли какие-либо диагностические коды неисправности АБС?
-
Перейти к Соответствующая таблица диагностических кодов неисправности
Перейдите к Шагу 3
3
  1. Просмотреть сведения о неисправности и записать параметры.
  2. Совершить поездку в условиях установки кода неисправности, как указано, при движении по неровной дороге.
Есть ли установка кода пропуск зажигания?
-
Перейти к операции 4
Перейдите к Шагу 8
4
Проверить сканирующий прибор.
Устанавливается ли код неисправности Р1381?
-
Перейти к операции 5
Перейти к операции 6
5
Проверить сканирующий прибор.
Устанавливается ли код неисправности АБС?
-
Перейти к Соответствующая таблица диагностических кодов неисправности
Перейдите к Шагу 7
6
Устранить причину пропуска зажигания.
Закончен ли ремонт?
-
Перейдите к Шагу 8
-
7
Заменить контроллер ЭСУД.
Закончен ли ремонт?
-
Перейдите к Шагу 8
-
8
  1. Используя сканирующий прибор, очистить диагностические коды неисправностей.
  2. Запустить двигатель и дать ему поработать на холостом ходу при нормальной рабочей температуре.
  3. Совершить поездку для установки кодов неисправности, как это указано во вспомогательном тексте.
Сканирующий прибор определяет эту диагностику как прошедшую и успешную?
-
Перейдите к Шагу 9
Перейти к операции 2
9
Проверьте, не установлены ли дополнительные диагностические коды неисправности.
Отображены ли диагностические коды неисправности, которые не были продиагностированы?
-
Перейти к Соответствующая таблица диагностических кодов неисправности
Система в норме

U5A11F46
Показать иллюстрациюПеревод текста в иллюстрациях


ДИАГНОСТИЧЕСКИЙ КОД НЕИСПРАВНОСТИ p1391 ДАТЧИК ВЕРТИКАЛЬНОГО УСКОРЕНИЯ (НЕРОВНОЙ ДОРОГИ), ДОСТОВЕРНОСТЬ (2.0L DOHC)

Описание схемы

Датчик неровной дороги (G) является датчиком вертикального ускорения. Измеряя вертикальное ускорение, вызванное неровностями или выбоинами в дороге, контроллер ЭСУД может определить, вызваны ли изменения в скорости вращения коленчатого вала пропуском зажигания или карданной передачей. Если датчик неровной дороги определяет неровность дороги, диагностика пропуска зажигания отключается. Выходной сигнал датчика неровной дороги в покое должен составлять 2,35-2,65 вольт (+1G). В условиях неровной дороги выходной сигнал может изменяться между 0,5 (–1G) и 4,5 вольт (+3G).

Условия установки кода неисправности.

ИЛИ

Действия, выполняемые при установке кода неисправности

Условия очистки кода неисправности/индикации неисправности

Указания по диагностике

Проверить следующее:
Так как датчик неровной дороги использует ту же контрольную цепь 5 вольт контроллера ЭСУД, что и датчик давления кондиционера, поврежденный жгут проводов или датчик давления кондиционера могут вызвать установку диагностического кода неисправности датчика неровной дороги. См. "Установлено несколько диагностических кодов датчика информации ЭСУД" в этом разделе.
Датчик неровной дороги дает правильные сигналы только тогда, когда он надежно и на правильном уровне закреплен на своем кронштейне.
Просмотр протоколов неисправностей после последней неудавшейся диагностической проверки поможет определить, как часто происходило условие, вызывавшее установку диагностического кода неисправности. Это поможет продиагностировать условия.

dtc p1391 - Датчик вертикального ускорения (неровной дороги), достоверность (2.0L DOHC)

ШагОперацияЗначенияДаНет
1
Провести проверку бортовой системы диагностики (eobd).
Проверка проведена?
-
Перейти к операции 2
Перейти к "Проверка бортовой системы диагностики"
2
  1. Включить зажигание, двигатель не запускать.
  2. Подключить сканирующий прибор к колодке диагностики.
  3. Просмотреть и записать информацию протокола неисправностей инструмента сканирования.
  4. Совершить поездку в условиях протокола неисправностей, как указано.
  5. Используя сканирующий прибор, отследить конкретную информацию по диагностическому коду неисправности Р1391.
Определяет ли сканирующий прибор, что диагностический код неисправности Р1391 не прошел?
-
Перейти к операции 4
Перейдите к Шагу 3
3
Проверить отсутствие следующих условий и устранить при необходимости:
  • Уплотнение датчика неровной дороги отсутствует или повреждено.
  • Крепежные фланцы датчика неровной дороги повреждены, отсутствуют или неправильно установлены.
Закончен ли ремонт?
-
Перейдите к Шагу 14
Перейти к "Диагностическая информация"
4
  1. Выключите зажигание.
  2. Отсоединить электрический разъем датчика неровной дороги.
  3. Включить зажигание, двигатель не запускать.
  4. Прочитать значение датчика неровной дороги на сканирующем приборе.
Значение датчика неровной дороги близко к установленному значению?
0 В
Перейти к операции 5
Перейдите к Шагу 12
5
  1. Замкнуть перемычкой цепь опорного напряжения 5 В, вывод 1, и сигнальную цепь датчика неровной дороги, вывод 2, на разъеме жгута проводов датчика неровной дороги.
  2. Прочитать значение датчика неровной дороги на сканирующем приборе.
Значение датчика неровной дороги близко к установленному значению?
4,95 В
Перейти к операции 6
Перейдите к Шагу 7
6
  1. Выключите зажигание.
  2. Отсоединить контроллер ЭСУД и проверить цепь "массы" датчика на наличие высокого сопротивления, обрыва цепи между контроллером ЭСУД и датчиком неровной дороги, а также наличие слабого контакта клеммы К34 и контроллера ЭСУД и устранить неисправность при необходимости.
Закончен ли ремонт?
-
Перейдите к Шагу 14
Перейдите к Шагу 10
7
Проверить цепь опорного сигнала 5 В на высокое сопротивление, обрыв цепи между контроллером ЭСУД и датчиком неровной дороги и наличие слабого контакта на клемме К50 контроллера ЭСУД, и устранить неисправность при необходимости.
Закончен ли ремонт?
-
Перейдите к Шагу 14
Перейдите к Шагу 8
8
  1. Выключите зажигание.
  2. Отсоединить контроллер ЭСУД и проверить сигнальную цепь датчика неровной дороги на наличие высокого сопротивления, обрыва цепи или короткого замыкания на цепь массы датчика и отремонтировать, если необходимо.
Закончен ли ремонт?
-
Перейдите к Шагу 14
Перейдите к Шагу 9
9
Проверить сигнальную цепь датчика неровной дороги на наличие слабого контакта с контроллером ЭСУД и устранить неисправность при необходимости.
Закончен ли ремонт?
-
Перейдите к Шагу 14
Перейдите к Шагу 13
10
Проверить нарушение контакта на выводе 3 датчика неровной дороги, при необходимости отремонтировать.
Закончен ли ремонт?
-
Перейдите к Шагу 14
Перейдите к Шагу 11
11
Заменить датчик неровной дороги
Закончен ли ремонт?
-
Перейдите к Шагу 14
-
12
  1. Выключите зажигание.
  2. Отсоединить контроллер ЭСУД.
  3. Включите зажигание.
  4. Проверить сигнальную цепь датчика неровной дороги на короткое замыкание на источник питания или на контрольную цепь 5 В и устранить неисправность при необходимости.
Закончен ли ремонт?
-
Перейдите к Шагу 14
Перейдите к Шагу 13
13
  1. Выключите зажигание.
  2. Заменить контроллер ЭСУД.
Закончен ли ремонт?
-
Перейдите к Шагу 14
-
14
  1. Используя сканирующий прибор, очистить диагностические коды неисправностей.
  2. Запустить двигатель и дать ему поработать на холостом ходу при нормальной рабочей температуре.
  3. Совершить поездку для установки кодов неисправности, как это указано во вспомогательном тексте.
Сканирующий прибор определяет эту диагностику как прошедшую и успешную?
-
Перейдите к шагу 15
Перейти к операции 2
15
Проверьте, не установлены ли дополнительные диагностические коды неисправности.
Отображены ли диагностические коды неисправности, которые не были продиагностированы?
-
Перейти к Соответствующая таблица диагностических кодов неисправности
Система в норме



U5A11F46
Показать иллюстрациюПеревод текста в иллюстрациях


ДИАГНОСТИЧЕСКИЙ КОД НЕИСПРАВНОСТИ p1392 ДАТЧИК ВЕРТИКАЛЬНОГО УСКОРЕНИЯ (НЕРОВНОЙ ДОРОГИ), СИГНАЛ НИЗКОГО УРОВНЯ (2.0L DOHC)

Описание схемы

Датчик неровной дороги (G) является датчиком вертикального ускорения. Измеряя вертикальное ускорение, вызванное неровностями или выбоинами в дороге, контроллер ЭСУД может определить, вызваны ли изменения в скорости вращения коленчатого вала пропуском зажигания или карданной передачей. Если датчик неровной дороги определяет неровность дороги, диагностика пропуска зажигания отключается. Выходной сигнал датчика неровной дороги в покое должен составлять 2,35-2,65 вольт (+1G). В условиях неровной дороги выходной сигнал может изменяться между 0,5 (–1G) и 4,5 вольт (+3G).

Условия установки кода неисправности.

Действия, выполняемые при установке кода неисправности

Условия очистки кода неисправности/индикации неисправности

Указания по диагностике

Проверить следующее:
Так как датчик неровной дороги использует ту же контрольную цепь 5 вольт контроллера ЭСУД, что и датчик давления кондиционера, поврежденный жгут проводов или датчик давления кондиционера могут вызвать установку диагностического кода неисправности датчика неровной дороги. См. "Установлено несколько диагностических кодов датчика информации ЭСУД" в этом разделе.
Датчик неровной дороги дает правильные сигналы только тогда, когда он надежно и на правильном уровне закреплен на своем кронштейне.
Просмотр протоколов неисправностей после последней неудавшейся диагностической проверки поможет определить, как часто происходило условие, вызывавшее установку диагностического кода неисправности. Это поможет продиагностировать условия.

dtc p1392 - Датчик вертикального ускорения (неровной дороги), сигнал низкого уровня (2.0L DOHC)

ШагОперацияЗначенияДаНет
1
Провести проверку бортовой системы диагностики (eobd).
Проверка проведена?
-
Перейти к операции 2
Перейти к "Проверка бортовой системы диагностики"
2
  1. Выключите зажигание.
  2. Подключить сканирующий прибор к колодке диагностики.
  3. Включить зажигание, двигатель не запускать.
  4. Прочитать значение НЕРОВНОСТИ ДОРОГИ на сканирующем приборе.
Значение НЕРОВНОСТИ ДОРОГИ близко к установленному значению?
0 В
Перейти к операции 4
Перейдите к Шагу 3
3
  1. Просмотреть и записать информацию протокола неисправностей инструмента сканирования.
  2. Совершить поездку в условиях протокола неисправностей, как указано.
  3. Используя сканирующий прибор, отследить конкретную информацию по диагностическому коду неисправности Р1392.
Определяет ли сканирующий прибор, что диагностический код неисправности Р1392 не прошел?
-
Перейти к операции 4
Перейти к "Диагностическая информация"
4
  1. Выключите зажигание.
  2. Отсоединить электрический разъем датчика неровной дороги.
  3. Включить зажигание, двигатель не запускать.
  4. Замкнуть перемычкой цепь опорного напряжения 5 В, вывод 1, и сигнальную цепь датчика неровной дороги, вывод 2, на разъеме жгута проводов датчика неровной дороги.
  5. Прочитать значение датчика неровной дороги на сканирующем приборе.
Значение датчика неровной дороги близко к установленному значению?
4,95 В
Перейдите к Шагу 9
Перейти к операции 5
5
  1. Выключите зажигание.
  2. Отсоединить контроллер ЭСУД и проверить контрольную цепь 5 В на обрыв цепи или замыкание на массу и устранить неисправность при необходимости.
Закончен ли ремонт?
-
Перейдите к Шагу 11
Перейти к операции 6
6
Проверить контрольную цепь 5 В на слабый контакт с контроллером ЭСУД и устранить неисправность при необходимости.
Закончен ли ремонт?
-
Перейдите к Шагу 11
Перейдите к Шагу 7
7
  1. Выключите зажигание.
  2. Отсоединить контроллер ЭСУД и проверить сигнальную цепь датчика неровной дороги на наличие обрыва цепи или короткого замыкания на цепь массы датчика и отремонтировать, если необходимо.
Закончен ли ремонт?
-
Перейдите к Шагу 11
Перейдите к Шагу 8
8
Проверить сигнальную цепь датчика неровной дороги на наличие слабого контакта с контроллером ЭСУД и устранить неисправность при необходимости.
Закончен ли ремонт?
-
Перейдите к Шагу 11
Перейдите к Шагу 10
9
Заменить датчик неровной дороги
Закончен ли ремонт?
-
Перейдите к Шагу 11
-
10
  1. Выключите зажигание.
  2. Заменить контроллер ЭСУД.
Закончен ли ремонт?
-
Перейдите к Шагу 11
-
11
  1. Используя сканирующий прибор, очистить диагностические коды неисправностей.
  2. Запустить двигатель и дать ему поработать на холостом ходу при нормальной рабочей температуре.
  3. Совершить поездку для установки кодов неисправности, как это указано во вспомогательном тексте.
Сканирующий прибор определяет эту диагностику как прошедшую и успешную?
-
Перейдите к Шагу 12
Перейти к операции 2
12
Проверьте, не установлены ли дополнительные диагностические коды неисправности.
Отображены ли диагностические коды неисправности, которые не были продиагностированы?
-
Перейти к Соответствующая таблица диагностических кодов неисправности
Система в норме



U5A11F46
Показать иллюстрациюПеревод текста в иллюстрациях


ДИАГНОСТИЧЕСКИЙ КОД НЕИСПРАВНОСТИ p1393 ДАТЧИК ВЕРТИКАЛЬНОГО УСКОРЕНИЯ (НЕРОВНОЙ ДОРОГИ), СИГНАЛ ВЫСОКОГО УРОВНЯ (2.0L DOHC)

Описание схемы

Датчик неровной дороги (G) является датчиком вертикального ускорения. Измеряя вертикальное ускорение, вызванное неровностями или выбоинами в дороге, контроллер ЭСУД может определить, вызваны ли изменения в скорости вращения коленчатого вала пропуском зажигания или карданной передачей. Если датчик неровной дороги определяет неровность дороги, диагностика пропуска зажигания отключается. Выходной сигнал датчика неровной дороги в покое должен составлять 2,35-2,65 вольт (+1G). В условиях неровной дороги выходной сигнал может изменяться между 0,5 (–1G) и 4,5 вольт (+3G).

Условия установки кода неисправности.

Действия, выполняемые при установке кода неисправности

Условия очистки кода неисправности/индикации неисправности

Указания по диагностике

Проверить следующее:
Так как датчик неровной дороги использует ту же контрольную цепь 5 вольт контроллера ЭСУД, что и датчик давления кондиционера, поврежденный жгут проводов или датчик давления кондиционера могут вызвать установку диагностического кода неисправности датчика неровной дороги. См. "Установлено несколько диагностических кодов датчика информации ЭСУД" в этом разделе.
Датчик неровной дороги дает правильные сигналы только тогда, когда он надежно и на правильном уровне закреплен на своем кронштейне.
Просмотр протоколов неисправностей после последней неудавшейся диагностической проверки поможет определить, как часто происходило условие, вызывавшее установку диагностического кода неисправности. Это поможет продиагностировать условия.

dtc p1393 - Датчик вертикального ускорения (неровной дороги), сигнал высокого уровня (2.0L DOHC)

ШагОперацияЗначенияДаНет
1
Провести проверку бортовой системы диагностики (eobd).
Проверка проведена?
-
Перейти к операции 2
Перейти к "Проверка бортовой системы диагностики"
2
  1. Выключите зажигание.
  2. Подключить сканирующий прибор к колодке диагностики.
  3. Запустить двигатель и дать ему поработать на холостом ходу.
  4. Прочитать значение НЕРОВНОСТИ ДОРОГИ на сканирующем приборе.
Значение НЕРОВНОСТИ ДОРОГИ близко к установленному значению?
4,5 В
Перейти к операции 4
Перейдите к Шагу 3
3
  1. Просмотреть и записать информацию протокола неисправностей инструмента сканирования.
  2. Совершить поездку в условиях протокола неисправностей, как указано.
  3. Используя сканирующий прибор, отследить конкретную информацию по диагностическому коду неисправности Р1393.
Определяет ли сканирующий прибор, что диагностический код неисправности Р1393 не прошел?
-
Перейти к операции 4
Перейти к "Диагностическая информация"
4
  1. Выключите зажигание.
  2. Отсоединить электрический разъем датчика неровной дороги.
  3. Включить зажигание, двигатель не запускать.
  4. Записать значение датчика неровной дороги, отображаемое на сканирующем приборе.
Значение датчика неровной дороги близко к установленному значению?
0 В
Перейти к операции 5
Перейти к операции 6
5
Проверить вывод цепи массы датчика, вывод 3, с помощью контрольной лампы.
Горит ли контрольная лампа?
-
Перейдите к Шагу 7
Перейдите к Шагу 9
6
Проверить сигнальную цепь датчика неровной дороги на короткое замыкание на источник питания или на контрольную цепь 5 В и устранить неисправность при необходимости.
Закончен ли ремонт?
-
Перейдите к Шагу 12
Перейдите к Шагу 11
7
Проверить нарушение контакта на выводе массы датчика неровной дороги, при необходимости отремонтировать.
Закончен ли ремонт?
-
Перейдите к Шагу 12
Перейдите к Шагу 8
8
Проверить слабый контакт клеммы массы датчика на контроллере ЭСУД и устранить неисправность при необходимости.
Закончен ли ремонт?
-
Перейдите к Шагу 12
Перейдите к Шагу 9
9
Проверить цепь массы датчика неровной дороги на обрыв цепи и восстановить при необходимости.
Закончен ли ремонт?
-
Перейдите к Шагу 12
Перейдите к Шагу 10
10
  1. Выключите зажигание.
  2. Заменить контроллер ЭСУД.
Закончен ли ремонт?
-
Перейдите к Шагу 12
-
11
Заменить датчик неровной дороги
Закончен ли ремонт?
-
Перейдите к Шагу 12
Перейдите к Шагу 10
12
  1. Используя сканирующий прибор, очистить диагностические коды неисправностей.
  2. Запустить двигатель и дать ему поработать на холостом ходу при нормальной рабочей температуре.
  3. Совершить поездку для установки кодов неисправности, как это указано во вспомогательном тексте.
Сканирующий прибор определяет эту диагностику как прошедшую и успешную?
-
Перейдите к Шагу 13
Перейти к операции 2
13
Проверьте, не установлены ли дополнительные диагностические коды неисправности.
Отображены ли диагностические коды неисправности, которые не были продиагностированы?
-
Перейти к Соответствующая таблица диагностических кодов неисправности
Система в норме




На предыдущую страницуНа следующую страницу
https://vnx.su/ 🛠 Руководства по ремонту и эксплуатации для автомобилей

Поиск по сайту

Остались вопросы или пожелания? Пишите на почту: support@vnx.su

Карта Сайта