To the top of the document
Orlando
   
GMDE Start Page Load static TOC Load dynamic TOC Help?

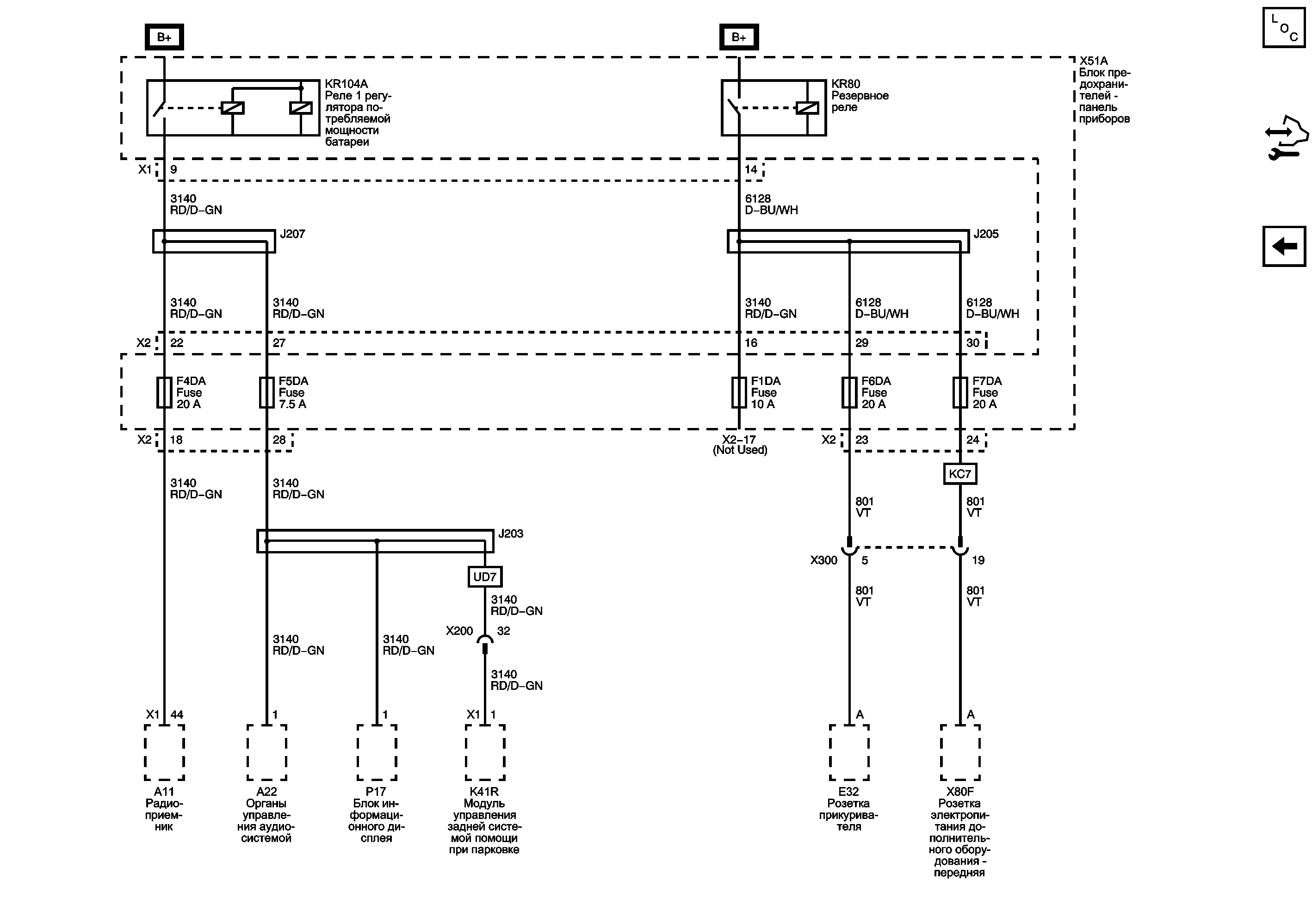
Предохранители f1da, f4da, f5da, f6da и f7da


          
            |                         |            
2564862RU.png

Display graphic

Предохранители F28UA, F30UA, F37UA, F51UA, F56UA и F60UA

   


© copyright chevrolet. All rights reserved