To the top of the document
Orlando
   
GMDE Start Page Load static TOC Load dynamic TOC Help?

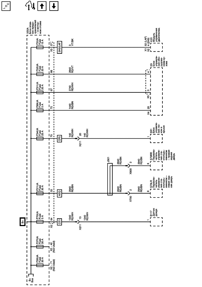
Предохранители f2ua, f21ua, f27ua, f31ua, f32ua, f34ua, f35ua, f69ua и f70ua


          
            |                         |            
2564681RU.png

Display graphic

Предохранители F1UA, F25UA, F26UA, F30UA, F33UA, F55UA, F64UA и F67UA

B+ Bus (3 of 3)

   


© copyright chevrolet. All rights reserved