Orlando |
||||||||
|
|
|
|||||||

Список электрических компонентов управления
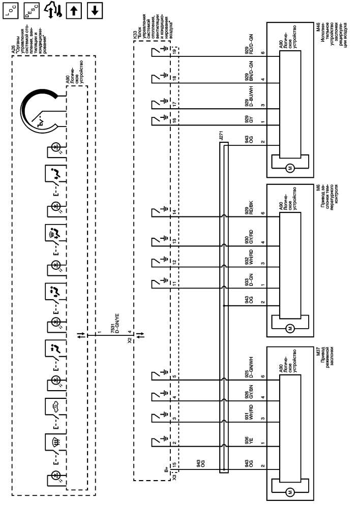
Описание и принцип работы автоматической системы отопления, вентиляции и кондиционирования воздуха
Модуль управления Справочные сведения
Органы управления компрессором
Питание, масса, последовательные данные модуля и органы управления нагнетательным вентилятором
| https://vnx.su/ 🛠 Руководства по ремонту и эксплуатации для автомобилей |
| https://vnx.su/ 🛠 Руководства по ремонту и эксплуатации для автомобилей |