К верхней части документа
Captiva
   
Начальная страница GMDE Загрузить статическое содержание Загрузить динамическое содержание Справка?

Измерение биения карданного вала

Специальный инструмент

    • Измерительный прибор с круглой шкалой и магнитным основанием ge-7872 или аналогичный прибор
    • ge-8001 Измерительный прибор с круглой шкалой или аналогичный прибор

Эквивалентные местные инструменты см. Специальный инструмент и оборудование .

Примечание: 

   • Данная процедура предназначена для измерения биения карданных валов в системах, имеющих только 2 или 3 карданных шарнира. Она не предназначена для систем, в которых применяется только 1 карданный шарнир, только шарниры равных угловых скоростей и/или узлы с муфтами.
   • При измерении биения карданных валов не следует учитывать колебания измерительного прибора, возникающие из-за наличия сварных швов и других неровностей поверхностей.
   • Необходимо проверять биение всех карданных валов, устанавливаемых в качестве замены.


    652343
  1. Поднять и подпереть автомобиль. На автомобилях с мостами необходимо проследить, чтобы ведущий мост поддерживался на той высоте, на которой он находится во время движения автомобиля по дороге, а кузов автомобиля опирался на компоненты подвески. Обеспечить свободное вращение колес. См. Подъем и пользование домкратом на автомобиле .
  2. Перевести коробку передач в режим «НЕЙТРАЛЬ».
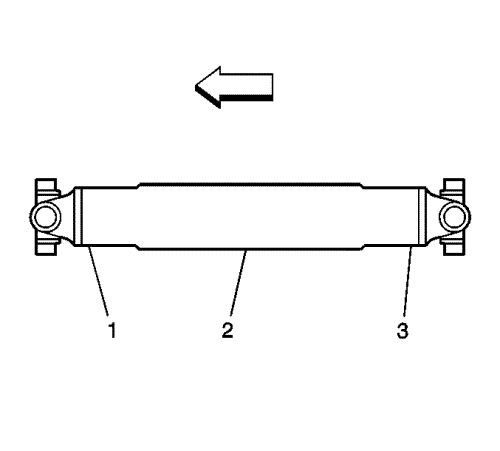
  3. Очистить окружность карданных валов от грязи и антикоррозионного покрытия в переднем (1), центральном (2) и заднем (3) положениях.
  4. Проверить карданные валы на наличие вмятин, повреждений и отсутствие весов. Мятые и поврежденные карданные валы следует заменять.

  5. 734521
  6. Для карданных систем, состоящих из 1 или 2 элементов, установить измерительный прибор с круглой шкалой и магнитным основанием ge-7872 или аналогичный прибор или измерительный прибор с круглой шкалой ge-8001 или аналогичный прибор на днище автомобиля или сервисный стенд под сварное соединение карданного шарнира на карданном вале.

  7. 652343
  8. Вращать фланец ведущей шестерни ведущей оси, входной фланец трубы карданного вала, выходной фланец коробки передач или раздаточной коробки рукой, измеряя биение карданных валов. В одном из направлений карданный вал будет вращаться легче. Чтобы облегчить вращение карданных валов, при необходимости с ведущей оси можно снять колеса, тормозные суппорты в сборе и тормозные барабаны.
  9. Для всех систем карданной передачи измерьте и запишите биение в месте расположения каждого приваренного карданного шарнира (1, 3) и в центре (2) каждого карданного вала.
  10. Для систем карданной передачи с 1 валом выполните рабочую операцию 10.

  11. 182285
  12. Для систем карданной передачи с 2 валами проведите следующие виды проверки и измерения оси сателлита:
  13. 9.1. Пометьте положение зацепления для каждого конца карданного вала, включая скользящую вилку, затем удалите вал.
    9.2. Осмотрите блок упорного подшипника карданного вала (2) на наличие повреждений деталей из резины, износ подшипника или подшипников или поврежденного/треснувшего кронштейна, который может оказывать влияние на биение карданных валов.
    9.3. Если блок упорного подшипника обнаруживает любые из этих признаков, его необходимо заменить перед проведением дальнейших работ.
    9.4. Проверьте на блоке упорного подшипника (2) наличие слабо закрепленных прокладок/шайб и их наличие, если блок оборудован ими. Заново правильно смонтируйте или замените любые прокладки/шайбы так, чтобы гарантировать их соосность с блоком упорного подшипника.
    9.5. Расположите ge-7872комплект индикаторов часового типа магнитной лапы или эквивалентный ему (1) или ge-8001 комплект индикаторов часового типа или эквивалентный ему (1) на расстоянии около 13 мм (½ дюймов) от конца оси сателлита (3).
    9.6. Запишите замеренные значения по биению на шлицах оси сателлита.
  14. Сравните записанные замеренные значения по биению карданного вала со спецификацией допусков по биению. См. Характеристики биения карданного вала .
  15. Если карданная передача располагает карданным шарниром на фланце выходного вала на коробке передач или раздаточной коробке и если замеренные значения по биению карданного вала выходят за пределы допусков по биению в спецификациях для данного карданного вала в этом месте или на оси саттелита, если она является частью промежуточного карданного вала, выполните следующие операции:
  16. 11.1. Осмотрите прогиб вторичного вала коробки передач или раздаточной коробки на наличие признаков износа или повреждения втулки, это может быть причиной биения карданного вала.

    Течь в уплотнении вторичного вала коробки передач или раздаточной коробки может быть признаком проблем с втулкой вторичного вала.

    11.2. Если втулка вторичного вала коробки передач или раздаточной коробки окажется изношенной или поврежденной, ее необходимо заменить, прежде чем проводить другие работы.
    11.3. Если Вы заменили втулку вторичного вала коробки передач или раздаточной коробки, повторно проведите замер биения карданного вала в тех же местах, что и раньше, и запишите значения.
    11.4. Сравните записанные замеренные повторно значения по биению карданного вала со спецификацией допусков по биению.
    11.5. Если повторно замеренные значения по биению карданного вала все еще выходят за пределы допусков в том же месте вала или на оси саттелита, если она является частью промежуточного вала, перед проведением других работ необходимо заменить карданный вал. Проверьте биение заново установленного карданного вала.
    11.6. Если втулка вторичного вала коробки передач или раздаточной коробки не была изношена или повреждена, необходимо заменить карданный вал, прежде чем проводить другие работы. Проверьте биение заново установленного карданного вала.
  17. Если карданная передача располагает карданным шарниром на ведущей шестерне главной передачи или фланце входного вала карданной трубы и если замеренные значения по биению карданного вала выходят за пределы допусков по биению в спецификациях для данного карданного вала в этом месте или на оси саттелита, если она является частью вала передачи заднего хода, выполните следующие операции:
  18. 12.1. Пометьте положение зацепления для каждого конца карданного вала, затем демонтируйте вал с первичной шестерни или фланца входного вала карданной трубы.
    12.2. Поверните вал на 180 градусов относительно его исходного положения.
    12.3. Повторно смонтируйте вал на шестерню или фланец первичного вала карданной трубы.
    12.4. Повторно измерьте и запишите биение вала в тех же местах, где ранее проводились измерения.
    12.5. Сравните записанные замеренные повторно значения по биению вала со спецификацией допусков по биению.
    12.6. Если какие-либо из повторно измеренных значений все еще выходят за пределы допусков по биению, выполните следующее:
             12.6.1. Проверьте биение шестерни или фланца входного вала карданной трубы, чтобы определить, не оказывает ли оно влияние на биение карданного вала. См. соответствующую процедуру: Измерение биения фланца входного вала карданной трубы , Измерение биения фланца шестерни или Измерение биения первичного вала шестерни дифференциала .
             12.6.2. Если биение фланца первичного вала шестерни или карданной трубы превышает допуски по биению, фланец необходимо повернуть на определенный угол или заменить, чтобы добиться биения в пределах допусков перед проведением других работ.
             12.6.3. Если фланец первичного вала шестерни или карданной трубы был повернут или заменен, возвратите карданный вал в его исходное положение, когда будете вновь монтировать вал на фланец.
             12.6.4. Если при первом измерении биение первичного вала шестерни или карданной трубы было в пределах допусков, необходимо заменить карданный вал. Проверьте биение заново установленного карданного вала.
             12.6.5. Если фланец первичного вала шестерни или карданной трубы был повернут на определенный угол или заменен, повторно измерьте и запишите биение вала в тех же местах, что и ранее.
             12.6.6. Сравните записанные замеренные повторно значения по биению вала со спецификацией допусков по биению.
             12.6.7. Если какие-либо из замеренных значений биения все еще выходят за пределы допусков, демонтируйте и поверните вал на 180 градусов из его исходного положения относительно фланца первичного вала шестерни или карданной трубы, который был повернут или заменен.
             12.6.8. Смонтируйте вал повторно, затем измерьте и запишите биение вала в тех же местах, где ранее проводились измерения.
             12.6.9. Сравните записанные замеренные повторно значения по биению вала со спецификацией допусков по биению.
             12.6.10. Если какие-либо из повторно измеренных значений все еще выходят за пределы допусков по биению, вал необходимо заменить. Проверьте биение заново установленного карданного вала.
  19. Для систем карданной передачи с 2 валами: если значения биения, замеренные на приваренной вилке, зацепляемой за скользящую вилку, выходят за пределы верхних значений спецификаций допусков по биению для данного карданного вала в таком положении, выполните следующие действия:
  20. 13.1. Если ось сателлита закреплена шпунтом, чтобы гарантировать соосность со скользящей вилкой, карданный вал необходимо заменить.
    13.2. Если ось саттелита не закреплена шпунтом, пометьте положение зацепления для каждого конца карданного вала, затем демонтируйте скользящую вилку с оси саттелита.
    13.3. Поверните вал на 180 градусов относительно его исходного положения.
    13.4. Повторно смонтируйте скользящую вилку на ось саттелита.
    13.5. Повторно измерьте и запишите биение вала в месте сварного соединения вилки со скользящей вилкой.
    13.6. Сравните записанные замеренные повторно значения по биению вала со спецификацией допусков по биению.
    13.7. Если повторно замеренные значения по биению карданного вала все еще выходят за пределы допусков в месте зацепления приваренной вилки со скользящей вилкой, карданный вал необходимо заменить. Проверьте биение заново установленного карданного вала.
   


https://vnx.su/ 🛠 Руководства по ремонту и эксплуатации для автомобилей

Поиск по сайту

Остались вопросы или пожелания? Пишите на почту: support@vnx.su

Карта Сайта