Наверх документа
Captiva
   
Начальная страница GMDE Загрузить статическое оглавление Загрузить динамическое оглавление Помощь?

Замена модуля топливного насоса в узле топливного бака - Вспомогательный

Специальный инструмент

Ключ для стопорного кольца топливного датчика ch-48482

Процедура демонтажа


    1884873
  1. Снимите топливный бак. См. Замена топливного бака : FWD – Front Weel Drive, передний привод, передние ведущие колеса → полный привод .
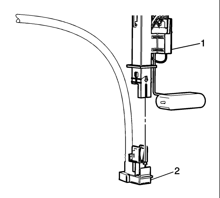
  2. Отсоединить электрический разъем (2) жгута проводов топливного бака от модуля топливного насоса вспомогательного топливного бака.
  3. Освободить жгут проводов топливного бака от крепежного зажима (3).
  4. Отодвинуть жгут проводов топливного бака (1).
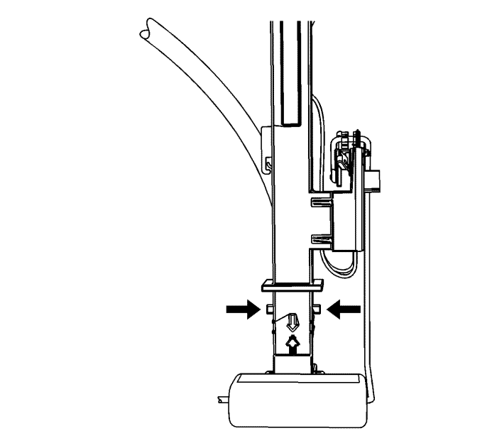
  5. Установить CH-48482 на стопорное кольцо модуля топливного насоса в топливном баке.
  6. Используя CH-48482 и длинную монтировку повернуть стопорное кольцо против часовой стрелки, чтобы отпереть стопорное кольцо модуля топливного насоса в топливном баке.
  7. Снять CH-48482.

  8. 1884875
  9. Снять стопорное кольцо (1) модуля топливного бака.
  10. Медленно поднимите модуль топливного насоса топливного бака (2), пока не станут видны рычажок поплавка датчика уровня топлива и канал всасывания модуля топливного насоса основного топливного бака.

  11. 1884876
  12. Нажмите на выступы канала всасывания модуля топливного насоса основного топливного бака, расположенные на обеих сторонах канала, чтобы отсоединить канал всасывания модуля топливного насоса основного топливного бака от модуля топливного насоса вспомогательного топливного бака.

  13. 1884877
  14. Снять канал всасывания модуля топливного насоса основного топливного бака (2) от модуля топливного насоса вспомогательного топливного бака (1).

  15. 1884878
  16. Наклонить модуль по направлению к задней части топливного бака, чтобы рычажок поплавка датчика уровня сместился и открыл отверстие топливного бака. Снимите модуль (1) с бака.
  17. Снимите и выбросьте уплотнительное кольцо (2) модуля топливного бака.
  18. Если происходит замена модуля топливного насоса вспомогательного топливного бака, снять, при необходимости, вспомогательный датчик уровня топлива. См. Замена вспомогательного датчика уровня топлива .

Процедура установки


    1884878
  1. Если произведена замена модуля топливного насоса вспомогательного топливного бака, установить, при необходимости, вспомогательный датчик уровня топлива. См. Замена вспомогательного датчика уровня топлива .
  2. Установить НОВОЕ уплотнительное кольцо (2) модуля топливного бака на топливный бак.
  3. Наклонить модуль по направлению к задней части топливного бака, чтобы рычажок поплавка датчика уровня топлива сместился и открыл отверстие топливного бака. Установить модуль (1) в топливный бак.

  4. 1884877
  5. Совместить стрелку (2) на канале всасывания модуля топливного насоса топливного бака со стрелкой (1) на модуле топливного насоса вспомогательного топливного бака. Установить канал всасывания модуля топливного насоса основного топливного бака на модуль топливного насоса вспомогательного топливного бака.

  6. 1884875
  7. Опустить модуль (2) топливного насоса в топливном баке на топливный бак.
  8. Установить стопорное кольцо (1) модуля топливного бака.

  9. 1884873
  10. Установить CH-48482 на стопорное кольцо модуля топливного насоса в топливном баке.
  11. Используя CH-48482 и длинную монтировку повернуть стопорное кольцо по часовой стрелке, чтобы запереть стопорное кольцо модуля топливного насоса в топливном баке.
  12. Снять CH-48482 со стопорного кольца модуля топливного насоса в топливном баке.
  13. Установить на модуль жгут проводов (1) топливного бака.
  14. Подсоединить электрический разъем (2) жгута проводов топливного бака к модулю топливного насоса вспомогательного топливного бака.
  15. Установить жгут проводов топливного бака на крепежный зажим (3).
  16. Установить топливный бак. См. Замена топливного бака : FWD – Front Weel Drive, передний привод, передние ведущие колеса → полный привод .
   


https://vnx.su/ 🛠 Руководства по ремонту и эксплуатации для автомобилей

Поиск по сайту

Остались вопросы или пожелания? Пишите на почту: support@vnx.su

Карта Сайта