Cruze
   
GMDE Start Page Load static TOC Load dynamic TOC Help?
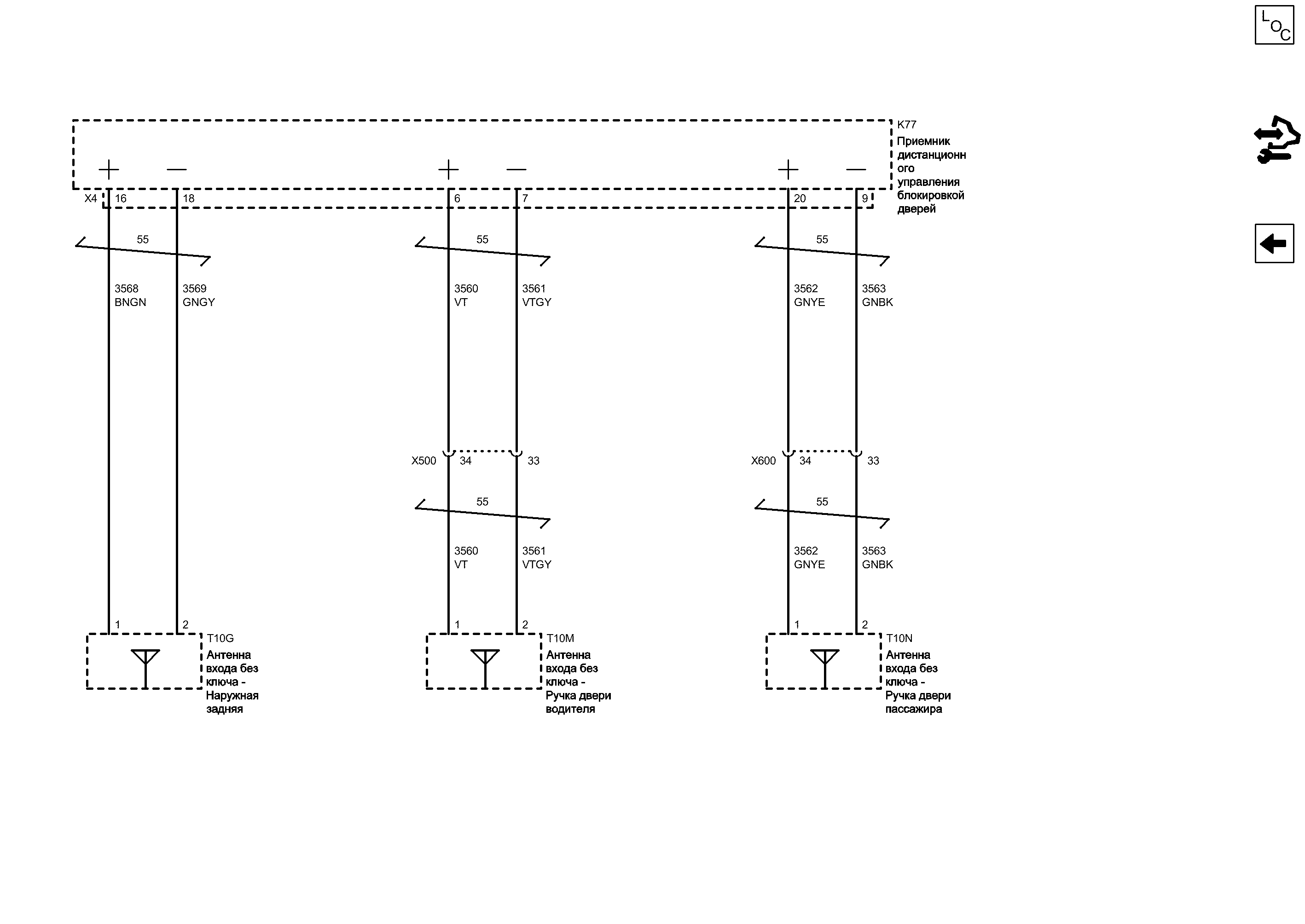
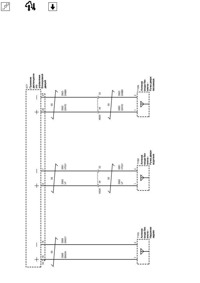
Антенны, внешнее детектирование


            |                         |            
2203192RU.png


Display graphic

Display graphic

Компоненты
k77Приемник дистанционного управления блокировкой дверейt10mАнтенна входа без ключа - Ручка двери водителя
t10gАнтенна входа без ключа - Наружная задняяt10nАнтенна входа без ключа - Ручка двери пассажира
Разъемы
k77 (x4)Приемник дистанционного управления блокировкой дверей x4x600Жгут проводов кузова и жгут проводов двери пассажира
x500Жгут проводов кузова и жгут проводов двери водителя
Цветовые коды
bngnКоричневый-ЗеленыйgnyeЗеленый-Желтый
gnbkЗеленый-ЧерныйvtФиолетовый
gngyЗеленый-СерыйvtgyФиолетовый-Серый
X500 Жгут проводов кузова и жгут проводов двери водителя

Расположение деталей (узлов) Трехмерная схема жгутов Левостороннее управление
Расположение деталей (узлов) Трехмерная схема жгутов Правостороннее управление
Внешний вид разъема и ремонт Вилка Левостороннее управление
Внешний вид разъема и ремонт Вилка Правостороннее управление
Внешний вид разъема и ремонт Гнездо
34
33
6
7
X4 Приемник дистанционного управления блокировкой дверей X4

Расположение деталей (узлов) Трехмерная схема жгутов
Внешний вид разъема и ремонт
2
1
1
2
X600 Жгут проводов кузова и жгут проводов двери пассажира

Расположение деталей (узлов) Трехмерная схема жгутов Левостороннее управление
Расположение деталей (узлов) Трехмерная схема жгутов Правостороннее управление
Внешний вид разъема и ремонт Вилка Левостороннее управление
Внешний вид разъема и ремонт Вилка Правостороннее управление
Внешний вид разъема и ремонт Гнездо
34
33
20
9
Пассивный вход - Дверь водителя - Антенна - Высокий сигнал
VT Фиолетовый
Пассивный вход - Дверь водителя - Антенна - Низкий сигнал
VTGY Фиолетовый-Серый
VTGY Фиолетовый-Серый
VT Фиолетовый
Пассивный вход - Дверь сменного водителя - Антенна - Низкий сигнал
GNBK Зеленый-Черный
Пассивный вход - Дверь сменного водителя - Антенна - Высокий сигнал
GNYE Зеленый-Желтый
T10N Антенна входа без ключа - Ручка двери пассажира

Расположение деталей (узлов) Трехмерная схема жгутов Левостороннее управление
Расположение деталей (узлов) Трехмерная схема жгутов Правостороннее управление
Внешний вид разъема и ремонт
T10M Антенна входа без ключа - Ручка двери водителя

Расположение деталей (узлов) Трехмерная схема жгутов Левостороннее управление
Расположение деталей (узлов) Трехмерная схема жгутов Правостороннее управление
Внешний вид разъема и ремонт
K77 Приемник дистанционного управления блокировкой дверей

Расположение деталей (узлов) Трехмерная схема жгутов
Сигнал динамика (-)
Сигнал динамика (+)
Сигнал динамика (+)
Сигнал динамика (-)
GNYE Зеленый-Желтый
GNBK Зеленый-Черный
Пассивный вход Задняя крышка Высокий сигнал антенны
BNGN Коричневый-Зеленый
Пассивный вход Задняя крышка Низкий сигнал антенны
GNGY Зеленый-Серый
18
16
T10G Антенна входа без ключа - Наружная задняя

Расположение деталей (узлов) Трехмерная схема жгутов
Внешний вид разъема и ремонт
1
2
Сигнал динамика (+)
Сигнал динамика (-)
Антенны, внутреннее детектирование

Антенны, внутреннее детектирование
Справочные данные по контроллерам

Справочные данные по контроллерам
Перечень основных электрических компонентов

Перечень основных электрических компонентов
   


https://vnx.su/ 🛠 Руководства по ремонту и эксплуатации для автомобилей

Поиск по сайту

Остались вопросы или пожелания? Пишите на почту: support@vnx.su

Карта Сайта