К началу документа
Tacuma
На предыдущую страницуНа следующую страницу
Главная страница GMDEЗагрузить нединамическое оглавлениеЗагрузить динамическое оглавлениеПомощь

РАЗДЕЛ 9T

Система дистанционного управления замками и противоугонной системой

Внимание! Отсоедините провод от отрицательного вывода аккумулятора, прежде чем снимать или устанавливать какие-либо электрические устройства, а также в ситуации, когда есть возможность касания оголенных электрических контактов каким-либо инструментом или приспособлением. Отсоединение этого провода позволяет избежать травм и повреждения оборудования автомобиля. Кроме того, если не указано иное, зажигание должно находиться в положении LOCK.

ОПИСАНИЕ И РАБОТА

Система дистанционного управления замками и противоугонной системой

Система дистанционного управления замками и предотвращения угона может выполнять следующие функции:
Система дистанционного управления замками и предотвращения угона состоит из следующих компонентов:

ДИСТАНЦИОННОЕ ЗАПИРАНИЕ И ОТПИРАНИЕ ЗАМКОВ

Ручной передатчик запирает и отпирает двери автомобиля, посылая радиосигнал на блок управления/приемник автомобиля. Дальность действия передатчика составляет от 5 до 10 м (от 16 до 32 футов) в зависимости от наличия или отсутствия на пути радиоволн посторонних объектов, таких как другие автомобили.
На передатчике имеются кнопка LOCK (запереть) и кнопка UNLOCK (отпереть), которая работает только при выключенном зажигании. Нажатие кнопки UNLOCK (отпереть) приводит к следующему:
Нажатие кнопки LOCK (запереть) приводит к следующему:
В передатчике имеется сменная батарейка. Срок службы батарейки до замены - не менее трех лет.

ИНДИКАТОР БЕЗОПАСНОСТИ

На панели приборов есть индикатор безопасности. После нажатия кнопки LOCK на передатчике блок управления помещается в режим прерывания и загорается индикатор безопасности. Индикатор безопасности включается в течение 0.1 сек и выключается за 0.7 сек. Затем он мигает с этой частотой до тех пор, пока блок управления/приемник не будет нейтрализован.

СИРЕНА

Система дистанционного управления замками активизируется, когда получено сообщение LOCK (запереть) от передатчика при выключенном зажигании. Когда система активирована, она включает сирену и мигает сигналами поворота в течение 28 сек, если возникает одна из следующих ситуаций:
Сирена выключается, когда выполнено одно из следующих условий:

ПОИСК АВТОМОБИЛЯ

Система дистанционного управления замками помогает водителю в поиске автомобиля. Если автомобиль отпирается с помощью дистанционного управления, то поворотные сигналы загораются дважды, чтобы показать место расположения автомобиля. Продолжительность световых сигналов и промежуток времени между световыми сигналами используются для того, чтобы показывать определенные состояния автомобиля. См. "Индикация неисправности или предупреждения" в этом разделе.

АВТОМАТИЧЕСКОЕ ЗАПИРАНИЕ (ЗАЩИТНАЯ БЛОКИРОВКА)

Система дистанционного управления замками имеет функцию автоблокировки. Если двери были открыты с пульта дистанционного управления, когда блок управления/приемник находится в
дежурном состоянии, двери автоматически блокируются через 30 секунд, если не будет выполнено какое-либо из следующих условий:

БЛОК УПРАВЛЕНИЯ/ПРИЕМНИК

Блок управления/приемник дистанционного управления замками находится в нижней крышке панели приборов. Блок управления/приемник обрабатывает сигналы от пульта дистанционного управления и датчиков вторжения и включает тревогу, если обнаружено вторжение.
Блок управления/приемник также имеет функцию самодиагностики, которая изображает коды неисправностей. Чтобы считать диагностические коды неисправности, необходимо подключить диагностический прибор к разъему линии передачи данных (DLC). Блок управления/приемник не реагирует на сигналы пультов управления других автомобилей, поскольку существует более четырех миллиардов возможных вариантов электронного пароля, так что пароли не повторяются. Блок управления/приемник имеет прикрепленную антенну для обнаружения сигналов, поступающих с передатчика.

ИНДИКАЦИЯ НЕИСПРАВНОСТИ ИЛИ ПРЕДУПРЕЖДЕНИЯ

При нажатии кнопки UNLOCK (отпереть) на дистанционном передатчике блок управления/приемник зажигает стояночные огни, сообщая о состоянии системы дистанционного управления замками и противоугонной системы.
Нормальное состояние: Если вторжения в автомобиль и какой-либо неисправности не было обнаружено, то блок управления/приемник при нажатии кнопки UNLOCK подаст сигнал о нормальном состоянии. Стояночные огни дважды загорятся на 0,5 сек, с перерывом 0,5 сек между вспышками. Индикация неисправности: В случае неисправности системы дистанционного управления замками и противоугонной системой блок управления/приемник при нажатии кнопки UNLOCK подаст сигнал о неисправности. Стояночные огни дважды загорятся на 0,5 сек, с перерывом 0,5 сек между вспышками.
Индикация вторжения в автомобиль: Если с момента последнего нажатия кнопки LOCK (запереть) имело место вторжение в автомобиль, то при нажатии кнопки UNLOCK (отпереть) блок управления/приемник подаст сигнал об этом. Стояночные огни дважды загорятся на 0,5 сек, с перерывом 1,5 сек между вспышками.
Информация о тревогах и неполадках, содержащаяся в блоке управления/приемнике будет стерта при следующем переводе блока управления/приемника в дежурное состояние после получения команды LOCK от пульта дистанционного управления.

ПРОГРАММИРОВАНИЕ ПАРОЛЯ

При утере пульта дистанционного управления блок управления/приемник необходимо перепрограммировать для работы с новым пультом дистанционного управления. Пароли, записанные в блоке управления/приемнике, не должны теряться при отключении питания блока управления/приемника.
Каждый блок управления/приемник может сохранить до пяти паролей. Запись новых паролей в блок управления/приемник производится следующим образом:
  1. Подключить диагностический прибор к разъему линии передачи данных (dlc).
  2. Установите зажигание в положение on.
  3. Удалить текущие пароли.
  4. Подать команду режима перепрограммирования на блок управления/приемник.
  5. Нажать любую кнопку на пульте управления. При этом генерируется код, содержащий пароль, который записывается в блок управления/приемник. Блок управления/приемник в ответ направляет на диагностический прибор подтверждение, что первый пароль записан.
  6. Нажать любую кнопку пульта управления еще три раза, чтобы блок управления/приемник подтвердил запись третьего, четвертого и пятого паролей.
  7. Выключите зажигание.
  8. Отсоединить диагностический прибор.
Блок управления/приемник автоматически оставляет режим программирования и переключается на нормальный рабочий режим в следующих случаях:

ИНСТРУКЦИИ ПО РЕМОНТУ

РАБОТЫ НА АВТОМОБИЛЕ



UAA9T010
Показать иллюстрациюПеревод текста в иллюстрациях


БЛОК УПРАВЛЕНИЯ/ПРИЕМНИК

Процедура снятия и установки

  1. Отсоедините провод от отрицательного вывода аккумуляторной батареи.
  2. Снять нижнюю крышку панели приборов. См. Раздел 9E, «Приборы/система информирования водителя».
  3. Отсоединить электрический разъем блока управления/приемника
  4. Удалить винт.
  5. Выдвинуть блок управления/приемник и вынуть его.
  6. Установка производится в порядке, обратном снятию.


UAA9T020
Показать иллюстрациюПеревод текста в иллюстрациях


СИРЕНА

Процедура снятия и установки

  1. Отсоедините провод от отрицательного вывода аккумуляторной батареи.
  2. Отсоединить электрический разъем сирены.
  3. Удалить болты.
  4. Замечания по установке
    Момент затяжки
    3 Н•м (27 lb-in)

    Примечание: Непосредственный контакт разнородных металлов может привести к быстрой коррозии. Во избежание преждевременной коррозии используйте надлежащий крепеж.

  5. Снять сирену.
  6. Установка производится в порядке, обратном снятию.


UAA9B140
Показать иллюстрациюПеревод текста в иллюстрациях


КОНТРОЛЬНЫЙ ПЕРЕКЛЮЧАТЕЛЬ ДВЕРИ

Процедура снятия и установки

  1. Отсоедините провод от отрицательного вывода аккумуляторной батареи.
  2. Снять нижнюю панель обивки центральной стойки. См. Раздел 9G, Облицовка салона.
  3. Удалить винт.
  4. Отсоединить электрический разъем контрольного выключателя двери.
  5. Снять контрольный выключатель двери.
  6. Установка производится в порядке, обратном снятию.


UAA9T030
Показать иллюстрациюПеревод текста в иллюстрациях


КОНТРОЛЬНЫЙ ПЕРЕКЛЮЧАТЕЛЬ ЗАДНЕЙ ТОРЦЕВОЙ ДВЕРИ

Процедура снятия и установки



UAA9T040
Показать иллюстрациюПеревод текста в иллюстрациях


ПЕРЕКЛЮЧАТЕЛЬ ОТКРЫТИЯ КАПОТА.

Процедура снятия и установки

ТЕХНИЧЕСКИЕ ХАРАКТЕРИСТИКИ

МОМЕНТЫ ЗАТЯЖКИ РЕЗЬБОВЫХ СОЕДИНЕНИЙ

ПРОГРАММА
Н•3м
фунт-фут
фунт-дюйм
Винт крепления переключателя открытия капота
4
-
35
Крепежный болт кронштейна сирены
22
16
-
Болты крепления сирены
3
-
27

ПРИНЦИПИАЛЬНЫЕ И МОНТАЖНЫЕ СХЕМЫ

СИСТЕМА ДИСТАНЦИОННОГО УПРАВЛЕНИЯ ЗАМКАМИ И ПРЕДОТВРАЩЕНИЯ УГОНА (ТОЛЬКО ПРОТИВОУГОННАЯ)


U6A19T01
Показать иллюстрациюПеревод текста в иллюстрациях


ПРИНЦИПИАЛЬНЫЕ И МОНТАЖНЫЕ СХЕМЫ

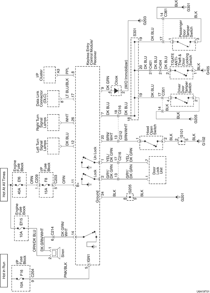
СИСТЕМА ДИСТАНЦИОННОГО УПРАВЛЕНИЯ ЗАМКАМИ И ПРЕДОТВРАЩЕНИЯ УГОНА (С ИММОБИЛАЙЗЕРОМ)


U6A19T02
Показать иллюстрациюПеревод текста в иллюстрациях


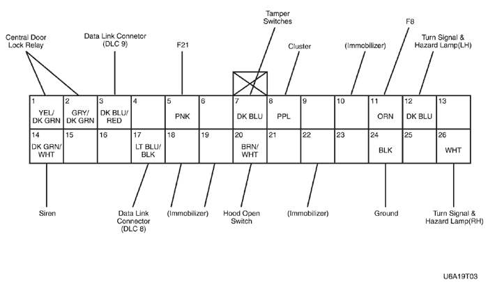
РАЗЪЕМ БЛОКА УПРАВЛЕНИЯ/ПРИЕМНИКА


U6A19T03
Показать иллюстрациюПеревод текста в иллюстрациях


СПЕЦИАЛЬНЫЕ ИНСТРУМЕНТЫ

ТАБЛИЦА СПЕЦИАЛЬНЫХ ИНСТРУМЕНТОВ


A110B003
Показать иллюстрациюПеревод текста в иллюстрациях


Диагностический прибор


На предыдущую страницуНа следующую страницу
https://vnx.su/ 🛠 Руководства по ремонту и эксплуатации для автомобилей

Поиск по сайту

Остались вопросы или пожелания? Пишите на почту: support@vnx.su

Карта Сайта