Tacuma-Rezzo
To Previous Page To Next Page



26. AIG BAG (SDM: SENSING & DIAGNOSTIC MODULE)

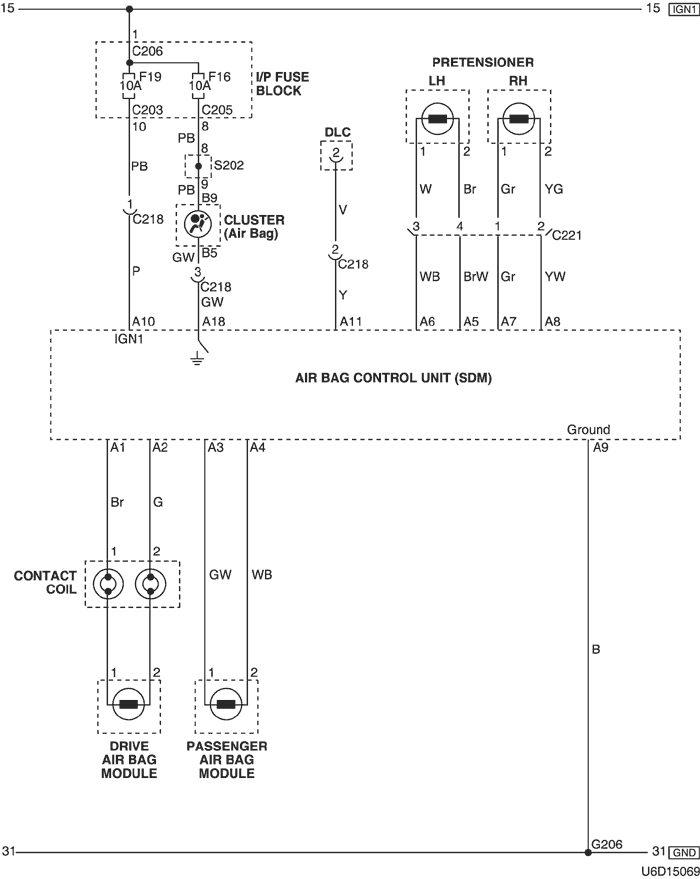
1) air bag control unit (sdm) & air bag warning lamp circuit: w/o side air bag

U6D15069.png


a. CONNECTOR INFORMATION

connector no
(pin no, color)
connecting wiring harness connector position
C203 (22 Pin, White) I/P Fuse Block – IP Front the I/P Fuse Block
C205 (14 Pin, White) I/P Fuse Block – IP Front the I/P Fuse Block
C206 (3 Pin, Brown) I/P Fuse Block – IP Front the I/P Fuse Block
C218 (4 Pin, White) Air Bag – IP Right Upper the Driver Leg Room
C221 (4 Pin, White) Air Bag – Floor Under the Console Box
S202 (Orange) IP Rear Right Instrument Panel
G206 Air Bag Front Right SDM

b. CONNECTOR IDENTIFICATION SYMBOL & PIN NUMBER POSITION

U5D1P055.png


c. POSITION OF CONNECTORS AND GROUNDS

U4D12026.png


U4D12029.png


d. SPLICE PACK

s202

U5D1S015.png


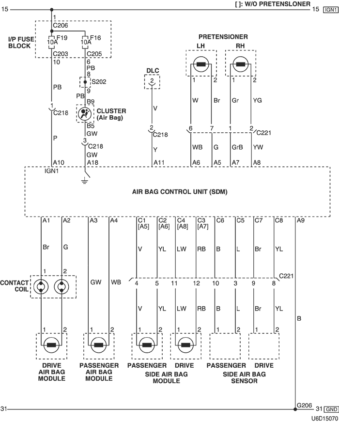
2) air bag control unit(sdm) & air bag warning lamp circuit: w/ side air bag

U6D15070.png


a. CONNECTOR INFORMATION

connector no
(pin no, color)
connecting wiring harness connector position
C203 (22 Pin, White) I/P Fuse Block – IP Front the I/P Fuse Block
C205 (14 Pin, White) I/P Fuse Block – IP Front the I/P Fuse Block
C206 (3 Pin, Brown) I/P Fuse Block – IP Front the I/P Fuse Block
C218 (4 Pin, White) Air Bag – IP Right Upper the Driver Leg Room
C221 (12 Pin, White) Air Bag – Floor Under the Console Box
S202 (Orange) IP Rear Right Instrument Panel
G206 Air Bag Front Right SDM

b. CONNECTOR IDENTIFICATION SYMBOL & PIN NUMBER POSITION

U5D1P056.png


c. POSITION OF CONNECTORS AND GROUNDS

U4D12026.png


U4D12029.png


d. SPLICE PACK

s202

U5D1S015.png


To Previous Page To Next Page


https://vnx.su/ 🛠 Руководства по ремонту и эксплуатации для автомобилей

Поиск по сайту

Остались вопросы или пожелания? Пишите на почту: support@vnx.su

Карта Сайта