К началу документа
Evanda
На предыдущую страницуНа следующую страницу
Главная страница GMDEЗагрузить нединамическое оглавлениеЗагрузить динамическое оглавлениеПомощь

РАЗДЕЛ 5B1

КОРОБКА ПЕРЕДАЧ / КОРОБКА ПЕРЕДАЧ С ГЛАВНОЙ ПЕРЕДАЧЕЙ В СБОРЕ (ПЯТИСТУПЕНЧАТАЯ МЕХАНИЧЕСКАЯ: D16, D20)

LT5B001
Показать иллюстрациюПеревод текста в иллюстрациях


ПЯТИСТУПЕНЧАТАЯ МКПП (D16, D20) - МЕХАНИЧЕСКАЯ КОРОБКА ПЕРЕДАЧ С ГЛАВНОЙ ПЕРЕДАЧЕЙ В СБОРЕ (561)

ОПИСАНИЕ ОПЕРАЦИИ
КОД ОПЕРАЦИИ
МОДЕЛЬ
s
n
l (сиреневый)
1
. КОРОБКА ПЕРЕДАЧ С ГЛАВНОЙ ПЕРЕДАЧЕЙ В СБОРЕ - ЗАМЕНА
5610100
3.5
3.5
3.4
ВКЛ.: при необходимости замена отжимного подшипника сцепления
.
.
.
.
. КОРОБКА ПЕРЕДАЧ С ГЛАВНОЙ ПЕРЕДАЧЕЙ В СБОРЕ - КАПИТАЛЬНЫЙ РЕМОНТ
5610300
7.6
7.6
7.5
ВКЛ.: при необходимости замена отжимного подшипника сцепления
.
.
.
.
s : kalos/aveo, n : nubira/lacetti, l : evanda

LT5B002
Показать иллюстрациюПеревод текста в иллюстрациях


ПЯТИСТУПЕНЧАТАЯ МКПП (D16, D20) - ПЕРЕДАЧА КОРОБКИ ПЕРЕДАЧ С ГЛАВНОЙ ПЕРЕДАЧЕЙ В СБОРЕ (563)

ОПИСАНИЕ ОПЕРАЦИИ
КОД ОПЕРАЦИИ
МОДЕЛЬ
s
n
l (сиреневый)
1
. ШЕСТЕРНЯ, 5-Я СКОРОСТЬ - ЗАМЕНА
5630100
4,5
4,5
4.4
ВКЛ.: время подбора регулировочной прокладки
.
.
.
.
ВКЛ.: при необходимости снятие и установка коробки передач с главной передачей в сборе и замена отжимного подшипника сцепления
.
.
.
.
2
. ШЕСТЕРНЯ, 4-Я СКОРОСТЬ - ЗАМЕНА
5630300
6.5
6.5
6.4
ВКЛ.: время подбора регулировочной прокладки
.
.
.
.
ВКЛ.: при необходимости снятие и установка коробки передач с главной передачей в сборе и замена отжимного подшипника сцепления
.
.
.
.
3
. ШЕСТЕРНЯ, 3-Я СКОРОСТЬ - ЗАМЕНА
5630500
6.1
6.1
6.0
ВКЛ.: время подбора регулировочной прокладки
.
.
.
.
ВКЛ.: при необходимости снятие и установка коробки передач с главной передачей в сборе и замена отжимного подшипника сцепления
.
.
.
.
4
. ШЕСТЕРНЯ, 2-Я СКОРОСТЬ - ЗАМЕНА
5630700
6.0
6.0
5.9
ВКЛ.: время подбора регулировочной прокладки
.
.
.
.
ВКЛ.: при необходимости снятие и установка коробки передач с главной передачей в сборе и замена отжимного подшипника сцепления
.
.
.
.
5
. ШЕСТЕРНЯ, 1-Я СКОРОСТЬ - ЗАМЕНА
5630900
5.6
5.6
5,5
ВКЛ.: время подбора регулировочной прокладки
.
.
.
.
ВКЛ.: при необходимости снятие и установка коробки передач с главной передачей в сборе и замена отжимного подшипника сцепления
.
.
.
.
6
. ВАЛ, ГЛАВНЫЙ КОРОБКИ ПЕРЕДАЧ С ГЛАВНОЙ ПЕРЕДАЧЕЙ В СБОРЕ - ЗАМЕНА
5631100
6.6
6.6
6.5
ВКЛ.: время подбора регулировочной прокладки
.
.
.
.
ВКЛ.: при необходимости снятие и установка коробки передач с главной передачей в сборе и замена отжимного подшипника сцепления
.
.
.
.
7
. СИНХРОНИЗАТОРЫ (5-я) - ЗАМЕНА
5631300
4.4
4.4
4.3
ВКЛ.: время подбора регулировочной прокладки
.
.
.
.
ВКЛ.: при необходимости снятие и установка коробки передач с главной передачей в сборе и замена отжимного подшипника сцепления
.
.
.
.
8
. СИНХРОНИЗАТОРЫ (3- и 4-я) - ЗАМЕНА
5631500
5,5
6.5
6.4
ВКЛ.: время подбора регулировочной прокладки
.
.
.
.
ВКЛ.: при необходимости снятие и установка коробки передач с главной передачей в сборе и замена отжимного подшипника сцепления
.
.
.
.
9
. СИНХРОНИЗАТОРЫ (1- И 2-я) - ЗАМЕНА
5631700
6.0
6.0
5.9
ВКЛ.: время подбора регулировочной прокладки
.
.
.
.
ВКЛ.: при необходимости снятие и установка коробки передач с главной передачей в сборе и замена отжимного подшипника сцепления
.
.
.
.
10
. ШЕСТЕРНЯ, СКОЛЬЗЯЩАЯ - ЗАМЕНА
5631900
6.0
6.0
5.9
ВКЛ.: время подбора регулировочной прокладки
.
.
.
.
ВКЛ.: при необходимости снятие и установка коробки передач с главной передачей в сборе и замена отжимного подшипника сцепления
.
.
.
.
s : kalos/aveo, n : nubira/lacetti, l : evanda

LT5B002
Показать иллюстрациюПеревод текста в иллюстрациях


ПЯТИСТУПЕНЧАТАЯ МКПП (D16, D20) - ПЕРЕДАЧА КОРОБКИ ПЕРЕДАЧ С ГЛАВНОЙ ПЕРЕДАЧЕЙ В СБОРЕ (563)

ОПИСАНИЕ ОПЕРАЦИИ
КОД ОПЕРАЦИИ
МОДЕЛЬ
s
n
l (сиреневый)
11
. ВТУЛКА, ПЕРЕКЛЮЧАЮЩАЯ - ЗАМЕНА
5632100
6.5
6.5
6.4
ВКЛ.: время подбора регулировочной прокладки
.
.
.
.
ВКЛ.: при необходимости снятие и установка коробки передач с главной передачей в сборе и замена отжимного подшипника сцепления
.
.
.
.
12
. ВТУЛКА, ВКЛЮЧЕНИЕ 5-Й СКОРОСТИ - ЗАМЕНА
5632300
4.4
4.4
4.3
ВКЛ.: время подбора регулировочной прокладки
.
.
.
.
ВКЛ.: при необходимости снятие и установка коробки передач с главной передачей в сборе и замена отжимного подшипника сцепления
.
.
.
.
s : kalos/aveo, n : nubira/lacetti, l : evanda

LT5B003
Показать иллюстрациюПеревод текста в иллюстрациях


ПЯТИСТУПЕНЧАТАЯ МКПП (D16, D20) - ШЕСТЕРНЯ ЗАДНЕГО ХОДА И ПРОМЕЖУТОЧНАЯ ШЕСТЕРНЯ (564)

ОПИСАНИЕ ОПЕРАЦИИ
КОД ОПЕРАЦИИ
МОДЕЛЬ
s
n
l (сиреневый)
1
. ВАЛ И/ИЛИ ШЕСТЕРНИ, ВХОДНОЙ (5-я) - ЗАМЕНА
5640100
4.9
4.9
4.8
ВКЛ.: время подбора регулировочной прокладки
.
.
.
.
ВКЛ.: при необходимости снятие и установка коробки передач с главной передачей в сборе и замена отжимного подшипника сцепления
.
.
.
.
2
. ВАЛ И/ИЛИ ШЕСТЕРНИ, ВХОДНОЙ (ВХОДНОЕ МНОГОВЕНЦОВОЕ ЗУБЧАТОЕ КОЛЕСО) - ЗАМЕНА
5640300
5.8
5.8
5.7
ВКЛ.: время подбора регулировочной прокладки
.
.
.
.
ВКЛ.: при необходимости снятие и установка коробки передач с главной передачей в сборе и замена отжимного подшипника сцепления
.
.
.
.
3
. ВАЛ И/ИЛИ ШЕСТЕРНИ, ВХОДНОЙ (ВХОДНОЙ ВАЛ) - ЗАМЕНА
5640500
5.8
5.8
5.7
ВКЛ.: время подбора регулировочной прокладки
.
.
.
.
ВКЛ.: при необходимости снятие и установка коробки передач с главной передачей в сборе и замена отжимного подшипника сцепления
.
.
.
.
4
. КОРПУС, УПОРНАЯ ПЛАСТИНА - ЗАМЕНА
5640700
5,5
5,5
5.4
ВКЛ.: время подбора регулировочной прокладки
.
.
.
.
ВКЛ.: при необходимости снятие и установка коробки передач с главной передачей в сборе и замена отжимного подшипника сцепления
.
.
.
.
5
. ХОЛОСТАЯ ШЕСТЕРНЯ В СБОРЕ, ЗАДНИЙ ХОД - ЗАМЕНА
5640900
5,5
5,5
5.4
s : kalos/aveo, n : nubira/lacetti, l : evanda

LT5B004
Показать иллюстрациюПеревод текста в иллюстрациях


ПЯТИСТУПЕНЧАТАЯ МКПП (D16, D20) - УПОРНАЯ ПЛАСТИНА (565)

ОПИСАНИЕ ОПЕРАЦИИ
КОД ОПЕРАЦИИ
МОДЕЛЬ
s
n
l (сиреневый)
1
. ЗАДНЯЯ КРЫШКА, КОРОБКА ПЕРЕДАЧ С ГЛАВНОЙ ПЕРЕДАЧЕЙ В СБОРЕ - ЗАМЕНА
5650100
0.5
0.5
0.5
2
. ПЛАСТИНА И/ИЛИ ПРОКЛАДКА, УПОРНАЯ - ЗАМЕНА
5650300
5,5
5,5
5.4
3
. ВТУЛКА, ФИКСАТОР - ЗАМЕНА
5650500
1.1
1.1
1.1
4
. БОЛТ, СТЯЖНОЙ СТЕРЖЕНЬ - ЗАМЕНА
5650700
5.3
5.3
5.2
5
. ВИЛКА, СКОЛЬЗЯЩАЯ ПЕРЕКЛЮЧЕНИЯ ПЕРЕДАЧ - ЗАМЕНА
5650900
4.1
4.1
4.0
s : kalos/aveo, n : nubira/lacetti, l : evanda

LT5B005
Показать иллюстрациюПеревод текста в иллюстрациях


ПЯТИСТУПЕНЧАТАЯ МКПП (D16, D20) - КОЖУХ И ВИЛКА ПЕРЕКЛЮЧЕНИЯ ПЕРЕДАЧ (566)

ОПИСАНИЕ ОПЕРАЦИИ
КОД ОПЕРАЦИИ
МОДЕЛЬ
s
n
l (сиреневый)
1
. КРЫШКА И/ИЛИ ПРОКЛАДКА, КОРОБКИ ПЕРЕДАЧ - ЗАМЕНА
5660100
0.6
0.6
0.6
2
. ВИЛКА И/ИЛИ ВАЛ, ПЕРЕКЛЮЧЕНИЕ (1-2) - ЗАМЕНА
5660300
5.3
5.3
5.2
ВКЛ.: при необходимости снятие и установка коробки передач с главной передачей в сборе и замена отжимного подшипника сцепления
.
.
.
.
3
. ВИЛКА И/ИЛИ ВАЛ, ПЕРЕКЛЮЧЕНИЕ (3-4) - ЗАМЕНА
5660500
5.3
5.3
5.2
ВКЛ.: при необходимости снятие и установка коробки передач с главной передачей в сборе и замена отжимного подшипника сцепления
.
.
.
.
4
. ВИЛКА И/ИЛИ ВАЛ, ПЕРЕКЛЮЧЕНИЕ (5) - ЗАМЕНА
5660700
4.1
4.1
4.0
ВКЛ.: при необходимости снятие и установка коробки передач с главной передачей в сборе и замена отжимного подшипника сцепления
.
.
.
.
5
. ВИЛКА И/ИЛИ ВАЛ, ПЕРЕКЛЮЧЕНИЕ (ЗАДНИЙ ХОД) - ЗАМЕНА
5660900
4.4
4.4
4.3
ВКЛ.: при необходимости снятие и установка коробки передач с главной передачей в сборе и замена отжимного подшипника сцепления
.
.
.
.
6
. КАРТЕР КОРОБКИ ПЕРЕДАЧ С ГЛАВНОЙ ПЕРЕДАЧЕЙ В СБОРЕ - ЗАМЕНА
5661100
5.0
5.0
4.9
ВКЛ.: при необходимости снятие и установка коробки передач с главной передачей в сборе и замена отжимного подшипника сцепления
.
.
.
.
s : kalos/aveo, n : nubira/lacetti, l : evanda

LT5B006
Показать иллюстрациюПеревод текста в иллюстрациях


ПЯТИСТУПЕНЧАТАЯ МКПП (D16, D20) - ДИФФЕРЕНЦИАЛЬНАЯ ПЕРЕДАЧА (567)

ОПИСАНИЕ ОПЕРАЦИИ
КОД ОПЕРАЦИИ
МОДЕЛЬ
s
n
l (сиреневый)
1
. ДИФФЕРЕНЦИАЛ В СБОРЕ - ЗАМЕНА
5670100
2.0
2.0
2.0
ВКЛ.: замена внутреннего и наружного масляного уплотнения моста
.
.
.
.
.
.
.
.
2
. БОКОВЫЕ ПОДШИПНИКИ - ЗАМЕНА
5670300
2.1
2.1
2.1
ВКЛ.: замена внутреннего и наружного масляного уплотнения моста
.
.
.
.
.
.
.
.
3
. КОЛЬЦЕВАЯ ШЕСТЕРНЯ - ЗАМЕНА
5670500
2.4
2.4
2.4
ВКЛ.: замена внутреннего и наружного масляного уплотнения моста
.
.
.
.
.
.
.
.
4
. МАЛЫЕ ШЕСТЕРНИ И БОКОВЫЕ ШЕСТЕРНИ - ЗАМЕНА
5670700
2,5
2,5
2,5
ВКЛ.: замена внутреннего и наружного масляного уплотнения моста
.
.
.
.
.
.
.
.
5
. ШЕСТЕРНЯ СПИДОМЕТРА - ЗАМЕНА
5670900
2.2
2.2
2.2
ВКЛ.: замена внутреннего и наружного масляного уплотнения моста
.
.
.
.
.
.
.
.
6
. КОРПУС ДИФФЕРЕНЦИАЛА - ЗАМЕНА
5671100
2.8
2.8
2.8
ВКЛ.: замена внутреннего и наружного масляного уплотнения моста
.
.
.
.
.
.
.
.
7
. УПЛОТНЕНИЯ, МОСТ (КОРОБКА ПЕРЕДАЧ С ГЛАВНОЙ ПЕРЕДАЧЕЙ В СБОРЕ) - ЗАМЕНА (СПРАВА)
.
.
.
.
Правый
5671300
1.1
0,9
0,9
Левый
5671400
1.1
0,9
0,9
Оба
5671500
2.0
1.7
1.7
8
. КОЛЬЦО И/ИЛИ ФЛАНЕЦ ДИФФЕРЕНЦИАЛА - ЗАМЕНА
5671700
1,2
1,2
1,2
s : kalos/aveo, n : nubira/lacetti, l : evanda

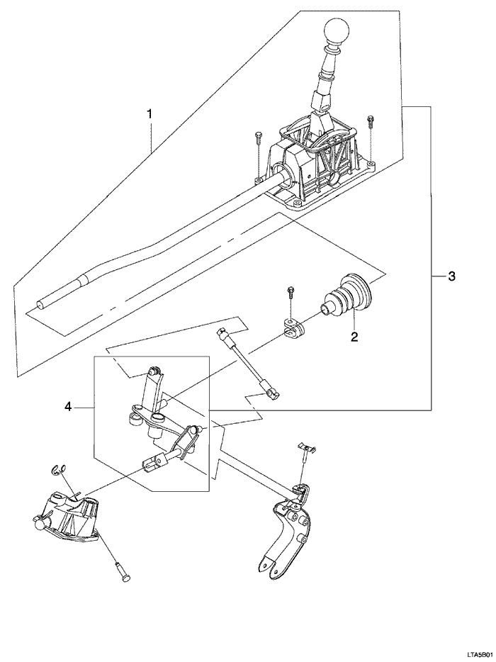
LTA5B01
Показать иллюстрациюПеревод текста в иллюстрациях


ПЯТИСТУПЕНЧАТАЯ МКПП (D16, D20) - УПРАВЛЕНИЕ ПЕРЕКЛЮЧЕНИЕМ (569)

ОПИСАНИЕ ОПЕРАЦИИ
КОД ОПЕРАЦИИ
МОДЕЛЬ
s
n
l (сиреневый)
.
. РЫЧАЖНЫЙ МЕХАНИЗМ - ЗАМЕНА
5690100
0.4
0.4
0.4
.
. РУЧКА, РЫЧАГ ПЕРЕКЛЮЧЕНИЯ ПЕРЕДАЧ - ЗАМЕНА
5690300
0.3
0.3
0.3
1
. РЫЧАГ, ПЕРЕКЛЮЧЕНИЕ ПЕРЕДАЧ - ЗАМЕНА
5690500
0.3
0.3
0.3
2
. УПЛОТНЕНИЕ И/ИЛИ ЧЕХОЛ, НАПОЛЬНЫЙ МОНТАЖ ПЕРЕКЛЮЧАТЕЛЯ ПЕРЕДАЧ - ЗАМЕНА
5690700
0.2
0.6
0.6
3
. БЛОК УПРАВЛЕНИЯ, НАПОЛЬНЫЙ МОНТАЖ ПЕРЕКЛЮЧАТЕЛЯ ПЕРЕДАЧ - ЗАМЕНА
5690900
0.8
0.8
0.8
ВКЛ.: регулировка рычажного механизма
.
.
.
.
4
. ШТОК, ПЕРЕКЛЮЧЕНИЕ ПЕРЕДАЧ - ЗАМЕНА
5691100
0.2
0.2
0.2
s : kalos/aveo, n : nubira/lacetti, l : evanda
На предыдущую страницуНа следующую страницу


https://vnx.su/ 🛠 Руководства по ремонту и эксплуатации для автомобилей

Поиск по сайту

Остались вопросы или пожелания? Пишите на почту: support@vnx.su

Карта Сайта