К началу документа
Tacuma
На предыдущую страницуНа следующую страницу
Главная страница GMDEЗагрузить нединамическое оглавлениеЗагрузить динамическое оглавлениеПомощь

РАЗДЕЛ 5C

СЦЕПЛЕНИЕ

Внимание! Необходимо отсоединять отрицательный провод аккумулятора перед снятием или установкой любого электрического устройства, а также в тех случаях, когда возможно соприкосновение инструмента или оборудования с открытыми электрическими контактами. Отсоединение этого провода поможет избежать несчастного случая, а также повреждения автомобиля. Необходимо также, чтобы зажигание находилось в положении LOCK, если не будет требоваться иное.

ОПИСАНИЕ И ПРИНЦИП ДЕЙСТВИЯ

ОБЩЕЕ ОПИСАНИЕ

Ведущие детали

Ведущими элементами конструкции являются две плоские поверхности, механически обработанные и отшлифованные. Одна из них - это задняя поверхность маховика двигателя, а вторая - поверхность нажимного диска. Нажимной диск заключен в кожух сцепления, который крепится к маховику болтами.

Ведомые детали

Ведомым элементом конструкции является ведомый диск сцепления со шлицевой втулкой, которая свободно перемещается на шлицах первичного вала КПП, передавая на него крутящий момент.
Контакт между ведущими и ведомыми элементами сцепления обеспечивается усилием пружины. Источником этого усилия является нажимная пружина диафрагменного типа, установленная между нажимным диском и кожухом сцепления.

Рабочие элементы

Система привода сцепления состоит из педали сцепления, оси педали, вилки выключения сцепления и подшипника выключения.
При нажатии на педаль сцепления вилка поворачивается вокруг оси и надавливает на подшипник выключения. Подшипник передает усилие на лепестки пружины нажимного диска, размыкая сцепление.

РАСПОЛОЖЕНИЕ КОМПОНЕНТОВ

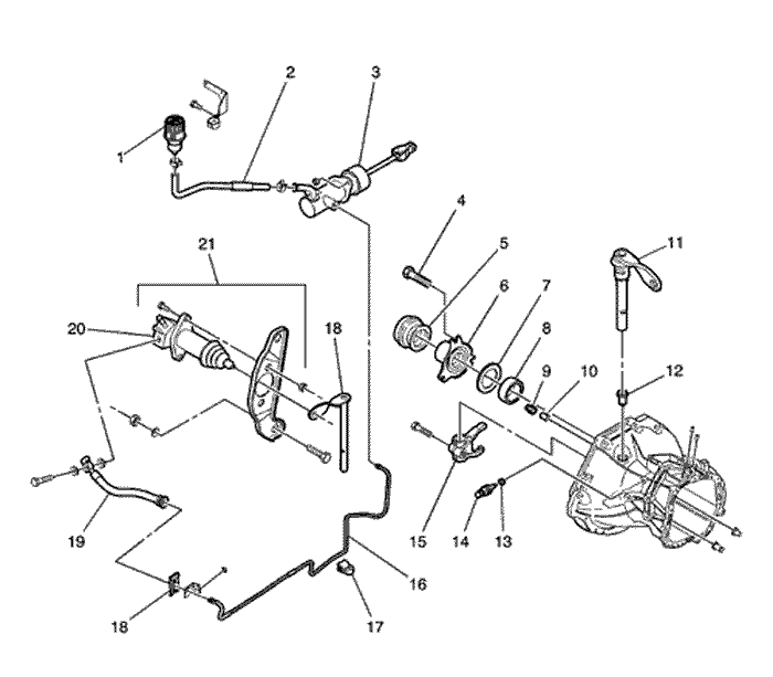
КОМПОНЕНТЫ СЦЕПЛЕНИЯ С ГИДРАВЛИЧЕСКИМ ПРИВОДОМ

Цилиндр/рычаг выключения сцепления

(показано левостороннее рулевое управление, правостороннее аналогично)

UAA5C010
Показать иллюстрациюПеревод текста в иллюстрациях


  1. Главный цилиндр
  2. Бачок трансмиссионной жидкости
  3. Шланг главного цилиндра
  4. Пружинный зажим
  5. Цилиндр выключения
  6. Цилиндр выключения сцепления
  7. Кронштейн цилиндра выключения сцепления
  8. Шланг выключения
  9. Труба гидравлического сцепления
  10. Хомут
  11. Рычаг вилки выключения сцепления
  12. Вкладыш
  13. Штифт
  14. Масляное уплотнение вторичного вала
  15. Болт
  16. Подшипник выключения сцепления
  17. Втулка подшипника выключения
  18. Уплотнительное кольцо
  19. Сальник первичного вала
  20. Резьбовая пробка
  21. Магнит
  22. Вилка выключения
  23. Выключатель света заднего хода
  24. Шайба

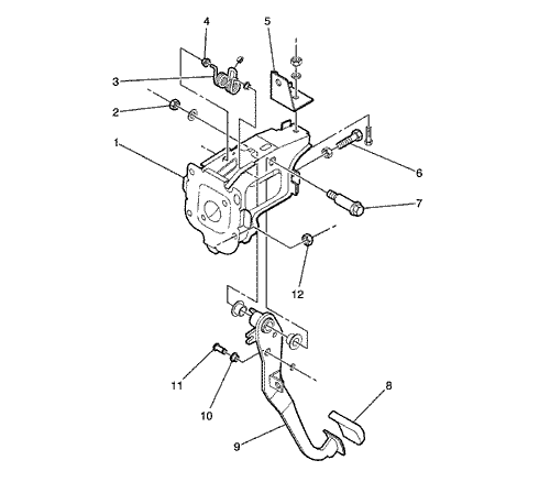
Педаль сцепления


UAA5C020
Показать иллюстрациюПеревод текста в иллюстрациях


  1. Кронштейн педали сцепления
  2. Гайка
  3. Пружина с шайбой
  4. Пружина
  5. Пружинная втулка
  6. Вкладыш
  7. Кронштейн педали
  8. Болт
  9. Шток педали сцепления
  10. Педаль сцепления
  11. Накладка педали
  12. Штифт
  13. Вкладыш
  14. Вкладыш

Ведомый диск


A103C003
Показать иллюстрациюПеревод текста в иллюстрациях


  1. Маховик
  2. Ведомый диск
  3. Нажимной диск
  4. Подшипник выключения сцепления

ДИАГНОСТИЧЕСКАЯ ИНФОРМАЦИЯ И ПРОЦЕДУРЫ

РАБОТА СЦЕПЛЕНИЯ

Неполное выключение (сцепление "ведет")

Проверки
Операция
ОПРЕДЕЛЕНИЕ: При выжатой до пола педали сцепления затруднено включение и выключение заднего хода (затрудненный ход рычага).
Проверить привод на ослабление.
Отрегулировать или заменить привод.
Проверить ведомый диск сцепления на наличие повреждений.
Заменить поврежденный ведомый диск сцепления.
Проверить правильность установки вилки выключения сцепления.
Снять и переустановить ось вилки выключения сцепления. Слегка смазать концы вилки выключения в районе подшипника маслом для колесных подшипников.
Убедиться в отсутствии заедания муфты диска сцепления на шлицах первичного вала КПП.
Устранить заедание при его наличии или заменить муфту диска сцепления.
Проверить ведомый диск сцепление на коробление или перекос.
Заменить дефектный диск.

Неполное включение сцепления (сцепление "буксует")

Проверки
Операция
Убедиться, что водитель правильно пользуется сцеплением.
Объяснить водителю, как правильно пользоваться сцеплением.
Проверить ведомый диск сцепления на замасливание.
Устранить течь масла и установить новый диск сцепления.
Проверить фрикционные накладки на износ или повреждение.
Заменить изношенный диск на новый.
Проверить нажимной диск сцепления и маховик на коробление.
Заменить нажимной диск.
Проверить правильность установки ведомого диска.
Провести пуск двигателя 30-40 раз. Не допускать перегрева двигателя.
Проверить, не перегревается ли ведомый диск.
Подождать пока ведомый диск сцепления остынет.

Рывки при работе сцепления

Проверки
Операция
Проверить фрикционные накладки на пригорание или коксование вследствие замасливания.
Устранить течь масла и установить новый диск сцепления.
Проверить шлицы первичного вала КПП на износ.
Заменить изношенный первичный вал.
Проверить нажимной диск сцепления и маховик на коробление.
В случае обнаружения неисправности заменить нажимной диск сцепления или маховик.
Проверить наличие следов пригоревшей смолы на поверхности маховика или нажимного диска.
Шкуркой удалить следы смолы. Заменить любые потрескавшиеся детали.

Стук (треск)

Проверки
Операция
Проверить ослабление возвратных пружин.
Заменить нажимной диск.
Проверить ослабление вилки выключения сцепления.
Снять и переустановить вилку выключения сцепления.
Проверить наличие масла в демпфере ведомого диска.
Устранить причину утечки масла и заменить ведомый диск сцепления.
Проверить наличие повреждений пружин демпфера.
Заменить ведомый диск сцепления.

Повышенный шум подшипника выключения при полностью включенном сцеплении

Проверки
Операция
Убедиться, что водитель правильно пользуется сцеплением.
Объяснить водителю, как правильно пользоваться сцеплением.
Проверить подшипник выключения сцепления на заедание.
Очистить и смазать подшипник. Проверить подшипник выключения на наличие царапин и задиров.
Проверить правильность установки рычага выключения сцепления.
Снять и переустановить рычаг выключения сцепления.
Проверить возвратную пружину привода выключения сцепления на ослабление.
Заменить ослабленную пружину привода выключения сцепления.

Шум

Проверки
Операция
Проверить износ подшипника выключения сцепления.
Заменить изношенный подшипник выключения сцепления.
Проверить правильность установки рычага выключения сцепления.
Снять и переустановить ось вилки выключения сцепления. Слегка смазать концы вилки выключения в районе подшипника маслом для колесных подшипников.

Педаль сцепления не возвращается в исходное положение

Проверки
Операция
Проверить привод и подшипник выключения сцепления на заедание.
Смазать и разблокировать привод или подшипник.
Проверить нажимную пружину на ослабление.
Заменить нажимной диск.

Повышенное усилие на педали сцепления

Проверки
Операция
Проверить привод выключения сцепления на заедание.
Смазать и разблокировать привод выключения сцепления.
Проверить износ ведомого диска сцепления.
Заменить изношенный ведомый диск сцепления.

ИНСТРУКЦИЯ ПО РЕМОНТУ

РАБОТЫ, ВЫПОЛНЯЕМЫЕ НА АВТОМОБИЛЕ



A103C049
Показать иллюстрациюПеревод текста в иллюстрациях


ПЕДАЛЬ СЦЕПЛЕНИЯ

(показано левостороннее рулевое управление, правостороннее аналогично)

Процедура снятия и установки

  1. Отсоедините провод от отрицательного вывода аккумуляторной батареи.
  2. Отсоединить возвратную пружину от кронштейна педали сцепления.


  3. A103C036
    Показать иллюстрациюПеревод текста в иллюстрациях


  4. Скрутить гайку, снять шайбу и извлечь ось педали сцепления.
  5. Примечание к процедуре установки
    Момент затяжки
    18 Н•м (13 lb-ft)


    A103C067
    Показать иллюстрациюПеревод текста в иллюстрациях


  6. Снять стопорное кольцо и извлечь болт толкателя цилиндра.
  7. Снять педаль сцепления с возвратной пружиной с автомобиля.


A103C025
Показать иллюстрациюПеревод текста в иллюстрациях


ВЕДОМЫЙ ДИСК СЦЕПЛЕНИЯ И ЕГО ЭЛЕМЕНТЫ

Необходимое оборудование

J-36547: приспособление для установки сальника первичного вала
J-42474 Оправка для центровки ведомого диска сцепления

Процедура снятия и установки

  1. Отсоедините провод от отрицательного вывода аккумуляторной батареи.
  2. Поднятие и подпорка автомобиля.
  3. Снять левое переднее колесо. См. Раздел 2Е, Шины и колёса.
  4. Снять защиту картера двигателя. См. "Раздел 9N, рама и нижняя часть кузова".
  5. Снять КПП с автомобиля. См. Раздел 5B, "Пятиступенчатая механическая коробка переключения передач".
  6. Выкрутить болты крепления нажимного диска к маховику и снять нажимной диск сцепления. При выкручивании последнего болта необходимо придерживать диск.


  7. A103C044
    Показать иллюстрациюПеревод текста в иллюстрациях


    Примечания по регулировке:
    Примечание к процедуре установки
    Момент затяжки
    15 Н•м (11 lb-ft)


    A103C026
    Показать иллюстрациюПеревод текста в иллюстрациях


  8. Снять ведомый диск.


  9. A103C027
    Показать иллюстрациюПеревод текста в иллюстрациях


  10. Выкрутить болт крепления вилки выключения сцепления.
  11. Примечание к процедуре установки
    Момент затяжки
    35 Н•м (26 lb-ft)


    A103C028
    Показать иллюстрациюПеревод текста в иллюстрациях


  12. Вытянуть вверх ось вилки выключения сцепления.


  13. A103C029
    Показать иллюстрациюПеревод текста в иллюстрациях


  14. Снять вилку и подшипник выключения с втулки подшипника.
  15. Примечание к процедуре установки


    A103C033
    Показать иллюстрациюПеревод текста в иллюстрациях


  16. Снять втулки рычага вилки выключения сцепления.
  17. Примечание к процедуре установки


    A103C030
    Показать иллюстрациюПеревод текста в иллюстрациях


  18. Снять болты направляющей втулки подшипника выключения сцепления и направляющие втулки подшипника выключения сцепления.
  19. Примечание к процедуре установки
    Момент затяжки
    5 Н•м (45 lb-in)


    A103C031
    Показать иллюстрациюПеревод текста в иллюстрациях


  20. Снять сальник первичного вала с втулки подшипника выключения.
  21. Примечание к процедуре установки


    A103032
    Показать иллюстрациюПеревод текста в иллюстрациях


  22. Извлечь уплотнительное кольцо из канавки в картере КПП.
  23. Установка проводится в последовательности, обратной снятию.


A103C010
Показать иллюстрациюПеревод текста в иллюстрациях


РЕГУЛИРОВКА ПЕДАЛИ СЦЕПЛЕНИЯ (СИСТЕМА С ГИДРОПРИВОДОМ)

(показано левостороннее рулевое управление, правостороннее аналогично)

Процедура регулировки

  1. Измерить свободный ход педали. Слегка нажать на педель сцепления рукой и измерить ход педали, после которого почувствуется сопротивление.


  2. A103C051
    Показать иллюстрациюПеревод текста в иллюстрациях


  3. Отрегулировать свободный ход педали сцепления. Освободить стопорную гайку и повернуть толкатель. Свободный ход педали должен составлять 6-12 мм (0,2-0,5 дюйма). По окончании регулировки затянуть стопорную гайку.


  4. A103C038
    Показать иллюстрациюПеревод текста в иллюстрациях


  5. Измерить ход педали. Выжать педаль сцепления до упора в пол. Измерять ход следует с начальной точки до конечной точки.


  6. A103C039
    Показать иллюстрациюПеревод текста в иллюстрациях


  7. Отрегулировать ход педали. Ослабить стопорную гайку и повернуть болт. Ход педали должен составлять более 130 мм (5,1 дюйма). По окончании регулировки затянуть стопорную гайку.


A103C001
Показать иллюстрациюПеревод текста в иллюстрациях


РЕГУЛИРОВКА МОМЕНТА ВЫКЛЮЧЕНИЯ СЦЕПЛЕНИЯ (СИСТЕМА С ГИДРОПРИВОДОМ)

Процедура регулировки

  1. Включить стояночный тормоз.
  2. Двигатель должен работать на холостом ходу.
  3. Перемещая рычаг переключения передач в положение "задний ход", медленно выжать педаль сцепления и измерить расстояние между точкой, в которой не слышен шум шестерен, и точкой, в которой педаль полностью утоплена. Измеренное расстояние должно составлять более 30 мм (1,2 дюйма).
  4. Если измеренное расстояние меньше 30 мм (1,2 дюйма), необходимо проверить следующее:


A103C013
Показать иллюстрациюПеревод текста в иллюстрациях


УДАЛЕНИЕ ВОЗДУХА ИЗ СИСТЕМЫ ГИДРОПРИВОДА

    Примечание: Данная процедура предназначена для удаления воздуха, попавшего в систему после отсоединения трубок гидропривода при проведении ремонта. Уровень тормозной жидкости (используемой также и в системе гидропривода сцепления) в бачке во время удаления воздуха должен быть не ниже отметки MIN. Автомобили с правосторонним управлением использую отдельный бачок трансмиссионной жидкости.

  1. Надеть резиновую трубку на штуцер прокачки. Поместить второй конец трубки в прозрачный сосуд, частично заполненный тормозной жидкостью.
  2. Несколько раз медленно выжать педаль сцепления.
  3. При нажатии на педаль сцепления медленно открутить штуцер, чтобы жидкость начала выливаться по трубке. Закрутить штуцер.
  4. Повторять шаг 3 до тех пор, пока не прекратится выход пузырьков из трубки.
  5. Долить трансмиссионную жидкость в бачок до отметки max.


A103C046
Показать иллюстрациюПеревод текста в иллюстрациях


ГЛАВНЫЙ ЦИЛИНДР СЦЕПЛЕНИЯ В СБОРЕ

(показано левостороннее рулевое управление, правостороннее аналогично)

Процедура снятия и установки

    Примечание: Перед тем как отсоединять шланг системы гидропривода сцепления от бачка с тормозной жидкостью, следует слить жидкость из бачка. Автомобили с правосторонним управлением использую отдельный бачок трансмиссионной жидкости.

  1. Отсоедините провод от отрицательного вывода аккумуляторной батареи.
  2. Снять хомут крепления шланга на штуцере главного цилиндра. Снять шланг со штуцера главного цилиндра.


  3. B103C001
    Показать иллюстрациюПеревод текста в иллюстрациях


  4. Отсоединить трубку от главного цилиндра.


  5. A103C037
    Показать иллюстрациюПеревод текста в иллюстрациях


  6. Снять стопорное кольцо и извлечь болт толкателя цилиндра из педали и скобы толкателя.
  7. Установка проводится в последовательности, обратной снятию.


  8. B103C002
    Показать иллюстрациюПеревод текста в иллюстрациях


  9. Скрутить стопорные гайки кронштейна главного цилиндра. Снять главный цилиндр.
  10. Примечание к процедуре установки
    Момент затяжки
    22 Н•м (16 lb-ft)
  11. Установка проводится в последовательности, обратной снятию.


B103C004
Показать иллюстрациюПеревод текста в иллюстрациях


ЦИЛИНДР ВЫКЛЮЧЕНИЯ СЦЕПЛЕНИЯ В СБОРЕ

Процедура снятия и установки

  1. Отсоедините провод от отрицательного вывода аккумуляторной батареи.
  2. Выкрутить болт и отсоединить шланг от цилиндра выключения сцепления.
  3. Примечания по выравниванию уровня жидкости:


    B103C003
    Показать иллюстрациюПеревод текста в иллюстрациях


  4. Выкрутить болты крепления и снять цилиндр выключения сцепления с КПП.
  5. Примечание к процедуре установки
    Момент затяжки
    60 Н•м (44 lb-ft)
  6. Установка проводится в последовательности, обратной снятию.


UAA5C030
Показать иллюстрациюПеревод текста в иллюстрациях


БАЧОК ТРАНСМИССИОННОЙ ЖИДКОСТИ

Процедура снятия и установки

  1. Слить трансмиссионную жидкость
  2. Отсоединить шланг бачка и снять бачок трансмиссионной жидкости
  3. Установка проводится в последовательности, обратной снятию.

РЕМОНТ АГРЕГАТА



A103C043
Показать иллюстрациюПеревод текста в иллюстрациях


ГЛАВНЫЙ ЦИЛИНДР СЦЕПЛЕНИЯ

Порядок разборки и сборки

  1. Снять главный цилиндр сцепления в сборе с автомобиля. См. "Главный цилиндр сцепления в сборе" в этом разделе.
  2. Снять защитный кожух и извлечь стопорное кольцо поршня с помощью специального приспособления.


  3. A103C048
    Показать иллюстрациюПеревод текста в иллюстрациях


  4. Снять толкатель и поршень.
  5. Проверить зеркало главного цилиндра сцепления и поршень на наличие следов износа. При необходимости заменить поршень.
  6. Проверить чашку и поршень на износ. Наличие утечек свидетельствует об износе чашки и поршня. При необходимости заменить чашку и поршень.
  7. Проверить толкатель на износ. При необходимости провести ремонт толкателя.
  8. Примечание к процедуре установки
  9. Процедура сборки выполняется в обратной последовательности.


A103C053
Показать иллюстрациюПеревод текста в иллюстрациях


ЦИЛИНДР ВЫКЛЮЧЕНИЯ СЦЕПЛЕНИЯ

Порядок разборки и сборки

  1. Снять цилиндр выключения сцепления в сборе с автомобиля. См. "Цилиндр выключения сцепления в сборе" в этом разделе.
  2. Выкрутить болты и снять кронштейны.


  3. A103C041
    Показать иллюстрациюПеревод текста в иллюстрациях


  4. Снять защитный кожух и толкатель.


  5. A103C042
    Показать иллюстрациюПеревод текста в иллюстрациях


  6. Сжать поршень специальным приспособлением и затем снять стопорное кольцо специальным съемником.
  7. Снять поршень в сборе.
  8. Сборка проводится в последовательности, обратной разборке.
  9. Примечание к процедуре установки

ТЕХНИЧЕСКИЕ ХАРАКТЕРИСТИКИ

МОМЕНТЫ ЗАТЯЖКИ РЕЗЬБОВЫХ СОЕДИНЕНИЙ

Диапазон
Н•м
Фунт-фут
Фунт-дюйм
Болт крепления вилки выключения сцепления к оси вилки
35
26
-
Стопорные гайки главного цилиндра сцепления
22
16
-
Гайка педали сцепления
18
13
-
Болты крепления нажимного диска к маховику
15
11
-
Болты втулки подшипника выключения
5
-
45
Болты крепления цилиндра выключения сцепления
60
44
-

СПЕЦИАЛЬНЫЕ ИНСТРУМЕНТЫ

ТАБЛИЦА СПЕЦИАЛЬНЫХ ИНСТРУМЕНТОВ


A103C009
Показать иллюстрациюПеревод текста в иллюстрациях


j-36547: приспособление для установки сальника первичного вала

A103C045
Показать иллюстрациюПеревод текста в иллюстрациях


j-42474 Оправка для центровки ведомого диска сцепления


На предыдущую страницуНа следующую страницу
https://vnx.su/ 🛠 Руководства по ремонту и эксплуатации для автомобилей

Поиск по сайту

Остались вопросы или пожелания? Пишите на почту: support@vnx.su

Карта Сайта