К началу документа
Tacuma
На предыдущую страницуНа следующую страницу
Главная страница GMDEЗагрузить нединамическое оглавлениеЗагрузить динамическое оглавлениеПомощь

РАЗДЕЛ 2E

ШИНЫ И КОЛЕСА

ОПИСАНИЕ И УПРАВЛЕНИЕ

БАЛАНСИРОВКА КОЛЕС И ШИН

Существует два типа балансировки шин: статический и динамический.
Статический баланс - это равномерное распределение массы по окружности колеса. У сборок, имеющих статический дисбаланс, возникает вертикальная вибрация, называемая подскакиванием колеса. Результатом этого, в конечном счете, может стать неравномерный износ колес.

C106E002
Показать иллюстрациюПеревод текста в иллюстрациях


Динамический баланс - это равномерное распределение массы по обе стороны от оси, благодаря чему при вращении сборки не возникает тенденции к перемещению из стороны в сторону. У сборок, имеющих динамический дисбаланс, может возникать шимми колеса.

C106E001
Показать иллюстрациюПеревод текста в иллюстрациях


Общие меры предосторожности при выполнении балансировки

Удалите изнутри колеса все посторонние материалы.

Внимание! Извлеките камешки, застрявшие в протекторе, чтобы исключить травмирование оператора при выполнении динамической балансировки.

Проверьте, не повреждена ли шина. Выполните балансировку шины согласно рекомендациям изготовителя оборудования.

Балансировочные грузики


A106E003
Показать иллюстрациюПеревод текста в иллюстрациях


Если для статической балансировки колеса требуется установить дополнительный вес более 85 грамм (3,0 унции), то балансировочные грузики следует разделить между внутренней и наружной закраинами обода на как можно более равные части.
Для балансировки шин и легкосплавных колес в сборе, установленных на сборочном заводе, необходимо использовать специальные грузики с нейлоновым покрытием, фиксирующиеся на колесе.
Эти грузики рассчитаны на более толстые закраины обода легкосплавных колес. Для установки этих грузиков используйте молоток с пластмассовым бойком.
Используются также и грузики, приклеиваемые на колесе. Для установки на колесе приклеиваемых балансировочных грузиков выполните следующее.

Установка на колесо приклеиваемых балансировочных грузиков

  1. Шлифовкой очистите колесо до сплава в месте установки балансировочного грузика.
  2. Чистой тканью или бумажной салфеткой, смоченной смесью из одной части изопропилового спирта и одной части воды, протрите место, где будет установлен грузик.
  3. Просушите этот участок горячим воздухом. При прикосновении поверхность колеса должна быть теплой.
  4. Прогрейте до комнатной температуры клейкий слой, имеющийся на грузиках с обратной стороны.
  5. Снимите пленку, закрывающую грузики с обратной стороны. Не прикасайтесь к клейкой поверхности.
  6. Приложите балансировочный грузик к колесу и прижмите его рукой.
  7. Закрепите балансировочный грузик на колесе, прижав его роликом с усилием 70 - 110 Н (16 - 25 фунт).

НОМЕНКЛАТУРА ШИН


D16A002A
Показать иллюстрациюПеревод текста в иллюстрациях


195/60r15 87h
195
Ширина (мм)
/60
Профиль шины 60 % (отношение высоты к ширине × 100)
r
Радиальная
15
Диаметр обода (= внутренний диаметр шины, дюйм)
87
Индекс максимальной нагрузки
h
Индекс максимальной скорости

ИСПОЛЬЗОВАНИЕ ЦЕПЕЙ ПРОТИВОСКОЛЬЖЕНИЯ

Поскольку зазор между шиной и кузовом на определенных автомобилях ограничен, необходимо учитывать рекомендации по использованию цепей противоскольжения, приведенные в руководстве владельца автомобиля. Если необходимо использовать цепи противоскольжения, то для большинства современных моделей компании "Дэу" следует использовать цепи противоскольжения класса "S" по классификации Общества автомобильных инженеров (SAE). Они могут быть также обозначены как цепи противоскольжения серии 1100, типа PL. Эти цепи специально предназначены для того, чтобы ограничить "разлетание", возникающее при вращении колеса.
Следите за тем, чтобы использовались только цепи с мелкими звеньями, которые, включая замок, не добавляют к поверхности покрышек и внутренней стороне покрышек более чем 15 мм (0,590 дюйма). Для обеспечения правильного размещения цепи на шине, у производителей цепей противоскольжения предусмотрены определенные размеры цепи для каждого размера покрышек. Следите за тем, чтобы приобретать те цепи, которые предназначены именно для данных шин. Для устранения слабины или зазора цепи пользуйтесь резиновыми компенсаторами.
Использование цепей может неблагоприятно влиять на управление автомобилем.
После установки цепей противоскольжения соблюдайте следующие меры предосторожности:
Чтобы избежать повреждения автомобиля цепями, устанавливайте цепи на передние колеса как можно плотнее. Проехав 0,4 - 0,8 км (0,3 - 0,5 миль), снова подтяните их. Использование цепей на задних колесах не рекомендуется, поскольку они могут соприкасаться с автомобилем и повредить его. Если использовать цепи на задних колесах необходимо, то обеспечьте достаточный зазор между цепями и кузовом. Не повышайте скорость выше 70 км/час (45 миль/час) или того значения, которое указано в рекомендациях изготовителя цепи, если оно меньше. Избегайте сильных толчков, рытвин, резких поворотов и любых маневров, которые могут заставить колеса подскакивать. Следуйте всем тем инструкциям изготовителя цепи, которые не противоречат рекомендациям, приведенным выше.

ЗАМЕНА ШИН

На боковине всех шин, устанавливаемых на сборочном заводе, рядом с размерностью, вытеснен номер TPC, отражающий эксплуатационные характеристики шины. Наличие этого номера подтверждает, что данная шина удовлетворяет требованиям эксплуатационных стандартов на силу сцепления, срок службы, уровень шума, управляемость и сопротивление качению. Обычно шинам каждой размерности присваивается свой конкретный номер TPC

Внимание! Никогда, за исключением аварийных случаев, не устанавливайте на автомобиль шины разных типов, таких как радиальные, диагональные и радиально-диагональные шины, т.к. это может привести к серьезному ухудшению эксплуатационных качеств автомобиля и привести к потере управляемости.

В качестве новых используйте только шины, имеющие ту же размерность, диапазон нагрузок и конструкцию, что и шины, которые были установлены на сборочном заводе. Использование шин какой-либо другой размерности или типа конструкции может серьезно повлиять на ходовые качества, управляемость, калибровку спидометра и одометра, дорожный просвет и зазор между шиной и элементами кузова и шасси. Это требование не относится к запасной шине, входящей в комплектацию автомобиля.
Новые шины рекомендуется устанавливать парами на один и тот же мост.
Если необходимо заменить только одну шину, то подберите для нее в пару шину с наиболее сохранившимся протектором, чтобы уравнять тормозное действие.
Шины, изготовленные разными производителями, но имеющие одинаковый номер TPC, можно использовать на одном автомобиле даже несмотря на различия во внешнем виде протектора.

ВСЕСЕЗОННЫЕ ШИНЫ

На большинстве автомобилей в настоящее время устанавливают в качестве стандартных всесезонные радиальные шины со стальным брекером. Такие шины
называют "снежными" и они имеют на снегу на 37% более высокий средний показатель силы сцепления по сравнению с ранее использовавшимися, не всесезонными радиальными шинами. Улучшены также и другие эксплуатационные показатели, такие как сила сцепления на мокрой дороге, сопротивление качению, срок службы и способность сохранять давление воздуха. Это было достигнуто благодаря усовершенствованиям как в конструкции, так и в материалах протектора. Эти шины имеют обозначение "M + S", вытесненное на боковине шины, после ее размерности. Буквы "MS" вытеснены также на боковине после номера TPC.
Устанавливаемые на некоторые автомобили по дополнительному заказу шины с повышенной управляемостью не являются всесезонными. На этих шинах после размерности шины или номера TPC обозначение "MS" отсутствует.

МАРКИРОВКА ШИНЫ

Маркировка шины постоянно находится на торце двери водителя, и ею следует пользоваться для получения технических характеристик шины. В ней приведены максимальная нагрузка автомобиля, размерность шин (включая запасную) и давление воздуха в холодных шинах (включая запасную).

ЗАПАСНАЯ ШИНА

В комплект поставки данного автомобиля входит полноразмерная запасная шина с колесом.

НАКАЧИВАНИЕ КОЛЕС

Давление, рекомендованное для какой-либо модели автомобиля, тщательно рассчитывается с целью обеспечения хороших характеристик движения, управления, срока службы шин и несущей способности.
Давление в шинах рекомендуется проверять ежемесячно и перед любой продолжительной поездкой. Проверяйте шины холодными, после того как автомобиль оставался на месте в течение 3 или более часов или же после поездки продолжительностью не более 1 мили (1,6 км). Доведите давление воздуха в шине до значения, указанного в табличке, находящейся на торце двери водителя. Давление воздуха в шинах указано также в этой части в разделе "Размерность шин и давление воздуха" .
Вентили должны быть закрыты колпачками или наконечниками, чтобы исключить попадание пыли и воды.
Для продолжительного движения со скоростью до 140 км/час (85 миль/час) накачайте шины до давления, указанного на шине. Продолжительное движение со скоростью более 140 км/час (85 миль/час), даже если оно разрешается правилами, не рекомендуется, за исключением тех случаев, когда на автомобиле установлены специальные скоростные шины, которые имеются у многих продавцов шин. Если шина нагрета, то давление воздуха в ней может возрасти до 41 кПа (6 фунт/кв. дюйм).
Давление воздуха, превышающее рекомендованное значение, может стать причиной следующего:
Давление воздуха, меньшее рекомендованного значения, может стать причиной следующего:
Неравенство давления воздуха в шинах, находящихся на одном мосту, может стать причиной следующего:

ПЕРЕСТАНОВКА ШИН

Функции, выполняемые передними и задними шинами, не одинаковы и поэтому эти шины изнашиваются по-разному, в зависимости от дорожных условий, манеры вождения и других факторов.
Передние шины изнашиваются быстрее чем задние.
Чтобы избежать неодинакового износа шин и увеличить срок их службы, осматривайте шины и меняйте колеса местами через каждые 5000 км (3100 миль). После перестановки колес отрегулируйте давление воздуха в шинах и обязательно проверьте затяжку колесных гаек.

U2W6471A
Показать иллюстрациюПеревод текста в иллюстрациях


ДИАГНОСТИКА: ОСНОВНЫЕ СВЕДЕНИЯ И ВЫПОЛНЕНИЕ

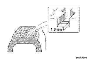
ИЗНОС ШИН

  1. Измерьте высоту протектора шины.
  2. Если высота протектора шины меньше допустимого значения, то замените шину.

D106A302
Показать иллюстрациюПеревод текста в иллюстрациях


. Предельно допустимая высота протектора
1,6 мм (0,06 дюйм)
  1. Когда высота протектора уменьшается и становится меньше 1,6 мм (0,06 мм), становятся видны индикаторы износа.

НЕРАВНОМЕРНЫЙ ИЛИ ЧРЕЗМЕРНЫЙ ИЗНОС ШИН

СОСТОЯНИЕ
Вероятная причина
Устранение

D16A305A
Показать иллюстрациюПеревод текста в иллюстрациях


  • Низкое давление воздуха в шине.
  • Невыполнение перестановки шин.
  • Доведите давление в шине до требуемого значения.
  • Переставьте шины.

D16A305B
Показать иллюстрациюПеревод текста в иллюстрациях


  • Повышенное давление воздуха в шине.
  • Невыполнение перестановки шин.
  • Доведите давление в шине до требуемого значения.
  • Переставьте шины.

D16A305C
Показать иллюстрациюПеревод текста в иллюстрациях


  • Неправильно отрегулировано положительное схождение
  • Отрегулируйте положительное схождение.

D16A305D
Показать иллюстрациюПеревод текста в иллюстрациях


  • Отрицательное схождение.
Отрегулируйте положительное схождение.

D16A305E
Показать иллюстрациюПеревод текста в иллюстрациях


  • Неправильно отрегулированы развал или угол продольного наклона оси поворота.
  • Неисправны подвески.
  • Дисбаланс колес.
  • Невыполнение перестановки шин.
  • Проверьте поворотный кулак, рычаг, ведущую ось и подвески. Выполните ремонт или замените, если потребуется.
  • Выполните балансировку колес.
  • Переставьте шины.

УКАЗАНИЯ ПО РЕМОНТУ

РАБОТЫ, ВЫПОЛНЯЕМЫЕ НА АВТОМОБИЛЕ



UAA2E010
Показать иллюстрациюПеревод текста в иллюстрациях


КОЛЕСО

Порядок снятия и установки

  1. Отпустите колесные гайки.
  2. Приподнимите автомобиль и установите его на предусмотренные для этого опоры.
  3. Снимите колесные гайки.
  4. Примечание: Никогда не нагревайте колесо, не поддающееся снятию. Это может привести к сокращению срока службы колеса, колесных гаек и подшипников. Поскольку повредить колесо можно, если прикладывать слишком большие усилия, например, при ударах молотком по колесу или шине, то это делать не рекомендуется. Допускается легкое постукивание по колесу сбоку рукой или резиновым молотком.

  5. Снимите колесо.
  6. Примечание
    Момент затяжки
    Колесные гайки
    108 Н•м
    (80 фунт-фут)


A109E003
Показать иллюстрациюПеревод текста в иллюстрациях


БАЛАНСИРОВКА НА АВТОМОБИЛЕ.

    Балансировка на автомобиле поможет уменьшить вибрации, вызванные дисбалансом тормозного барабана, тормозного диска и колпака колеса.

    Примечание: Не допускайте вывешивания передней подвески. Если ведущая ось вращается, находясь под предельно большим углом, то могут возникнуть дополнительные вибрации, а также могут оказаться поврежденными уплотнения и соединения.

  1. Во время балансировки на автомобиле не снимайте балансировочные грузики, установленные при динамической балансировке колес, снятых с автомобиля.
  2. Если требуется установить дополнительный вес более 1 унции (28,3 г), то следует разделить этот вес между внутренней и наружной закраинами обода.
  3. Внимание! Не вращайте колеса со скоростью, превышающей 55 км/час (35 миль/час) по спидометру. Это ограничение необходимо, поскольку, когда одно ведущее колесо вращается, а второе неподвижно, спидометр указывает лишь половину фактической скорости колеса. Вращение при высокой скорости может стать причиной повреждения или несчастного случая.

  4. Вращайте колесо с шиной в сборе с помощью двигателя.

РЕМОНТ АГРЕГАТА

ПОРИСТОСТЬ ЛИТЫХ ДИСКОВ

    Не допускается такой ремонт дисков, для которого используется сварка, нагрев или проковка.
  1. Приподнимите автомобиль и установите его на предусмотренные для этого опоры.
  2. Снимите шину и колесо в сборе. См. в этой части раздел "Колесо" .
  3. Внимание! Чтобы избежать серьезной травмы, не стойте рядом с шиной во время накачивания в нее воздуха, поскольку борт покрышки может лопнуть при резком скачке через кольцевой выступ (хамп). Не допускайте повышения давления в шине любой размерности до более чем 275 кПа (40 фунт/кв. дюйм), пока борта шины не встанут на свои места. Если при давлении 275 кПа (40 фунт/кв. дюйм) борта шины не встанут на свои места, то выпустите из шины воздух. Смажьте борта шины. Снова накачайте шину. Чрезмерно большое давление воздуха в шине может привести к разрыву борта и несчастному случаю.

  4. Местоположение утечек можно определить, накачав шину до давления 345 кПа (50 фунт/кв. дюйм) и опустив шину с колесом в сборе в воду.
  5. Пометьте места утечки и снимите шину с колеса.
  6. Зашкурьте поверхность колеса изнутри в месте утечки наждачной бумагой зернистостью (grit) 80. Очистите место утечки каким-либо обычным очистителем.
  7. Нанесите на место утечки слой клея / герметика толщиной 3,3 мм (0,13 дюйма). Оставьте на 12 часов для просушки.
  8. Установите на колесо шину. Накачайте шину до давления 345 кПа (50 фунт/кв. дюйм) и проверьте на утечки согласно шагу 3.
  9. Отрегулируйте давление в шине согласно техническим характеристикам. См. в этой части раздел "Размерность шин и давление воздуха" .
  10. Выполните балансировку шины и колеса в сборе. См. в этой части раздел "Балансировка колес и шин" .
  11. Установите шину и колесо в сборе. См. в этой части раздел "Колесо" .
  12. Опустите автомобиль.

ВОССТАНОВЛЕНИЕ ЗАЩИТНОГО ПОКРЫТИЯ ЛЕГКОСПЛАВНЫХ КОЛЕС

Прозрачное или цветное защитное покрытие наносится на поверхность легкосплавных колес их изготовителем. При повреждении или удалении этого прозрачного покрытия может начаться ухудшение физических свойств поверхности. Это может происходить в некоторых автоматических автомобильных мойках, в которых для очистки белых поверхностей и шин используются щетки, кончики щетины которых упрочнены карбидом кремния. Как только защитное покрытие оказалось поврежденным, дальнейшее ухудшение состояния поверхности будет происходить под воздействием каустических моющих средств и соли, которой посыпают дороги. Ниже описано, каким образом удалять загрязнения, выполнять очистку и восстанавливать покрытие на легкосплавных колесах.

Внимание! Чтобы избежать серьезных травм при использовании указанных ниже материалов, следуйте рекомендациям изготовителей.

Требуемые материалы:

    Amchem Alumi Prep № 33, комплект № DX533 или аналогичный химический состав для очистки и подготовки сплавов.
    Amchem Alodine № 1001, комплект № DX50T или аналогичный химический состав для получения покрытия на сплавах.
    Ditzler Delclear Acrylic Urethane Clear, комплект № DAU–75 или эквивалентный.
    Ditzler Delthane Ultra–Urethane Additive, комплект № DXR–80 или эквивалентный.
    Перед устранением повреждения сплава или прозрачного покрытия, необходимо подготовить колеса и шины.
  1. Снимите колесо с автомобиля. См. в этой части раздел "Колесо" .
  2. Пометьте положение грузов, находящихся на наружной стороне, и снимите их.
  3. Вымойте колесо изнутри и снаружи водным универсальным моющим средством. Удалите жир и масло растворителем.
  4. Перед нанесением покрытия защитите шину.
  5. С помощью влажной или сухой наждачной бумаги зернистостью (grit) 400 отшлифуйте окрашенные участки, восстановление окраски которых не потребуется. Шлифовка улучшит адгезию прозрачного покрытия.

БАЛАНСИРОВКА С ДЕМОНТАЖОМ С АВТОМОБИЛЯ

Выполните балансировку колес с помощью электронного стенда для балансировки демонтированных с автомобиля колес. Балансировочный стенд прост в эксплуатации и обеспечивает выполнение как статической, так и динамической балансировки. В отличие от балансировки, проводимой на автомобиле, при балансировке с демонтажом с автомобиля не устраняется дисбаланс тормозного барабана или диска. Этот недостаток компенсируется точностью (обычно в пределах 1/8 унции (3,5 г)). Закрепите колесо на стенде с помощью конуса, вставленного в центральное отверстие с внутренней стороны колеса; не используйте для этого отверстия для колесных болтов.

КОРРЕКЦИЯ НЕСБАЛАНСИРОВАННЫХ ШИН

Существует два способа коррекции предварительно сбалансированных шин, которые продолжают вибрировать. Первой метод заключается в использовании автоматического стенда, который нагружает шину и удаляет шлифовкой небольшие количества резины с выступающих точек на двух наружных дорожках протектора. Коррекция, выполненная этим методом, обычно не исчезает и, при правильном выполнении, не оказывает существенного влияния на внешний вид или на срок службы шины. Правка шин на стенде, оснащенном ножами, не рекомендуется из-за существенного сокращения срока службы протектора и часто возникающей необходимости повторной правки.
Второй метод заключается в демонтаже шины и установки на обод после поворота на 180 градусов. Этот метод можно использовать только для тех шин и колес, о которых известно, что они являются причиной возникновения вибрации, поскольку его использование для отбалансированных сборок скорее всего с тем же успехом приведет к возникновению вибрации.

ПОДБОР-МОНТАЖ КОЛЕСА И ШИНЫ

Подбор-монтаж шин и колес выполняется на сборочном заводе. Подбор-монтаж обеспечивает совмещение наиболее жесткой в радиальном направлении части шины (или выступающей точки), с той частью колеса, радиус которой наименьший (или в которой имеется впадина).
Выступающая точка шины помечается производителем красной краской или указывается на этикетке, приклеиваемой на наружной боковине.
Впадина колеса будет находиться в месте расположения вентиля.
Перед демонтажом шины с колеса пометьте на шине место расположения вентиля, чтобы обеспечить последующий монтаж в прежнее положение.
На новых шинах, имеющих такое же качество, как и устанавливаемые на сборочном заводе, также будут иметься метки для выступающего участка и впадины, сделанные аналогичным образом.

МОНТАЖ И ДЕМОНТАЖ ШИН

    Примечание: Для монтажа и демонтажа шин следует использовать шиномонтажный стенд.. Соблюдайте инструкции изготовителя оборудования. Не используйте для замены шин ручные инструменты или шиномонтажные лопатки. Этими инструментами можно повредить борта покрышки или обод колеса.

  1. Очистите проволочной щеткой или грубой стальной мочалкой посадочную полку обода, чтобы удалить смазку, старую резину или легкие следы ржавчины. Перед монтажом или демонтажом шины смажьте борт покрышки смазкой, предназначенной для шин.
  2. Внимание! Чтобы избежать серьезной травмы, не стойте рядом с шиной во время накачивания в нее воздуха, поскольку борт покрышки может лопнуть при резком скачке через кольцевой выступ (хамп). Не допускайте повышения давления в шине любой размерности до более чем 275 кПа (40 фунт/кв. дюйм), пока борта шины не встанут на свои места. Если при давлении 275 кПа (40 фунт/кв. дюйм) борта шины не встанут на свои места, то выпустите из шины воздух. Снова нанесите на борт смазку и накачайте шину. Чрезмерно большое давление воздуха в шине может привести к разрыву борта и несчастному случаю.

  3. После монтажа шины накачайте ее так, чтобы ее борта встали на свои места. Никогда не используйте повышение давления выше 275 кПа (40 фунт/кв. дюйм) для того, чтобы борта встали на свои места.
  4. Установите вентиль и накачайте шину до требуемого давления. Следите за тем, чтобы установочное кольцо, идущее по бортам шины, располагалось вокруг закраины обода и было видно с обеих сторон колеса. Такое положение шины обеспечивает установку обода шины на свое место.

ТЕХНИЧЕСКИЕ ХАРАКТЕРИСТИКИ

РАЗМЕРНОСТЬ ШИН И ДАВЛЕНИЕ ВОЗДУХА

Давление воздуха в шинах при полной нагрузке (общие требования)

Шины
Колесо
Передние
Задние
кПа
фунт/кв. дюйм
кПа
фунт/кв. дюйм
185/70r14
5.5J x 14 (сталь)
220
32
220
32
195/60r15
6.0Jx15 (сталь)
220
32
220
32
185/70r14
5.5J x 14 (сплав)
220
32
220
32
195/60r15
6.0Jx15 (сплав)
220
32
220
32

Давление воздуха в шинах при полной нагрузке (Западная Европа)

Шины
Колесо
Передние
Задние
кПа
фунт/кв. дюйм
кПа
фунт/кв. дюйм
195/60r15
6.0Jx15 (сталь)
220
32
220
32
195/60r15
6.0Jx15 (сплав)
220
32
220
32

ТАБЛИЦА ПРЕОБРАЗОВАНИЯ ДАВЛЕНИЯ ВОЗДУХА В ШИНАХ

кПа
фунт/кв. дюйм
кПа
фунт/кв. дюйм
кПа
фунт/кв. дюйм
140
20
185
27
235
34
145
21
190
28
240
35
155
22
200
29
250
36
160
23
205
30
275
40
165
24
215
31
310
45
170
25
220
32
345
50
180
26
230
33
380
55

МОМЕНТЫ ЗАТЯЖКИ РЕЗЬБОВЫХ СОЕДИНЕНИЙ

ПРОГРАММА
Н•м
Фунт-фут
Фунт-дюйм
Колесные гайки (легкосплавные колеса)
108
80
-
Колесные гайки (стальные колеса)
108
80
-


На предыдущую страницуНа следующую страницу
https://vnx.su/ 🛠 Руководства по ремонту и эксплуатации для автомобилей

Поиск по сайту

Остались вопросы или пожелания? Пишите на почту: support@vnx.su

Карта Сайта