К началу документа
Matiz
На предыдущую страницуНа следующую страницу
Главная страница GMDEЗагрузить нединамическое оглавлениеЗагрузить динамическое оглавлениеПомощь

РАЗДЕЛ 8A

РЕМНИ БЕЗОПАСНОСТИ

Внимание! Отсоединить провод от отрицательного вывода аккумулятора, прежде чем снимать или устанавливать какие-либо электрические устройства, а также в ситуации, когда есть возможность касания оголенных электрических контактов каким-либо инструментом или приспособлением. Отсоединение этого провода позволяет избежать травм и повреждения оборудования автомобиля. Кроме того, если не указано иное, зажигание должно находиться в положении LOCK.

ТЕХНИЧЕСКИЕ ХАРАКТЕРИСТИКИ

Моменты затяжки резьбовых соединений

ПРОГРАММА
Н·м
фунт-фут
фунт-дюйм
Болт крепления ремня безопасности
38
28
-
Нижний болт крепления ремня безопасности
38
28
-
Болт механизма втягивания ремня безопасности
38
28
-
Болты регулятора высоты ремня безопасности
38
28
-
Болт замка ремня безопасности
38
28
-

ПРИНЦИПИАЛЬНЫЕ И МОНТАЖНЫЕ СХЕМЫ

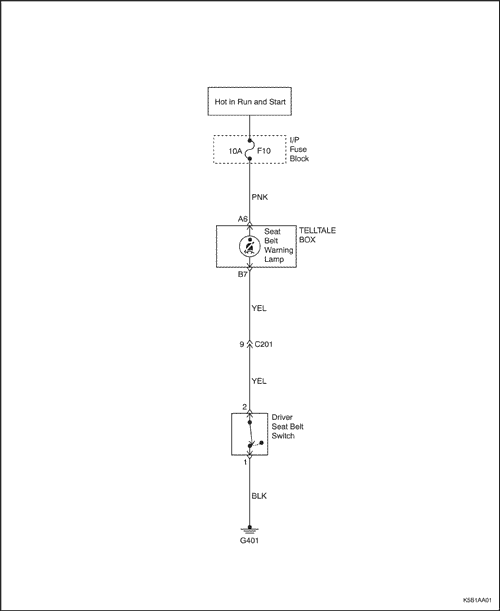
Сигнализация непристегнутого ремня безопасности водителя


k5b1aa01
Показать иллюстрациюПеревод текста в иллюстрациях


РАСПОЛОЖЕНИЕ КОМПОНЕНТОВ

ПЕРЕДНИЙ И ЗАДНИЙ РЕМЕНЬ БЕЗОПАСНОСТИ


k5b18A02
Показать иллюстрациюПеревод текста в иллюстрациях


  1. Передний ремень безопасности
  2. Замок переднего ремня безопасности
  3. Регулятор высоты переднего ремня безопасности
  4. Ремень безопасности для крайнего заднего сиденья (трехточечный)
  5. Ремень безопасности для среднего заднего сиденья (трехточечный)
  6. Ремень безопасности для среднего заднего сиденья (двухточечный) / Замок (трехточечный)
  7. Замок заднего ремня безопасности

ДИАГНОСТИКА

Не работает лампа сигнализации непристегнутого ремня безопасности

Не работает лампа сигнализации непристегнутого ремня безопасности

Состояние
Возможная причина
Исправление
  • Не работает лампа сигнализации непристегнутого ремня безопасности
  • Перегорел предохранитель f10.
  • Заменить предохранитель f10.
  • Разрыв или короткое замыкание жгута проводки лампы сигнализации непристегнутого ремня безопасности.
  • Отремонтировать жгут проводки.
  • Нарушение контакта между двумя выводами разъема со стороны выключателя.
  • Заменить выключатель ремня безопасности.
  • Нарушение соединения между контактом провода blk и массой.
  • Отремонтировать соединение с массой.
  • Перегорела лампочка сигнализации на приборной панели.
  • Заменить лампочку сигнализации.

ТЕХНИЧЕСКОЕ ОБСЛУЖИВАНИЕ И РЕМОНТ

РАБОТЫ НА АВТОМОБИЛЕ

Трехточечный передний ремень безопасности (с натяжителем)

Процедура снятия

  1. Сдвинуть переднее сиденье вперед и откинуть спинку.


  2. K5B5AA03
    Показать иллюстрациюПеревод текста в иллюстрациях


  3. Снять нижнюю панель облицовки центральной стойки. См. Раздел 9G, Облицовка салона.
  4. Удалить болт в верхней части центральной стойки.


  5. K5B5AA04
    Показать иллюстрациюПеревод текста в иллюстрациях


  6. Удалить болт механизма втягивания ремня безопасности.


K5B5AA05
Показать иллюстрациюПеревод текста в иллюстрациях


Процедура установки

    Примечание: Непосредственный контакт разнородных металлов может привести к быстрой коррозии. Во избежание преждевременной коррозии использовать надлежащий крепеж.

  1. Установить механизм втягивания ремня безопасности.
  2. Затянуть
    Затяните болт крепления механизма втягивания ремня безопасности моментом 38 Н•м (28 lb-ft).



    K5B5AA06
    Показать иллюстрациюПеревод текста в иллюстрациях


  3. Закрепить крепление ремня безопасности болтом и надеть крышку.
  4. Затянуть
    Затяните болт крепления ремня безопасности моментом 38 Н•м (28 lb-ft).

  5. Установите нижнюю панель облицовки центральной стойки. См. Раздел 9G, Облицовка салона.
  6. Установить на место спинку сиденья.


K5B5AA07
Показать иллюстрациюПеревод текста в иллюстрациях


Регулятор высоты переднего ремня безопасности (только со стороны водителя)

Процедура снятия

  1. Снять крепление ремня безопасности и удалить болт на верхней части центральной стойки. См. "Трехточечный передний ремень безопасности" в этом разделе.
  2. Снимите верхнюю панель облицовки центральной стойки. См. Раздел 9G, Облицовка салона.
  3. Удалите болты и снимите регулятор высоты ремня безопасности.


K5B5AA08
Показать иллюстрациюПеревод текста в иллюстрациях


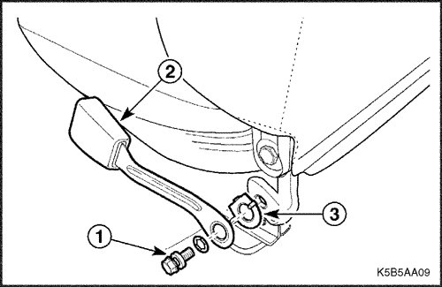
Процедура установки

  1. Закрепите регулятор высоты ремня безопасности болтами.
  2. Затянуть
    Затянуть болт крепления регулятора высоты переднего ремня безопасности моментом 38 Н•м (28 lb-ft).

  3. Установите верхнюю панель облицовки центральной стойки. См. Раздел 9G, Облицовка салона.
  4. Закрепить болтом крепление ремня безопасности на верхней части центральной стойки. См. "Трехточечный передний ремень безопасности" в этом разделе.


K5B5AA09
Показать иллюстрациюПеревод текста в иллюстрациях


Замок переднего ремня безопасности

Процедура снятия

  1. Снять замок переднего ремня безопасности.


K5B5AA10
Показать иллюстрациюПеревод текста в иллюстрациях


Процедура установки

  1. Установить замок переднего ремня безопасности.
  2. Затянуть
    Затяните болт крепления замка ремня безопасности моментом 38 Н•м (28 lb-ft).



K5B5AA11
Показать иллюстрациюПеревод текста в иллюстрациях


Трехточечный ремень безопасности для крайнего заднего сиденья

(Показан ремень безопасности для крайнего сиденья, трехточечный ремень безопасности для среднего заднего сиденья заменяется вместе со спинкой сиденья)

Процедура снятия

  1. Снять подушку заднего сиденья и спинку заднего сиденья. См. Раздел 9H, СИДЕНЬЯ.
  2. Снять боковую заднюю полку для свертков.


  3. K5B5AA12
    Показать иллюстрациюПеревод текста в иллюстрациях


  4. Удалить нижний болт на полу.
  5. Снять панель облицовки заднего порога. См. Раздел 9G, Облицовка салона.


  6. K5B5AA13
    Показать иллюстрациюПеревод текста в иллюстрациях


  7. Удалить болт на панели облицовки задней стойки.


  8. K5B5AA14
    Показать иллюстрациюПеревод текста в иллюстрациях


  9. Удалить болт механизма втягивания ремня безопасности.


K5B5AA15
Показать иллюстрациюПеревод текста в иллюстрациях


Процедура установки

  1. Установить болт механизма втягивания ремня безопасности и болт крепления.
  2. Затянуть
    Затянуть болт крепления ремня безопасности моментом 38 Н•м (28 lb-ft) (a).
    Затянуть болт крепления механизма втягивания ремня безопасности моментом 38 Н•м (28 lb-ft) (b).

  3. Установить крышку.
  4. Установить панель облицовки заднего порога. См. Раздел 9G, Облицовка салона.


  5. K5B5AA16
    Показать иллюстрациюПеревод текста в иллюстрациях


  6. Установить нижний болт на полу.
  7. Затянуть
    Затянуть болт на полу моментом 38 Н•м (28 lb-ft).



    K5B5AA17
    Показать иллюстрациюПеревод текста в иллюстрациях


  8. Установить боковую заднюю полку для свертков.
  9. Установить подушку заднего сиденья и спинку заднего сиденья. См. Раздел 9H, СИДЕНЬЯ.


K5B5AA18
Показать иллюстрациюПеревод текста в иллюстрациях


Двухточечный поясной ремень безопасности для среднего заднего сиденья и замок

Процедура снятия

  1. Снять подушку заднего сиденья. См. Раздел 9H, СИДЕНЬЯ.
  2. Снять двухточечный ремень безопасности для заднего сиденья и замок.


K5B5AA19
Показать иллюстрациюПеревод текста в иллюстрациях


Процедура установки

  1. Закрепить болтом двухточечный ремень безопасности для заднего сиденья и замок.
  2. Затянуть
    Затянуть болт крепления замка двухточечного ремня безопасности для заднего сиденья и двухточечного ремня безопасности для заднего сиденья моментом 38 Н•м (28 lb-ft).

ОБЩЕЕ ОПИСАНИЕ И РАБОТА СИСТЕМЫ

Сигнализация непристегнутого ремня безопасности водителя

Ремень безопасности водителя имеет индикатор сигнализации непристегнутого ремня на приборной панели, который напоминает водителю о непристегнутом ремне, когда включено зажигание.

Натяжитель трехточечного ремня безопасности для переднего сиденья

Передний ремень безопасности с натяжителем является опцией. Он оснащен пиротехническим механизмом втягивания с электрическим управлением, который срабатывает при лобовом столкновении (прямом или под углом), выбирая слабину ремня безопасности. После аварийной ситуации, вызвавшей срабатывание натяжителя переднего ремня безопасности, натяжитель необходимо заменить.

ТРЕХТОЧЕЧНЫЙ ПЕРЕДНИЙ РЕМЕНЬ БЕЗОПАСНОСТИ wlr

Трехточечный ремень безопасности с блокировкой механизма втягивания ремня (WLR) ограничивает движение водителя и обеспечивает лучшую защиту водителя в случае аварии.

Трехточечный передний ремень безопасности с механизмом втягивания с аварийной блокировкой (elr)

Натяжитель трехточечного переднего ремня безопасности с механизмом втягивания с аварийной блокировкой (ELR) в обычном состоянии разблокирован, что позволяет пассажиру свободно двигаться. Исключение составляют аварийные ситуации - резкое торможение, резкое ускорение или резкие повороты.

ТРЕХТОЧЕЧНЫЙ РЕМЕНЬ БЕЗОПАСНОСТИ С МЕХАНИЗМОМ ВТЯГИВАНИЯ С АВАРИЙНОЙ БЛОКИРОВКОЙ (elr) ДЛЯ КРАЙНЕГО И СРЕДНЕГО ЗАДНИХ СИДЕНИЙ

Трехточечный передний ремень безопасности с механизмом втягивания с аварийной блокировкой (ELR) для крайнего и среднего задних сидений. Натяжитель трехточечного ремня безопасности с механизмом втягивания с аварийной блокировкой (ELR) в обычном состоянии разблокирован, что позволяет пассажиру свободно двигаться. Исключение составляют аварийные ситуации - резкое торможение, резкое ускорение или резкие повороты.

Двухточечный поясной ремень безопасности для среднего заднего сиденья (в Западной Европе не поставляется)

Двухточечный поясной ремень безопасности для среднего заднего сиденья представляет собой единую непрерывную ленту. Лента ремня проходит от точки крепления через пластину защелки и затем в механизм втягивания.

Оперативные и функциональные проверки

Внимание!
  1. Проверить все болты и винты крепления ремней безопасности, чтобы убедиться, что они надежно завернуты.
  2. Осмотреть замок ремня безопасности. Замок должен легко застегиваться и расстегиваться.
  3. Вставив язычок в замок, резко дернуть за ремень. Замок не должен рассоединиться.
  4. Полностью вытянуть плечевую часть ремня и убедиться, что на ремне нет скруток и надрывов.
  5. Отпустить плечевую часть ремня, чтобы она полностью втянулась. Ремень должен втягиваться свободно.


На предыдущую страницуНа следующую страницу
https://vnx.su/ 🛠 Руководства по ремонту и эксплуатации для автомобилей

Поиск по сайту

Остались вопросы или пожелания? Пишите на почту: support@vnx.su

Карта Сайта