К началу документа
Matiz
На предыдущую страницуНа следующую страницу
Главная страница GMDEЗагрузить нединамическое оглавлениеЗагрузить динамическое оглавлениеПомощь

РЕМОНТ АГРЕГАТА



K5B53B44
Показать иллюстрациюПеревод текста в иллюстрациях


Блок шестерен

Необходимое оборудование

09913-76010: приспособление для установки втулок/сальников
DW09940-53111: приспособление для установки шестерен/подшипников
DW09943-78210: приспособление для установки втулок/сальников
DW220-010A Опора для коробки передач
KM519: приспособление для установки сальника

Порядок разборки

  1. Снять механическую КПП. См. "Механическая коробка передач с главной передачей в сборе" в этом разделе.
  2. Установить механическую коробку передач на стенд для коробки передач с помощью опоры для коробки передач dw220-010a.


  3. K5B53B24
    Показать иллюстрациюПеревод текста в иллюстрациях


  4. Снять соответствующие элементы сцепления. См. Раздел 5C, "Сцепление".
  5. Снять задний крепежный кронштейн и болты коробки передач с главной передачей в сборе.


  6. K5B53B45
    Показать иллюстрациюПеревод текста в иллюстрациях


  7. Снять выключатель света заднего хода и механизм привода спидометра.


  8. K5B53B46
    Показать иллюстрациюПеревод текста в иллюстрациях


  9. Снять рычаг выбора передач.


  10. K5B53B47
    Показать иллюстрациюПеревод текста в иллюстрациях


  11. Снять коробку управления переключением передач.
  12. Важно: Следует обязательно выкрутить стопорный болт. В противном случае коробку управления переключением передач нельзя будет снять.




    K5B53B48
    Показать иллюстрациюПеревод текста в иллюстрациях


  13. Снять заднюю крышку картера КПП.


  14. K5B53B49
    Показать иллюстрациюПеревод текста в иллюстрациях


  15. Снять шарик направляющей вилки включения пятой передачи, стопорное кольцо и стопорное кольцо ведущей шестерни пятой передачи.


  16. K5B53B50
    Показать иллюстрациюПеревод текста в иллюстрациях


  17. Снять штифт вилки включения пятой передачи.


  18. K5B53B51
    Показать иллюстрациюПеревод текста в иллюстрациях


  19. Снять вилку включения пятой передачи и ступицу скользящей муфты синхронизатора в сборе.


  20. K5B53B52
    Показать иллюстрациюПеревод текста в иллюстрациях


  21. Снять ведущую шестерню пятой передачи, блокирующее кольцо синхронизатора и подшипник шестерни пятой передачи.


  22. K5B53B25
    Показать иллюстрациюПеревод текста в иллюстрациях


  23. Снять ведомую шестерню пятой передачи.


  24. K5B53B53
    Показать иллюстрациюПеревод текста в иллюстрациях




    K5B53B54
    Показать иллюстрациюПеревод текста в иллюстрациях


  25. Снять заднюю крышку картера КПП и прокладку подшипника вторичного вала.


  26. K5B53B55
    Показать иллюстрациюПеревод текста в иллюстрациях


  27. Снять шарики и пружины штоков выбора передач.
  28. Важно: Пружина штока переключения пятой передачи/заднего хода отличается от остальных пружин. Пометьте эту пружину, чтобы облегчить последующую сборку.



    K5B53B56
    Показать иллюстрациюПеревод текста в иллюстрациях


  29. Выкрутить болт промежуточного вала (шестерни привода заднего хода).
  30. Важно: Картер КПП нельзя снять, не выкрутив предварительно болт промежуточного вала.



    K5B53B57
    Показать иллюстрациюПеревод текста в иллюстрациях


  31. Снять картер КПП.


  32. K5B53B58
    Показать иллюстрациюПеревод текста в иллюстрациях


  33. Снять рычаг включения заднего хода.


  34. K5B53B59
    Показать иллюстрациюПеревод текста в иллюстрациях


  35. Снять промежуточный вал (шестерни привода заднего хода).


  36. K5B53B60
    Показать иллюстрациюПеревод текста в иллюстрациях


  37. Снять вилку включения пятой передачи/заднего хода.
  38. a. Вилка включения пятой передачи/заднего хода.


    K5B53B61
    Показать иллюстрациюПеревод текста в иллюстрациях


  39. Снять блок шестерен.
  40. Примечание: Следует проявлять особую осторожность, чтобы не повредить зубья шестерни промежуточного вала и ведомой шестерни главной передачи.




    K5B53B62
    Показать иллюстрациюПеревод текста в иллюстрациях


  41. Снять дифференциал в сборе.


  42. K5B53B63
    Показать иллюстрациюПеревод текста в иллюстрациях


  43. Снять соответствующие элементы картера КПП.


  44. K5B53B64
    Показать иллюстрациюПеревод текста в иллюстрациях




    K5B53B65
    Показать иллюстрациюПеревод текста в иллюстрациях


  45. Снять соответствующие элементы картера сцепления.


K5B53B66
Показать иллюстрациюПеревод текста в иллюстрациях


Проверка состояния муфты синхронизатора и вилки переключения

  1. Проверить зазор между муфтой синхронизатора и вилкой переключения. Если зазор превышает допустимое значение, заменить вилку.
  2. Единица, мм (дюйм)
    Зазор
    между
    муфтой и вилкой
    Стандарт
    Предельное значение
    0,2~0,6
    (0,008~0,024)
    1.0
    (0.039)


K5B53B67
Показать иллюстрациюПеревод текста в иллюстрациях


Порядок сборки

  1. Установить соответствующие элементы картера сцепления.
  2. Важно: Следует использовать только новые сальники.

    Важно: Перед установкой следует смазать внутренние детали КПП трансмиссионным маслом.



    K5B53B68
    Показать иллюстрациюПеревод текста в иллюстрациях


  3. Установить соответствующие элементы картера КПП.
  4. a. Пробка отверстия для проверки уровня масла.

    Затянуть
    Затянуть пробку отверстия для проверки уровня масла моментом 36-54 Н•м (26-40 Lb-Ft).



    K5B53B68
    Показать иллюстрациюПеревод текста в иллюстрациях


    Затянуть
    Затянуть болты моментом 8-12 Н•м (71-106 Lb-Ft).
    b. Стопорное кольцо крышки картера.



    K5B53B69
    Показать иллюстрациюПеревод текста в иллюстрациях


  5. Установить дифференциал (1) на правую сторону картера коробки передач.


  6. K5B53B70
    Показать иллюстрациюПеревод текста в иллюстрациях


  7. Установить вилки переключения низких и высоких передач на блок шестерен.
  8. Установить блок шестерен.
  9. Примечание: Следует проявлять особую осторожность, чтобы не повредить зубья шестерни промежуточного вала и ведомой шестерни главной передачи.



    K5B53B71
    Показать иллюстрациюПеревод текста в иллюстрациях


  10. Установить шток выбора пятой передачи/заднего хода.
  11. Установить промежуточный вал (шестерни привода заднего хода) и рычаг выбора заднего хода.
  12. Важно: Совместить отметку болта промежуточного вала с выступом на картере сцепления.


    Затянуть
    Затянуть болты моментом 18-28 Н•м (13-21 фунт-фут).



    K5B53B72
    Показать иллюстрациюПеревод текста в иллюстрациях


  13. Установить шарик и пружину штока переключения передач.
  14. Затянуть
    Затянуть болты моментом 10-16 Н•м (7-12 фунт-футов) (a).

    Затянуть
    Затянуть болты моментом 10-16 Н•м (7-12 фунт-фута) (b).

    Важно: Установить пружину штока выбора пятой передачи/заднего хода, помеченную в ходе демонтажа.



    K5B53B73
    Показать иллюстрациюПеревод текста в иллюстрациях


  15. Установить картер КПП.
  16. Герметик для картера КПП
    трехкомпонентный 1215

    Затянуть
    Затянуть болты моментом 15-22 Н•м (11-16 lb-ft) (а).
    Затянуть болты моментом 15-22 Н•м (11-16 lb-ft).



    K5B53B74
    Показать иллюстрациюПеревод текста в иллюстрациях


  17. Установить шарик и пружину штока выбора первой и второй передач.
  18. Затянуть
    Затянуть болты моментом 10-16 Н•м (7-12 фунт-футов) (a).

  19. Вкрутить болт промежуточного вала (привода заднего хода).
  20. Затянуть
    Затянуть болты моментом 18-28 Н•м (13-21 lb-ft) (b).



    K5B53B75
    Показать иллюстрациюПеревод текста в иллюстрациях


  21. Установить наружное кольцо подшипника вторичного вала.
  22. (1)Наружное кольцо подшипника.

    Важно: Вращать вторичный вал, чтобы проверить правильность установки подшипника и его наружного кольца.



    K5B53B76
    Показать иллюстрациюПеревод текста в иллюстрациях


  23. Установить регулировочное кольцо подшипника вторичного вала.
  24. Единица, мм (дюйм)
    Результат измерения (a)
    Толщина регулировочного кольца
    0.33 - 0.37 (0.0130 - 0.0146)
    0.45 (0.0177)
    0.38 - 0.42 (0.0147 - 0.0165)
    0.50 (0.0197)
    0.43 - 0.47 (0.0169 - 0.0185)
    0.55 (0.0217)
    0.48 - 0.52 (0.0189 - 0.0205)
    0.60 (0.0236)
    0.53 - 0.57 (0.0209 - 0.0224)
    0.65 (0.0256)
    0.58 - 0.62 (0.0228 - 0.0244)
    0.70 (0.0276)
    0.63 - 0.67 (0.0248 - 0.0264)
    0.75 (0.0295)
    0.68 - 0.72 (0.0268 - 0.0283)
    0.80 (0.0315)
    0.73 - 0.77 (0.0287 - 0.0303)
    0.85 (0.0335)
    0.78 - 0.82 (0.0307 - 0.0323)
    0.90 (0.0354)
    0.83 - 0.87 (0.0327 - 0.0343)
    0.95 (0.0374)
    0.88 - 0.92 (0.0346 - 0.0362)
    1.00 (0.0394)
    0.93 - 0.97 (0.0366 - 0.0382)
    1.05 (0.0413)
    0.98 - 1.02 (0.0386 - 0.0402)
    1.10 (0.0433)
    1.03 - 1.07 (0.0406 - 0.0421)
    1.15 (0.0453)

    (1) Линейка
    (2) Наружное кольцо подшипника
    (3) Поверхность картера КПП


    K5B53B77
    Показать иллюстрациюПеревод текста в иллюстрациях


  25. Установить заднюю крышку картера КПП и вторичный вал пятой передачи.
  26. Затянуть
    Затянуть болты моментом 6-7 Н•м (53-62 фунт-дюйма).

    Важно: Следует использовать только новые болты.


    Важно: Обработанная поверхность выступа должна быть обращена в сторону пластины.



    K5B53B78
    Показать иллюстрациюПеревод текста в иллюстрациях


  27. Установить гайку ведомой шестерни пятой передачи.
  28. Затянуть
    Затянуть гайку ведомой шестерни пятой передачи моментом 60-80 Н•м (44-59 фунт-футов).
    • Застопорить гайку с помощью стамески и молотка (2).



    K5B53B52
    Показать иллюстрациюПеревод текста в иллюстрациях


  29. Установить подшипник ведущей шестерни пятой передачи и блокирующее кольцо синхронизатора пятой передачи.


  30. K5B53B79
    Показать иллюстрациюПеревод текста в иллюстрациях


  31. Установить ступицу скользящей муфты синхронизатора пятой передачи в сборе.
  32. Важно: При сборке ступицы и скользящей муфты расстояния A и B должны быть равными.




    K5B53B80
    Показать иллюстрациюПеревод текста в иллюстрациях


  33. Установить вилку включения пятой передачи на синхронизатор в сборе.
  34. Установить вилку включения пятой передачи с синхронизатором на первичный вал.
  35. Важно: Более длинный выступ фланца ступицы должен быть обращен внутрь. Сухарь синхронизатора необходимо выровнять с выточкой ступицы и отметкой на первичном вале.



    K5B53B81
    Показать иллюстрациюПеревод текста в иллюстрациях


  36. Установить штифт вилки включения пятой передачи.
  37. Важно: Следует использовать новый штифт.



    K5B53B82
    Показать иллюстрациюПеревод текста в иллюстрациях


  38. Установить стопорное кольцо ведущей шестерни пятой передачи, стопорное кольцо вилки включения пятой передачи и шарик направляющей.
  39. Важно: Следует использовать только новые стопорные кольца.



    K5B53B83
    Показать иллюстрациюПеревод текста в иллюстрациях


  40. Установить заднюю крышку картера КПП (1).
  41. Герметик для крышки картера КПП
    трехкомпонентный 1215

    Затянуть
    Затянуть болты крепления крышки картера моментом 8-12 Н•М (71-106 фунт-дюймов).



    K5B53B84
    Показать иллюстрациюПеревод текста в иллюстрациях


  42. Установить коробку управления переключением передач в сборе.
  43. Затянуть
    • Затянуть болты моментом 18-28 Н•м (13-21 lb-ft) (a).
    • Затянуть стопорный болт механизма выбора передач моментом 18-28 Н•м (13-21 lb-ft) (b).
    • Установить рычаг выбора передач.

    Затянуть
    Затянуть болты моментом 18-28 Н•м (13-21 lb-ft) (с).



    K5B53B85
    Показать иллюстрациюПеревод текста в иллюстрациях


  44. Установить выключатель света заднего хода и механизм привода спидометра.
  45. Затянуть
    Затянуть гайку моментом 15-18 Н•м (11-13 Lb-Ft) (а).
    • Установить механизм привода спидометра (2).

    Затянуть
    Затянуть болт до 4-7 Н•м (35-62 Lb-In) (b).



    K5B53B24
    Показать иллюстрациюПеревод текста в иллюстрациях


  46. Установить заднее крепление коробки передач с главной передачей в сборе.
  47. Затянуть
    Затянуть болты моментом 55-65 Н•м (41-48 фунт-футов).



    K5B53B44
    Показать иллюстрациюПеревод текста в иллюстрациях


  48. Установить соответствующие элементы сцепления. См. Раздел 5C, "Сцепление".
  49. Снять коробку передач с главной передачей в сборе с монтажного стенда.
  50. Установить КПП в сборе. См. "Механическая коробка передач с главной передачей в сборе" в этом разделе.


K5B53B88
Показать иллюстрациюПеревод текста в иллюстрациях


Первичный вал

Необходимое оборудование

DW09921-57810: приспособление для снятия шестерен/подшипников
DW09925-98221: приспособление для установки шестерен/подшипников
DW09940-53111: приспособление для установки шестерен/подшипников

Порядок разборки

  1. Снять блок шестерен. См. "Блок шестерен" в этом разделе.
  2. Снять правый подшипник первичного вала.


  3. K5B53B89
    Показать иллюстрациюПеревод текста в иллюстрациях


  4. Снять втулку ведущей шестерни пятой передачи, левый подшипник и шестерню четвертой передачи.
  5. (1) Втулка пятой передачи.
    (2) Левый подшипник.
    (3) Шестерня четвертой передачи


    M3C15B41
    Показать иллюстрациюПеревод текста в иллюстрациях


  6. Выпрессовать подшипник четвертой передачи.
  7. Снять блокирующее кольцо синхронизатора четвертой передачи и пружину.


  8. M3C15B42
    Показать иллюстрациюПеревод текста в иллюстрациях


  9. Снять стопорное кольцо синхронизатора третьей и четвертой передач.


  10. K5B53B90
    Показать иллюстрациюПеревод текста в иллюстрациях


  11. Снять синхронизатор третьей и четвертой передач и блокирующее кольцо синхронизатора третьей передачи.
  12. (1) Ступица синхронизатора третьей и четвертой передач.
    (2) Шестерня третьей передачи и блокирующее кольцо синхронизатора.


    M3C15B44
    Показать иллюстрациюПеревод текста в иллюстрациях


  13. Разобрать ступицу синхронизатора третьей и четвертой передач.


  14. M3C15B45
    Показать иллюстрациюПеревод текста в иллюстрациях


  15. Снять подшипник ведущей шестерни третьей передачи (1).


M3C15B46
Показать иллюстрациюПеревод текста в иллюстрациях


Проверка состояния синхронизатора

  1. Проверка износа конической зоны.
  2. Единица, мм (дюйм)
    Зазор между шестерней и кольцом
    Стандарт
    Предельное значение
    1.0 (0.039)
    0.5 (0.020)


    M3C15B47
    Показать иллюстрациюПеревод текста в иллюстрациях


  3. Проверка контакта конусных поверхностей.


  4. M3C15B48
    Показать иллюстрациюПеревод текста в иллюстрациях


  5. Проверка ширины проточки под сухарь в кольце синхронизатора.
  6. Единица, мм (дюйм)
    Ширина проточки
    Стандарт
    Предельное значение
    1-я передача
    8.2 (0.323)
    8.6 (0.039)
    2-я, 3-я, 4-я передача
    9.6 (0.378)
    10.0 (0.394)
    5-я передача
    9.4 (0.370)
    9.8 (0.386)


    M3C15B49
    Показать иллюстрациюПеревод текста в иллюстрациях


  7. Проверка износа блокирующего кольца синхронизатора.


  8. M3C15B50
    Показать иллюстрациюПеревод текста в иллюстрациях


  9. Проверка сухаря и пружины.


K5B53B91
Показать иллюстрациюПеревод текста в иллюстрациях


Порядок сборки

  1. Установить подшипник третьей передачи, шестерню и блокирующее кольцо синхронизатора.
  2. (1) Шестерня третьей передачи/блокирующее кольцо синхронизатора.
    (2) Подшипник шестерни третьей передачи.

    Важно: Смазать внутренние детали, шестерню, подшипник, сальник и пр. трансмиссионным маслом.



    K5B53B92
    Показать иллюстрациюПеревод текста в иллюстрациях


  3. Собрать ступицу синхронизатора третьей и четвертой передач.
  4. Важно: При сборке ступицы и скользящей муфты расстояния A и B должны быть равными.




    K5B53B93
    Показать иллюстрациюПеревод текста в иллюстрациях


  5. Установить синхронизатор третьей и четвертой передач в сборе.
  6. Важно: Более длинный выступ фланца ступицы должен быть обращен к шестерне третьей передачи. Сухарь синхронизатора необходимо выровнять с выточкой в кольце.




    M3C15B54
    Показать иллюстрациюПеревод текста в иллюстрациях


    Примечание: Установку шестерни, подшипника и синхронизатора проводить с помощью молотка и приспособления для установки шестерен/подшипников DW09940-53111, проявляя при этом необходимую осторожность. Чрезмерное усилие может повредить зубья шестерни.



    M3C15B42
    Показать иллюстрациюПеревод текста в иллюстрациях


  7. Установить стопорное кольцо синхронизатора третьей и четвертой передач.
  8. Установить кольцо синхронизатора четвертой передачи и полосовую пружину.
  9. Важно: Проточку кольца необходимо совместить с сухарем, установленным в синхронизаторе.



    K5B53B95
    Показать иллюстрациюПеревод текста в иллюстрациях


  10. Установить подшипник и шестерню четвертой передачи.
  11. (1) Шестерня четвертой передачи.
    (2) Подшипник шестерни четвертой передачи.


    K5B53B96
    Показать иллюстрациюПеревод текста в иллюстрациях


  12. Установить левый подшипник первичного вала и втулку пятой передачи.
  13. (1) Втулка пятой передачи.
    (2) Левый подшипник первичного вала.


    K5B53B97
    Показать иллюстрациюПеревод текста в иллюстрациях


  14. Установить правый подшипник первичного вала.
  15. Установить блок шестерен. См. "Блок шестерен" в этом разделе.


M3C15B58
Показать иллюстрациюПеревод текста в иллюстрациях


Вторичный вал

Необходимое оборудование

09913-76010: приспособление для установки втулок/сальников
DW09913-80112: приспособление для установки шестерен/подшипников
DW09921-57810: приспособление для снятия шестерен/подшипников
DW09925-98221: приспособление для установки шестерен/подшипников
DW09940-53111: приспособление для установки шестерен/подшипников
DW220-020-01: приспособление для снятия подшипников дифференциала
DW220-020-02: оправка подшипника дифференциала
DW220-020-03: оправка подшипника дифференциала
KM466-A: приспособление для снятия/установки шестерен и подшипников

Порядок разборки

  1. Снять блок шестерен. См. "Блок шестерен" в этом разделе.
  2. Снять правый подшипник вторичного вала.


  3. K5B53B98
    Показать иллюстрациюПеревод текста в иллюстрациях


  4. Снять левый подшипник вторичного вала и шестерню четвертой передачи.
  5. (1) Левый подшипник вторичного вала.
    (2) Шестерня четвертой передачи.


    K5B53B99
    Показать иллюстрациюПеревод текста в иллюстрациях


  6. Снять втулку ведомой шестерни третьей и четвертой передач.
  7. Снять ведомые шестерни третьей и четвертой передач.
  8. (1) Шестерня третьей передачи.
    (2) Шестерня второй передачи.


    M3C15B61
    Показать иллюстрациюПеревод текста в иллюстрациях


  9. Снять подшипник ведомой шестерни второй передачи.
  10. Снять блокирующее кольцо синхронизатора второй передачи.
  11. Снять стопорное кольцо синхронизатора первой и второй передач.


  12. K5B53BA0
    Показать иллюстрациюПеревод текста в иллюстрациях


  13. Снять синхронизатор первой и второй передач, шестерню первой передачи и блокирующее кольцо синхронизатора первой передачи.
  14. (1) Синхронизатор в сборе.
    (2) Шестерня первой передачи / блокирующее кольцо первой передачи.


    M3C15B63
    Показать иллюстрациюПеревод текста в иллюстрациях


  15. Разобрать синхронизатор первой и второй передач.


  16. M3C15B64
    Показать иллюстрациюПеревод текста в иллюстрациях


  17. Снять подшипник ведомой шестерни первой передачи.


K5B53B27
Показать иллюстрациюПеревод текста в иллюстрациях


Проверка состояния скользящей муфты и ступицы синхронизатора



M3C15B66
Показать иллюстрациюПеревод текста в иллюстрациях


Порядок сборки

  1. Установить детали первой передачи на вторичный вал.
  2. Важно: Смазать внутренние детали, шестерню, подшипник, сальник и пр. трансмиссионным маслом.

    Важно: Будьте внимательный, есть разница в ширине канавки сухаря между блокирующим кольцом синхронизатора первой и второй передач.



    K5B53BA1
    Показать иллюстрациюПеревод текста в иллюстрациях


    Единица, мм (дюйм)
    Ширина проточки
    Кольцо синхронизатора первой передачи (a): 8,2 (0,323)
    Кольцо синхронизатора второй передачи (b): 9,6 (0,378)
    (1) Блокирующее кольцо синхронизатора 1-й передачи
    (2) Блокирующее кольцо синхронизатора 2-й передачи


    K5B53B28
    Показать иллюстрациюПеревод текста в иллюстрациях


  3. Собрать синхронизатор первой и второй передач.
  4. Важно: При установке сухарей расстояния A и B должны быть равными.

    (1) Скользящая муфта синхронизатора.
    (2) Ступица скользящей муфты синхронизатора.


    K5B53BA2
    Показать иллюстрациюПеревод текста в иллюстрациях


  5. Установить синхронизатор первой и второй передач.
  6. Важно: Вставить сухарь в проточку блокирующего кольца синхронизатора первой передачи.



    M3C15B61
    Показать иллюстрациюПеревод текста в иллюстрациях


  7. Установить блокирующее кольцо синхронизатора второй передачи.
  8. Важно: Совместить выточку блокирующего кольца синхронизатора второй передачи с сухарем.

  9. Установить стопорное кольцо синхронизатора первой и второй передач.


  10. M3C15B70
    Показать иллюстрациюПеревод текста в иллюстрациях


  11. Установить детали второй передачи на вторичный вал.


  12. K5B53BA3
    Показать иллюстрациюПеревод текста в иллюстрациях


  13. Установить шестерню третьей передачи и втулку шестерен третьей и четвертой передач.
  14. (1) Втулка шестерен третьей и четвертой передач.
    (2) Шестерня третьей передачи.


    K5B53BA4
    Показать иллюстрациюПеревод текста в иллюстрациях


  15. Установить шестерню четвертой передачи.


  16. K5B53BA5
    Показать иллюстрациюПеревод текста в иллюстрациях


  17. Установить левый подшипник вторичного вала.


  18. M3C15B58
    Показать иллюстрациюПеревод текста в иллюстрациях


  19. Установить правый подшипник вторичного вала.
  20. Установить блок шестерен. См. "Блок шестерен" в этом разделе.


K5B53BA7
Показать иллюстрациюПеревод текста в иллюстрациях


Вилка переключения передач

Порядок разборки

  1. Снять блок шестерен. См. "Блок шестерен" в этом разделе.
  2. Снять с блока шестерен все штоки выбора передач.
  3. Снять с блока шестерен шток выбора первой и второй передач.


  4. K5B53BA8
    Показать иллюстрациюПеревод текста в иллюстрациях


    Важно: Перед снятием кронштейна и вилки необходимо отметить их положение для облегчения последующей сборки.



    K5B53BA9
    Показать иллюстрациюПеревод текста в иллюстрациях


  5. Разобрать шток включения третьей и четвертой передач в сборе.


  6. K5B53BB0
    Показать иллюстрациюПеревод текста в иллюстрациях


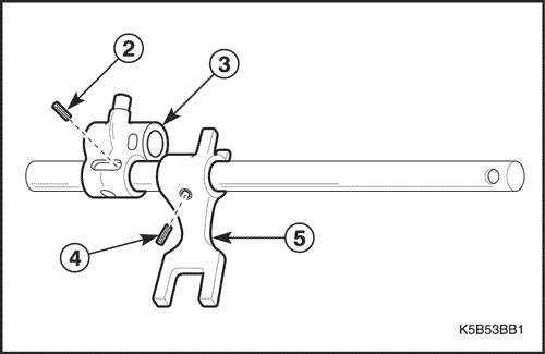
  7. Разобрать шток включения пятой передачи/заднего хода в сборе.
  8. a. Шарик штока включения пятой передачи/заднего хода.
    b. Шарик направляющей включения заднего хода и пружину.


    K5B53BB1
    Показать иллюстрациюПеревод текста в иллюстрациях




M3C15B78
Показать иллюстрациюПеревод текста в иллюстрациях


Процедура проверки штока включения передач

  1. Проверить шток на изгиб, деформацию или повреждение.
  2. При необходимости заменить шток.


K5B53BB2
Показать иллюстрациюПеревод текста в иллюстрациях


Процедура проверки вилки включения передач

  1. Проверить толщину края вилки переключения. Если толщина меньше допустимой, заменить вилку.
  2. Единица, мм (дюйм)
    Толщина края вилки переключения (мм)
    .
    Стандарт
    Предельное значение
    Вилка переключения низких передач
    8.7 (0.343)
    8.1 (0.319)
    Вилка переключения высоких передач
    7.8 (0.307)
    7.2 (0.283)
    Вилка включения пятой передачи
    7.8 (0.307)
    7.2 (0.283)


K5B53BB3
Показать иллюстрациюПеревод текста в иллюстрациях


Порядок сборки

  1. Установка проводится в последовательности, обратной снятию.
  2. Важно: При сборке следует использовать только новые штифты вилки и кронштейна.

    (1) Шток выбора низких передач.
    (2) Шток выбора высоких передач.
    (3) Шток выбора 5-й передачи/заднего хода.


M3C15B81
Показать иллюстрациюПеревод текста в иллюстрациях


Дифференциал

Порядок разборки

  1. Снять дифференциал в сборе. См. "Блок шестерен" в этом разделе.
  2. Снять ведомую шестерню главной передачи.


  3. M3C15B82
    Показать иллюстрациюПеревод текста в иллюстрациях


  4. Извлечь штифт оси сателлитов.


  5. M3C15B83
    Показать иллюстрациюПеревод текста в иллюстрациях


  6. Снять ось сателлитов.


  7. M3C15B84
    Показать иллюстрациюПеревод текста в иллюстрациях


  8. Снять сателлиты и полуосевые шестерни.
  9. Важно: Чтобы извлечь сателлиты, необходимо повернуть полуосевые шестерни.



    K5B53BB4
    Показать иллюстрациюПеревод текста в иллюстрациях


  10. Снять правый подшипник и ведущую шестерню привода спидометра.


  11. K5B53BB5
    Показать иллюстрациюПеревод текста в иллюстрациях


  12. Снять левый подшипник дифференциала.


K5B53BB6
Показать иллюстрациюПеревод текста в иллюстрациях


Проверка зазора полуосевых шестерен

  1. Измерить осевой зазор полуосевых шестерен. Если зазор превышает допустимый предел, заменить регулировочное кольцо.
  2. Единица, мм (дюйм)
    Осевой зазор шестерни полуоси в дифференциале
    .
    0.03-0.4
    (0.001-0.016)
    Единица, мм (дюйм)
    Регулировочное кольцо
    .
    .
    0.90(0.0354) 0.95(0.0374)
    1.00(0.0394) 1.05(0.0413)
    1.10(0.0433) 1.15(0.0453)
    1.20(0.0472)


    K5B53BB7
    Показать иллюстрациюПеревод текста в иллюстрациях


  3. Проверить регулировочное кольцо на износ или наличие царапин. При необходимости заменить.
  4. (1) Шестерня полуоси.
    (2) Оправка.


K5B53BB8
Показать иллюстрациюПеревод текста в иллюстрациях


Порядок сборки

  1. Установить левый подшипник дифференциала.
  2. Важно: Смазать внутренние детали, подшипник, шайбу, регулировочное кольцо и пр. трансмиссионным маслом.



    K5B53BB9
    Показать иллюстрациюПеревод текста в иллюстрациях


  3. Установить правый подшипник дифференциала и ведущую шестерню привода спидометра.


  4. M3C15B91
    Показать иллюстрациюПеревод текста в иллюстрациях


  5. Установить полуосевые шестерни и сателлиты.
  6. Важно: Сателлиты с шайбами следует устанавливать одновременно.



    M3C15B92
    Показать иллюстрациюПеревод текста в иллюстрациях


  7. Установить ось сателлитов и закрепить ее штифтом.
  8. Важно: При сборке необходимо использовать новый штифт.



    M3C15B93
    Показать иллюстрациюПеревод текста в иллюстрациях


  9. Установить ведомую шестерню главной передачи.
  10. Затянуть
    Затянуть болты моментом 80-100 Н•м (59-74 фунт-футов).

  11. Установить дифференциал в сборе. См. "Блок шестерен" в этом разделе.


На предыдущую страницуНа следующую страницу
https://vnx.su/ 🛠 Руководства по ремонту и эксплуатации для автомобилей

Поиск по сайту

Остались вопросы или пожелания? Пишите на почту: support@vnx.su

Карта Сайта