К началу документа
Matiz
На предыдущую страницуНа следующую страницу
Главная страница GMDEЗагрузить нединамическое оглавлениеЗагрузить динамическое оглавлениеПомощь

ТЕХНИЧЕСКОЕ ОБСЛУЖИВАНИЕ И РЕМОНТ

ТЕКУЩЕЕ ТЕХНИЧЕСКОЕ ОБСЛУЖИВАНИЕ АВТОМОБИЛЯ



K5B53B01
Показать иллюстрациюПеревод текста в иллюстрациях


Механическая КПП в сборе

Необходимое оборудование

DW110-021 Кронштейн для подвески двигателя

Порядок снятия

  1. Демонтировать воздухоочиститель. См. Раздел 1В, "Механическая система двигателя SOHC".
  2. Снять аккумуляторную батарею и полку аккумуляторной батареи. См. Раздел 1E, Электрическая система двигателя.
  3. Отсоединить тросы механизма выбора и переключения передач.


  4. K5B53B02
    Показать иллюстрациюПеревод текста в иллюстрациях


  5. Отсоединить гибкую скобу жгута проводов двигателя.
  6. Отсоединить провод массы, разъем выключателя датчика О2 и разъем выключателя фонаря заднего хода.


  7. K5B53B03
    Показать иллюстрациюПеревод текста в иллюстрациях


  8. Отсоединить нижний шланг радиатора.
  9. Снять датчик положения коленчатого вала (ДПКВ).
  10. Снять нижнюю крышку картера КПП. См. "Раздел 9N, рама и нижняя часть кузова".


  11. K5B11E06
    Показать иллюстрациюПеревод текста в иллюстрациях


  12. Снять стартер. См. Раздел 1E, Электрическая система двигателя.


  13. K5B15B06
    Показать иллюстрациюПеревод текста в иллюстрациях


  14. Закрепить двигатель.


  15. K5B53B04
    Показать иллюстрациюПеревод текста в иллюстрациях


  16. Спустить жидкость коробки передач.
  17. Отсоединить трос привода сцепления.


  18. K5B53B05
    Показать иллюстрациюПеревод текста в иллюстрациях


  19. Разъединить электрический разъем датчика скорости автомобиля.


  20. K5B53B34
    Показать иллюстрациюПеревод текста в иллюстрациях


  21. Снять рычаги передней подвески и штангу стабилизатора. См. Раздел 2C, "Передняя подвеска".
  22. Снять вал привода (только со стороны КПП). См. Раздел 3B, "Ведущий мост механической КПП".


  23. K5B53B06
    Показать иллюстрациюПеревод текста в иллюстрациях


  24. Снять нижнюю крышку картера сцепления.


  25. K5B53B07
    Показать иллюстрациюПеревод текста в иллюстрациях


  26. Снять приемную трубу глушителя. См. Раздел 1G, "Система выпуска отработавших газов".


  27. K5B53B08
    Показать иллюстрациюПеревод текста в иллюстрациях


  28. Выкрутить верхние болты крепления КПП.
  29. (1) Боковой болт выпускного коллектора.
    (2) Боковой болт корпуса термостата.


    K5B53B09
    Показать иллюстрациюПеревод текста в иллюстрациях


  30. Снять реактивную тягу.


  31. K5B53B10
    Показать иллюстрациюПеревод текста в иллюстрациях


  32. Опереть КПП на специально предназначенный для этого домкрат.


  33. K5B53B33
    Показать иллюстрациюПеревод текста в иллюстрациях


  34. Снять нижний болт и гайку коробки передач с главной передачей в сборе.
  35. (1) Нижний болт.
    (2) Нижняя гайка.


    K5B53B11
    Показать иллюстрациюПеревод текста в иллюстрациях


  36. Снять крепежные болты коробки передач с главной передачей в сборе. См. "Крепление коробки передач с главной передачей в сборе" в этом разделе.


  37. K5B53B10
    Показать иллюстрациюПеревод текста в иллюстрациях


  38. Снять механическую КПП в сборе.
  39. Сдвинуть КПП в сторону от двигателя.
  40. Осторожно опустить КПП.


  41. K5B53C15
    Показать иллюстрациюПеревод текста в иллюстрациях


  42. Выставить двигатель в нормальное положение с помощью кронштейна для подвески двигателя dw110-021.
  43. Примечание: Ненормальное положение двигателя может привести к повреждению сопряженных деталей или засечке с ними. При снятии коробки передач с главной передачей в сборе выставить двигатель в нормальное положение.

    Важно: Если использовать специальный инструмент невозможно, выставить двигатель в нормальное положение с помощью домкрата.



K5B53B10
Показать иллюстрациюПеревод текста в иллюстрациях


Порядок установки

  1. Опереть КПП на домкрат.
  2. Аккуратно установить коробку передач с главной передачей в сборе.


  3. K5B53B33
    Показать иллюстрациюПеревод текста в иллюстрациях


  4. Установить нижний болт и гайку коробки передач с главной передачей в сборе.
  5. Затянуть
    Затянуть болт и гайку моментом 55-65 Н•м (41-48 Lb-Ft).

    (1) Нижний болт.
    (2) Нижняя гайка.


    K5B53B11
    Показать иллюстрациюПеревод текста в иллюстрациях


  6. Установить крепежные болты коробки передач с главной передачей в сборе. См. "Крепление коробки передач с главной передачей в сборе" в этом разделе.


  7. K5B53B09
    Показать иллюстрациюПеревод текста в иллюстрациях


  8. Установить реактивную тягу (3).
  9. Затянуть
    Затянуть болт и гайку реактивной тяги (1) моментом 75-85 Н•м (55-63 Lb-Ft).
    Затянуть соединительный болт и винт реактивной тяги (2) моментом 75-85 Н•м (55-63 Lb-Ft).



    K5B53B10
    Показать иллюстрациюПеревод текста в иллюстрациях


  10. Снять домкрат с коробки передач с главной передачей в сборе.


  11. K5B53B07
    Показать иллюстрациюПеревод текста в иллюстрациях


  12. Установить приемную трубу глушителя. См. Раздел 1G, "Система выпуска отработавших газов".


  13. K5B53B08
    Показать иллюстрациюПеревод текста в иллюстрациях


  14. Вкрутить верхние болты крепления КПП.
  15. Затянуть
    Затянуть болты моментом 55-65 Н•м (41-48 фунт-футов).

    (1) Боковой болт выпускного коллектора.
    (2) Боковой болт корпуса термостата.


    K5B53B06
    Показать иллюстрациюПеревод текста в иллюстрациях


  16. Установить нижнюю крышку картера сцепления.


  17. K5B53B34
    Показать иллюстрациюПеревод текста в иллюстрациях


  18. Подключить передний мост. См. Раздел 3B, "Ведущий мост механической КПП".
  19. Установить рычаги передней подвески и штангу стабилизатора. См. Раздел 2C, "Передняя подвеска".


  20. K5B15B06
    Показать иллюстрациюПеревод текста в иллюстрациях


  21. Удалить кронштейн для подвески двигателя dw110-021.


  22. K5B11E06
    Показать иллюстрациюПеревод текста в иллюстрациях


  23. Установить стартер. См. Раздел 1E, Электрическая система двигателя.


  24. K5B53B05
    Показать иллюстрациюПеревод текста в иллюстрациях


  25. Соединить электрический разъем датчика скорости автомобиля.


  26. K5B53B03
    Показать иллюстрациюПеревод текста в иллюстрациях


  27. Установить нижний шланг радиатора и датчик положения коленчатого вала (СКР).
  28. Затянуть
    Затянуть болт крепления нижнего шланга радиатора (1) моментом 8-15 Н•м (70-132 Lb-In).
    Затянуть болт датчика положения коленчатого вала (2) моментом 5-8 Н•М (44-70 Lb-In).



    K5B53B02
    Показать иллюстрациюПеревод текста в иллюстрациях


  29. Присоединить провод массы (1), разъем выключателя фонаря заднего хода (3) и разъем выключателя датчика О2 (2).
  30. Затянуть
    Затянуть болт крепления провода массы (1) моментом 15-22 Н•м (11-16 Lb-Ft).

  31. Присоединить гибкую скобу жгута проводов двигателя.


  32. K5B53B01
    Показать иллюстрациюПеревод текста в иллюстрациях


  33. Подсоединить тросы механизма выбора и переключения передач.
  34. Установить аккумуляторную батарею и полку аккумуляторной батареи. См. Раздел 1E, Электрическая система двигателя.
  35. Установить воздухоочиститель. См. Раздел 1В, "Механическая система двигателя SOHC".


  36. K5B53B12
    Показать иллюстрациюПеревод текста в иллюстрациях


  37. Заново залить жидкость в коробку передач.
  38. Затянуть
    Затянуть заглушку барабана (а) до 25-30 Н•м (18-22 Lb-Ft).

    Затянуть
    Затянуть пробку отверстия для проверки уровня масла моментом 36-54 Н•м (26-40 Lb-Ft).



    K5B53C01
    Показать иллюстрациюПеревод текста в иллюстрациях


  39. Отрегулировать трос привода сцепления. См. Раздел 5C, "Сцепление".
  40. Установить нижнюю крышку картера КПП. См. "Раздел 9N, рама и нижняя часть кузова".


K5B53B01
Показать иллюстрациюПеревод текста в иллюстрациях


Коробка управления переключением передач в сборе

Порядок снятия

  1. Демонтировать воздухоочиститель. См. Раздел 1В, "Механическая система двигателя SOHC".
  2. Снять аккумулятор.
  3. Отсоединить тросы механизма выбора и переключения передач.


  4. K5B53B14
    Показать иллюстрациюПеревод текста в иллюстрациях


  5. Снять рычаг выбора передач.


  6. K5B53B14
    Показать иллюстрациюПеревод текста в иллюстрациях


  7. Выкрутить стопорный болт механизма выбора передач (а).
  8. Важно: Следует обязательно выкрутить стопорный болт. В противном случае коробку управления переключением передач нельзя будет снять.



    K5B53B15
    Показать иллюстрациюПеревод текста в иллюстрациях


  9. Снять коробку управления переключением передач.
  10. Важно: Убедиться, что рычаг механизма выбора передач находится в положении нейтраль.




    K5B53B16
    Показать иллюстрациюПеревод текста в иллюстрациях


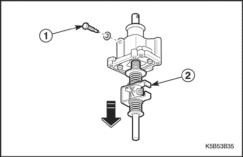
  11. Снять рычаг механизма выбора передач.


  12. K5B53B35
    Показать иллюстрациюПеревод текста в иллюстрациях


  13. Снять шток выбора/переключения передач.


  14. K5B53B36
    Показать иллюстрациюПеревод текста в иллюстрациях


  15. Снять пластину коробки управления переключением передач.


K5B53B37
Показать иллюстрациюПеревод текста в иллюстрациях


Процедура проверки

  1. Проверить кулачок переключения задней/пятой передачи (1) на износ или повреждения.
  2. Проверить пластину механизма выбора передач (2) на износ или повреждения.
  3. Проверить рычаг механизма выбора передач (3) на износ или повреждения.
  4. Проверить рычаг механизма выбора передач (4) на изгибы или повреждения.


K5B53B38
Показать иллюстрациюПеревод текста в иллюстрациях


Порядок установки

  1. Установить болт направляющей переключения передач.
  2. Затянуть
    Затянуть болты направляющей переключения передач моментом 18-28 Н•м (13-21 Lb-Ft).



    K5B53B16
    Показать иллюстрациюПеревод текста в иллюстрациях


  3. Установить новый штырь рычага (1), чехол (3) и рычаг механизма выбора передач (2).


  4. K5B53B39
    Показать иллюстрациюПеревод текста в иллюстрациях


  5. Установить коробку управления переключением передач и рычаг выбора передач.
  6. Затянуть

    a. Болт коробки управления переключением передач.
    b. Болт рычага выбора передач.

    Важно: Убедиться, что болт правильный. Между болтами рычага выбора передач есть разница в длине.



    K5B53B40
    Показать иллюстрациюПеревод текста в иллюстрациях


  7. Вкрутить стопорный болт.
  8. Затянуть
    Затянуть стопорный болт моментом 18-28 Н•м (13-21 фунт-фут).



    K5B53B01
    Показать иллюстрациюПеревод текста в иллюстрациях


  9. Подсоединить тросы механизма выбора и переключения передач.
  10. Установить аккумуляторную батарею и полку аккумуляторной батареи. См. Раздел 1E, Электрическая система двигателя.
  11. Установить воздухоочиститель. См. Раздел 1В, "Механическая система двигателя SOHC".


K5B11B06
Показать иллюстрациюПеревод текста в иллюстрациях


Крепление коробки передач с главной передачей в сборе

Порядок снятия

  1. Демонтировать воздухоочиститель. См. Раздел 1В, "Механическая система двигателя SOHC".
  2. Снять аккумуляторную батарею и полку. См. Раздел 1E, Электрическая система двигателя.


  3. K5B53B17
    Показать иллюстрациюПеревод текста в иллюстрациях


  4. Опереть КПП на домкрат.
  5. Снять болты и гайки с кронштейна.
  6. Снять кронштейн.


K5B53B17
Показать иллюстрациюПеревод текста в иллюстрациях


Порядок установки

  1. Установить кронштейн, болты и гайки.
  2. Затянуть
    Затянуть болты крепежного кронштейна моментом 55-65 Н•м (41-48 lb-ft).
    Закрутить гайки крепления корпуса моментом 55-65 Н•м (41-48 Lb-Ft).



    K5B11B06
    Показать иллюстрациюПеревод текста в иллюстрациях


  3. Установить аккумулятор. См. Раздел 1E, Электрическая система двигателя.
  4. Установить воздухоочиститель. См. Раздел 1В, "Механическая система двигателя SOHC".


K5B53B18
Показать иллюстрациюПеревод текста в иллюстрациях


Ведомая шестерня привода спидометра

(показано левостороннее рулевое управление, правостороннее аналогично)

Порядок снятия

  1. Отсоедините провод от отрицательного вывода аккумуляторной батареи.
  2. Разъединить электрический разъем датчика скорости автомобиля.
  3. Выкрутить болт и снять механизм привода спидометра (ведомую шестерню).


  4. K5B53B41
    Показать иллюстрациюПеревод текста в иллюстрациях


  5. Отделить датчик скорости автомобиля от ведомой шестерни привода спидометра.
  6. (1) Датчик скорости автомобиля
    (2) Ведомая шестерня привода спидометра.

    Внимание! Во избежание получения ожогов от касания горячих элементов системы выпуска отработавших газов следует проявлять особую осторожность.



K5B53B42
Показать иллюстрациюПеревод текста в иллюстрациях


Процедура проверки

  1. Снять уплотнительное кольцо с корпуса механизма привода спидометра.
  2. Извлечь стопорный штифт и снять механизма привода спидометра.
  3. (1) Уплотнительное кольцо.
    (2) Штифт механизма привода спидометра.
    (3) Механизм привода спидометра.


K5B53B41
Показать иллюстрациюПеревод текста в иллюстрациях


Порядок установки

  1. Установить датчик скорости автомобиля на ведомую шестерню привода спидометра.


  2. K5B53B18
    Показать иллюстрациюПеревод текста в иллюстрациях


  3. Установить механизм привода спидометра на картер КПП.
  4. Затянуть
    Затянуть болт ведомой шестерни спидометра моментом 4-7 Н•м (35-62 Lb-In).

  5. Соединить электрический разъем датчика скорости автомобиля.
  6. Присоедините провод к отрицательному выводу аккумуляторной батареи.


K5B53B01
Показать иллюстрациюПеревод текста в иллюстрациях


Трос привода механизма переключения

Порядок снятия

  1. Демонтировать воздухоочиститель. См. 1В, "Механическая система двигателя SOHC".
  2. Снять аккумулятор.
  3. Отсоединить тросы привода механизма выбора передач от КПП.


  4. K5B19G41
    Показать иллюстрациюПеревод текста в иллюстрациях


  5. Снимите напольную консоль. См. Раздел 9G, Облицовка салона.


  6. K5B53B19
    Показать иллюстрациюПеревод текста в иллюстрациях


  7. Отсоединить рычаг механизма выбора передач и трос управления переключением.


  8. K5B53B20
    Показать иллюстрациюПеревод текста в иллюстрациях


  9. Снять трос привода механизма выбора передач.


K5B53B43
Показать иллюстрациюПеревод текста в иллюстрациях


Порядок установки

  1. Продеть тросы через отверстия в щитке передка внутрь двигательного отсека.
  2. Подвести тросы к рычагу механизма выбора передач.


  3. K5B53B20
    Показать иллюстрациюПеревод текста в иллюстрациях


  4. Установить гайку троса привода механизма выбора передач и резиновое прокладочное кольцо.
  5. Затянуть
    Затянуть гайку моментом 4-7 Н•м (35-62 Lb-In)



    K5B53B19
    Показать иллюстрациюПеревод текста в иллюстрациях


  6. Присоединить рычаг механизма выбора передач и трос управления переключением.


  7. K5B53B01
    Показать иллюстрациюПеревод текста в иллюстрациях


  8. Подсоединить тросы механизма выбора и переключения передач.


  9. K5B19G41
    Показать иллюстрациюПеревод текста в иллюстрациях


  10. Установите напольную консоль. См. Раздел 9G, Облицовка салона.
  11. Установить аккумулятор. См. Раздел 1E, Электрическая система двигателя.
  12. Установить воздухоочиститель. См. Раздел 1В, "Механическая система двигателя SOHC".


K5B53B21
Показать иллюстрациюПеревод текста в иллюстрациях


Рычаг переключения передач

Порядок снятия

  1. Снимите напольную консоль. См. Раздел 9G, Облицовка салона.
  2. Отсоединить тросы привода механизма выбора передач. См. "Трос привода механизма переключения" в этом разделе.
  3. Снять рычаг переключения передач в сборе.


K5B53B21
Показать иллюстрациюПеревод текста в иллюстрациях


Порядок установки

  1. Установить рычаг переключения передач в сборе.
  2. Затянуть
    Затянуть болты моментом 4-7 Н•М (35-62 фунт-дюйма).

  3. Подсоединить тросы механизма выбора и переключения передач. См. "Трос привода механизма переключения" в этом разделе.
  4. Установите напольную консоль. См. Раздел 9G, Облицовка салона.


На предыдущую страницуНа следующую страницу
https://vnx.su/ 🛠 Руководства по ремонту и эксплуатации для автомобилей

Поиск по сайту

Остались вопросы или пожелания? Пишите на почту: support@vnx.su

Карта Сайта