К верхней части документа
Volt
   
Начальная страница GMDE Загрузить статическое содержание Загрузить динамическое содержание Справка?

Регулировка фиксатора замка задней боковой двери


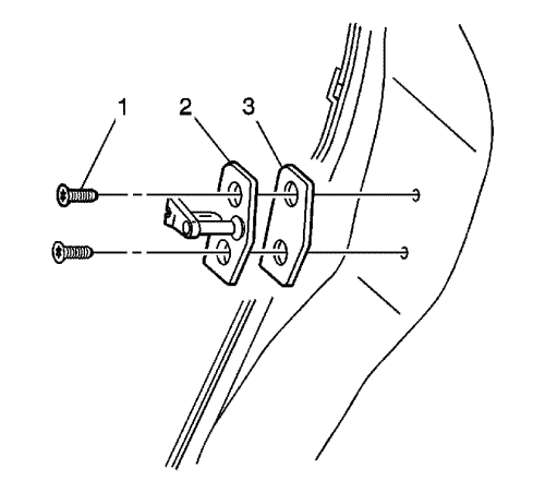
    792734

    Примечание: Для того, чтобы определить, требуется ли регулировка скобы фиксатора, необходимо сделать следующее.

  1. Перед регулировкой скобы фиксатора убедиться в том, что дверь выставлена правильно в проеме двери.
  2. Открыть и закрыть дверь на скобу фиксатора (2). Обратить внимание на то, задевает ли дверь о скобу фиксатора, приводя к смещению двери вверх или вниз при соприкосновении со скобой фиксатора. Также обратите внимание на усилие закрытия, при котором полностью срабатывает защелка двери.

  3. 794023
  4. Приварные гайки (1) пластины скобы фиксатора привариваются по месту. С помощь мягкого маркера отметить вокруг скобы фиксатора (2) ее первоначальное положение. Освободить винты скобы фиксатора ровно настолько, чтобы обеспечить перемещение скобы фиксатора дверного замка и прокладок (при их наличии).

  5. 928781
  6. Отрегулировать дверной фиксатор вниз-вверх или наружу-внутрь, как требуется.
  7. Сместить скобу фиксатора, чтобы устранить задевание фиксатором замка двери и обеспечить требуемое положение двери относительно проема. Начать с верхней/нижней позиции, затем расположить скобу фиксатора так, чтобы обеспечить правильное положение относительно проема двери. Отрегулировать боковое смещение скобы фиксатора для плотного прилегания уплотнителя двери при требуемом усилии закрытия двери.
  8. Осторожно: См. Предупреждение о крепежных деталях во введении.

  9. Отрегулировать скобу фиксатора и добавить при необходимости прокладки, затянуть винты с моментом 22 Н·м (16 фунт-футов).
  10. Проверить правильность функционирования двери.
  11. Закрыть дверь.
   


https://vnx.su/ 🛠 Руководства по ремонту и эксплуатации для автомобилей

Поиск по сайту

Остались вопросы или пожелания? Пишите на почту: support@vnx.su

Карта Сайта