К верхней части документа
Вольт
   
Начальная страница GMDE Загрузить статическое содержание Загрузить динамическое содержание Справка?

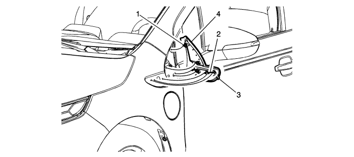
Замена верхней задней накладки переднего крыла


2382125

Выноска

Название компонента

Осторожно: См. Предупреждение о снятии эмблемы на наружной облицовке во введении.

Предварительная процедура

Открыть переднюю дверь на той стороне, где будет обслуживаться верхняя задняя накладка переднего крыла.

1

w-образный фиксатор (кол-во: 4)

Процедура

  1. Обязательно наклеить два слоя защитной ленты вокруг передней кромки накладки во избежание повреждения лакокрасочного покрытия.
  2. С помощью инструмента для демонтажа облицовки освободить W-образный фиксатор от крыла.

2

Фиксатор декоративного зажима

Процедура

  1. Начиная с передней кромки, освободить декоративный фиксатор от крыла на стороне кузова.
  2. Освободить три нижних зажима фиксатора.
  3. Освободить верхний зажим фиксатора с помощью инструмента для освобождения облицовки.
  4. Снять с крыла верхнюю заднюю накладку переднего крыла.

3

Клейкая лента

Процедура

  1. Очистить остатки клейкой ленты с переднего крыла с помощью раствора 50/50 по объему изопропилового спирта в чистой питьевой воде.
  2. Тщательно высушить поверхность крыла неволокнистой хлопковой тканью.

4

Верхняя задняя накладка переднего крыла

Процедура

  1. При установке совместить оба нижних выравнивающих штифта с крылом и затем удалить защиту клейкой ленты.
  2. Ладонью закрепить каждый фиксатор до плотной установки к крылу.
   


https://vnx.su/ 🛠 Руководства по ремонту и эксплуатации для автомобилей

Поиск по сайту

Остались вопросы или пожелания? Пишите на почту: support@vnx.su

Карта Сайта