To the top of the document
Orlando
   
GMDE Start Page Load static TOC Load dynamic TOC Help?

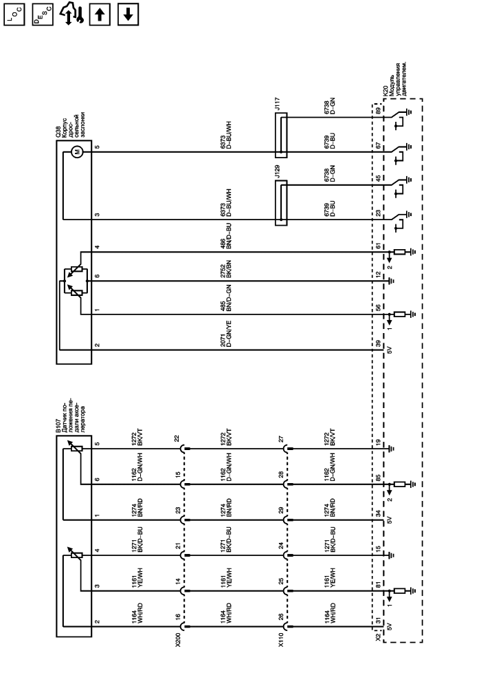
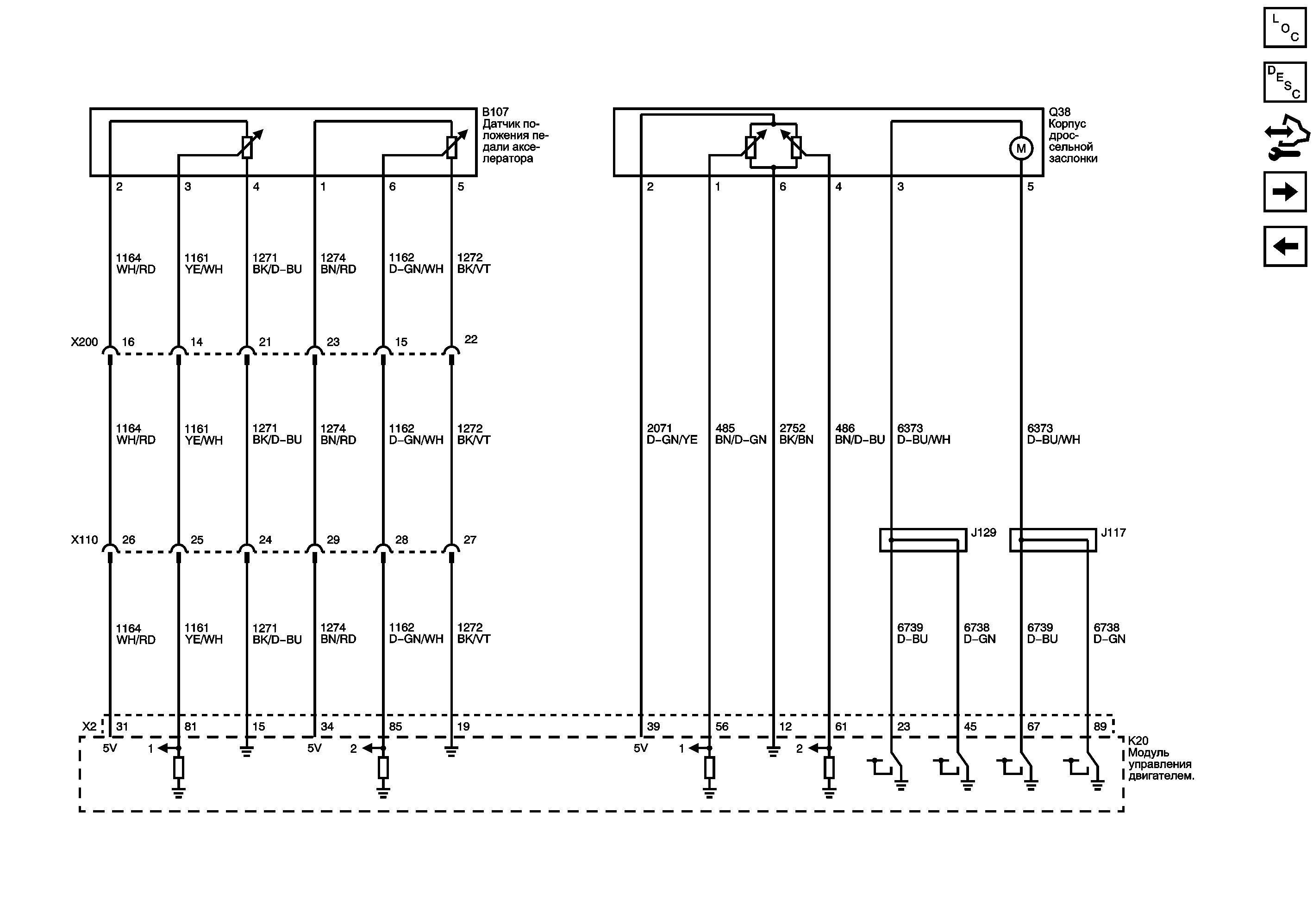
Датчики данных двигателя- средства управления дроссельной заслонкой


          
            |                         |            
2564332RU.png

Display graphic

   


© copyright chevrolet. All rights reserved