Orlando |
||||||||
|
|
|
|||||||

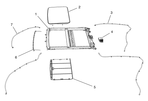
| (1) | Рама потолочного люка |
| (2) | Окно потолочного люка |
| (3) | Задний сливной шланг корпуса сдвижного люка крыши |
| (4) | Привод потолочного люка |
| (5) | Солнцезащитный козырек потолочного люка |
| (6) | Направляющая заслонка для воздуха потолочного люка |
| (7) | Передний сливной шланг корпуса потолочного люка |
| © copyright chevrolet. All rights reserved |