Orlando |
||||||||
|
|
|
|||||||
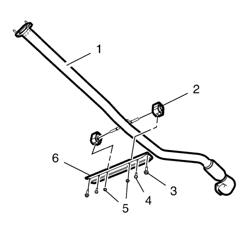
| 1. | Поднять и подпереть автомобиль. См. Подъем и пользование домкратом на автомобиле |

| 2. | Вывесите переднюю часть выпускной трубы (1). |
| 3. | Отвернуть 2 болта (4) крепления кронштейна подвески передней выхлопной трубы и 2 болта (3) приводной рамы. |
| 4. | Отвернуть 2 гайки (5) опорной подушки подвески передней выхлопной трубы. |
| 5. | Снять кронштейн (6) подвески передней выхлопной трубы с опорных подушек (2) подвески передней выхлопной трубы. |

| 1. | Установить кронштейн (6) подвески передней выхлопной трубы на опорные подушки (2) подвески передней выхлопной трубы. |
|
Осторожно:
См. Предупреждение о крепежных деталях |
| 2. | Завернуть 2 гайки (5) опорной подушки подвески передней выхлопной трубы и затянуть их с моментом затяжки 22 n·m (16 фунт-футов). |
| 3. | Завернуть 2 болта M10 (3) приводной рамы и затянуть их с моментом затяжки 60 n·m+30°-45° (44 фунт-футов) +30°-45°. |
| 4. | Завернуть 2 болта M8 (4) кронштейна подвески передней выхлопной трубы и затянуть их с моментом затяжки 22 n·m (17 фунт-футов). |
| 5. | Снять опору с передней выхлопной трубы (1). |
| 6. | Опустить автомобиль. |
| © copyright chevrolet. All rights reserved |