Orlando |
||||||||
|
|
|
|||||||

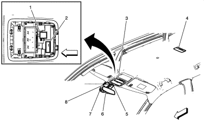
| (1) | S43 Выключатель ультразвукового датчика проникновения | ||
| (2) | B165 Модуль датчика системы защиты вещей внутри автомобиля | ||
| (3) | E37A Потолочные лампы и лампы для чтения | ||
| (4) | E36AH Потолочный плафон | ||
| (5) | K77 Приемник устройства дистанционного управления дверными замками | ||
| (6) | A10 Внутреннее зеркало заднего вида | ||
| (7) | B160 Датчик температуры лобового стекла и запотевания | ||
| (8) | B117 Датчик дождя |
| © copyright chevrolet. All rights reserved |