Ремонт резьбы
Специальный инструмент
en 42385-850
Комплект для ремонта резьбы
Эквивалентные местные инструменты см. Специальный инструмент .
Общий ремонт резьбы

Процесс ремонта резьбы заключается в применении сплошных, тонкостенных, самоконтрящихся вкладышей втулочного типа из углеродистой стали (1). В процессе установки втулки приводной инструмент врезает нижнюю наружную резьбу вкладыша в основной материал (2). Это действие осуществляет механическую фиксацию вкладыша на месте. Кроме того, при установке вкладыша на надлежащую глубину торец вкладыша коснется дна восстановленного отверстия.

|
Примечание:
При выполнении процедур сверления, расточки и нарезания резьбы рекомендуется подавать в рабочую зону смазочно-охлаждающую жидкость, жидкость WD 40® или аналогичный раствор. См. Клеи, жидкости, смазки и герметики
На приводном установочном инструменте ОБЯЗАТЕЛЬНО применение соответствующего масла.
Комплекты инструментов приспособлены для использования или с подходящим метчиком, или с сверлом.
|
| 1.
| Высверлить резьбу из поврежденного отверстия (1). |
| | • | Вкладыши M6 требуют минимальной глубины высверливания 15 мм (0,59 дюйма). |
| | • | Вкладыши M8 требуют минимальной глубины высверливания 20 мм (0,79 дюйма). |
| | • | Вкладыши M10 требуют минимальной глубины высверливания 23,5 мм (0,93 дюйма). |
| 2.
| С помощью сжатого воздуха удалить всю стружку. |

| 3.
| Расточить отверстие на полную глубину, которую позволяет инструмент (1). |
| 4.
| С помощью сжатого воздуха удалить всю стружку. |

| 5.
| С помощью метчика (2) нарезать резьбу в высверленном отверстии. |
| | • | Вкладыши M6 требуют минимальной глубины нарезания резьбы 15 мм (0,59 дюйма). |
| | • | Вкладыши M8 требуют минимальной глубины нарезания резьбы 20 мм (0,79 дюйма). |
| | • | Вкладыши M10 требуют минимальной глубины нарезания резьбы 23,5 мм (0,93 дюйма). |
| 6.
| С помощью сжатого воздуха удалить всю стружку. |
| 8.
| С помощью сжатого воздуха удалить из отверстия остатки смазочно-охлаждающей жидкости и стружку. |

|
Примечание:
Запрещается смазывать маслом или иным материалом наружный диаметр (OD) вкладыша.
|
| 9.
| Смазать резьбу установочного инструмента (2) соответствующим маслом (1). |

| 10.
| Установить вкладыш (2) в приводной инструмент (1). |

| 11.
| Нанести стопорную мастику для фиксации резьбовых соединений LOCTITE™ 277, локтит en-42385-109 (1) или аналогичный на наружную резьбу вкладыша (2). |

| 12.
| Установить вкладыш (2) в отверстие. |
| | Установить вкладыш так, чтобы торец вкладыша касался нижней поверхности расточенного отверстия. Продолжить вращение установочного инструмента (1) сквозь вкладыш. |
| | Установочный инструмент для вкладышей будет затянут до полного вворачивания сквозь вкладыш. Это допустимо. Выполняется формирование резьбы в нижней части вкладыша, и вкладыш механически фиксируется в резьбе базового материала. |

| 13.
| Проверить надлежащую установку вкладыша в отверстии. |
| | Надлежаще установленный вкладыш (1) будет расположен заподлицо или чуть ниже поверхности базового материала (2). |
Ремонт резьбы в отверстиях под болты головки цилиндров

| 1.
| В комплект для ремонта резьбы в отверстиях под болты головки цилиндров входят следующие компоненты: |
| | • | Оправка для запрессовки (3) |
| | • | Выравнивающий штифт (5) |

|
Примечание:
При выполнении процедур сверления и нарезания резьбы рекомендуется подавать в рабочую зону смазочно-охлаждающую жидкость, жидкость WD 40® или аналогичный раствор. См. Клеи, жидкости, смазки и герметики
На приводном установочном инструменте ОБЯЗАТЕЛЬНО применение соответствующего масла.
Комплекты инструментов приспособлены для использования или с подходящим метчиком, или с сверлом.
|
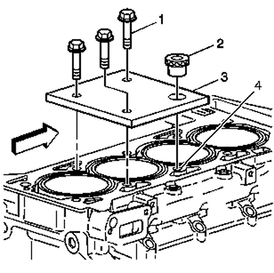
| 2.
| Установить установочную плиту (3), болты (1) и втулку (2) на поверхность блока цилиндров. |
| | Поместить установочную плиту и втулку над отверстием, подлежащим ремонту (4). |

| 3.
| Вставить выравнивающий штифт (1) сквозь втулку в отверстие. |
| 4.
| После установки выравнивающего штифта в требуемое отверстие затянуть остальные болты крепления (2) установочной плиты. |
| 5.
| Вынуть выравнивающий штифт из отверстия. |

| 6.
| При необходимости надеть втулку (2) на сверло (1). |

|
Примечание:
В процессе рассверливания необходимо регулярно вынимать сверло и вычищать стружку из отверстия.
|
| 7.
| Высверлить резьбу из поврежденного отверстия. |
| | Высверлить отверстие до тех пор, пока упорный буртик сверла или гильза не прикоснется к втулке. |
| 8.
| С помощью сжатого воздуха удалить всю стружку. |

| 9.
| С помощью метчика нарезать резьбу в высверленном отверстии. |

| 10.
| С помощью метчика нарезать резьбу в высверленном отверстии. |
| | Чтобы нарезать новую резьбу на надлежащую глубину, вращать метчик в отверстии до тех пор, пока метка (3) на метчике не поравняется с верхней поверхностью втулки для сверления (2). |
| 11.
| Убрать установочную плиту (1), втулку (2) и болты. |
| 12.
| С помощью сжатого воздуха удалить всю стружку. |
| 14.
| С помощью сжатого воздуха удалить из отверстия остатки смазочно-охлаждающей жидкости и стружку. |

|
Примечание:
Запрещается смазывать маслом или иным материалом наружный диаметр (OD) вкладыша.
|
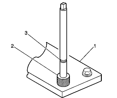
| 15.
| Смазать резьбу установочного инструмента (2) соответствующим маслом (1). |

| 16.
| Установить вкладыш (2) в приводной инструмент (1). |

| 17.
| Нанести стопорную мастику для фиксации резьбовых соединений LOCTITE™ 277, локтит en-42385-109 (1) или аналогичный на наружную резьбу вкладыша (2). |

| 18.
| Установить вкладыш и вороток (1) в отверстие. |
| | Вращать вороток до тех пор, пока отметка на инструменте не поравняется с верхней поверхностью блока цилиндров. |
| | Установочный инструмент для вкладышей будет затянут до полного вворачивания сквозь вкладыш. Это допустимо. Выполняется формирование резьбы в нижней части вкладыша, и вкладыш механически фиксируется в резьбе базового материала. |
Ремонт резьбовых отверстий под болты крышек коренных подшипников

| 1.
| В комплект для ремонта резьбы в отверстиях под болты крышки коренных подшипников входят следующие компоненты: |
| | • | Оправка для запрессовки (3) |
| | • | Выравнивающий штифт (7) |

| 2.
| При необходимости вынуть выравнивающие установочные штифты из отверстий (1-4). |

| 3.
| Установить установочную плиту, болты и втулку на блок цилиндров. |
| | Поместить установочную плиту и втулку над отверстием, подлежащим ремонту. |
| 4.
| Установить выравнивающий штифт в требуемое отверстие и затянуть болты крепления установочной плиты. |
| 5.
| Высверлить поврежденное отверстие. |
| 6.
| С помощью сжатого воздуха удалить всю стружку. |

| 7.
| С помощью метчика нарезать резьбу в высверленном отверстии. |
| | Чтобы нарезать новую резьбу на надлежащую глубину, вращать метчик в отверстии до тех пор, пока метка (3) на метчике не поравняется с верхней поверхностью втулки (2). |
| 8.
| С помощью сжатого воздуха удалить всю стружку. |
| 10.
| С помощью сжатого воздуха удалить из отверстия остатки смазочно-охлаждающей жидкости и стружку. |

|
Примечание:
Запрещается смазывать маслом или иным материалом наружный диаметр (OD) вкладыша.
|
| 11.
| Смазать резьбу установочного инструмента (2) соответствующим маслом (1). |

| 12.
| Установить вкладыш (2) в приводной инструмент (1). |

| 13.
| Нанести стопорную мастику для фиксации резьбовых соединений LOCTITE™ 277, EN 42385-109 (1) или аналогичную на наружную резьбу вкладыша (2). |

|
Примечание:
Установочная плита и втулка остаются установленными на блок цилиндров во время установки вкладыша.
|
| 14.
| Установить вкладыш и вороток сквозь втулку (2), установочную плиту (1) в отверстие. |
| | Вращать вороток до тех пор, пока отметка (3) на воротке не поравняется с верхней поверхностью втулки (2). |
| | Установочный инструмент для вкладышей будет затянут до полного вворачивания сквозь вкладыш. Это допустимо. Выполняется формирование резьбы в нижней части вкладыша, и вкладыш механически фиксируется в резьбе базового материала. |
| 15.
| Убрать вороток, втулку (2), установочную плиту (1) и болты. |

| 16.
| При необходимости вставить выравнивающие установочные штифты в отверстия (1-4). |
| © copyright chevrolet. All rights reserved |