Наверх документа
Cruze
   
Начальная страница GMDE Загрузить статическое оглавление Загрузить динамическое оглавление Помощь?

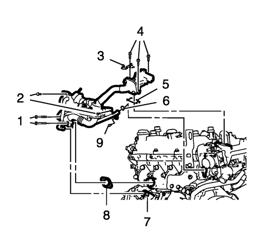
Охладитель клапана рециркуляции выхлопных газов Установка - Дизельный двигатель 1.7 л LUD, LUE


    2372806
  1. Очистить все уплотнительные поверхности.
  2. Установить НОВУЮ прокладку (5) клапана рециркуляции выхлопных газов.
  3. Установить НОВУЮ прокладку (8) перепускного клапана рециркуляции выхлопных газов.
  4. Установить НОВОЕ уплотнительное кольцо (6) трубопровода охлаждающей жидкости системы рециркуляции выхлопных газов.
  5. Установить агрегат рециркуляции выхлопных газов.
  6. Установить кронштейн вакуумной трубки.
  7. Слегка завернуть 3 болта (4) клапана рециркуляции выхлопных газов.
  8. Слегка завернуть 2 болта (1) перепускного клапана рециркуляции выхлопных газов.
  9. Слегка завернуть болт (9) трубопровода охлаждающей жидкости системы рециркуляции выхлопных газов.
  10. Осторожно: См. Предупреждение о крепежных деталях во введении.

  11. Завернуть 2 болта (2) охладителя системы рециркуляции выхлопных газов и затянуть их с моментом затяжки 29 Н·м (21 фунт фут).
  12. Завернуть 3 болта (4) клапана рециркуляции выхлопных газов и затянуть их с моментом затяжки 24 Н·м (18 фунт фут).
  13. Завернуть 2 болта (1) перепускного клапана рециркуляции выхлопных газов и затянуть их с моментом затяжки 29 Н·м (21 фунт фут).
  14. Завернуть болт (9) трубопровода охлаждающей жидкости системы рециркуляции выхлопных газов и затянуть его с моментом затяжки 10 Н·м (89 фунт дюйм).
  15. Затянуть хомут (7) шланга охлаждающей жидкости системы рециркуляции выхлопных газов.
  16. Подсоединить вакуумный шланг к вакуумному приводу рециркуляции выхлопных газов.
   


https://vnx.su/ 🛠 Руководства по ремонту и эксплуатации для автомобилей

Поиск по сайту

Остались вопросы или пожелания? Пишите на почту: support@vnx.su

Карта Сайта