Наверх документа
Cruze
   
Начальная страница GMDE Загрузить статическое оглавление Загрузить динамическое оглавление Помощь?

Работа с модулем надувных подушек безопасности и его утилизация

Специальный инструмент

    • el-38826 Жгут проводов срабатывания sir
    • el-39401-b Контактное устройство срабатывания sir

Эквивалентные местные инструменты см. Специальный инструмент .

Действующая и неиспользованная подушка безопасности

Предупреждение См. Предупреждение о правилах обращения с модулем надувной подушки безопасности и его хранении в разделе "Введение".

Соблюдайте особую осторожность при обращении с неиспользованной подушкой безопасности. Срабатывание подушки безопасности приводит к стремительному образованию газа. Это может привести к тому, что подушка безопасности или объект, находящийся перед подушкой безопасности, может быть выброшен в воздух в результате случайного срабатывания.

Двухступенчатые подушки безопасности

Двухступенчатые подушки безопасности имеют две ступени срабатывания. Если ступень 1 была использована для срабатывания двухступенчатой подушки безопасности, то ступень 2 может быть еще активной. Поэтому со сработавшей двухступенчатой подушкой безопасности необходимо обращаться как с действующей подушкой безопасности. Если необходимо снять двухступенчатую подушку безопасности, электроэнергия должна подаваться к обоим контурам срабатывания для того, чтобы высвободить надувную подушку безопасности.

Процедура утилизации

В течение периода нормальной эксплуатации автомобиля могут возникнуть определенные ситуации, в которых потребуется утилизация действующей и несработавшей подушки безопасности. НЕ утилизуйте действующую и несработавшую подушку безопасности обычным путем до тех пор, пока подушка безопасности не сработает.

Не допускайте срабатывания подушки безопасности в следующих ситуациях:

    • После замены подушки безопасности по гарантии ее, возможно, придется возвратить в несработавшем состоянии на завод-изготовитель.
    • Если автомобиль стал объектом претензий по страхованию гражданской ответственности, связанных с системой SIR, и предметом предварительного расследования - НЕ вносите никаких изменений в систему SIR.
    • Если автомобиль вовлечен в кампанию, затрагивающую подушки безопасности -- следуйте инструкциям эксплуатационного бюллетеня кампании для правильного выполнения процедур по обращению с SIR.

Процедуры срабатывания

Вы можете дать подушке безопасности сработать либо внутри, либо снаружи автомобиля. Используемый метод зависит от конечного расположения относительно автомобиля. Ознакомьтесь со следующими процедурами, чтобы определить, какая из них наилучшим образом сработает в заданной ситуации:

Срабатывание вне автомобиля - подушка безопасности рулевого колеса, подушка безопасности приборной панели и подушка безопасности продольного бруса крыши

Дайте подушке безопасности сработать вне автомобиля, если автомобиль должен быть возвращен в сервисную мастерскую. Ситуации, в которых требуется срабатывание вне автомобиля, включают следующие случаи:

    • Используя диагностику SIR, Вы определяете, что подушка безопасности имеет неисправность.
    • Подушка безопасности имеет косметические повреждения, царапины или изрезана.
    • Гибкий вывод подушки безопасности поврежден.
    • Разъем подушки безопасности поврежден.
    • Клеммы разъема подушки безопасности повреждены.

Срабатывание и утилизация неисправной подушки безопасности производится в рамках любого требуемого срока хранения.

Предупреждение См. Предупреждение об утилизации модуля наполнения подушек безопасности в разделе "Введение".

  1. Выключить зажигание.
  2. Предупреждение См. Предупреждение о правилах обращения с модулем надувной подушки безопасности и его хранении в разделе "Введение".

  3. Снимите подушку безопасности.

  4. 68646
  5. Расчистите свободное место на земле диаметром около 1,85 м (6 футов) для срабатывания подушки безопасности или контактного устройства срабатывания. Если возможно, используйте участок с дорожным покрытием под открытым небом, на котором не проводятся работы. В противном случае используйте место, свободное от проведения работ, на полу мастерской. Убедитесь в наличии удовлетворительной вентиляции.
  6. Очистите участок от свободно лежащих или горючих объектов.
  7. Примечание: Двухступенчатые пиропатроны используются только в подушках безопасности водителя (в рулевом колесе) и переднего пассажира (в панели приборов). Если ступень 1 была использована для срабатывания двухступенчатой подушки безопасности, то ступень 2 может быть еще активной. Если необходимо снять двухступенчатую подушку безопасности, электроэнергия должна подаваться к обоим контурам срабатывания для того, чтобы высвободить надувную подушку безопасности.

  8. Если Вы проводите срабатывание подушки безопасности рулевого колеса, поместите подушку безопасности в центр участка виниловой отделочной крышкой наверх и от поверхности.

  9. 453892
  10. При подрыве пиропатрона подушки безопасности, установленной в панели приборов, необходимо придерживаться следующих указаний:
  11. 6.1. Установить держатель el-39401-b посередине очищенной зоны.
    6.2. Заполните контактное устройство срабатывания водой или песком.
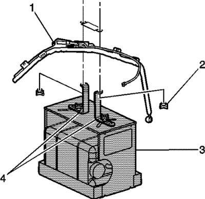
    6.3. Используя подходящие гайки и болты, смонтируйте подушку безопасности в панели приборов (1) на контактное устройство (2) виниловой отделочной крышкой наверх.
    6.4. Надежно затяните все крепежные детали, которые удерживают подушку безопасности в панели приборов (1) на устройстве срабатывания (2).

    816848
  12. При подрыве пиропатрона подушки безопасности в продольном брусе крыши необходимо придерживаться следующих указаний:
  13. 7.1. Установить держатель el-39401-b (3) посередине очищенной зоны.
    7.2. Заполните контактное устройство срабатывания водой или песком, чтобы гарантировать достаточную устойчивость контактного устройства при срабатывании.
    7.3. Отрегулируйте и закрепите рычаги крепления (4) на контактном устройстве срабатывания (3), используя гайки и болты нужного размера.
    7.4. Прикрепите подушку безопасности в продольном брусе крыши к контактному устройству срабатывания и надежно затяните все крепежные детали.

    68645
  14. Проверить отсутствие повреждения жгута проводов el-38826 и соответствующего переходника (2) с гибким проводником. При необходимости замените.
  15. Замкните 2 конца жгута проводов срабатывания SIR (1) друг на друга, используя одну вилку соединителя с подпружинивающими контактами, вставленную в другую.
  16. Присоедините соответствующий переходник проволочного вывода (2) к жгуту проводов срабатывания SIR (1).

  17. 68655
  18. Разверните жгут проводов срабатывания SIR и адаптер на полную длину от контактного устройства срабатывания или участка.

  19. 68656

    Примечание: Оба разъема на двухступенчатой подушке безопасности необходимо прикрепить к адаптеру жгута проводов срабатывания. Это гарантирует подачу электроэнергии как к ступени (1), так и к ступени (2) контура срабатывания вне зависимости от состояния срабатывания.

  20. Присоедините подушку безопасности (1) к адаптеру (2) на жгуте проводов срабатывания SIR (3).
  21. Примечание: 

       • Быстрое расширение газа, используемого при срабатывании подушки безопасности, производит очень громкий хлопок. Известите всех людей, находящихся в непосредственной близости, о том, что Вы собираетесь провести срабатывание подушки безопасности.
       • При срабатывании подушки безопасности контактное устройство может подпрыгнуть по вертикали примерно на 30 см (1 фут). Это нормальная реакция подушки безопасности на силу быстрого расширения газа внутри подушки безопасности.
       • Если Вы проводите срабатывание двухступенчатой подушки безопасности с уже сработавшей ступенью 1, контактное устройство может остаться неподвижным, а шум может быть меньше.

  22. Уведите всех людей с участка.

  23. 39382
  24. Отсоедините 2 вилки соединителя с подпружинивающими контактами, которые были ранее замкнуты друг на друга при выполнении процедуры, от жгута проводов срабатывания SIR.

  25. 39388
  26. Поместите источник питания минимум 12 В/ минимум 2 А, такой как аккумулятор автомобиля, в непосредственной близости от закороченного конца жгута проводов.
  27. Присоедините концы жгута проводов срабатывания SIR к источнику питания. Срабатывание подушки безопасности произойдет при установлении контакта.

  28. 9581
  29. После срабатывания подушки безопасности отсоедините жгут проводов срабатывания SIR от источника питания.
  30. Если подушка безопасности не сработала, отсоедините адаптер и прервите процедуру, свяжитесь со службой технической поддержки.
  31. Если срабатывание прошло успешно, выполните следующие операции.

    Предупреждение См. Предупреждение о нагреве сработавших модулей наполнения системы sir в разделе "Введение".

  32. Вставьте одну вилку соединителя с подпружинивающими контактами в другую, чтобы закоротить концы жгута проводов срабатывания.
  33. Наденьте пару ремонтных перчаток.
  34. Как можно скорее отсоедините адаптер проволочного вывода от подушки безопасности.
  35. Осмотрите адаптер проволочного вывода и жгут проводов срабатывания SIR. При необходимости замените.
  36. Сдайте сработавшую подушку безопасности в утилизацию, используя обычные каналы.
  37. Вымойте руки мягким мылом.

Срабатывание внутри автомобиля - процедура утилизации автомобиля

Проводите срабатывание подушки безопасности внутри автомобиля при уничтожении автомобиля или при использовании автомобиля на запчасти. Это включает в себя следующие ситуации (но не только их):

    • Истек срок нормальной эксплуатации автомобиля.
    • Автомобиль получил не подлежащее ремонту повреждение при аварии с несрабатыванием.
    • Автомобиль получил не подлежащее ремонту повреждение при краже.
    • Автомобиль был разобран на запчасти для использования на автомобиле с другим VIN в отличие от возобновления с тем же VIN.

Предупреждение См. Предупреждение о разряжение модуля наполнения системы sir вне автомобиля в разделе "Введение".

  1. Опустить окна водителя и переднего пассажира.
  2. Повернуть выключатель зажигания в положение "Откл." и вынуть ключ зажигания.
  3. Проверить, все ли подушки безопасности, срабатывание которых будет проводиться, смонтированы надежно.
  4. Удалить все свободно лежащие предметы с передних сидений.

  5. 812533

    Предупреждение: Сработавший двухступенчатый модуль наполнения будет выглядеть одинаково независимо от того, были ли использованы одна или обе ступени. Следует всегда исходить из того, что у двухступенчатого модуля наполнения активна ступень 2. Ненадлежащее обращение и техническое обслуживание могут привести к срабатыванию модуля и получению телесных повреждений.

  6. Отсоединить желтый разъем (1) подушки безопасности рулевого колеса от желтого разъема (3) жгута проводов автомобиля.

  7. 566915

    Примечание: Если автомобиль оборудован надувными подушками безопасности двухэтапного срабатывания, то подушка безопасности в рулевом колесе и подушка безопасности на приборной панели будут иметь по 4 провода. Смотри определение высоковольтных и низковольтных цепей в Разъемы компонентов Виды на торцы .

  8. Отрежьте разъем желтого жгута проводов автомобиля, оставив не менее 16 см (6 дюймов) провода на разъеме.
  9. Снимите 13 мм (0,5 дюйма) изоляции с каждого из проволочных выводов разъема.

  10. 68651
  11. Вырежьте два провода управления по 6,1 м (20 футов) от многожильного кабеля толщиной 0,8 мм (18 калибра) или толще. Используйте эти провода для изготовления жгута проводов срабатывания на стороне водителя.
  12. Снимите по 13 мм (0,5 дюйма) изоляции с обоих концов провода.
  13. Скрутите вместе по одному концу от каждого провода, чтобы закоротить их. Провода срабатывания должны оставаться закороченными и не присоединенными к источнику питания до тех пор, пока Вы не будете готовы провести срабатывание подушки безопасности.

  14. 566918
  15. Скрутите вместе 2 проволочных вывода разъема от высоковольтных цепей обеих ступеней подушки безопасности рулевого колеса в один комплект проводов срабатывания. Смотри Разъемы компонентов Виды на торцы , чтобы определить правильные цепи.
  16. Проверьте, является ли 3-проводное подключение надежным.
  17. Зафиксируйте и изолируйте 3-проводное подключение к жгуту проводов срабатывания, используя изоленту.

  18. 566932
  19. Скрутите вместе 2 проволочных вывода разъема от низковольтных цепей обеих ступеней подушки безопасности рулевого колеса в один комплект проводов срабатывания. Смотри Разъемы компонентов Виды на торцы , чтобы определить правильные цепи.
  20. Проверьте, является ли 3-проводное подключение надежным.
  21. Зафиксируйте и изолируйте 3-проводное подключение к жгуту проводов срабатывания, используя изоленту.
  22. Подключите жгут проводов срабатывания к разъему подушки безопасности рулевого колеса.
  23. Выведите жгут проводов срабатывания за пределы стороны водителя автомобиля.
  24. Отсоедините желтый левый разъем жгута проводов направляющей крыши от разъема жгута проводов автомобиля.
  25. Отрежьте разъем жгута проводов автомобиля, оставив не менее 16 см (6 дюймов) провода на разъеме.
  26. Снимите 13 мм (0,5 дюйма) изоляции с каждого из проволочных выводов разъема.
  27. Вырежьте два провода управления по 6,1 м (20 футов) от многожильного кабеля толщиной 0,8 мм (18 калибра) или толще. Данные провода используются для изготовления жгута проводов срабатывания надувной подушки безопасности направляющей крыши.
  28. Снимите по 13 мм (0,5 дюйма) изоляции с обоих концов провода.
  29. Скрутите вместе по одному концу от каждого провода, чтобы закоротить их.
  30. Скрутите вместе один проволочный вывод разъема и один провод срабатывания.
  31. Зафиксируйте и изолируйте подключение, используя изоленту.
  32. Скрутите вместе и обмотайте изолентой оставшийся проволочный вывод разъема и оставшийся провод срабатывания.
  33. Подключите жгут проводов срабатывания к желтому разъему подушки безопасности продольного бруса крыши.
  34. Выведите жгут проводов срабатывания за пределы стороны водителя автомобиля.

  35. 816857
  36. Отсоедините желтый разъем жгута проводов (1) подушки безопасности панели приборов от разъема жгута проводов (2) автомобиля.
  37. Примечание: Если автомобиль оборудован надувными подушками безопасности двухэтапного срабатывания, то подушка безопасности в рулевом колесе и подушка безопасности на приборной панели будут иметь по 4 провода. Смотри определение высоковольтных и низковольтных цепей в Разъемы компонентов Виды на торцы .

  38. Отрежьте разъем желтого жгута проводов автомобиля, оставив не менее 16 см (6 дюймов) провода на разъеме.
  39. Снимите 13 мм (0,5 дюйма) изоляции с каждого из проволочных выводов разъема.
  40. Вырежьте два провода управления по 6,1 м (20 футов) от многожильного кабеля толщиной 0,8 мм (18 калибра) или толще. Данные провода используются для изготовления жгута проводов срабатывания на стороне пассажира.
  41. Снимите по 13 мм (0,5 дюйма) изоляции с обоих концов провода.
  42. Скрутите вместе по одному концу от каждого провода, чтобы закоротить их.
  43. Скрутите вместе 2 проволочных вывода разъема от высоковольтных цепей обеих ступеней подушки безопасности приборной панели в один комплект проводов срабатывания. Смотри Разъемы компонентов Виды на торцы , чтобы определить правильные цепи.
  44. Проверьте, является ли 3-проводное подключение надежным.
  45. Зафиксируйте и изолируйте 3-проводное подключение к жгуту проводов срабатывания, используя изоленту.
  46. Скрутите вместе 2 проволочных вывода разъема от низковольтных цепей обеих ступеней подушки безопасности приборной панели в один комплект проводов срабатывания. Смотри Разъемы компонентов Виды на торцы , чтобы определить правильные цепи.
  47. Проверьте, является ли 3-проводное подключение надежным.
  48. Зафиксируйте и изолируйте 3-проводное подключение к жгуту проводов срабатывания, используя изоленту.
  49. Подключите жгут проводов срабатывания к линейному разъему подушки безопасности панели приборов.
  50. Выведите жгут проводов срабатывания за пределы стороны пассажира автомобиля.
  51. Отсоединить желтый разъем жгута проводов правой надувной подушки безопасности направляющей крыши от разъема жгута проводов автомобиля.
  52. Отрежьте разъем жгута проводов автомобиля, оставив не менее 16 см (6 дюймов) провода на разъеме.
  53. Снимите 13 мм (0,5 дюйма) изоляции с каждого из проволочных выводов разъема.
  54. Вырежьте два провода управления по 6,1 м (20 футов) от многожильного кабеля толщиной 0,8 мм (18 калибра) или толще. Данные провода используются для изготовления жгута проводов срабатывания надувной подушки безопасности направляющей крыши.
  55. Снимите по 13 мм (0,5 дюйма) изоляции с обоих концов провода.
  56. Скрутите вместе по одному концу от каждого провода, чтобы закоротить их.
  57. Скрутите вместе один проволочный вывод разъема и один провод срабатывания.
  58. Зафиксируйте и изолируйте подключение, используя изоленту.
  59. Скрутите вместе и обмотайте изолентой оставшийся проволочный вывод разъема и оставшийся провод срабатывания.
  60. Подключите жгут проводов срабатывания к желтому разъему подушки безопасности продольного бруса крыши.
  61. Выведите жгут проводов срабатывания за пределы стороны пассажира автомобиля.
  62. Полностью завесить проемы лобового стекла и окна передней двери тканью.
  63. Вытянуть на полную длину все концы жгута проводов срабатывания с правой стороны автомобиля.
  64. Проводить одновременно по одному срабатыванию каждого контура.
  65. Поместите источник питания минимум 12 В/ минимум 2 А, такой как аккумулятор автомобиля, в непосредственной близости от закороченного конца жгутов проводов.
  66. Отделите один комплект проводов и прикоснитесь концами провода к источнику напряжения для того, чтобы заставить сработать выбранную подушку безопасности.
  67. Отсоедините жгут проводов от источника питания и скрутите вместе концы провода.
  68. Проведите ту же процедуру с оставшимися жгутами проводов срабатывания.
  69. Отсоедините все жгуты проводов от автомобиля.
  70. Сдайте жгуты проводов в утилизацию.
  71. Утилизуйте автомобиль тем же способом, как и автомобиль, не оснащенный SIR.
  72. Если одна из подушек безопасности или все они не сработали, демонтируйте несработавшие подушки безопасности с автомобиля.
   


https://vnx.su/ 🛠 Руководства по ремонту и эксплуатации для автомобилей

Поиск по сайту

Остались вопросы или пожелания? Пишите на почту: support@vnx.su

Карта Сайта