К верхней части документа
Orlando
   
Начальная страница GMDE Загрузить статическое содержание Загрузить динамическое содержание Справка?

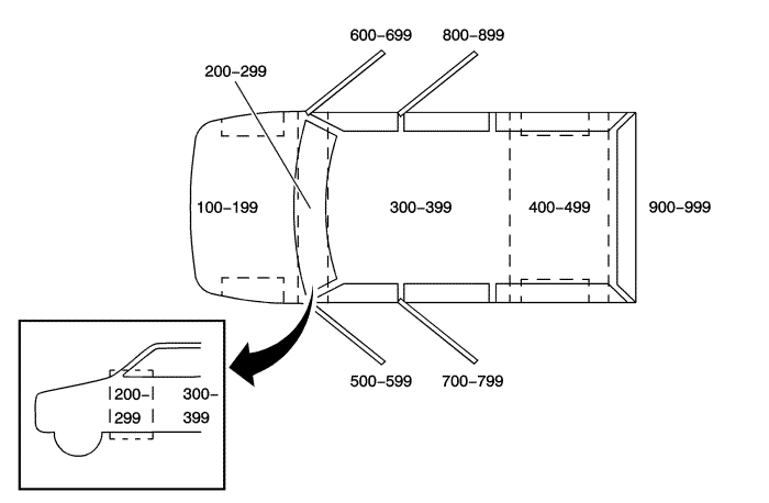
Стратегия зонирования автомобиля

Все заземляющие контакты в разъемах для входящих линий, на проводящих втулках и местах соединений имеют нумерацию, соответствующую местам их расположения на автомобиле. Приведенная ниже таблица объясняет систему нумерации.


160996

Номера-выноски

Описание зоны

100-199

Отсек двигателя (область впереди от приборной панели)

200-299

В области приборной панели

300-399

Пассажирский салон (от приборной панели до задней части зоны размещения пассажиров)

400-499

Багажное отделение (от окончания зоны размещения пассажиров до задней части автомобиля)

500-599

В пределах водительской двери

600-699

В пределах двери переднего пассажира

700-799

В левой задней двери

800-899

В правой задней двери

900-999

В пределах задней подъемной двери, задней двери или крышки багажного отделения

   


https://vnx.su/ 🛠 Руководства по ремонту и эксплуатации для автомобилей

Поиск по сайту

Остались вопросы или пожелания? Пишите на почту: support@vnx.su

Карта Сайта
   


https://vnx.su/ 🛠 Руководства по ремонту и эксплуатации для автомобилей

Поиск по сайту

Остались вопросы или пожелания? Пишите на почту: support@vnx.su

Карта Сайта