К верхней части документа
Cruze
   
Начальная страница GMDE Загрузить статическое содержание Загрузить динамическое содержание Справка?

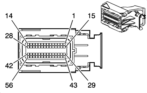
K20 Модуль управления двигателем X1 (LUJ)


1590948

Информация о деталях разъемов

  • Тип жгута проводов: Двигатель
  • Разъем oem: 12582680
  • Разъем технического обслуживания: 88988373
  • Наименование: 56-контактный, серия f mx123 34576 (bu)

Информация о деталях контактов

  • Контакты: 2, 3, 9-13, 16, 18, 23-30, 32-34, 37-41, 43, 45-47, 52, 54, 56
  • Заделанный контакт: 13575575
  • Инструмент для отсоединения: j-38125-213
  • Щуп диагностической проверки: j-35616-64b (l-bu)
  • Контакты: 19, 20, 31
  • Заделанный контакт: 13575575
  • Инструмент для отсоединения: j-38125-213
  • Щуп диагностической проверки: j-35616-64b (l-bu)

K20 Модуль управления двигателем X1 (LUJ)

Палец

Провод

Цепь

Функционирование

1

--

--

Не используется

2

0,5 d-gn/wh

1162

Сигнал положения педали акселератора (2)

3

0,5 d-gn/wh

492

Сигнал датчика массового расхода воздуха

4-8

--

--

Не используется

9

0,5 d-bu/gy

433

Сигнал датчика барометрического давления

10

0,5 ye/wh

1161

Сигнал положения педали акселератора (1)

11

0,5 vt/d-bu

7330

Сигнал давления воздуха датчика температуры и давления воздуха до дроссельной заслонки (tmap)

12

0,5 d-gn

380

Сигнал датчика давления хладагента кондиционера воздуха

13

0,5 bk/bn

5514

Сигнал низкого показателя

14-15

--

--

Не используется

16

0,5 bn/rd

1274

Опорный сигнал 5 вольт

17

--

--

Не используется

18

0,5 vt/ye

5985

Активизация последовательных данных дополнительного оборудования

19

0,75 vt/gy

139

Напряжение зажигания 1 Работа/Пуск

20

0,75 rd/wh

140

Напряжение на положительной клемме аккумуляторной батареи

21-22

--

--

Не используется

23

0,5 wh/rd

2932

Опорное напряжение (5) В датчика барометрического давления

24

0,5 wh/rd

1164

Опорный сигнал 5 вольт

25

0,5 gy/rd

7331

Опорный сигнал 5 вольт

26

0,5 bn/rd

2700

Опорный сигнал 5 вольт

27

0,5 ye/bk

625

Управление тяговым реле стартера

28

0,5 d-gn/gy

465

Управление основным реле топливного насоса

29

0,5 d-bu

2500

Высокоскоростная шина последовательных данных gmlan (+) (1)

30

0,5 bn/vt

1272

Сигнал низкого показателя

31

0,75 bk/vt

2760

Сигнал низкого показателя

32

bk/d-bu

6813

Сигнал низкого показателя

33

0,5 wh/d-bu

6311

Сигнал торможения круиз-контроль/etc/tcc

34

0,5 wh/gy

1786

Сигнал Парковка/Нейтральное положение КПП (1) (mh8)

35-36

--

--

Не используется

37

0,5 bk/ye

6014

Сигнал низкого показателя

38

0,5 bk/d-bu

1271

Сигнал низкого показателя

39

0,5 bk/vt

7332

Сигнал низкого показателя

40

0.5 YE

5991

Управление обмоткой реле силовой трансмиссии

41

0,5 d-gn/vt

335

Управление реле низкоскоростного вентилятора охлаждения

42

--

--

Не используется

43

0.5 WH

2501

Высокоскоростная шина последовательных данных gmlan (-) (1)

44

--

--

Не используется

45

0,5 bn/vt

472

Сигнал датчика температуры воздуха на впуске

46

0,5 ye/bk

3000

Сигнал датчика температуры охлаждающей жидкости №2

47

0.5 BN

25

Схема управления индикатором зарядки

48-51

--

--

Не используется

52

0,5 bn/wh

419

Управление индикатором "Проверить двигатель"

53

--

--

Не используется

54

0,5 bn/ye

473

Управление реле высокоскоростного вентилятора охлаждения

55

--

--

Не используется

56

0.5 WH

1310

Управление электромагнитом вентиляции адсорбера системы улавливания паров бензина

   


https://vnx.su/ 🛠 Руководства по ремонту и эксплуатации для автомобилей

Поиск по сайту

Остались вопросы или пожелания? Пишите на почту: support@vnx.su

Карта Сайта