Наверх документа
Cruze
   
Начальная страница GMDE Загрузить статическое оглавление Загрузить динамическое оглавление Помощь?

Система охлаждения Описание и принцип работы - 1.4 л LUH, LUJ, и LUV

Система охлаждения

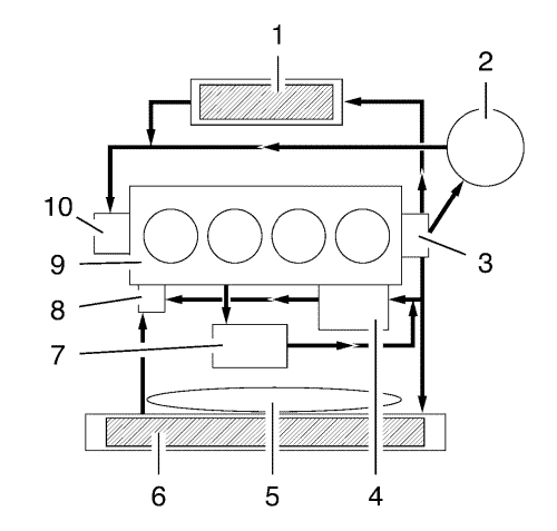
Функция системы охлаждения состоит в том, чтобы поддерживать эффективную рабочую температуру двигателя при всех частотах вращения двигателя и рабочих состояниях. Система охлаждения предназначена для того, чтобы удалить около трети теплоты, производимой горением воздушно-топливной смеси. Когда двигатель холодный, охлаждающая жидкость не течет к радиатору, пока термостат не будет открыт. Это позволяет двигателю быстро нагреться. См. рисунок ниже, на котором представлены компоненты системы и основная схема потока охлаждающей жидкости.


2557112

Примечание: См. стрелки, показывающие направление потока охлаждающей жидкости.

Система охлаждения содержит следующие компоненты:

    •  Отопитель (1)
    •  Расширительный бачок (2)
    •  Патрубок для выпуска воды (3)
    •  Маслорадиатор двигателя (4)
    • Вентилятор охлаждения (5)
    • Радиатор (6)
    • Турбокомпрессор (7)
    • Охлаждающая жидкость двигателя Термостат (8)
    • Блок двигателя (9)
    • Насос охлаждающей жидкости (10)

Насос охлаждающей жидкости


2373024

Насос охлаждающей жидкости является компонентом системы охлаждения двигателя, он обеспечивает циркуляцию охлаждающей жидкости между всеми компонентами контура охлаждения. В состав насоса охлаждающей жидкости входят уплотнительные кольца, подшипники, шкив (1) и корпус (2); вращение насоса обеспечивается приводным ремнем, чтобы уменьшить шум на шкиве насоса охлаждающей жидкости. Насос охлаждающей жидкости прижимает колпачок дренажного отверстия к крышке во избежание вытекания охлаждающей жидкости. Насос охлаждающей жидкости не имеет открытой крыльчатки, он имеет закрытую пластмассовую крыльчатку (3) для увеличения эффективности охлаждения.

Термостат


2373025

Термостат установлен в корпусе термостата (1). Термостат используется для перенаправления потока охлаждающей жидкости. Это управляемый электронной сеткой термостат с восковым шариком. Под воздействием тепла охлаждающей жидкости или при протекании электрического тока восковый шарик термостата плавится, что приводит к открытию термостата. Таким образом поток охлаждающей жидкости направляется через радиатор. Электронный нагрев термостата управляется блоком управления двигателем. Термостат начинает открываться при напряжении 0 В при температуре 105°C (221°F), а при напряжении 12 В – при температуре 80°C (176°F). Он полностью открыт при 120°C (248°F). Открывание термостата может сопровождаться электронным нагревом в зависимости от характера нагрузки, что определяется табличными параметрами.

Радиатор

Радиатор представляет собой теплообменник. Он содержит теплообменник и 2 бачка. Алюминиевый теплообменник имеет трубчато-реберную конструкцию с поперечным потоком жидкости, он располагается между впускным бачком и выпускным бачком радиатора. Пластины размещены вокруг внешней стороны трубок, чтобы улучшить теплопередачу в атмосферу. Впускной и выпускной баки - это формованный, высокотемпературный пластмассовый материал, армированный нейлоном. Высокотемпературная резиновая прокладка уплотняет край выступа бака к алюминиевому сердечнику. Баки прижимаются к сердечнику фиксирующими выступами. Фиксирующие выступы - это часть алюминиевой монтажной колодки в каждом конце сердечника. Радиатор также имеет сливной кран, расположенный в основании левого бака. Блок сливного крана включает в себя уплотнение сливного крана и сливной кран. Радиатор отводит тепло от охлаждающей жидкости, которая протекает через него. Пластины на сердечнике передают теплоту от охлаждающей жидкости, проходящей через трубки. Поскольку между ребрами радиатора проходит воздух, он поглощает тепло и охлаждает охлаждающую жидкость.

Расширительный бачок

Расширительный бачок представляет собой пластмассовый бачок с навинчивающейся по резьбе крышкой с предохранительным клапаном. Бачок устанавливают выше по уровню относительно всех других каналов протекания охлаждающей жидкости. Расширительный бачок обеспечивает воздушное пространство в системе охлаждения, которое позволяет охлаждающей жидкости расширяться и уменьшаться в объеме. Через расширительный бачок обеспечивается заправка охлаждающей жидкости и удаление воздуха из охлаждающей системы. При эксплуатации автомобиля охлаждающая жидкость нагревается и расширяется. Увеличенный объем охлаждающей жидкости вытекает в расширительный бачок. При циркуляции охлаждающей жидкости воздух выходит из нее наружу в виде пузырьков. Охлаждающая жидкость без пузырьков воздуха гораздо лучше поглощает тепло, чем жидкость с пузырьками.

Вентилятор охлаждения

Вентилятор системы охлаждения установлен позади радиатора в моторном отсеке. Вентилятор охлаждения двигателя приводится во вращение электродвигателем. Вентилятор системы охлаждения направляет воздух через радиатор, улучшая перенос тепла от охлаждающей жидкости в атмосферу. При вращении лопасти вентилятора увеличивают поток воздуха через теплообменник радиатора и через конденсатор системы кондиционирования воздуха на автомобилях, оборудованных такой системой. Это ускоряет охлаждение при работе автомобиля на холостом ходу или при движении с малыми скоростями.

   


https://vnx.su/ 🛠 Руководства по ремонту и эксплуатации для автомобилей

Поиск по сайту

Остались вопросы или пожелания? Пишите на почту: support@vnx.su

Карта Сайта