Cruze |
||||||||
|
|
|
|||||||

Список электрических компонентов управления
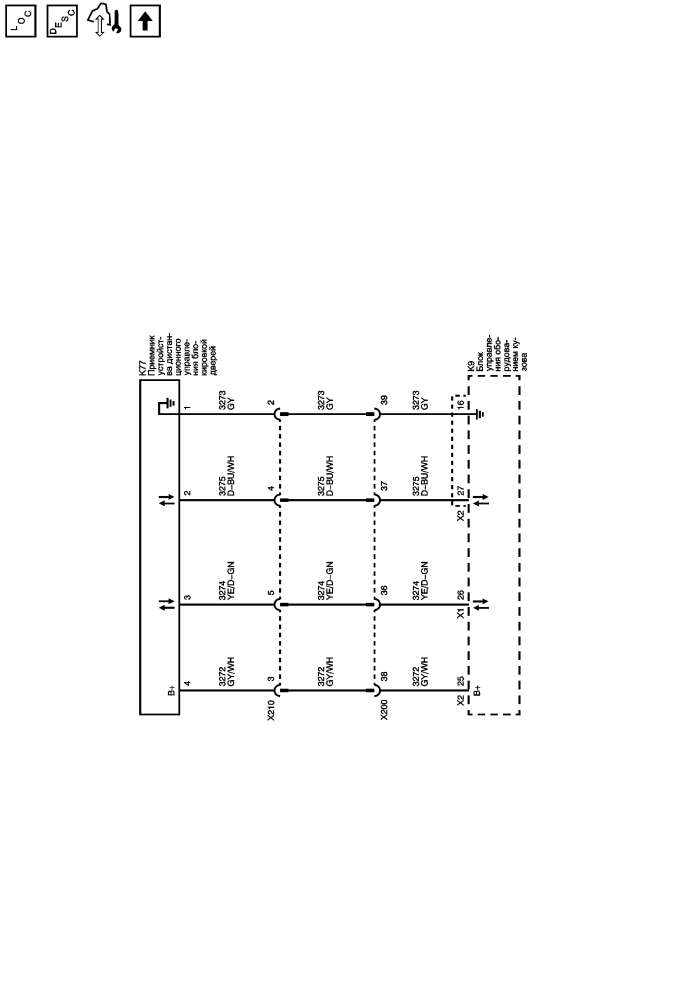
Описание и принцип работы системы входа без ключа с ATH
Модуль управления Справочные сведения
Вход без ключа и пассивный вход (ATH)
Значки на основной принципиальной электрической схеме
| https://vnx.su/ 🛠 Руководства по ремонту и эксплуатации для автомобилей |