К верхней части документа
Captiva
   
Начальная страница GMDE Загрузить статическое содержание Загрузить динамическое содержание Справка?

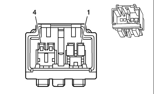
X307 Жгут проводов ретрактора надувной подушки безопасности к жгуту проводов кузовного оборудования


1963315

1963316

Информация о деталях разъемов

  • Тип жгута: система подушек безопасности
  • Разъем oem: 13579293
  • Разъем технического обслуживания: 19178183
  • Описание: 4-контактный гнездный (ye)

Информация о деталях разъемов

  • Тип жгута проводов: Кузов
  • Разъем oem: 13592114
  • Разъем технического обслуживания: 19178177
  • Описание: 4-контактный штекер, розетка (ye)

Информация о деталях контактов

  • Заделанный контакт: Техническое обслуживание жгутов проводов - См. Каталог деталей
  • Инструмент для разблокирования: Находится на рассмотрении
  • Щуп диагностической проверки: Находится на рассмотрении

Информация о деталях контактов

  • Заделанный контакт: Находится на рассмотрении
  • Инструмент для разблокирования: Находится на рассмотрении
  • Щуп диагностической проверки: Находится на рассмотрении

X307 Жгут проводов ретрактора надувной подушки безопасности к жгуту проводов кузовного оборудования

Палец

Размер

Цвет

Цепь

Опция

Функционирование

Палец

Размер

Цвет

Цепь

Опция

1

0,5

pk

3476

-

Контроль низкого уровня преднатяжителя подматывающего механизма ремня безопасности сиденья пассажира

1

0,5

pk

3476

--

2

0,5

l-gn

3475

-

Контроль высокого уровня преднатяжителя подматывающего механизма ремня безопасности сиденья пассажира

2

0,5

l-gn

3475

--

3

0,5

pk/bk

3478

-

Контроль низкого уровня преднатяжителя подматывающего механизма ремня безопасности сиденья водителя

3

0,5

pk/bk

3478

--

4

0,5

tn/wh

3477

-

Контроль высокого уровня преднатяжителя подматывающего механизма ремня безопасности сиденья водителя

4

0,5

tn/wh

3477

--

   


https://vnx.su/ 🛠 Руководства по ремонту и эксплуатации для автомобилей

Поиск по сайту

Остались вопросы или пожелания? Пишите на почту: support@vnx.su

Карта Сайта