К верхней части документа
Captiva
   
Начальная страница GMDE Загрузить статическое содержание Загрузить динамическое содержание Справка?

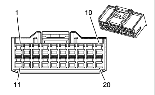
X401 От жгута проводов крыши до жгута проводов кузова (короткая колесная база)


1993746

1993747

Информация о деталях разъемов

  • Тип жгута проводов: Обивка потолка
  • Разъем oem: 936095-1
  • Разъем технического обслуживания: 19178209
  • Описание: 20-контактный, гнездовой, серия 090 iii (na)

Информация о деталях разъемов

  • Тип жгута проводов: Кузов
  • Разъем oem: 936131-1
  • Разъем технического обслуживания: 19178210
  • Описание: 20-контактный, штырьковый, серия 090 iii (na)

Информация о деталях контактов

  • Заделанный контакт: Находится на рассмотрении
  • Инструмент для отсоединения: j-38125-553
  • Щуп диагностической проверки: j-35616-18 (bk)

Информация о деталях контактов

  • Заделанный контакт: Находится на рассмотрении
  • Инструмент для разблокирования: Находится на рассмотрении
  • Щуп диагностической проверки: Находится на рассмотрении

X401 От жгута проводов крыши до жгута проводов кузова (короткая колесная база)

Палец

Размер

Цвет

Цепь

Опция

Функционирование

Палец

Размер

Цвет

Цепь

Опция

1

--

--

--

--

Не используется

1

--

--

--

--

2

0.3

pu

328

-

Сигнал выключателя плафона освещения салона

2

0.3

pu

328

--

3

0,5

pu

5059

utj

Сигнал включения сигнала тревоги от датчика охранной сигнализации

3

0.3

pu

5059

utj

4

2

bk

450

--

Заземление

4

2

bk

450

--

5

0,5

l-gn

24

--

Напряжение питания фонаря заднего хода

5

0,5

l-gn

24

--

6

0.3

bn

4

ce1

Напряжение питания дополнительного оборудования

6

0.3

bn

4

ce1

7

0.3

l-gn

482

ce1

Сигнал датчика дождя (2)

7

0.3

l-gn

482

ce1

8

0,5

gy

655

upf

Сигнал микрофона сотового телефона

8

0,5

gy

655

upf

9

0.3

ye

343

cf5

Напряжение питания дополнительного оборудования

9

0.3

ye

343

cf5

10, 11

--

--

--

--

Не используется

10, 11

--

--

--

--

12

0,5

d-gn

1376

utj

Сигнал постановки системы сигнализации в дежурный режим

12

0,5

d-gn

1376

utj

0,5

d-gn

1376

utj

13

0,5

rd/wh

1940

utj

Напряжение на положительной клемме аккумуляторной батареи

13

0,5

rd/wh

1940

utj

14

0.3

pk

239

dhf

Напряжение зажигания 1 Работа/Пуск

14

0.3

pk

239

dhf

15

0,5

og

1732

-

Опорное напряжение 12 Вольт электронного блока управления (3)

15

0,5

og

1732

--

16

0,5

gy/bk

690

-

Управление реле ламп освещения подножки

16

0,5

gy/bk

690

--

17

0.3

tn

481

ce1

Сигнал датчика дождя (1)

17

0.3

tn

481

ce1

18

0,5

БЕЗ ИЗОЛЯЦИИ

654

upf

Низкий опорный сигнал микрофона сотового телефона

18

0,5

БЕЗ ИЗОЛЯЦИИ

654

upf

19

0,5

pk

5068

utj

Сигнал отключения выключателя датчика охранной сигнализации

19

0,5

pk

5068

utj

20

1.25

rd/wh

2340

cf5

Напряжение на положительной клемме аккумуляторной батареи

1

1.25

rd/wh

2340

cf5

   


https://vnx.su/ 🛠 Руководства по ремонту и эксплуатации для автомобилей

Поиск по сайту

Остались вопросы или пожелания? Пишите на почту: support@vnx.su

Карта Сайта