К верхней части документа
Captiva
   
Начальная страница GMDE Загрузить статическое содержание Загрузить динамическое содержание Справка?

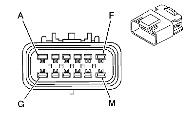
X150 От жгута проводов двигателя до жгута проводов перемычки датчика детонации (LF1)


831375

1394019

Информация о деталях разъемов

  • Тип жгута проводов: Двигатель
  • Разъем oem: 15326939
  • Разъем технического обслуживания: 88988440
  • Описание: на 12 направлений f, серия gt 150 280, герметичный (bk)

Информация о деталях разъемов

  • Тип жгута проводов: Перемычка детонации
  • Разъем oem: 15336034
  • Разъем технического обслуживания: 19168032
  • Описание: на 12 направлений m, серия gt 150/280, герметичный (bk)

Информация о деталях контактов

  • Контакт: a
  • Заделанный контакт: 13575409
  • Инструмент для отсоединения: j-38125-553
  • Контрольный пробник для диагностики: j-35616-4a (pu)
  • Контакты: b-e, h-l
  • Заделанный контакт: 13575413
  • Инструмент для отсоединения: j-38125-553
  • Щуп диагностической проверки: j-35616-2a (gy)

Информация о деталях контактов

  • Контакт: a
  • Заделанный контакт: Техническое обслуживание жгутов проводов - См. Каталог деталей
  • Инструмент для разблокирования: Находится на рассмотрении
  • Щуп диагностической проверки: Находится на рассмотрении
  • Контакты: b-e, h-l
  • Инструмент для отсоединения: j-38125-553
  • Щуп диагностической проверки: j-35616-3 (gy)

X150 От жгута проводов двигателя до жгута проводов перемычки датчика детонации (LF1)

Палец

Размер

Цвет

Цепь

Опция

Функционирование

Палец

Размер

Цвет

Цепь

Опция

a

2

pu

6

--

Напряжение проворачивания электромагнита стартера

a

2

pu

6

--

b

0,5

l-bu

1876

-

Сигнал датчика детонации (2)

b

0,5

l-bu

1876

--

c

0,5

gy

2303

-

Низкое опорное напряжение датчика детонации (2)

c

0,5

gy

2303

--

d

0,5

tn

3221

-

Низкий сигнал обогреваемого датчика кислорода, датчик группы 2 (2)

d

0,5

tn

3221

--

e

0,5

pu

3220

-

Высокий сигнал обогреваемого датчика кислорода, датчик группы 2 (2)

e

0,5

pu

3220

-

f-g

--

--

--

--

Не используется

f

--

--

--

--

h

0,5

og/wh

3223

-

Низкий управляющий сигнал подогревателя датчика кислорода Группа 2 Датчик (2)

h

0,5

og/wh

3223

--

j

0,5

pk/bk

5293

-

Питание главного реле трансмиссии через предохранитель (4)

j

0,5

pk/bk

5293

--

k-m

--

--

--

--

Не используется

k-m

--

--

--

--

   


https://vnx.su/ 🛠 Руководства по ремонту и эксплуатации для автомобилей

Поиск по сайту

Остались вопросы или пожелания? Пишите на почту: support@vnx.su

Карта Сайта