К верхней части документа
Captiva
   
Начальная страница GMDE Загрузить статическое содержание Загрузить динамическое содержание Справка?

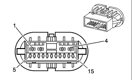
X800 Жгут проводов кузова на жгут проводов правой задней двери


1963323

1963324

Информация о деталях разъемов

  • Тип жгута проводов: Кузов
  • Разъем oem: 0-1743262-1
  • Разъем технического обслуживания: 19178199
  • Описание: 15-контактный, гнездовой, серия 1.5/2.8 (NA)

Информация о деталях разъемов

  • Тип жгута проводов: Задняя дверь
  • Разъем oem: 0-1743259-1
  • Разъем технического обслуживания: Техническое обслуживание жгутов проводов - См. Каталог деталей
  • Описание: 15-контактный штырьковый, серия 1.5/2.8 (WH)

Информация о деталях контактов

  • Заделанный контакт: Находится на рассмотрении
  • Инструмент для разблокирования: Находится на рассмотрении
  • Щуп диагностической проверки: Находится на рассмотрении

Информация о деталях контактов

  • Заделанный контакт: Техническое обслуживание жгутов проводов - См. Каталог деталей
  • Инструмент для разблокирования: Находится на рассмотрении
  • Щуп диагностической проверки: Находится на рассмотрении

X800 Жгут проводов кузова на жгут проводов правой задней двери

Палец

Размер

Цвет

Цепь

Опция

Функционирование

Палец

Размер

Цвет

Цепь

Опция

1

1.25

l-gn

170

Удлиненная колесная база

Сигнал главного переключателя электрических стеклоподъемников для правого заднего стеклоподъемника вверх

1

1.25

l-gn

170

Удлиненная колесная база

1.25

l-bu/wh

280

Короткая колесная база с А31

Сигнал блокировки центрального выключателя стеклоподъемников

1.25

l-bu/wh

280

Короткая колесная база с А31

2

1.25

pu

171

Удлиненная колесная база

Сигнал главного переключателя электрических стеклоподъемников для правого заднего стеклоподъемника вниз

2

1.25

pu

171

Удлиненная колесная база

0.85

bk

550

Короткая колесная база

Заземление

0.85

bk

550

Короткая колесная база

3

0,75

ye

743

Короткая колесная база с А31

Напряжение питания дополнительного оборудования

3

1.25

ye

743

Короткая колесная база с А31

--

--

--

--

Не используется

--

--

--

--

4

2

d-bu

1307

Удлиненная колесная база

Сигнал блокировки центрального выключателя стеклоподъемников

4

1.25

d-bu

1307

Удлиненная колесная база

1.25

d-bu

1307

Короткая колесная база

Сигнал блокировки центрального выключателя стеклоподъемников

1.25

d-bu

1307

Короткая колесная база с А31

0,75

d-bu

1307

Короткая колесная база с abz

5

1.25

l-gn

170

Короткая колесная база

Сигнал главного переключателя электрических стеклоподъемников для правого заднего стеклоподъемника вверх

5

1.25

l-gn

170

Короткая колесная база с А31

0,75

l-gn

170

Короткая колесная база с abz

6

0.85

tn

294

--

Управление приводом отпирания замков дверей

6

0.85

tn

294

--

7

0,5

d-bu

46

--

Правый задний динамик (+)

7

0,5

d-bu

46

--

0,5

wh

1854

ux8 или uw6

8

0,5

l-bu

115

-

Сигнал правого заднего динамика (-)

8

0,5

l-bu

115

--

0,5

gy

1954

ux8 или uw6

9

1.25

pu

171

Короткая колесная база

Сигнал главного переключателя электрических стеклоподъемников для правого заднего стеклоподъемника вниз

9

1.25

pu

171

Короткая колесная база с А31

10

0.85

gy

295

--

Управление приводом запирания замков дверей

10

0.85

gy

295

--

11

1.25

ye

5439

Короткая колесная база с А31

Сигнал ускоренного перемещения правого заднего стекла выключателя электростеклоподъемника

11

1.25

ye

5439

Короткая колесная база с А31

12

0.85

bn

5910

af8

Управление приводом запирания сдвоенного замка двери

12

0.85

bn

5910

af8

13

--

--

--

--

Не используется

13

--

--

--

--

14

0.3

tn/wh

746

Автомобили с левосторонним управлением с ua5

Сигнал переключателя открытия правой задней двери

14

0,5

tn/wh

746

Автомобили с левосторонним управлением с ua5

0.3

gy/bk

745

Автомобили с правосторонним управлением с ua5

Сигнал переключателя открытия правой задней двери

0,5

gy/bk

745

Автомобили с правосторонним управлением с ua5

15

0.85

bk

550

Удлиненная колесная база

Заземление

15

0.85

bk

550

Удлиненная колесная база

   


https://vnx.su/ 🛠 Руководства по ремонту и эксплуатации для автомобилей

Поиск по сайту

Остались вопросы или пожелания? Пишите на почту: support@vnx.su

Карта Сайта