К верхней части документа
Captiva
   
Начальная страница GMDE Загрузить статическое содержание Загрузить динамическое содержание Справка?

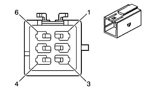
X420 Жгут проводов правого заднего габаритного фонаря к жгуту проводов кузова (короткая колесная база с левосторонним рулевым управлением)


827893

1814325

Информация о деталях разъемов

  • Тип жгута проводов: Стоп-сигнал
  • Разъем oem: Находится на рассмотрении
  • Разъем технического обслуживания: Техническое обслуживание жгутов проводов - См. Каталог деталей
  • Описание: 8-канальный f (bk)

Информация о деталях разъемов

  • Тип жгута проводов: Кузов
  • Разъем oem: 15396850
  • Разъем технического обслуживания: Находится на рассмотрении
  • Описание: на 6 направления, штырьковый, metri-pack, серия 150 (bk)

Информация о деталях контактов

  • Заделанный контакт: Техническое обслуживание жгутов проводов - См. Каталог деталей
  • Инструмент для разблокирования: Находится на рассмотрении
  • Щуп диагностической проверки: Находится на рассмотрении

Информация о деталях контактов

  • Заделанный контакт: 13575462
  • Инструмент для отсоединения: j-38125-12a
  • Щуп диагностической проверки: j-35616-3 (gy)

X420 Жгут проводов правого заднего габаритного фонаря к жгуту проводов кузова (короткая колесная база с левосторонним рулевым управлением)

Палец

Размер

Цвет

Цепь

Опция

Функционирование

Палец

Размер

Цвет

Цепь

Опция

1

--

--

--

--

Напряжение питания фонаря заднего хода

1

0,5

l-gn

24

--

2

--

--

--

--

Напряжение питания стоп-сигнала

2

0.85

l-bu

20

--

3

--

--

--

--

Напряжение питания лампы правого заднего стояночного огня

3

0,5

bn

2609

--

4

--

--

--

--

Напряжение питания правого заднего стоп-сигнала/лампы сигналов поворота

4

0,5

d-gn

19

--

5

--

--

--

--

Заземление

5

0,5

bk

650

--

6

--

--

--

--

Заземление

6

0.85

bk

550

--

   


https://vnx.su/ 🛠 Руководства по ремонту и эксплуатации для автомобилей

Поиск по сайту

Остались вопросы или пожелания? Пишите на почту: support@vnx.su

Карта Сайта